RADEMACHER RolloPort SX5 DuoFern - Garagepoort

RolloPort SX5 DuoFern - Garagepoort RADEMACHER - Gratis gebruiksaanwijzing en handleiding

Vind de handleiding van het apparaat gratis RolloPort SX5 DuoFern RADEMACHER in PDF-formaat.

📄 84 pagina's Nederlands NL 💬 AI-vraag ⚙️ Specs
Notice RADEMACHER RolloPort SX5 DuoFern - page 5
Bekijk de handleiding : Français FR Nederlands NL
SKIP

Veelgestelde vragen - RolloPort SX5 DuoFern RADEMACHER

Download de handleiding voor uw Garagepoort in PDF-formaat gratis! Vind uw handleiding RolloPort SX5 DuoFern - RADEMACHER en neem uw elektronisch apparaat weer in handen. Op deze pagina staan alle documenten die nodig zijn voor het gebruik van uw apparaat. RolloPort SX5 DuoFern van het merk RADEMACHER.

GEBRUIKSAANWIJZING RolloPort SX5 DuoFern RADEMACHER

Geachte klant... ... met de aanschaf van deze garagepoortaan- drijving hebt u gekozen voor een kwaliteitsproduct van het bedrijf RADEMACHER. Wij danken u voor uw vertrouwen. De RADEMACHER garagepoortaandrijving is ont- worpen voor maximaal comfort. Overeenkomstig onze hoge kwaliteitseisen waarvan wij niet afwijken en na uitgebreide tests zijn wij er trots op u dit innovatieve product te kunnen presenteren. Daar hebben alle uiterst bekwame medewerkers van RADEMACHER hun steentje toe bijgedragen. Deze handleiding... ...beschrijft hoe u bij de montage, de elektrische aansluiting en de bediening van de RolloPort SX5 DuoFern te werk moet gaan. Lees deze handleiding nauwkeurig voordat u met de werkzaamheden begint en neem alle veiligheidsaan- wijzingen in acht. Deze gebruikshandleiding maakt deel uit van het product, bewaart u deze op een goed bereikbare plaats. Voeg deze gebruikshandleiding bij afgifte van de garagepoortaandrijving aan derden toe. Bij schade die door het niet naleven van deze handlei- ding en de veiligheidsaanwijzingen ontstaat, vervalt de garantie. Ook voor gevolgschade kunnen wij niet aansprakelijk worden gesteld.3

4. Veiligheidsaanwijzingen .................................6

5. Beoogd gebruik .................................8

5.1 Gebruiksvoorwaarden ...........................8

6. Oneigenlijk gebruik .................................9

7. Toegestane types garagepoorten ................... 10

7.1 Niet toegestane types

garagepoorten ...............................10

8. Functiebeschrijving ...............................11

8.1 Korte beschrijving van de

comfortfuncties ...............................11

8.2 Functiebeschrijving van de

noodontgrendeling .............................12

8.3 Functiebeschrijving van de

obstakelherkenning ............................12

8.4 Maandelijkse controle van de obstakel-

10. Belangrijke montage-instructies ....................14

10.1 Benodigd gereedschap .......................15

10.2 Verwijderen van de poortver-

10.6 Verbinding van de aandrijfbehuizing

met de rail ...............................18

10.7 Verbinding van de aandrijfbehuizing

met de rail (90° montage) ..................19

10.8 Bevestiging van de aandrijving en

de rail ...............................20

10.9 (A) Montage van de beugelplaat van

de dwarsbalk (1) ...............................21

10.10 (B) Montage van de houder (5) aan

de aandrijfkop (7) ...............................21

10.11 (C) Montage van de beugelplaat van

de poort (8) ...............................22

10.12 (D) Montage van de ophanging van

het middenstuk (13) ........................... 23

10.13 (E) Montage met de geperforeerde

hoekstukken ...............................23

10.14 Belangrijke aanwijzingen na de

montage ...............................24

10.15 Aanwijzingsborden met waar-

schuwingen aanbrengen ....................24

10.16 De poort gereedmaken voor bedrijf ....24

11.3 Referentietest voor krachtmeting

uitvoeren ...............................26

11.4 Krachtbegrenzing bij behoefte

11.8 Instellen van de openingstijden ..........30

11.9 Inschakelen van de backjumpfunctie .. 31

13. Gebruik en montage van een lichtsensor .......34

14. Aansluiting extra elektrische inrichtingen ......34

14.1 Aansluitingsschema voor extra

16. Handleiding voor de gebruiker ....................... 37

17. Technische gegevens ...............................38

17.1 Toegestane afmetingen

19. Vereenvoudigde EU-conformiteitsverklaring ..40

20. Milieuvriendelijke verwijdering .....................40

1. Omvang van de levering

Vergelijk na het uitpakken de inhoud van de verpakking met de informatie over de omvang van de levering:

7. 1 x Beugelplaat dwarsbalk

8. 1 x Beugelplaat poort

10. 8 x Zeskant-plaatschroef (6 x 15 mm)

11. 1 x Schroef (6 x 80 mm) met zeskantmoer en

14. 4 x Schroef (8 x 20 mm) met zeskantmoer en

18. 2 x Geperforeerde hoekstukken

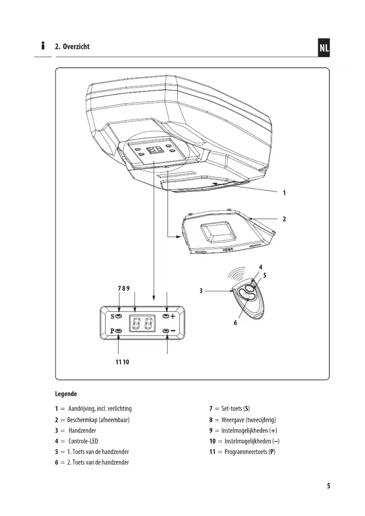
Legende 7 = Set-toets (S) 8 = Weergave (tweecijferig) 9 = Instelmogelijkheden (+) 10 = Instelmogelijkheden (–) 11 = Programmeertoets (P) 1 = Aandrijving, incl. verlichting 2 = Beschermkap (afneembaar) 3 = Handzender 4 = Controle-LED 5 = 1. Toets van de handzender 6 = 2. Toets van de handzender6

3. Verklaring van de tekens

Levensgevaar door elektrische schok. Dit teken wijst u op gevaren bij werkzaamheden aan elektrische aansluitingen, onderdelen, enz. Hier zijn veiligheidsmaatregelen ter bescherming van de ge- zondheid en het leven van de betrokken persoon vereist. STOP

4. Veiligheidsaanwijzingen

Het niet-opvolgen van de instructies en veilig- heidsaanwijzingen uit deze handleiding kan tot zwaar persoonlijk letsel leiden, bijv. door het bekneld raken in de poort. Volg alle instructies uit deze gebruiks- en montage- handleiding op, om aan de veiligheidsvoorschriften van de normen EN 13241-1, EN 12445 en EN 12453 te voldoen en gebruik de installatie pas nadat een vakman gecontroleerd heeft of deze aan de norm voldoet. Bij werkzaamheden aan elektrische systemen bestaat levensgevaar door elektrische schok. ◆ Laat alle werkzaamheden aan de aandrijving en elektrische systemen uitsluitend door een erkende elektricien en overeenkomstig de aansluitings- aanwijzingen in deze handleiding uitvoeren, zie pagina 34. ◆ Trek voor alle werkzaamheden aan de poort of de poortaandrijving (bijv. reiniging, onderhoud of vervanging van onderdelen) altijd de stekker uit het stopcontact. Het gebruik van defecte apparaten kan leiden tot gevaar voor personen en materiële schade (elektrische schok of kortsluiting). ◆ Gebruik nooit defecte of beschadigde apparaten. ◆ Controleer de aandrijving en de netkabel op beschadiging. ◆ Bij een beschadiging van de netkabel moet deze door de fabrikant, de bevoegde klantendienst of andere gekwalificeerde vaklui worden vervangen om risico's te vermijden. ◆ Neem a.u.b. met onze serviceafdeling contact op (zie pagina 42) indien u schade aan het apparaat constateert. Defecte poorten kunnen leiden tot ernstig letsel. ◆ De loop van de poort mag niet door slecht afgestel- de veren of door slecht werkende poortophangin- gen resp. poortconstructies gehinderd worden. ◆ Er bestaat verwondingsgevaar door de sterk gespannen poortveren. Vervang nooit zelf de poortveren. ◆ Laat alle werkzaamheden aan het poortmecha- niek en de veren alleen door een erkend vakman uitvoeren. Bij uitoefening van kracht op de poorten bestaat er gevaar voor beknellingen en uitzwenken aan de sluitzijdes. ◆ Let erop dat er zich tijdens bedrijf geen personen in het zwenkbereik van de garagepoort bevinden. ◆ Wordt de garagepoortaandrijving automatisch bestuurd (bijv. in combinatie met de HomePilot®) en kan hij daarom onverwacht gaan lopen, zorg er dan voor dat niemand in het bewegende bereik van de poort is. Belangrijke veiligheidsaanwijzingen; het nege- ren ervan kan materiële schade veroorzaken. A.u.b. alle op deze manier gekenmerkte aanwijzingen in acht nemen en opvolgen. Zo waarschuwen we voor verkeerd gebruik dat tot lichamelijke letsels of materiële schade kan leiden. Volg altijd alle vermelde veiligheidsaanwijzingen op. OPMERKING! Op deze wijze maken wij u attent op andere belangrijke aanwijzingen voor het correct functioneren van het apparaat. STOP STOP7

Belangrijke veiligheidsinstructies. Voor de veiligheid van personen is het belangrijk om alle instructies op te volgen. Bewaar deze gebruiks- aanwijzing op een veilige plaats. Door oneigenlijk gebruik bestaat er verhoogd gevaar voor verwondingen. ◆ Grijp nooit in de bewegende poort of in bewegen- de onderdelen. ◆ U mag de poort nooit zonder extra veiligheidsin- stallaties (bijv. lichtsensor) buiten eigen blikveld in beweging zetten, zie pagina 34. ◆ Instrueer alle personen in het veilige gebruik van de garagepoort. ◆ Dit apparaat kan door kinderen vanaf 8 jaar, men- sen met een lichamelijke, sensorische of geestelijke beperking, of mensen met een gebrek aan ervaring en kennis onder toezicht gebruikt worden, als ze geïnstrueerd zijn in het veilige gebruik en de gebruiksrisico's kennen. ◆ Verbied kinderen met de poort en de handzender te spelen. ◆ Berg de handzender zo op dat ongewenst bedrijf, bijv. door spelende kinderen, niet mogelijk is. ◆ Reiniging en onderhoud door gebruiker mogen niet door kinderen zonder toezicht uitgevoerd worden. ◆ Laat niemand onder de bewegende poort door lopen. ◆ Houd kinderen op een veilige afstand van de bewegende poort. ◆ Rijd uitsluitend de garage in of uit als de poort volledig open is en stilstaat. Bij onjuiste of defecte veiligheidsinstallaties bestaat er verwondingsgevaar of risico van materiële schade. ◆ Controleer voor de eerste inbedrijfstelling en daar- na een keer per maand of de veiligheidsinstallaties correct functioneren (bijv. de krachtbegrenzing). ◆ Zet de veiligheidsinstallaties nooit buiten werking. ◆ Houd de poortaanslag aan de grond vrij van ijs, sneeuw, vuil en stenen. Het stopcontact en de stekker moeten altijd vrij toegankelijk zijn. De levensduur van de opener is 25.000 cycli. Elke staalkabel moet een veiligheidsfactor hebben van niet minder dan 6 (minimale breeksterkte / statische belasting van een kabel). Touwtrommels moeten een steekcirkeldia- meter (PCD) hebben die minstens 20 keer de touwdiameter bedraagt.

4. Veiligheidsaanwijzingen8

◆ Gebruik de RolloPort garagepoortaandrijving alleen in droge ruimtes. ◆ De garagepoortaandrijving moet gemakkelijk met de hand geopend en gesloten kunnen worden. Hij mag niet klemmen. ◆ Zorg ervoor dat de plafondrails altijd vet- en stofvrij zijn. Vervuilde plafondrails hinderen een feilloze werking. ◆ Op de plaats van montage moet een vrij toegankelijk 220 - 240 V/50 - 60 Hz stopcontact aanwezig zijn.

5.1 Gebruiksvoorwaarden

◆ De afstandsbediening met handzender en de inbouw en het gebruik van het radiografische DuoFern systeem en zijn componenten (bijv. RolloPort SX5 DuoFern) is alleen toegelaten bij installaties en apparaten waarbij een storing van de zender of de ontvanger geen gevaar betekent voor personen of zaken resp. waarbij dit risico door andere veiligheidsinstallaties wordt afgedekt. OPMERKING! Radio-installaties die op dezelfde frequentie zenden, kunnen de ontvangst storen. Een gebrekkig onderhoud kan personen in ge- vaar brengen door beschadiging van uw gara- gepoortaandrijving, de bijbehorende veilig- heidsinstallaties of de garagepoort zelf. ◆ Neem de onderhoudsintervallen in acht, zie pagina 13. ◆ Controleer regelmatig de veiligheidsinstallaties, zie pagina 13. Het niet-opvolgen van de instructies uit deze handleiding kan tot zwaar persoonlijk letsel leiden, bijv. door het bekneld raken in de poort. Volg alle instructies op. Het is uiterst belangrijk tijdens het installatieproces deze gebruiks- en montagehand- leiding op te volgen, om aan de veiligheidsvoorschriften van de normen EN 13241-1, EN 12445 en EN 12453 te voldoen. Gebruik de garagepoortaandrijving uitslui- tend: ◆ voor het openen en sluiten van garagepoorten, zie pagina 10 / 38. ◆ in privébereik ◆ in overeenstemming met de instructies en veiligheidsaanwijzingen van deze handleiding. Een ander gebruik is niet toegelaten. ◆ Garagepoortaandrijvingen met automatisch be- drijf (bijv. RolloPort SX5 DuoFern) moeten behalve over een standaard ingebouwde krachtbegrenzing over een extra aangesloten veiligheidsinstallatie beschikken (bijv. een lichtsensor). ◆ De RolloPort SX5 DuoFern mag alleen met een extra aangesloten lichtsensor in het automatisch bedrijf (automatisch sluiten) gebruikt worden, zie pagina 34.

6. Oneigenlijk gebruik

Het gebruik van de garagepoortaandrijving voor andere doeleinden dan de eerder genoemde is niet toegelaten. ◆ Dit geldt met name voor: – alle radiografische handzenders – de RolloPort SX5 DuoFern – het radiografisch systeem DuoFern en zijn componenten Gebruik de genoemde componenten nooit als afstandsbediening voor apparaten en installaties waaraan verhoogde veiligheidstechnische eisen worden gesteld of waarbij een verhoogd onge- vallenrisico bestaat. Hiervoor zijn bijkomende veiligheidsinstallaties nodig. Houd rekening met de betreffende wettelijke regelingen voor het inrichten van dergelijke installaties. ◆ Monteer de garagepoortaandrijving nooit buiten. De RolloPort garagepoortaandrijving mag voor de volgende toepassingen niet gebruikt worden: ◆ in bedrijven ◆ voor de aandrijving van andere voorwerpen ◆ voor permanent gebruik Let op de bewegende deur en houd mensen weg tot de deur volledig open of dicht is. WAARSCHUWING ◆ De bediener moet tijdens de reiniging, het onderhoud en het vervangen van onderdelen worden losgekoppeld van de stroombron. ◆ De aandrijving mag niet zonder toezicht worden gebruikt op een deur met een loopdeur. ◆ Als het opnieuw instellen de juiste werking niet herstelt, is geautoriseerd onderhoud nodig. De RolloPort SX5 DuoFern mag niet zonder ex- tra aangesloten lichtsensor gebruikt worden, zie pagina 34. Door ondoelmatige verbouwingen ontstaat letselgevaar. Verander niets aan de aandrijving, de garagepoort of eventueel aan de bestaande veiligheidsinstallaties, als dit niet in de handleiding als maatregel beschreven is. Dergelijke veranderingen vormen een gevaar voor de bedrijfsveiligheid. Bij een loopdeur is een bewaking van de deur- positie nodig. Voorkom dat de aandrijving actief wordt, als de deur nog niet gesloten is. Aanwijzing over aansprakelijkheid voor het product Voor schade die door een onjuist of ondoelmatig gebruik ontstaat, is de fabrikant niet aansprakelijk (zie garantievoorwaarden).10

◆ uitzwenkende standaard-kantelpoorten ◆ sectionaalpoorten De poorten moeten licht lopen en aan de eisen van de volgende normen voldoen: EN 12453 en EN 12604.

7. Toegestane types garagepoorten

Kantelpoorten Verticale sectionaal- poorten

7.1 Niet toegestane types garagepoorten

Niet uitzwenkende kantelpoort Poorten die een kiep- of draaibeweging vereisen, mogen niet met de garagepoortaandrijving RolloPort gebruikt worden. i11

Intelligente microcomputer Intelligente, computergestuurde, exacte hefpositione- ring, snelle krachtoverbrenging, terugloop bij optreden van obstakels. Aandrijving Geringe geluidsproductie, softstart en softstop be- schermen de aandrijving en garanderen een lange levensduur. Displayinformatie De bedrijfsmodus en het digitale menu worden op het display getoond: ◆ L = Normaal bedrijf ◆ F/H = De elektronica heeft een fout gedetecteerd * ◆ A = De straal van de lichtsensor is onderbroken *

  • zie pagina 39 (opheffen van storingen) Cryptoguard Roulerende codetechnologie maakt miljarden code- combinaties mogelijk en maakt iedere handzender uniek, ter bescherming tegen onbevoegde toegang door derden.

8. Functiebeschrijving

Alarmeenheid Het alarm klinkt als de poort meer dan 10 minuten opengelaten wordt. Het alarm eindigt als de poort weer gesloten wordt, zie pagina 28 ‘Alarminstelling’. Noodontgrendeling De poort kan bij een stroomuitval handmatig bediend worden door aan de kabel van de noodontrgrendeling te trekken. Automatische sluitfunctie De automatische sluitingstijd van de poort kan van 30 tot 240 seconden ingesteld worden, zie pagina 28 / 29. 2000-cycli-alarm Als de aandrijving 2000 cycli doorlopen heeft, klinkt er een signaaltoon, om de gebruiker eraan te herinneren, dat het mechanische systeem onderhouden moet worden, zie pagina 29. De RolloPort SX5 DuoFern is een elektronische gara- gepoortaandrijving en voor alle gangbare kantel- en sectionaalpoorten (zie pagina 10) bruikbaar. Flexibele montagemogelijkheden De 90° draaibare aandrijfeenheid biedt flexibele montagemogelijkheden. Een geluidsarme tandrie- maandrijving zorgt voor veilige krachtoverbrenging. Uitgebreide comfortfuncties De RolloPort SX5 DuoFern biedt omvangrijke com- fortfuncties (zie hoofdstuk 8.1) voor de individuele instelling ter plaatse. Beide garagepoortaandrijvingen zijn met een obstakel- herkenning incl. reversiefunctie uitgerust en bezitten een interne noodontgrendeling voor de handmatige bediening bij stroomuitval. Handmatige besturing ter plaatse Verder kan er een externe schakelaar voor de hand- matige besturing ter plaatse worden aangesloten. RolloPort SX5 DuoFern De RolloPort SX5 DuoFern is gemaakt voor gebruik in een DuoFern radiografisch netwerk en kan in een DuoFern HomePilot® of andere DuoFern besturingen geïntegreerd en bestuurd worden.

8.1 Korte beschrijving van de comfortfuncties

De RolloPort SX5 DuoFern moet met het Duo- Fern netwerk worden verbonden. U moet de RolloPort SX5 DuoFern bij een DuoFern HomePilot®, of een ander DuoFern apparaat aanmel- den, zodat deze besturingscommando’s uit het DuoFern netwerk kan ontvangen, zie pagina 33. Lees hiervoor de bedieningshandleiding van het betreffende DuoFern apparaat. U kunt meer informatie vinden over het DuoFern systeem op: http:/www.rademacher.de/duofern i12

8.2 Functiebeschrijving van de noodontgrendeling

De poort kan in geval van stroomuitval door aan een kabel te trekken handmatig bediend worden. Er bestaat kans op letsel. De poort kan bij ontgrendeling ongecontroleerd naar beneden vallen (bijvoorbeeld als veren zwak of gebro- ken zijn, of als de deur niet in evenwicht is). ◆ Sluit of open de poort na iedere ontgrendeling altijd volledig. ◆ De noodontgrendeling is niet voor dagelijks gebruik bedoeld. Verlichting De garagepoortaandrijving beschikt over een interne, energiezuinige verlichting die na iedere schakelimpuls ingeschakeld wordt en automatisch na 3 minuten weer uitgaat. Aanvullende aansluitmogelijkheden voor exter- ne toebehoren en de veiligheidseenheid U kunt aanvullend een externe schakelaar en een infra- rood lichtsensor aansluiten, zie pagina 34. Openingssnelheid: De openingssnelheid kan op drie niveaus worden ingesteld. Die is instelbaar van 11 cm/sec. tot 19 cm/ sec. (fabrieksinstelling), zie pagina 30. Backjumpfunctie Is de backjumpfunctie actief, dan beweegt de aan- drijving na het bereiken van de eindpositie kort in de tegengestelde richting. Daardoor wordt de mechani- sche spanning in beide eindposities verminderd en is de noodontgrendeling eenvoudiger (zie pagina 31). De backjumpfunctie kan geactiveerd en gedeactiveerd worden.

8.1 Korte beschrijving van de comfortfuncties

8.3 Functiebeschrijving van de obstakelherkenning

De aandrijving heeft een automatische obstakelher- kenning (door interne krachtbewaking). Stoot de poort bij het sluiten of openen tegen een obstakel, dan stopt de aandrijving automatisch en rijdt in tegengestelde richting tot de eindpositie. Na het verwijderen van het obstakel kunt u de garage- poortaandrijving weer normaal bedienen. i13

8.4 Maandelijkse controle van de obstakelherkenning (krachtbegrenzing)

1. Beweeg de poort naar de eindpositie.

2. Leg een voorwerp van 50 mm hoog, bijv. een

houten blok, in de looprichting van de poort.

3. Sluit de poort door op de handzender te

4. Stoot de poort bij het sluiten of openen tegen

een obstakel, dan stopt de aandrijving automa- tisch en opent de garagepoort volledig.

5. Verwijder vervolgens het obstakel.

6. Na het verwijderen van het obstakel kunt u

de garagepoortaandrijving weer normaal bedienen. Leg een voorwerp van ca. 50 mm hoog in de looprich- ting van de poort. Corrigeer de afstelling indien nodig en controleer opnieuw. Een verkeerde afstelling kan tot gevaar leiden, zie pagina 27. Mocht het bijstellen niet tot een correcte werking leiden, neem dan contact op met onze erkende servicedienst.

Door defecte poorten en veiligheidsinstallaties bestaat er letselgevaar. Voor uw veiligheid moet u de aanbevolen on- derhoudsintervallen voor uw poort incl. alle veiligheidsinstallaties in acht nemen. Onderhoudsinterval: Laat de poort voor de eerste inbedrijfstelling en daarna naar behoefte, echter minstens een keer per jaar, door een deskundig bedrijf controleren. Regelmatige controles van de aan slijtage onder- hevige onderdelen Er bestaat letselgevaar door defecte en versle- ten onderdelen. Controleer de installatie daarom regelmatig op tekens van slijtage, beschadiging of op gebrekkige balans van de poort. Gebruik de poort in geen geval wanneer er reparatie- of instelwerkzaamheden moeten worden uitgevoerd. Een fout in de installatie of een verkeerd uitgebalanceerde poort kan ernstige letsels veroorzaken. Controleer: ◆ Of alle schroefverbindingen goed vast zitten ◆ Alle kabels op beschadiging ◆ Alle veren en bevestigingsonderdelen Er bestaat verwondingsgevaar door de sterk gespannen poortveer. ◆ Vervang nooit zelf de poortveren. ◆ Laat alle werkzaamheden aan het poortmechaniek en de veren alleen door een erkende installateur uitvoeren.14

10. Belangrijke montage-instructies

Belangrijke instructies voor een veilige montage. Volg alle montage-instructies op. Een verkeerde montage kan ernstige letsels veroorzaken. STOP Tijdens de montage bestaat er letselgevaar door het naar beneden vallen van een onbevei- ligde poort. ◆ Let er bij de montage op, dat er zich geen personen in het zwenkbereik van de garagepoort bevinden. Controleer voor de montage... ◆ ... of uw aandrijving voor het type garagepoort en de hoogte geschikt is. ◆ ... of de poort in een onberispelijke mechanische toestand is. De poort moet licht lopen en in even- wicht zijn. Controleer of deze goed opent en sluit. ◆ Open de poort ca. 1 m en laat deze dan los. Een uitgebalanceerde poort zou in deze stand moeten blijven staan. Is dit niet het geval, laat dan de poort door een erkend bedrijf instellen. ◆ De loop van de poort mag niet door slecht afgestel- de veren of door slecht werkende poortophangin- gen resp. poortconstructies gehinderd worden. Een verkeerde montage kan ernstige ongeval- len en zwaar letsel veroorzaken. ◆ Installeer de toets voor noodontgrendeling op een hoogte van ongeveer 1,8 m. ◆ Gebruik uitsluitend het bijgevoegde montagema- teriaal en de originele vervangende onderdelen en originele toebehoren. ◆ Ter plekke aanwezige poortvergrendelingen kunnen de correcte loop van de poort hinderen enmoeten daarom gedemonteerd worden. ◆ Beweeglijke onderdelen van de garagepoort mogen nooit over openbare voet- of fietspaden uitsteken. ◆ Gebrekkige verlichting hindert de montage en kan letsel veroorzaken. Zorg voor voldoende verlichting tijdens de montage. ◆ Het kan gebeuren, dat u tijdens de montage de poort een tijd niet kunt openen. ◆ Deze garagepoortaandrijving mag niet voor garage- poorten gebruikt worden, die openingen van meer dan 50 mm diameter hebben, of hoeken of uitste- kende onderdelen, die personen kunnen raken, of waar personen op kunnen gaan staan. ◆ Bevestig de waarschuwingssticker over beknel- lingsgevaar altijd op een goed zichtbare plek, of in de buurt van de geïnstalleerde besturingen. ◆ Bevestig het etiket voor handmatige ontgrendeling permanent naast het bedieningselement. Verwijder voor de montage van de aandrijving... ... alle onnodige kabels of kettingen en schakel alle apparaten uit, zoals de vergrendeling, die voor gebruik met kracht niet nodig zijn.15

10.1 Benodigd gereedschap

U hebt het volgende gereedschap nodig:

10.2 Verwijderen van de poortvergrendelingen

1. Demonteer alle verticale en

horizontale deurvergrendelingen. OPMERKING! Bewaar alle oude poortvergrendelingen. Mocht u de garagepoortaandrijving ooit demonteren, dan moet u deze opnieuw monteren om de originele toestand van de poort weer te herstellen.16

10.3 Neem de maat op

1. Meet het midden van de poort uit en markeer dit

Markeer het midden van de poort zoals geïllustreerd aan de bovenkant van de poort, aan de poortdwarsbalk en aan het plafond van de garage.

2. Meet de afstand tussen de bovenkant van de

poort en het plafond Sluit de poort langzaam en meet de afstand tussen de bovenkant van de poort en het plafond. OPMERKING! De minimumafstand moet 4 cm zijn.

3. Montage-instructie voor de inbouw in een

sectionaalpoort Wordt de garagepoortaandrijving voor een sectio- naalpoort gebruikt, dan moet bij de gesloten poort de geleidingsrol van het bovenste poortsegment in de bocht van de geleidingsrail staan. Kantelpoort min. 4 cm Sectionaal- poort Juist Onjuist min. 4 cm17

10.4 Rails in elkaar zetten

OPMERKING! De RolloPort SX5 DuoFern wordt met drie rails geleverd: ◆ twee eindstukken, incl. voorgemonteerde tan- driem ◆ een middenstuk (zonder tandriem) met twee koppelstukken.

1. Schroef de stelmoer met een geschikte

dopsleutel (Ø 10 mm) vast.

2. Pas de riemspanning aan zoals op de afbeelding

wordt getoond. OPMERKING! Vanwege fabricagetoleranties kan het getoonde instelbereik 36 - 38 mm variëren. Zorg er daarom voor dat de tandriem over de complete raillengte lichtjes doorhangt en dus niet al te strak gespannen is. Een te strak gespannen tandriem kan het prestatievermogen van de aandrijving verminderen.

10.5 Span de tandriem op

1. Leg de twee eindstukken met de voorgemonteer-

de tandriem zo op de grond dat de tandriem er zo recht mogelijk tussen loopt.

2. Schuif de beide koppelstukken over het midden-

stuk en leg vervolgens het middenstuk tussen de beide eindstukken.

3. Geleid de tandriem in het middenstuk.

4. Schuif ieder koppelstuk over de verbinding

tussen middenstuk en eindstuk. Let erop dat het koppelstuk midden tussen de fixatie- platen van de onderkant van de rails ligt.

5. Buig tenslotte de fixatieplaten met een kleine

schroevendraaier naar buiten. Daardoor zijn de koppelstukken niet meer te ver- schuiven. Koppelstuk 1 Koppelstuk 2 Fixatieplaten ca. 36 - 38 mm18

10.6 Verbinding van de aandrijfbehuizing met de rail

1. Plaats eerst de veeltandbout (5).

2. Plaats de rail (4) met het zich daarin bevindende

kettingwiel (af fabriek in de rail gemonteerd) op het koppelstuk (5).

3. Zet de twee houders (2) op de rail (4) en schroef

deze met de toegevoegde zeskant-plaatschroe- ven (6 x 15 mm) aan de aandrijvingsbehuizing vast. Legende 1 = Zeskant-plaatschroef (6 x 15 mm) 2 = Houder 3 = Microschakelaar 4 = Rail 5 = Veeltandbout BELANGRIJK! Let erop dat de microschakelaar (3) bij de montage niet beschadigd raakt. OPMERKING! Bij wijze van alternatief kunt u de aandrijving ook dwars op de rail monteren, bijv. bij weinig plaats, zie volgende pagina.19

10.7 Verbinding van de aandrijfbehuizing met de rail (90° montage)

Alternatieve montage van de aandrijving dwars op de rail. OPMERKING! De microschakelaar (3) moet zich altijd aan het einde van de rail bevinden. Daarom moet de microschakelaar (3) bij dwarsmontage van de aandrijving altijd passend verplaatst worden, zie afbeelding boven. Bij alle werkzaamheden aan de microschakelaar (3) bestaat er levensgevaar door elektrische schok- ken. ◆ Laat de microschakelaar (3) alleen door een erkende elektricien verplaatsen. ◆ De microschakelaar (3) mag alleen in een span- ningsloze toestand worden verplaatst. ◆ Trek voor het begin van de werkzaamheden altijd de stekker eruit en beveilig het systeem tegen herinschakelen. ◆ Controleer of het systeem geheel spanningsvrij is.20 (A) (C) (D) (B)

Montage van de dwarsbalk Doe de montage bij voorkeur op de dwarsbalk, omdat zo de optredende krachten optimaal opgenomen kunnen worden. Plafondmontage Voor plafondmontage moet u de dwarsbalk 90 graden draaien en iets verder aan de binnenkant van het garageplafond bevestigen. Daardoor kan de gehele rail gebruikt worden. OPMERKING! ◆ De afstand tot het poortblad mag bij een pla- fondmontage max. 25 cm zijn. Anders gebruik geperforeerde hoekstukken, zie pagina 23, hoofdstuk "10.3 (E) Montage met de geperforeerde hoekstukken". ◆ Gebruik bij de garagemuren of een garageplafond van steen (beton) de toegevoegde zeskantschroe- ven (8 x 60) en pluggen met Ø 10 mm. max. 25 cm min. 1,5 cm Montage aan de dwarsbalk Plafond- montage A / B / C / D, zie volgende pagina’s

10.8 Bevestiging van de aandrijving en de rail21

10.9 (A) Montage van de beugelplaat van de dwarsbalk (1)

OPMERKING! De beugelplaat van de dwarsbalk (1) moet in het midden van de poort gemonteerd worden. Legende 1 = Beugelplaat van de dwarsbalk 2 = Schroef (6 x 80 mm) met zeskantmoer

1. Teken de positie van de beugelplaat van de

dwarsbalk (1) af en boor de montagegaten (bijv. met een steenboor van 10 mm).

2. Schroef vervolgens de beugelplaat van de dwars-

balk (1) met de meegeleverde zeskantschroeven (3) [8 x 60 mm] vast.

3. Geleid vervolgens de rail (4) en de beschermhuls

(2.1) tussen de uiteinden van de beugelplaat van de dwarsbalk (1) en schuif de schroef (2) [6 x 80 mm] er van buiten door.

4. Borg ten slotte de rail (4) door de zeskantmoer

10.10 (B) Montage van de houder (5) aan de aandrijfkop (7)

1. Schuif de houder (5) zo dicht mogelijk voor de

aandrijfkop (7) op de rail (4).

2. Markeer de montagegaten voor de houder (5).

Verder moet u de gehele constructie omhoog tillen en tegen het plafond drukken. OPMERKING! Let erop dat de rail (4) recht boven het midden van de poort ligt.

3. Boor de montagegaten (bijv. met een steenboor

4. Schroef vervolgens de houder (5) met de

meegeleverde zeskantschroeven (8 x 60 mm) aan het garageplafond vast. Legende 4 = Rail 5 = Houder 6 = Zeskantschroef (8 x 60 mm) 7 = Aandrijfkop22

10.11 (C) Montage van de beugelplaat van de poort (8)

OPMERKING! ◆ We raden aan de beugelplaat van de poort (8) bij voorkeur aan het poortraam te bevestigen. ◆ Voor kunststoffen of dunwandige houten poorten zijn extra dwarsbalken nodig om een beschadiging van de poort te vermijden. Consulteer in dit geval de leverancier van uw poort. ◆ Gebruik voor de montage van de beugelplaat van de poort (8) bestaande boorgaten, indien mogelijk. Legende 8 = Beugelplaat van de poort 9 = Bout (8 x 20 mm) 10 = Zeskant-plaatschroef (6 x 15 mm) 11 = Splitpen (2 x 20 mm) 12 = Poortverbindingsstuk, gebogen

1. Leg de beugelplaat van de poort (8) op de bo-

venkant van de garagepoort en plaats hem in het midden van de poort (recht ten opzichte van de profielslede). Teken vervolgens vier bevesti- gingsgaten op het poortraam af. JUIST De schroef heeft voldoen- de houvast. Bevestigingsgat door slagpen

2. Sla de bevestigingsgaten met behulp

van de slagpen in het poortraam. OPMERKING! Plaatschroeven hebben voldoende houvast in het materi- aal nodig. Controleer de materiaaldikte van uw poortraam. Bij voldoende materiaaldikte kunt u de bevestigingsga- ten ook met een metaalboor van 4 mm boren, als u de gaten niet met de slagpen erin kunt slaan. ONJUIST De schroef heeft geen houvast. Bevestigingsgat door boring23

1. Monteer het middenstuk (13) op een geschikte

plaats, indien mogelijk midden tussen de poort en de aandrijfkop. Legende 13 = Middenstuk 14 = Zeskantschroeven (8 x 60 mm)

10.12 (D) Montage van de ophanging van het middenstuk (13)

3. Schroef vervolgens de beugelplaat van de poort (8)

met de meegeleverde zeskantschroeven (8 x 15 mm) aan het raam vast.

4. Bevestig tenslotte het poortverbindingsstuk

(12) met de meegeleverde bout (9) aan de beu- gelplaat van de dwarsbalk (8). OPMERKING! ◆ Af fabriek is er al een recht poortverbindingsstuk voorgemonteerd, dat vast met de rail verbonden is. ◆ Indien u (afhankelijk van de plaatselijke omstan- digheden) het meegeleverde, gekromde deurver- bindingsstuk (12) wilt gebruiken, moet u dit met twee zeskantschroeven (8 x 20 mm) aan het rechte deurverbindingsstuk bevestigen.

5. Beveilig tenslotte de bout (9) tegen eruit glijden

door de splitpen (11) erin te steken.

10.11 (C) Montage van de beugelplaat van de poort (8)

10.13 (E) Montage met de geperforeerde hoekstukken

Mocht een directe montage aan het plafond niet moge- lijk zijn, omdat tussen de hoogste punten van de poort en de rail ruimtes van meer dan 25 cm ontstaan, gebruik dan geperforeerde hoekstukken voor het ophangen. Buig hiervoor de hoeken op de gewenste lengte en verbind deze met de montagehoek en het middenstuk.24

1. Beweeg de poort voorzichtig om de slede te laten

2. Steek de stekker in het stopcontact en schakel

de stroomverzorging in.

3. Het licht gaat aan en de eenheid geeft eenmalig

een signaaltoon af en het display geeft cyclisch ‘0’ aan.

10.15 Aanwijzingsborden met waarschuwingen aanbrengen

Om de volgende instellingen correct op te slaan en uit te voeren, moet u een afsluitende programmering in overeenkomst met pagina 32 uitvoeren. Door oneigenlijk gebruik bestaat verhoogd gevaar voor verwondingen. ◆ Bevestig de waarschuwingssticker over beknel- lingsgevaar altijd op een goed zichtbare plek, of in de buurt van de geïnstalleerde besturingen. ◆ Bevestig het etiket voor handmatige ontgrendeling permanent naast het bedieningselement. ◆ Breng alle borden zo aan, dat ze goed leesbaar zijn.

10.16 De poort gereedmaken voor bedrijf

10.14 Belangrijke aanwijzingen na de montage

◆ Zorg ervoor dat de installatie na de montage goed ingesteld is en de aandrijving terugdraait als de poort een voorwerp op de grond van 50 mm hoogte raakt (voor aandrijvingen, die over een beknellingsbeveiliging beschikken, die bij contact met de onderkant van de poort reageert), zie pagina 13. ◆ Zorg ervoor dat de aandrijving na de montage de openingsbeweging van de poort verhindert of stopt, als de poort met een massa van 20 kg beladen is, die centraal aan de onderkant van de poort ligt. Dit geldt vooral voor aandrijvingen die met een poort gebruikt worden die een opening in de poortdeur heeft met een diameter van meer dan 50 mm.25

5. Is de poort tot de gewenste positie naar beneden gegaan,

druk dan op ‘P’ om de onderste eindpositie op te slaan.

4. De poort gaat open of

dicht. De verkeerde volgorde bij de instelling van de eindposities leidt tot storingen. Houd altijd de opgegeven instelvolgorde aan.

2. De aandrijving geeft

een signaaltoon af en geeft ‘1’ weer.

5. De poort gaat open of

6. Is de poort tot de ge-

wenste positie open- gegaan, druk dan op ‘P’ om de bovenste eindpo- sitie op te slaan.

11.2 Onderste eindpositie instellen

1. Druk op ‘+’, in het

display verschijnt ‘2’.

op ‘–’. Correcte instelvolgorde:

1. Druk op ‘+’, in het display

3. De poort gaat automa-

5. De poort gaat naar be-

2 x op ‘P’. OPMERKING! ◆ Met de instelling van beide eindposities en met de referentietest voor de kracht- meting heeft u de vereiste basisinstellingen voor een veilig bedrijf gedaan. ◆ Mocht u geen behoefte hebben aan verdere instellingen, dan moet u de programmering in overeenkomst met methode 1 op pagina 32 afsluiten, om de voorafgaande basisinstellingen over te nemen. ◆ De volgende individuele instellingen kunt u daarna apart of na alle instellingen met methode 2 op pagina 32 afsluiten.

7. Sluit de programmering

af, zie pagina 32 / methode 1. Tijdens de referentietest bestaat er verwon- dingsgevaar, omdat de aandrijving zeer grote krachten ontwikkelt.

11.3 Referentietest voor krachtmeting uitvoeren

6. Druk na de stop op ‘P’ om de

informatie op te slaan. De ‘0’ wordt nu cyclisch weergege- ven en de aandrijving wordt in de rusttoestand gezet.27

OPMERKING! De aandrijving is standaard op stand 3 ingesteld. Bij behoefte (bijv. bij te laag krachtniveau) kunt u de krachtbeperking naderhand aanpassen. Een te laag krachtniveau beperkt de poortbewe- ging. Vooral als de mechanische structuur van de poort niet goed uitgebalanceerd is.

3. Druk op ‘P’, in het display

verschijnt ‘7’ (stand 3). Na een nieuwe instelling van het krachtniveau moet u de referentietest voor de krachtmeting herhalen en opnieuw de programmering afsluiten. ◆ Indien voor de krachtmeting geen referentietest uitgevoerd wordt, bestaat verwondingsgevaar. Tijdens de referentietest bestaat er ook verwondingsgevaar omdat de aandrijving heel grote krachten ontwikkelt. ◆ Mocht het bijstellen niet tot een correcte werking leiden, neem dan contact op met onze erkende servicedienst.

5. Druk op ‘P’ om de

instelling op te slaan.

Herhaal voor de kracht- meting de referentie- test, zie pagina 26.

11.4 Krachtbegrenzing bij behoefte aanpassen

Krachtniveau laag hoog Fabrieksinstelling

4. Druk op ‘+’, of op ‘-’ om

(evt. herhaaldelijk drukken) tot ‘4’ wordt weergegeven.28

Als het alarm ingeschakeld is, geeft de aandrij- ving een signaaltoon af, als de poort langer dan 10 minuten geopend is. De signaaltoon klinkt iedere 10 minuten 30 seconden lang. Beëindigen van de alarmtoon: Druk de poortbesturingstoets in om de poort volledig te sluiten.

11.5 Alarminstelling

(ook met HomePilot® instelbaar)

4. Druk op ‘+’, het display

geeft ‘1’ weer. (1 = aan = De alarminstel- ling is geactiveerd)

de alarminstelling op te slaan. OPMERKING! Voordat de poort automatisch sluit, geeft de aandrijving 20 se- conden een signaaltoon af. Tege- lijkertijd knippert het licht. Zodra de poort sluit, blijft het licht steeds ingeschakeld en de signaaltoon klinkt nog steeds. Nadat de poort gesloten is, ein- digt de aandrijving met de sig- naaltoon en het licht blijft nog 3 minuten aan.

11.6 Automatische instelling van de sluitingstijd

(ook met HomePilot® instelbaar)

3. Druk op ‘P’, het display

geeft ‘0’ weer. (0 = UIT = fabrieksin- stelling)

4. Druk op ‘+’, het display

geeft ‘1’ weer. (1 = Aan = automatische slui- tingstijd = 30 seconden)

6. Sluit de programmering af

(zie pagina 32 / methode 2) of ga door met de volgende instelling.

het display geeft ‘0’ weer. (0 = UIT = fabrieksinstelling)

(evt. herhaaldelijk drukken) tot ‘5’ wordt weergegeven.

(evt. herhaaldelijk drukken) tot ‘6’ wordt weergegeven.29

11.6 Automatische instelling van de sluitingstijd

(ook met HomePilot® instelbaar)

selecteer de gewenste sluitingstijd:

6. Druk op ‘P’ om de

instelling op te slaan. Controleer na enige bedrijfstijd regelmatig of de poort bij het openen/sluiten horizontaal is en of de veer voldoende kracht heeft om de poort op te rollen. Smeer alle beweeglijke onderdelen regelmatig met een geschikte hoeveelheid smeermiddel.

(ook met HomePilot® instelbaar)

het display geeft ‘0’ weer. (0 = UIT = fabrieksinstelling)

4. Druk op ‘+’, het display

geeft ‘1’ weer. (1 = Aan) OPMERKING! Is deze functie geactiveerd, dan laat de aandrijving na 2000 cycli regelmatig door een korte fluittoon horen dat de poort een onderhoudsbeurt nodig heeft. Alarmtoon beëindigen Schakel de stroom uit en weer aan, of druk 5 seconden op de toets ‘P’.

5. Druk op ‘P’ om de

instelling op te slaan.

7. Sluit de programmering

af (zie pagina 32 / me- thode 2) of ga door met de volgende instelling.

(evt. herhaaldelijk drukken) tot ‘7’ wordt weergegeven.30

Met behulp van deze functie kunt u de openingssnel- heid aan uw individuele behoeften aanpassen.

11.8 Instellen van de openingstijden

(ook met HomePilot® instelbaar)

3. Druk op ‘P’, het display

geeft ‘1’ weer. 1 = 11 cm/s Loopsnelheid 3 = 19 cm/s = Fabrieksin- stelling

4. Druk op ‘+’ of ‘-’ en

selecteer de gewenste snelheid.

5. Druk op ‘P’ om de

(zie pagina 32 / methode 2) of ga door met de volgende instelling.

(evt. herhaaldelijk drukken) tot ‘8’ wordt weergegeven.31

Functie Na het sluiten ontlast de backjumpfunctie de aan- drijfstang door kort (10 mm) in de tegenrichting te bewegen.

11.9 Inschakelen van de backjumpfunctie

(ook met HomePilot® instelbaar)

het display geeft ‘0’ weer. (0 = UIT = fabrieksinstelling)

het display geeft ‘1’ weer. (1 = AAN = De backjumpfunctie is geactiveerd.)

5. Druk op ‘P’ om de

instelling op te slaan.

6. Sluit de programmering af

(zie pagina 32 / methode 2) of ga door met de volgende instelling.

(evt. herhaaldelijk drukken) tot ‘9’ wordt weergegeven.32

OPMERKING! Let op: Deze afsluitende stap moet uitgevoerd worden, anders gaat de opgeslagen informatie ver- loren.

1. Druk na de referentie-

test op ‘–’ (evt. herhaaldelijk drukken) tot ‘1’ wordt weergegeven.

11.10 Programmering voltooien

2. Houd de toets ‘P’

5 seconden lang ingedrukt.

3. De ‘0’ wordt nu cyclisch

weergegeven om de programmering af te sluiten en de aandrij- ving in de rusttoestand te zetten. Methode 1: Voer deze methode altijd uit na een referentietest

1. Houd na afsluiten

van een willekeurige instelling de toets ‘P’ 5 seconden lang ingedrukt.

2. De ‘0’ wordt nu cyclisch

weergegeven om de programmering af te sluiten en de aandrij- ving in de rusttoestand te zetten. Methode 2: Na alle andere instellingen Voor de RolloPort SX5 DuoFern geldt: De programmering moet afgesloten zijn, zodat u de instellingen in het DuoFern netwerk resp. in de HomePilot® kunt doen. U kunt de programmering op twee manieren afsluiten:33

12. Handzender en/of DuoFern HomePilot® aan- en afmelden

1. Druk circa 2 seconden

op 'S' en laat dan los.

2. Ter bevestiging knippe-

ren er kort twee groene punten onder in de display.

3. Meld een handzender aan.

◆ Druk twee keer op de voor de bediening van de garagepoort- aandrijving gewenste toets van de handzender. Tijdens de aanmelding zendt de aan- drijving ter bevestiging een signaaltoon. Meld de handzender of DuoFern zender aan. Standaard zijn beide handzenders al op de garagepoortaandrijving op de grote toets aangemeld. Als u nog een handzender wilt aanmelden, of een in de levering opgenomen handzender afgemeld heeft en weer aan wilt melden, ga dan als volgt te werk: OPMERKING! Na een succesvolle aanmelding kunt u de garagepoortaandrijving met de handzender bedienen. U kunt max. 16 bijkomende handzenders aanmelden. RolloPort SX5 DuoFern U kunt nog maximaal 20 bijkomende DuoFern zenders aanmelden.

1. Houd de toets ‘S’ 8 secon-

den lang ingedrukt. De handzender of DuoFern zender afmelden: Uit veiligheidsoverwegingen moet een hand- zender bij verlies afgemeld worden, zodat geen onbevoegden de garagepoort kunnen bedienen.

2. Op het display verschijnt

‘0’. Alle handzenders zijn afgemeld.

4. Een DuoFern zender

of een HomePilot® aanmelden. ◆ Schakel de DuoFern zender of een HomePi- lot® op de aanmeldmo- dus. De aanmelding gaat automatisch. Bij succesvolle aanmelding brandt de punt links ca. twee seconden lang. RolloPort SX5 DuoFern Alle DuoFern zenders zijn afgemeld.34

14. Aansluiting extra elektrische inrichtingen

Bij alle werkzaamheden aan elektrische systemen bestaat er levensgevaar door elektrische schok. ◆ Alleen een erkende elektromonteur mag extra elektrische installaties aansluiten. ◆ Trek voor het openen van de afdekkap altijd de stekker eruit en controleer of het systeem spanningsvrij is. Toebehoren van andere fabrikanten kan storin- gen en materiële schade veroorzaken. ◆ Gebruik uitsluitend origineel toebehoren. Vreemde spanning aan de schroefklemmen voor de externe schakelaar leidt tot kortsluiting en vernieling van de aandrijfelektronica. Ondeskundige montage van externe schakelaars kan de bedrijfsveiligheid in gevaar brengen. Monteer de knop voor binnen, coderingsschakelaar etc. altijd: ◆ buiten de reikwijdte van de bewegende onder- delen ◆ in het zicht van de poort ◆ op minstens 1,5 m hoogte OPMERKING! Voor de elektrische aansluiting van de RolloPort SX5 DuoFern moet u de twee schroeven in de bescherm- kap (2) losdraaien en de beschermkap (2) van de aandrijving nemen. Bij een loopdeur is een bewaking van de deur- positie nodig. Voorkom dat de aandrijving actief wordt, als de deur nog niet gesloten is.

13. Gebruik en montage van een lichtsensor

Als extra veiligheidsinstallatie kunt u de RolloPort SX5 DuoFern garagepoortaandrijving op een lichtsensor aansluiten (art.nr. 8000 00 51). Bovendien geldt voor de RolloPort SX5 DuoFern ◆ Garagepoortaandrijvingen met automatisch be- drijf (bijv. RolloPort SX5 DuoFern) moeten behalve over een standaard ingebouwde krachtbegrenzing over een extra aangesloten veiligheidsinstallatie beschikken (bijv. een lichtsensor). ◆ De RolloPort SX5 DuoFern mag alleen met een extra aangesloten lichtsensor in het automatisch bedrijf (automatisch sluiten) gebruikt worden. Functiebeschrijving voor het gebruik met een lichtsensor. Wordt het lichtsignaal van de lichtsensor onderbroken, terwijl de garagepoort sluit, dan stopt de garage- poortaandrijving en gaat vervolgens naar de bovenste eindpositie. Montage van een lichtsensor Lees hiervoor de betreffende bedieningshandleiding. Elektrische aansluiting van een lichtsensor Zie pagina 35.35

OPMERKING! Verwijder voor het aansluiten van een lichtsensor of een loopdeurcontact de voorgemonteerde brug.

14.1 Aansluitingsschema voor extra elektrische installaties

Legende (1) = Hoofdbedradingsplaat (2) = Infrarood-lichtsensor (optioneel) (3) = Loopdeurcontact (4) = Externe schakelaar (optioneel) (5) = Signal lamp (24 V)

  • Het signaallicht knippert, zolang de aandrijving loopt. Dit is geen permanente verlichting. 24 VGNDIR1 IR2 GND VCC

Bij een stroomuitval:

15. Handmatige bediening van de poort

Als het stroomnet weer werkt: OPMERKING! Het ontkoppelen geschiedt automatisch. Er bestaat kans op letsel. De poort kan bij ontgrendeling ongecontroleerd naar beneden vallen (bijv. als de poort niet in evenwicht is). ◆ Sluit of open de poort na iedere ontgrendeling altijd volledig. ◆ De noodontgrendeling is niet voor dagelijks gebruik bedoeld.

1. Wilt u de poort bij een stroomuitval handmatig

bedienen, dan moet u aan de kabel van de noodontgrendeling trekken, zodat deze de poort van de aandrijving ontgrendelt. Daarna kunt u de poort vrij bewegen.

Instructies voor gebruik ◆ Controleer het aandrijfsysteem om vast te stellen, of het zich bij het eerste gebruik van de garage- poortaandrijving licht beweegt. ◆ Controleer na enige gebruikstijd regelmatig of de poort bij het openen/sluiten horizontaal blijft en of de veer voldoende kracht heeft om de poort op te rollen. Smeer alle beweeglijke onderdelen regelmatig met een geschikte hoeveel- heid smeermiddel. ◆ In het geval van een stroomuitval kunt u aan de noodontgrendeling trekken en de poort met de hand vrij bewegen.

16. Handleiding voor de gebruiker

1. Bij een stroomuitval stopt

de poort zijn beweging.

2. Druk op een willekeurige

toets van de handzen- der, zodra deze weer op het stroomnet aange- sloten is. De poort gaat open.

3. In overeenkomst met het

programmageheugen gaat de poort omhoog tot de bovenste eindpo- sitie en blijft dan staan. Normaal bedrijf ◆ Afstandsbediening Door op de eerder ingestelde toets van de hand- zender te drukken, kan de poort geopend, ge- sloten, of stilgezet worden. ◆ Handmatige bediening Bij een stroomuitval kan de poort met de hand geopend of gesloten worden, zodra de aandrijving afgekoppeld is, zie pagina 36. ◆ Als de stroom weer beschikbaar is, kunt u de handzender of de muurconsole bedienen, de noodontgrendeling vergrendelt zich automatisch weer. ◆ De poort kan daarna weer met de handzender of de muurconsole bediend worden.38

Vermogen: 150 W Voedingsspanning: 220 - 240 V / 50 - 60 Hz Motor: 24 V (DC) gelijkstroom Type aandrijving: Tandriem Stand-by-verbruik: - RolloPort SX5 DuoFern: < 1 W Trekkracht: max. 900 N / 90 kg Loopsnelheid: - Omhoog: 11 / 15 / 19 cm / seconde (aanpasbaar) - Omlaag: 11 cm / seconde Toegestane omgevingstemperatuur: -10 tot + 40 °C Verlichting: geïntegreerde power LED met tijdbegrenzing Totale lengte: - bei standaardmontage: 3475 mm - bij 90° montage van de aandrijfkop 3335 mm Maximale hefhoogte: 2550 mm Radiografische frequentie van de handzender: 433 MHz rolling code Zendfrequentie RolloPort SX5 DuoFern: 434,5 MHz Zendvermogen RolloPort SX5 DuoFern: max. 10 mW Maximaal aantal DuoFern apparaten: 20 Frequentiereikwijdte RolloPort SX5 DuoFern: max. 50 m in open terrein max. 30 m binnen, afhankelijk van bouwmateriaal Geluidsniveau (LpA): ≤ 70 dB(A)

17.1 Toegestane afmetingen garagepoorten

Maximale grootte poort: max. 5,5 m x 2,55 m, 14,025 m² (voor sectionaaldeuren), max. 5 m x 2,3 m, 11,5 m² (voor deuren uit één stuk) Minimumhoogte dwarsbalk: 4 cm Max. vulgewicht voor kantelpoorten: 157 kg (voor sectionaaldeuren), 126 kg (voor deuren uit één stuk)

Fout Oorzaken Oplossing De aandrijving functioneert niet.

1. De stekker is er niet veilig in-

2. De beveiliging is geactiveerd.

2. Laat de oorzaak door een tech-

nicus nakijken, schakel daarna de zekering weer in. De handzender kan de aandrijving niet bedienen.

1. De handzender is eventueel

fout aangemeld, of niet aangemeld.

2. De batterij is leeg.

1. Stel de handzender opnieuw in,

2. Plaats een nieuwe batterij.

De reikwijdte van de handzender is te gering. De batterij is mogelijk leeg. Vervang de batterij door een van hetzelfde type. De tandriem beweegt, maar de poort niet. De noodontgrendeling is mogelijk geactiveerd. Bedien de aandrijving tot de noodont- grendeling automatisch weer ver- grendelt. De tandriem hangt door en maakt lawaai. De tandriem is los door verminderde spanning van de riem. Het poortsysteem is niet goed uitgeba- lanceerd en veroorzaakt een uitermate hoge belasting. Hierdoor wordt de beveiligingsfunctie van de aandrijving geactiveerd. De poort beweegt niet en op het display is niets te zien. Het rode LED- lampje op de bedradingsplaat brandt. Span de tandriem op zoals beschreven op pagina 17. Schakel de stroomtoevoer voor ten minste 3 minuten uit. Stel vervolgens het poortsysteem bij en zorg ervoor dat het goed uitgebalanceerd is. Op het display verschijnt de foutmelding ‘F/H’. De elektronica heeft een fout gede- tecteerd. Mogelijke fouten: ◆ Krachtoverschrijding ◆ Het loopdeurcontact is geactiveerd. ◆ Een zekering is defect. Hef de storingsoorzaak op, of laat de garagepoortaandrijving door een erkend bedrijf controleren. Op het display verschijnt de foutmelding ‘A’. De straal van de lichtsensor is onderbroken.

1. Controleer of zich een persoon

of obstakel in de bewaakte zone van de lichtsensor bevindt.

2. Verwijder een aanwezig

19. Vereenvoudigde EU-conformiteitsverklaring

Hiermee verklaart RADEMACHER Geräte-Elektronik GmbH, dat de RolloPort SX5 DuoFern voldoet aan de richtlijnen 2006/42/EG (machinerichtlijn) en 2014/53/EU (radioapparatuurrichtlijn).

20. Milieuvriendelijke verwijdering

Dit product mag niet bij het huisvuil worden gegooid. Het moet naar een geautoriseerde plaats voor het recycleren van elektronica en elektrische apparaten worden gebracht. Door afval te verzamelen en te recycleren helpt u natuurlijke hulpbronnen te ontzien en zorgt u ervoor dat producten op een milieuvriendelijke manier verwijderd worden. De volledige tekst van de EU-conformiteitsverklaring is aan het product toegevoegd en ligt ter inzage bij de fabrikant. RADEMACHER Geräte-Elektronik GmbH Buschkamp 7 46414 Rhede (Duitsland)41

21. Garantievoorwaarden

RADEMACHER Geräte-Elektronik GmbH verleent 36 maanden garantie op nieuwe apparaten die in overeenstemming met deze handleiding gemonteerd werden. De garantie dekt alle constructie-, materiaal- en fabricagefouten. De wettelijke aanspraak op garantie blijft hierdoor onverminderd van kracht. Niet onder de garantie vallen: ◆ Onjuiste montage of installatie ◆ Niet in acht nemen van de montage- en gebruiksaanwijzing ◆ Ondeskundige bediening of oneigenlijk gebruik ◆ Inwerkingen van buitenaf zoals stoten, slagen of weersinvloeden ◆ Reparaties en veranderingen door derden, niet-bevoegde personen ◆ Gebruik van ongeschikt toebehoren ◆ Schade veroorzaakt door ontoelaatbare over- spanningen (bijv. blikseminslag) ◆ Functiestoringen ontstaan door radiografische frequentiestoringen en andere radiografische storingen Voorwaarde voor de garantie is dat het nieuwe apparaat bij een geautoriseerde vakhandel is gekocht. Levert u hiervoor een kopie van de factuur als bewijs. Gebreken die binnen de garantieperiode optreden, zal RADEMACHER kosteloos verhelpen, ofwel door reparatie of vervanging van de betreffende onderdelen, ofwel door levering van een gelijkwaardig of een nieuw apparaat. Vervangende leveringen of reparaties die onder de garantie vallen, leiden niet tot verlenging van de oorspronkelijke garantieperiode.Technische wijzigingen, drukfouten en vergissingen voorbehouden. Afbeeldingen niet bindend. RADEMACHER Geräte-Elektronik GmbH Buschkamp 7 46414 Rhede (Duitsland) info@rademacher.de www.rademacher.de Service: Hotline 01807 933-171* Fax +49 2872 933-253 service@rademacher.de

  • 30 seconden gratis, daarna 14 cent/minuut via het Duitse netwerk voor vaste telefonie max. 42 cent/minuut via het Duitse netwerk voor mobiele telefonie (geldt alleen in Duitsland).NL Garagepoortaandrijving RolloPort SX5 DuoFern Vertaling van de originele gebruiks- en montagehandleiding..........................................................................1 Référence : 4505 90 61 (rail en trois parties) VBD 607-2-1 (02.20) FR Motorisation de porte de garage RolloPort SX5 DuoFern Traduction du mode d'emploi et de montage original ....................................................................................4344
Handleidingassistent
Aangedreven door ChatGPT
Wachten op uw bericht
Productinformatie

Merk : RADEMACHER

Model : RolloPort SX5 DuoFern

Categorie : Garagepoort