AWOD 7224 - Wasmachine WHIRLPOOL - Gratis gebruiksaanwijzing en handleiding
Vind de handleiding van het apparaat gratis AWOD 7224 WHIRLPOOL in PDF-formaat.
Veelgestelde vragen - AWOD 7224 WHIRLPOOL
Questions des utilisateurs sur AWOD 7224 WHIRLPOOL
0 question sur cet appareil. Repondez a celles que vous connaissez ou posez la votre.
Poser une nouvelle question sur cet appareil
Download de handleiding voor uw Wasmachine in PDF-formaat gratis! Vind uw handleiding AWOD 7224 - WHIRLPOOL en neem uw elektronisch apparaat weer in handen. Op deze pagina staan alle documenten die nodig zijn voor het gebruik van uw apparaat. AWOD 7224 van het merk WHIRLPOOL.
GEBRUIKSAANWIJZING AWOD 7224 WHIRLPOOL
Deze wasmachine is bestemd alleen voor het wassen en centrifugeren van het wasgoed in een hoeveelheid die gebruikelijk in een huishouden is.
-
Houd u aan de instructies in deze gebruiksaanwijzing en in de programmatabel wanner u de wasmachine gebruikt.
-
Bewaar deze gebruiksaanwijzing en de programmatabel; als u de wasmachine aan iemand anders doorverkoopt, geef hem of haar dan ook de gebruiksaanwijzing en de programmatabel.
1. Veiligheidsvoorschriften
- De wasmachine is alleen geschikt voor gebruik binnenshuis.
- Bewaar geen brandbare vloeistoffen in de buurt van het apparaat.
- Laat kinderen nicht met de wasmachine spelen of in detrommel klimmen.
- Wasmachine kan door kinderen vanaf 8aar, Personen met beperkte fysieke, zintuiglijke of psychische möglichkheden en de Personen met onvoldoende ervaringen of kennis, bediend worden op voorwaarde, dat ze onder toezicht zijn of waren ondderricht door een verantwoordelijkpe soon over een veilig gebruik van een wasmachine en dat ze begrijpen, dat er möglichke bevaren uit het gebruik hunnen voortvloeien. Kinderen mogen Niet met de wasmachine spelen. Zorg en onderhoud van de machine mag Niet door kinderen+zonder toezicht worden uitgevoerd.
- Gebruik de wasmachine nicht bij temperaturen van onder de 5^ .
Voor vrijstaande modellen: als u een droger bovenop uw wasmachine wiltplaatsen, neem dan eerst contact op met de klantenservice of met uw
specialzaak om te verifierten of dit möglichk is. Hetplaatsen van een droger op uw wasmachine is alleen toegestaan als de droger door middel van een waarvoor bestemde stapelset op de wasmachine worden bevestigd; deze set is verkrijgbaar bij de klantenservice of uw specialzaak.
- Laat de wasmachine nicht aangesloten op het elektriciteitsnet wonneer u deze niet gezruikt.
- Draai de kraan dicht als u het apparaat Niet gebruikt.
Haal alteid de stekker uit het stopcontact of koppel het apparatusaat van de elektriciteit voordat u onderhouds- of reinigingswerkzaamhedenuitvoert. - Open de deur nooit met kracht en ga er nicht op staan.
- Zo nodig kan het netsnoor verwangen worden door een identiek snoer dat verkrijgbaar is via de klantenservice. Elektrische voedingskabel kan alleen worden verwangen door een geschoolde technicus of medewerker van onder Service.
-
Kinderenjonger dan 3JAar zouden genoeg afstand hebben van de wasmachine als zij nicht onder permanent toezicht zich.
-
Ventilateopeningen in de basis van de wasmachineKnown doorgeen dik tapijt verdekt worden.
- Indien u de wasmachine op een platform wiltplaatsen of op een andere verhoogde plaats, controller, of dit platform:
-vast genoeg is, om het hoge gewicht van de wasmachine te dragen,
-volledig waterpas is,
-groot genoeg is en deplaats rond de wasmachine deze zo beperkt, dat deze zich bij bijzondere omstandigheden nicht vanplaats kan bewegen.
- Indien uw wasmachine een inbouwmodel is:
hanteer nicht ermee voordat de machine in het aanrecht worden ingebouwd
-u mag het bovenste deksel nicht verwijderen.
2. Verpakking
- Het verpakkingsmaterial is volledig recyclebaar, en draagt het recyclingsymbol Voor de verwerking dienen deplaatselijke voorschriften te worden nageleefd.
3. De verpakking en oude apparaten als afval verwerken
- De wasmachine is gemaaakt met herbruikbare materialen. De wasmachine要去 worden verwerkt als afval in overeenstemming met deplaatselijke voorschriften.
- Verwijder voordat u het apparaat afdankt alle wasmiddelresten en snijd de elektriciteitskabel door zodate het apparaat onbruikbaar worden.
- Dit apparaat is voorzien van het merkteken volgens de Europese Richtlijn 2002/96/EG inzake Afgedankte elektrische en elektronische apparaten (AEEA). Door ervoor te zorgen dat dit productaar behoren worden afgevoerd, helpt u te voorkomen dat het möglichke negatieve consequenties heeft voor het milieu en de menselijkke gezondheid, die zonden+kennen worden veroorzaakt door onjuiste afvoer als afval van dit product.
- Het symbol op het product, of op de documenten die bij het product geleverd worden, geeft aan dat dit apparaat Niet mag worden behandeld als huishoudelijk afval. Inplaats waarvan要去h worden afgegeven bij het desbeteffende verzamelpunt voor recycling
van elektrische en elektronische apparaten. De afvoer要去 geschieden in overeenstemming met deplaatselijke milieuvoorschriften inzake afvalverwerking. Voor nadere informatie over de behandeling, herwinning en recycling van dit product, worden u verzocht contact op te nemen met het plaatselijke stadskantoor, uw afvalophaaldienst of de winkel waar u het product heeft aangeschaft.
4. Vorst
Plaats de wasmachine Niet in ruimtes waar het kan vriezen. Als dit toch moet, zorg er dan voor dat de wasmachine volledig worden leeggeprompt na iedere wasbeurt:
- Verwijder de toevoerslang(en) van de kraan en LAST het water volledig weglopen.
- Verwijder de afvoerslanguit de sifon of de wasbakenaat het water volledig weglopen.
- Laat het restwater in de machine weglopen door de instructies in het hoofdstuk "Afvoeren van restwater" te volgen.
5. EG-conformiteitsverklaring
- De wasmachine voldoet aan de volgende Europese normen: 2006/95/EEG Laagspanningsrichtlijn 2004/108/EEG Richtlijn m.b.t. Elektromagnetische compatibiliteit
De produit is nicht vertantwoordelijk voor eventuele beschadiging van het wasgoed veroorzaakt door ongeschikt of onjuist gerbruik zonder de instructies m.b.t. de behandeling van het wasgoed te volgen die aan de labels van de kleding of het wasgoed zichn aangegeven.
VOORDAT U DE WASMACHINE IN GEBRUK NEEMT
1. Verwijdersen van de verpakking en inspectie
- Controller na het uitpakken of de wasmachine nicht beschadigd is. Gebruik de wasmachine in geval van twijfel Niet. Neem in dat geval contact op met de klantenservice of uwplaatselijke leverancier.
- Bewaar het verpakkingsmaterial (plastic zakken, polystyrene enz.) buiten bereik van kinderen; het kan een bron van gevaar vormen.
- Indien het apparaat voor aflevering is blootgesteld aan lage temperaturen, maar het apparaat dan eerst even op kamertemperatuurkommen voordat u het in gebruik neemt.
2. Verwijdersen van de transportschroeven
- De wasmachine is uitgerust met transportschroeven om möglichke interne schade tijdens het vervoer te voorkomen. Voordat u de wasmachine in gebruik neemt, moeten de transportschroeven verwijderd worden.
- Dek de openingsen af met de 4 bijgesloten plastic doppen.
3. Installeren van de wasmachine
- Verwijder de beschermende folie van het regelpaneel (indien aanwezig op uw model).
- Verplaats het apparaat zonder dit aan het bovenblad op te tillen.
- Plaats de wasmachine op een stabiele en vlakke ondergrond, zo möglichk in de hoek van een vertrek.
- Controller of alle pootjes stevig op de vloer rusten en controllerer of de wasmachine exact horizontal staat (gebruik hiervoor een waterpas).
In geval van houten of zogenaamde zwevende vloeren (bijvoorbeeld parket- of laminaaatvloeren) dient het apparaat op een blad van multiplex met afmetingen van tenminste 60× 60~cm en een dikte van tenminste 3 cm geschroefd te worden. - Zorg ervoor dat de ventilatieopengingen in de onderkant van de wasmachine (indien aanwezig op uw model) Niet worden geblokkeerd door tapijt of ander materiaal.
4. Watertoevoer
- Sluit de watertoevoerslang(en) op de waterleiding aan volgens de voorschriften van het Waterleidingbedrijf.
- Modellen met één watertoever: koud water
- Modellen met twee watertoevoren: koud en warm water, of alleen koud water (zie het afzonderlijk geleverde installmentiehandleiding.
- Waterkraan: schroefdraadaansluiting voor slang van 3/4 .
Waterdruk (stroomdruk): 100-1000 kPa (1-10 bar). - Gebruik alleen neue slangen om de wasmachine aan te sluiten op de watertoevoer. Oude slangen mogen Niet meer worden gebruikt en要去en worden weggegooid.
- Voor modellen met warmwatertoevoer: de temperatuur van de warmwatertoevoer mag nicht hoger�n dan 60^
5. Afpompen
- Verbind de uitlaatbuis vast aan de stankafsluiter of aan een andere uitlaat van de riolering.
- Als de wasmachine op een ingebouwd afpompsysteme is aangesloten, dient u zich ervan te verzekeren dat dit system is uitgerust met een ventiel, zodate er nicht tegelijkkertijd water aanen afgevoerd kan worden (sifoneffect).
6. Elektrische aansluiting
- Elektrische aansluitingen moeten tot stand worden gebrachte door een bevoegt technicus en in overeenstemming met de instructies van de fabrikant enplaatselijke veiligheidsvoorschriften.
- Gegevens met betrekking tot spanning, stroom-verbruik en beveiligingsvereisten vindt u op de binnenkant van de deur.
- Het apparaat要去hetelektriciteitsnet te worden aangesloten door middel van een stopcontact dat overeenkomstig de geldende voorschriften geaard is. De wasmachine要去 volgens de wet geaard zich. De fabrikant aanvaardt geen enkele aansprakelijkheid voor schade aan voorwerpen of voor letsel aan personen of dieren die/datverozaakt is door het Niet in ache nemen van deze voorschriften.
- Gebruik geen verlangkabels of meervoudige stopcontacten.
- Na de installmentie moeten de stekker of de afkoppeling van het elektriciteitsnet via een tweepolige schakelaar.altijd toegankelijk+zijn.
- Gebruik de wasmachine nicht als dazu tijdens transport is beschadigd. Stel in dat geval de klantenservice op de hoogte.
- Het netsnoer mag alleen door de een medewerker van de klantenservice worden verrangen.
- Bij het gebruik van een aardelkschakelaar all gebruik maken van een model gemerkt met
BESCHRIJVING VAN DE WASMACHINE(afb. 1)
-Afhangelijk van het model
a. Werkblad (voor vrijstaande modellen) / Bovenste deksel (voor inbouwbare modellen)
b. Doseerbakje wasmiddel
c. Bedieningspaneel
d. Serviceplaatje (aan de binnenkant van de deur)
e. Deur
f. Toegang tot de pomp met filter en noodslang (indien aanwezig) darüber de plint
g. Verstelbare pootjes
DEUR
-
Om de deur te openen houdt u de handgreep vast, drukt u op de binnenste hendel (indien aanwezig op uw model) en trekt u de deur open.
-
Sluit de deur door hem dicht te drukken tot hij klikt, zonder te veel kracht te gebruiken.
VOOR HET EERSTE WASPROGRAMMA
Om eventuele restwater te verwijderen dat door de fabrikant is gebruikt om de machine te testen, raden wij u aan een kort wasprogramma zonder wasgoed uit te voeren.
- Draai de kraan open.
- Sluit de deur.
- Vul het vakje voor hoofdwas [li] de schuifbak
voor wasmiddelen metkleine hoeveelheid van het wasmiddel (max.1/3 van de door de producent aanbevolen hoeveelheid voorlicht verruild wasgoed).
- Stel het programma in en zet het aan op "Synthetische stof 60^ (zie afzonderlijke geleverde "Programmatabel).
VOORBEREIDING VAN HET WASGOED
Het wasgoed sorteren
- Het wasgoed sorteren op...
Textielsoort / symbol op het etiket
Katoen, gemengde weefsels, easy care/ synthetische weefsels, wol, textiel dat met de hand gewassen要去 worden.
Kleur Scheid bonte en witte was. Gekleurd wasgoed deeerste keer apart wassen.
La dimension Was stukken van verschillende afmetingen samen voor betere wasresultaten en een optimale verdeling van de belading in de trommel.
Tere weefsels
Teer wasgoed apart wassen: gebruik een speciaal programma voor zuivere scheerwol, gordijnen en andere tere weefsels. Haal de ringen van de gordijnen of doe de gordijnen met ringen in een katoenen zak. Gebruik het speciale program ma voor de handwas. Waskleine stukken zoals kousen, riemen of stukken met haakjes (bijvoorbeeld bh's) in speciale katoenen waszakken of in kussenslopen met ritssluiting.
- Maak zakken leeg
Muntstukken, veiligheidsspelden en dergelijkke kuren het wasgoed, de trommel en de kuip beschadigen.
- Sluitingen
Doe ritssluitingen, knopen of haken dicht; knoop de uiteinden van ceintuurs bijeen.
Behandeling van vlekken
Vlekken van bloed, melk, eieren en andere organische stoffen worden normal gesprokenijdens de enzymenfase van het wasprogramma verwijderd.
- Voeg voor wijn-, koffie-, thee-, gras-, fruitvlekken enz. een vlekkenmiddel toe aan het wasmiddelbakje wa de wasmiddellade.
- Bij hardnekkige vlekken het wasgoed vooraf gezende behandelen.
Verven en bleken
- Gebruik alleen verf en bleekmiddelen die geschikt zich voor wasmachines.
- Volg de aanwijzingen van de fabrikant op.
- Na het verven en bleken hunnen de plastic en rubberen onderdelen van de wasmachine gekleurd en gevlekt zich.
Wasgoed in de machine doen
- Open de deur.
- Plaats de stukken wasgoed een voor een in de trommel zonder de machine te overladen. Houd u aan de maximale belading die te vinden is in de Programmatabel (als de wasmachine te vol worden gestopt, worden het wasgoed minder goed gewassen en kreukt heteer)
- Sluit de deur.
WASMIDDEL EN NABEHANDELINGSPRODUCTEN
Bewaar wasmiddelen en nabwehandelings-producten op een droge plaats, buiten het bereik van kinderen.
Gebruik geen oplosmiddelen (b.v. terpen-tine, benzine). Was geen stoffen in de was-machine die behandeld zich met oplosmid-delen of ontvlambare vloeistoffen.
Gebruik alleen wasmiddelen en nabehandelingsproducten die bedoeld zijn voor apparaten voor huishoudelijk gebruik. Volg de wassymbolen op het etiket op het wasgoed.
De keuze van het wasmiddel is afhankelijk van:
- de textielsoor
- de kleur;
- de wastemperatuur;
- de hoeveelheid en het soort vuil.
| Type wasgoed Soort | reinigungsmittel |
| Wit bestendig wasgoed (koud water - 95 °C): | effectief wasmiddel met bleekmittel |
| Wit zich wasgoed (koud water - 40 °C): | mild wasmiddel met bleekmid- del en/of optische witmakers |
| Heldere/pastelkleuren (koud water - 60 °C): | wasmiddel met bleekmittel en/of optische witmakers |
| Intense kleuren (koud water - 60 °C): | wasmiddel voor kleurig wasgoed zonder bleekmittel/ optische witmakers |
| Zwart/donkere kleuren (koud water - 60 °C): | speciale wasmiddlesen voor zwart/donker wasgoed |
Voor de was die speciale behandeling vereist (bijvoorbeeld wol of microvezels) raden wij aan om speciale beschikbare wasmiddelen,weekmakers en wasverzachters te gebruiken. Voor andere informatiezie www.cleanright.eu.
Gebruik geen vloeijaar wasmiddel voor de hoofdwas wonneer u de functie "Voorwas" heeft geactiveerd
Gebruik geen vloeijaar wasmiddel bij het selecteren van de functie "Uitgestelde start einde" (afhankelijk van het model).
Dosering
Volg de aanwijzingen op de verpakking van het wasmiddel. De dosering is afhankelijk van:
- de hoeveelheid en het soort vuil
- de grootte van de was
-volledige belading: volg de aanwijzingen van de fabrikant op
-halve belading: 3/4 van de hoeveelheid voor een volledige belading
-kleine belading (ca. 1 kg): 1/2 van de hoveeelheid voor een volledige belading
Als er geen instructies op de verpakking van het wasmiddel staan met betrekking tot de belading: fabrikanten van wasmiddelen honden meestal als aanbeveling 4,5 kg wasgoed voor normalaal wasmiddel en 2,5 kg wasgoed voor een fijnwasmiddel aan.
- de waterhardheid bij u in de buurt (vraag hieromtrent informatatie bij het waterleidingbedrijf). Bij zicht water heeft u minder wasmiddel nodig dan bij hard water.
Opmerking:
Een te hoge dosering wasmiddel kan tot sterke schuimvorming leiden. Het wasgoed wordt hierdoor minder goed gewassen. Als de wasmachine te veel schuim detecteert, centrifugeert het apparaat möglichk Niet, of duurt het programma langer en wordt er meer water gebruikt (zie ook de opmerkingen over schuimvorming in het hoofdstuk "Het oplossen van problemen"). Bij te weinig wasmiddel worden het wasgoed op den duur grauw, en ontstaan er afzetten op het verwarmingselement, de trommel en de slangen.
Dosering van wasmiddelen en extra middelen (afbeelding 2)
Voorwascompartment
- Wasmiddel voor het voorwassen (alleen bij activatie van de keuze "Voorwas")
Compartment voor hoofdwas
- Wasmiddel voor hoofdwas (dient voor alle programma's toegevoed worden)
Vlekkenverwijderaars (optioneel) - Waterverzachters (optioneel, aangeraden voor klasse van hardheid 4 of hoger)

Compartment voor een wasverzachter
- Wasverzachter (optioneel)
Zetmeel opgelost in water (optioneel)
Bij de dosering van wasmiddelen en aanvullende middelen kunt u het niveau MAX' nooit overschrijden. Indien u een vloeibaar wasmiddel gezruikt, sluit de schuifbak onmiddelijk nadat u hetvakje met wasmiddel vult. Voor meer informaties betreffende het gebruik van wasmiddelen en wasverzachters in individuele programma's zie toegevoegde tabel van programma's.

floorbleekmiddel gebruiken

- Was uw wasgoed op het gewenste programma (Katoen, Synthetisch, enz.) met de juiste hoeveelheid chloorbleekmiddel in het vakje WASVERZACHERT (doe het klepe goed zich).
- Start onmiddelijk na het einde van het programma het programma "Spoelen en centrifugeren" om een eventuele chloorlucht te verwijderen; u kunt desgewenst wasverzachter toevoegen.
- Doe nooit chloorbleekmiddel en wasverzachter tegelijk in het bakje.
- Bij gebruik van bleekmiddelen op basis van zuurstof volg de aanbevelingen van hun producent.
Stijfsel gebruiken
- Selecteer het programme "Spoelen en centrifugeren" en controllerer of de centrifugeersnelheid is ingesteld op zicheer dan 800 tspm.
- Start het programma, trek het wasmiddelbakje waar buiten zodate u ongeveer 3 cm van het bakje voor wasverzachter ziet.
Giet de stijfseloplossing in het bakje terwijl het water in de wasmiddellade stroomt.
AFVOEREN VAN RESTWATER/REINIGEN VAN HET FILTER
Controleer en reinig het filter regelmatig, tenminste twee of drie keer peraar, vooral:
- Als het indicatielampje "Reinig pomp" Brandt.
- Als het apparaat Niet goed afprompt of als het Niet centrifugeert.
- Als de wasmachine in een ruimte staat waar het kan vriezen, moet u het restwater na elke wasbeurt afvoeren om schade te voorkomen.
BELANGRIJK:That het water afkoelen voordat u het afvoert uit het apparaat.
- Schakel de machine uit en trek de stekker uit het stopcontact.
- Openen van de plint (afhankelijk van het model): -Duw de lipjes rechts en links in (indien aanwezig) om de plint los te make n en verwijder deze (afb. 3).
-Verwijder de plint met behulp van de sifon van de wasmiddeldispenser: duw een kant van de plint met de hand omlaag, duw de punt van de sifon in de ruimteussen de plint en het voorpaneel en wrik de plint open (afb. 4).
-Voor inbouwbare modellen: verwijder de sukkel van het keukenaanrecht.
- Zeteenbak bijde wasmachine.
- Als uw wasmachine eenoodslang heeft: Maak de niedoslag los uit de klemmen en trek deoodslang uit de onderkant van de wasmachine (afhankelijk van het model). Als er geenoodslang is: zet een brede, lage bak onder het filter (afb. 6). Sla de
stappen 5-8 over en ga door met 9.
- Houd het uiteinde van de noodslang in de bak en verwijder de stop (afb. 5).
- Wacht tot al het water in de bak is gestroomd en plaats de stop terug op de slang (afb. 7).
- Maak de noodslang waar vast aan de klem of duw hem terug in de onderkant van de wasmachine (afhankelijk van het model).
- Leg een absorberende katoenen doek (b.v. een handdoek) op de vloer voor het filter.
- Slowly open the filter by turning it counterclockwise (afb. 8); wacht tot al het water weggestroomd is, draai het filter daarna helemaal los en haal het eruit.
- Alleen voor de filterreiniging: reinig het filter en de filterkamer; controller of de rotor van de pomp in de filterbehuizing waar goed kan bewegen.
- Plaats het filter terug en schroef het zover möglichelijk aan rechts.
- Giet ca. 1 liter water in de wasmiddellade om het "Eco-system" weer in te schakelen. Controller of het filter goed geplaatst en aangedraaid is en er geen water maar buiten komt.
- Installee de plint wee (afb. 9); kantel de wasmachine indien nodig Licht aan achteren om dit te doen (vraag hierbij hulp aan een tweede person). Voor inbouwbare modellen: monteer de sukkel terug in het keukenaanrecht.
- Steek de stekker in het stopcontact. De wasmachine is nu weer maar voor gebruik.
ONDERHOUD EN REINIGING
Altijd de stekker van de wasmachine voordat enig onderhoud.
Het reinigen van het schuifbakje voor het wasmiddel
- Trek het schuifbakje voor het wasmiddel tot het einde eruit. Druk met uw vinger op deplaats waar de sifon met "PUSH" is gemarkeerd (afb. 10), waarkee het schuifbakje loskomt en u kan het helemaal eruit nemen.
- Haal de sifon UIT het vakje voor de wasverzachter eruit door het trekken maar boven (afb. 11).
- Spoel alle onderdelen schoon onder stromend water.
- Maak het vak voor de wasmiddellade schoon met een vochtige doeck.
- Plaats de sifon terug in het vakje voor de wasver-zachter door het drukkenaar beneden tot het einde, dan schuif het schuifbakje terug in de bak voor het doseren van wasmiddelen.
Toevoerslang (slangen) (afbeelding 12, 13 of 14, afhankelijk van het model)
Controleer de slang regelmatig op kreuken en scheuren. Indien de toevoerslang zichtaar beschadigd is, verrang deze door een neue slang van hetzelfde type. Dit kurz u bij de serviceddienst of in een gespecialiseerde winkel kopen.
Als de watertoevoerslang van uw wasmachine overeenkomt met het model op afb. 13, controlleren dan regelmatig het inspectievenster van de veiligheidsklep: (A) als dit rood is, dan is de waterstopfunctie van de slang ingeschakeld en moet de slang verrangen worden door een nieuw
exemplaar. Een neue slang is verkrijgbaar bij once Klantenservice of bij uw specialzaak. Voor het losschroeven van de toevoerslang zoals afgebeeld op afb. 13 dient de ontgrendelingshendel (B) (indien beschikbaar) maar beneden ingedrukt worden.
Indien uw toevoerslang een doorzichtig oppervlak heeft (afb. 14), controllerer regelmatig de kleur ervan. Indien de kleur van het doorzichtigte oppervlak donker worden, betekent het dat in de slang een scheur is en dat deze zou要去en worden verrangen. Neem contact op met een servicedienst of een deskundige technicus om uw slang te verrangen.
Reinigen van het filter in de watertoevoerslang(en)
- Sluit de kraan en draai de toevoerslang van de kraan los.
- Reinig het filter van de slang en schroef de watertoevoerslangeer vast op de kraan.
- Schroef nu de toevoerslang aan de achterkant van de wasmachine los.
- Trek het filter van de wasmachineaansluiting met behulp van een combinatietang en reinig het filter.
- Zet het filter werk terug en schroef de toevoerslang, weer vast.
- Draai de kraan open en controller of de verbindingen nichtlekken.
Behuizing en bedieningspaneel
Was met zachte en natte doeck. Droog met zachte doek.
Binnenste van het apparatus
- Laat de deur na het wassen enigeijd open, zodat de binnenkant van het apparaat kan drogen.
- Als u zelden of nooit op 95^ wast, adviseren wij om zo nu en dan een 95^ programa te lately draaien zonder wasgoed, met een Klein beetje wasmiddel, om het apparaat van binnen schoon te honden.
Deurafdichting
Maak de deurafdichting na iedere wasbeurt droog met een absorberende katoenen doeK; zorg ervoor dat de deurafdichting helemaal droog is voordat u de deur van de lege wasmachine dicht doet.
- Controller regelmatig de toestand van de deurafdichting.
Filter
- Controleer het filter regelmatig, minstens twee of drie maal perJAar, en reinig het (zie "Verwijderen van het filter/ afvoeren van restwater).
Maak geen gebruik van reinigingsmiddelen, die de oplosmiddelen omvatten, de poeder voor het schrobben, glas of universele reinigingsmiddelen en brandbare vloeistoffen. Zij kannen de kunststofoppervlaktes of andere onderdelen van het apparatusat beschadigen.
RESTVOCHT VAN HET WASGOED NA HET CENTRIFUGEREN
Het vochtgehalte van het wasgoed na het centrifugeren is vooral afhankelijk van het type weefsel, het geseleterde programma en de snelheid van centrifugeren.
Het laagste niveau van vochtigkeit kan worden bereikt door het selecteren van het wasprogramma volgens het energielabel bij de maximale snugheid van centrifugeren. Dit programme wordt in de afzonderlijke tabel van programma's vermeld als "Referentieprogramma voor het energielabel". Hieronder(Intukt u een overzicht vinden van restvochtigheid (%) in verband met verzillende draaiefficientreklogen:
| Draaiefficien-tieklasse | Restvochtigkeit in % |
| A (= het meesteffectief) | minder dan 45 |
| B 45 ofeer, maar minder dan 54 | |
| C 54 ofeer, maar minder dan 63 | |
| D 63 ofeer, maar minder dan 72 | |
| E 72 ofeer, maar minder dan 81 | |
TRANSPORT EN BEHANDELING
Til het apparaat nooit op door het bij het werkblad (indien beschikbaar) vast te pakken wonneer u het vervoert.
- Haal de stekker uit het stopcontact.
- Draai de kraan dicht.
- Controller of de deur van de wasmachine en het
ACCESSIONS
Voor sommige vrijstaande modellen zijn via once klantenservice of uw specialzaak de volgende accessoires verkrijgbaar:
- Een voetstuk met lade dat onder uw wasmachine geinstalleerd kan worden. Hierdoor worden uw machine hoger gezet zodate laden en uitladen gemakkelijker worden, omdat u Niet meer hoeft te bukken. Daarnaast biedt het voetstuk veel opbergruimte.
- Een stapelset waarmee u uw droger bovenop uw
KLANTENSERVICE
Voordat u contact opneem met de klantenservice:
- Probeer of u de storing zich aunt verhelpen (zie "Het oplossen van problemen").
- Start het programme opnieuw om te controlleren of de storing verholpen is.
- Als de machine nog steeds nicht goed werk, bel dan de klantenservice.
Vermeld het volgende:
- De aard van de storing.
- Het exacte model van de wasmachine.
- Het servicenummer (achter het woord SERVICE).

wasmiddelbakje goed zicht zitten.
- Maak de toevoer- en afvoerslangen los.
- Laat het restwater uit de wasmachine en de slangen wegstromen ("Afvoeren van restwater/ Reinigen van het filter").
- Monteer de transportschroeven (verplicht).
wasmachine kunt plaatsen.
- Een stapelsetplank waarmeu uw droger bovenop uw wasmachineUNTplaatsen om ruimte te besparen, en het in- en uitladen van wasgoed in de droger te vergemakkelijken.
- Een afdekpaneelset, waarmee uw wasmachine bijvoorbeeld onder een doorlopend aanrecht geinstalleerd kan worden. Informeer bij de Klantenservice of bij uw speciaalzaak of dit möglichk is bij uw model wasmachine.
De servicesticker bevindt zich aan de binnenNZijde van de deur.
Uw volledige adres.
- Uw telefoonnummer. Het telefoonnummer en adres van de Klantenservice bevindt zich op het garantiebewijs. U kunt ook de dealer raadplegen bij wie u het apparaat heeft gekocht.
Fabrikant:
Whirlpool Europe s.r.l.
Viale Guido Borghi 27
21025 Comerio (VA)
Italy
HET OPLOSSEN VAN PROBLEMEN
Deze wasmachine is uitgerust met verschillende automatische verilgheidsfuncties. Hierdoor worden storingen snel opgespoord en kan het verilgheidssysteme op de juiste manier reageren. Deze storingen zijn doorgaans zo Klein dat ze binnen enkele minuten verholpen nutzen worden.
| Probleem Oorzaken | - Oplossingen - Tips |
| De wasmachine start nicht, er branden geen controleampjes | • De stekker zit nicht goed in het stopcontact. • Het stopcontact of de zekering werkken nicht goed (sluit een tafellamp of iets dergelijk aan om dit te testen). • De wasmachine schakelt automatisch voor het beginn of na het einde van het programma vanwege het sparen van energie uit. Wilt u de wasma-chine inschakenen, draai dan eerst het programmaschakelaar in de positie „Uit/O" en daarnaeer in de positie van het gewenste programme |
| De wasmachine start nicht, hoewel "Start(Pauze)" is ingedrukt | • De deur zit nicht goed zich. • De functie "Kinderbeveiliging/Toetsenvergrendeling" is geactiveerd =○ (indien aanwezig op uw model). Om de knoppen te ontgrendelen要去en de twe knoppen met het sleutelsymbol tegelijkkertijd minstens 3 seconden ingedrukt worden. Het sleutelsymbol op het display verdwijnt en het programme kan gestart worden. |
| De wasmachine stoptijdens het programme, en het "Start(Pauze)"-lampje knippert | • "Spoelstop" is geactiveerd. Druk op de "Start(Pauze)" om de was te draaieren. Voor het aflappen van het water zonder centrifugeren selecteer het programme "Afpompen" (indien beschikbaar) of houd tenminste 3 seconden de "Reset/Afpompen" ingedrukt. • Het programme is veranderd - selecteer het gewenste programme opnieuw en druk op "Start(Pauze)". • Het programme is onderbroken en de deur is eventuele geopend - doe de deur zich en start het programme opnieuw door op "Start(Pauze)" te drukken. • Het veilgheidssystem van de wasmachine is geactiveerd (zie "Beschrijving van storingsindicaties" in de programmaticabel). • De waterkraan is Niet open of er zit een knik in de watertoevoerslang (het indicatielampje "Waterkraan zich" brandt). |
| Het wasmiddelbakje bevatanten wasmidden en/of nabeehandelingsproducten | • Er komt nicht genoeg water binnen; de filters in de watertoevoer können verstopt�in (zie "Onderhoud en reinigging"). |
| De wasmachine trittijdens het centrifugeren | • De transportschroeven+zijn nicht verwijderd; Voordat u de wasmachine in gebruik neemt,要去en de transportschroeven verwijderd worden. • De wasmachine staat net vlak / staat net stevig op alle vier de pootjes (zie de parte "Installatiehandleiding"). |
| Na afloop van het wasprogramma is het wasgoed net of onvoldoende gecentrifugeerd | • Onbalansijdens het centrifugeren stocht het centrifugeren om de wasmachine gegen de beschadiging te beschemen (zie "Onbalans bij het centrifugeren"). • Sterke schuimvorming kan het centrifugeren blokkeren; selecteer en start het programme "Spolen en centrifugeren". Doe Niet te veel wasmidden in de wasmachine (zie "Wasmidden en nabeehandelingsproducten"). • De knop "Centrifugen" is ingesteld op een lage centrifugeersnelheid. |
| Onbalans bij het centrifugeren" Controlelampe "Centrifugen/Leegmaken" of snugheid/toerental of het centrifolempje van de snugheid van het centrifugeren knippert op de display, wanner het wasprogramma maar is (afhankelijk van het model). Het wasgoed blijft nat | Onbalans van de lading van de wasmachineijdens het centrifugeren stocht het centrifugeren om de wasmachine gegen de beschadiging te beschemen. Om deze reden is het wasgoed nat. Mogelijkke oorzaken van onbalans:kleine hoeveelheid wasgoed (slechts een paur vrij grote of sterk zugende stukken wasgoed, bijvoorbeeld handdoeken) of grote/zware stukken wasgoed. • Indien möglichk,kleine hoeveelheden wasgoed Niet wassen. • Bij het wassen van grote of zware stukken wasgoed raden wij aan om de stukken van verschillende afmetingen toe te voegen. Als het natte wasgoed centrifugeert dienst te worden, eerst het wasgoed van verschillende afmetingen toveogen en daarna het programme "Spolen en centrifugeren" kiezen en starten. |
| Er zitten resten wasmidden op het wasgoed na het wassen | Witte resten op donkere weefsels+zijn het gevolg van onoplosbare verbindingen in fosaatvrijne waspoeders: -voeg Niet te veel wasmidden toe; gebruik een vloeibaar wasmidden; selecteer indien maybeik de functie "Intensief spoelen"; borstel het kledingstuk af. |
| Probleem Oorzaken - Oplossingen - Tips | |
| De wasmachine staat verscheidene minutes stil in het midden van een programme; het wasprogramma lijkt Niet verder te gaan | Normale werkung van de wasmachine om de spoelfase te optimaliseren. Een reden voor een dergelijkpeauze kan zich dat u te veel wasmiddel hebigt gebruikt; de wasmachine onderbreekt het programma automatisch om het schuim te verminderen. Deze stilstand kan verschillende malen worden herhaald, tot het schuim voldoende is verminderd om door te gaan met het wasprogramma. Als de schuimvorming aanhoudt, gaat het rode "Service"-lampje branden en verschijnt "F18" of "Fod" op het display. Zie in dat geval de instructies met betrekking tot het "Service"-lampje op de volgende pagina's. |
| De programmaduur is aanzienlijk langer of korte dan aangegeven in de "programmatabel" of op het display (indien aanwezig) | Dit is een normale eigenschap van de wasmachine om zich aan factoren aan te passen waar de tijsdsduur van het wasprogramma invloed op kan hebben, b.v. sterke schuimvorming, beladinguit balans vanwege enkele zware stukken wasgoed, langere verwarmingstijd vanwege een lagere temperatuur van het toevoerwater etc. Bovendien past het detectiesysteme van de wasmachine de programmaduur aan de grootte van de belading aan. Door deze factoren worden de programmatijd opnieuw berekend en, indien nodig, aangepast;ijdens een dergelijkke update-periode verschijnt er een animatie op het tijsdsdisplay (indien aanwezig). Bijkleine beladingen kan de programmatijd die aangegeven staat in de "programmatabel" 50% korte worden. |
Beschrijving van storingsindicaties
| Storing indicateknpippert | Indicatie op display (indien aanwezig) | Beschrijving - Oorzaken - Oplossingen |
| “Service”® | van “F03” tot “F43” (behalte “F18” en “F24”) | “Storing elektrische module” Houd de “Reset”-knop minstens 3 seconden ingedrukt. |
| “F24” | Kan verschijnen bij kletsnat wasgoed of als u te veel wasgoed in de machine heeft gedaan bij een pro-gramma dat alleen bestemd is voor keine beladingen. Laad de wasmachine nicht te vol. Houd de “Reset”-knop minstens 3 seconden ingedrukt om het programma te stoppen. Selecteer en start het programma “Spoelen en centrifugeren” om het onder-broken wasprogramma af te makeen. | |
| “F02” of “FA” | “Storing waterstop” Draai de programmakeuzeknop op “Uit/O”, trek de stekker uit het stopcontact en draai de kraan zich. Vervolgens: · Steek de stekker werk in het stopcontact. · Draai de waterkraan open (als het water onmid-delloijk in de wasmachine stroomt,+zonder dat deze aangezet is, is er spreke van een storing;draai de kraan zich dicht en neem contact op met de Klanten-service). · Selecteer en start het gewenste programma opnieuw. | |
| “F18” of “Fod” | “Te veel schuim” Te sterke schuimvorming heeft het wasprogramma onderbroken. Als uw wasmachine de functie “Doseer-hulp”� heeft en u deze gebruikt zich: controller of doseringswaarden die ingesteld+zijn voor de verschil-lende programmagroepen overeenkomen met de aan-bevolen doseringswaarden voor de wasmiddelen die u wilt gebruiken (zie voor meer informatie deAPEnte instructies bij de “Doseerhulp”). · Selecteer het programme “Spoelen en centri-fugeren” en start het. · Selecteer daarna het gewenste programma opnieuw en start het, en gebruik minder wasmid-del. Zie ook “De machine staat stil...” op de eerste pagina van Het oplossen van problemen. | |
| Storing indicateknpippert | Beschrijving - Oorzaken - Oplossingen | |
| “Waterkraan richtig” | Er worden geen of onvoldoende water toegevoerd. Het “Start(Pauze)”- lampje knip-pert. Controleer of: • De waterkraan—helemaal open is en de watertoevoerdruk hoog genoeg is. • Er knikken in de watertoevoerslang zitten. • Het filter in de watertoevoerslang verstopt is (zie “Onderhoud en reinigging”). • De waterslang bevroren is. • Het inspectievenster van de veiligheidsklep van uw watertoevoerslang is rood (als uw machine tenminste een watertoevoerslang heeft zoals worden afgebeeld op aflb. 13 - zich het vorige hoofdstuk “Onderhoud en reinigging”); verwang de slang door een/New exemplaar via de klantenservice of uw specialzaak. Nadat het probleem verholpen is, start u het programma opnieuw door op “Start(Pauze)” te drukken. Als de storing aanhoudt, neem dan contact op met de klantenservice | |
| “Reinig pomp” | Het afvalwater worden nicht afgeprompt. De wasmachine stopt in de correspondende programmastap; haal de stekkeruit het stopcontact en controllerer of: • Er knikken in de afvoerslang zitten, of dat de slang om een andereen redenvestopt is. • Het filter of de pomp geblokkeerd is (zie hoofdstuk “Afvoeren van restwater/ Reinigen van het filter”); staat het water afkoelen voordat u het afvoert uit het apparatusaat. • De afvoerslang bevroren is. Nadat het probleem verholpen is, houdt u de “Reset”-knop minimaal 3 secondenginedrukt; daarna start u het gewenste programme opnieuw. Als de storing aanhoudt, neem dan contact op met de klantenservice |
Als uw wasmachine geenijdssdisplay heeft, controller dan welke van de eerder beschreiben situations de oorzaak van de storing zou können zich, en volg de bijbehorende instructies.
INSTALLATIEHANDLEIDING
Afbeeldingen zijn op de voorkant van deze Gebruiksaanwijzing.
Voor inbouwbare modellen: zie afzonderlijk geleverd "Installatieaanwijzing"
Onjuiste installmentie kan leiden tot lawaai, te veel trillingen en waterlekkages.
Voor vrijstaande modellen: NOOIT verplaatsen het wasmachine nooit door het bij het werkblad vast te pakken.
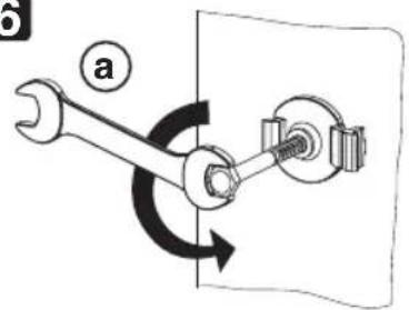
VERWIJDER DE TRANSPORTSCHROEVEN! (afb.15)
Belangrijk:
-Als de transportschroeven nicht worden verwijderd, kan dit schade veroorzaken aan het apparatus!
-Bewaar de transportschroeven voor later transport van het apparaat; monteer de transportschroeven in dit geval in omgekeerde volgorde.
- Maak en draai de schroeven van alle 4 transportbouten los; maak gebruik van een sleutel van 13mm (afb. 16a,b).
- Daarna draai de schroeven weeR vast alleen met 2 cm.Vervolgens trek de kunststofonderdelen van de achterzijde van de wasmachine door het schommelen en trekken van de schroeven (afb. 16c, d, e).
- Kunststofdoppen, die samen met de wasmachine geleverd worden, dierenaar de openings gedrukt te worden om ze te dichten. (afb. 16f).
AFSTellen VAN DE POOTJES
Het apparaat mag alleen worden geinstalleelr op een stevig, horizontally vloeroppervlak (gebruik zo nods een waterpas). Als het apparaat op een houten of zwevende vloer geinstalleelr要去en, verdelijk het gewicht dan door het apparaat op een hardboard plaat van minimaal 60 × 60 cm met een dikte van minimaal 3 cm te zetten, die u bevestigt aan de vloer.
Als de vloer ongelijk is, stel de 4 pootjes dan bij; leg geen stukjes hout e.d. onder de pootjes.
Draai de voeten van de wasmachine los met de hand, door 2 tot 3 de klok in, daarna doe de
bevestigingsmoer los met behulp van de sleutel, daarna doe de bevestigingsmoer los met behulp van de 13 mm sleutel (afb. 17, 18).
Til de machine iets op en stel de hoogte van het pootje in door het te draaien (afb. 18).
Belangrijk: draai de tegenmoer, gegen de klok in, vast gegen de wasmachine (afb. 19, 20).
AANSLUITEN VAN DE WATERTOEVOERSLANG
In het gezat dat er nog geen watertoevoerslang geinstalleerd is, schroef met de hand het gebogen eind van de watertoevoerslang op het ventiel op de achterkant van de wasmachine (afb. 21, 22). Schroef met de hand het even eind van de watertoevoerslang aan de kraan vast, waar bij u de moer vastdraait.
Let op:
Zorg ervoor dat er geen knikken in de slang zitten!
- Het apparaat mag nicht worden aangesloten op de mengkraan van een geiser of boiler die nicht onder druk staat.
- Controller of de aansluitingen nicht lekken door de kraan volledig open te draaien.
- Als de slang te kort is, verrang deze dan door een drukslang van voldoende lenghte (min. 1000 kPa min, volgens de norm EN 61770). Wanner u een langere slang voor de beperking van de waterto evoer nodig heeft, neemt u contact op met once afdeling Klantenservice of met uw handelaar.
- Controller de watertoevoerslang geregeld op barsten of scheuren en verrang hem indien nodig.
- De wasmachine kan aangesloten worden zonder een terugstroomklep.
AANSLUITEN VAN DE AFVOERSLANG
- In het geval dat de afvoerslang geinstalleerd is zoals op de afbeelding 23 weergegeven is: Maak deze van de houders los, die met de pijltjes gekenmerkt zich.
- Als de afvoerslang in het bovenste gedeelte van de wasmachine geinstalleerd is (afb. 24): Maak hem los uit beiden klemmen die aangegeven zijn met de pijlen (afhankelijk van het model).
-
Verbind de uitlaatbuis vast aan de stankafsluiter of aan een andere uitlaat van de riolering.
-
Let erop dat er geen knikken in de slang zitten.
Zet de slang vast zodate hij niet kan vallen. - Kleine handwasbakken zijn nicht geschickt.
- Gebruik, als er een verlenging gemaakt要去 worden, een slang van hetzelfde type en zet de aansluitingen vast met klemmen.
- De hoogte van de sifon - de aansluiting van de afvoerslang要去ch op een hoogte van min. 60 cm en max. 125 cm bevinden.
- De maximale totale lenghte van de afvoerslang: 2,50m (in dit geval is de maximale hoogte voor de bevestiging 90 cm).
- Gebruik een geaard stopcontact.
- Gebruik geen verlangkabels of meervoudige stopcontacten.
- Het elektriciteitssnoer mag uitsluitend worden verwangen door een erkend elektricien.
- Houd u aan deplaatselijke voorschriften voor elektrische aansluitingen.

15

16




17



18

19

21

20

22

23
SimpelGids