Arctis 86050 GI - Vriezer AEG-ELECTROLUX - Gratis gebruiksaanwijzing en handleiding
Vind de handleiding van het apparaat gratis Arctis 86050 GI AEG-ELECTROLUX in PDF-formaat.
Veelgestelde vragen - Arctis 86050 GI AEG-ELECTROLUX
Questions des utilisateurs sur Arctis 86050 GI AEG-ELECTROLUX
0 question sur cet appareil. Repondez a celles que vous connaissez ou posez la votre.
Poser une nouvelle question sur cet appareil
Download de handleiding voor uw Vriezer in PDF-formaat gratis! Vind uw handleiding Arctis 86050 GI - AEG-ELECTROLUX en neem uw elektronisch apparaat weer in handen. Op deze pagina staan alle documenten die nodig zijn voor het gebruik van uw apparaat. Arctis 86050 GI van het merk AEG-ELECTROLUX.
GEBRUIKSAANWIJZING Arctis 86050 GI AEG-ELECTROLUX
Gebruiksaanwijzing Vriezer
User manual Freezer
Wij danken u voor uw keuze voor een van荃 producten van hoogwaardige kwaliteit.
Lees deze gebruiksaanwijzing alstublieft zorgvuldig door, zo kunt u zeker zijn van optimale en professionele prestaties van uw apparaat. De handleiding za u in staat stellen om alle processen perfect en op de meest efficiente wijze te lately verlopen. Wij adviseren u deze handleiding op een veilige plaats te bewaren, danUCT u hem te allen tijde raadplegen. Geef deze handleiding ook aan een eventuele toekomstige eigenaar van het apparaat.
Wij wensen u veel plezier met uw nieuwe apparaat.
Inhoud
Veiligheidsinformationie
Veiligheid van kinderen en kwetsbare
mensen 3
Algemeneveiligheid 3
Dagelijks gebruik 4
Onderhoud en reiniging 4
Installatie 4
Onderhoud 5
Bedieningspaneel
Inschakelen 6
Uitschakelen 6
Temperatuurregeling 6
Temperatuurindicator 7
Functie Snelvriezen 7
Alarm hoge temperatuur 7
Alarm deur open 7
Het eerste gebruik 7
De binnenkant schoonmaken 7
Dagelijks gebruik 8
Vers voedsel invriezen 8
Hetbewaren van ingevroen voedsel 8
Invries agenda 8
Ontdooien 2 8
Hetmakevan ijsblokjes 8
Handige aanwijzingen en tips 9
Tips voor het invriezen 9
Tips voor het bewaren van ingevroen voedsel 9
Onderhoud en reiniging 10
Periodieke Reiniging 10
De vriezer ontdooien 10
Periodes dat het apparaat Niet gebruikt wordt 11
Problemen oplossen
De deur sluiten 13
Elektrische aansluiting 14
Ventilatievereisten 15
Het apparaat installeren 15
Het milieu 19
Wijzigingen voorbehouden

Veiligheidsinformatie
In het belang van uw verilgheid en om een correct gebruik te kunnen waarborgen is het van belang dat u, alvorens het apparaat te installereren en in gebruik te nemen, deze gelebruiksaanwijzing, inclusief de tips en waarschuwingen, grondig doorleest. Om onnodige vergissingen en oncevallen te voorkomen is het belangrijk ervoor te zorgen dat alle mensende het apparaat gebruiken, volledig bekend+zijn met de werkig ervan en de verilgheids-voorzieningen. Bewaar deze instructies en zorg ervoor dat zich bij het apparaat blijven als
het worden verplaatst of verkocht, zodateen die het apparaat gedurende zich hele levensduur gebruikt, maar behoren is geinformeerd over het gebruik en de veiligheid van het apparaat.
Voor de verilgheid van mensen en eigendommen dient u zich aan de voorzorgsmaatregelenuit dit instructieboekje te houden, de fabrikant is Niet verantwoordelijk voor schade die door het Niet opvolgen van de aanwijzingen verooorzaakt is.
Veiligkeit van kinderen en kwetsbare mensen
- Dit apparaat is Niet bedoeld voor gebruik door Personen (waaronder begrepen kinderen) met verminderde fysieke, zintuiglijke vermogens of een gebrek aan ervaring en kennis, tenzij dit onder toezicht gebeurt van een voor hun verilighheid verantwoordelijkste persoon of tenzij bij van een dergelijkte persoon instructie hebben ontvangen over het gebruik van het apparaat.
Houd kinderen uit de buurt om te voorkomen dat ze met het apparaat.gaan spelen.
- Houd alle verpakkingsmaterialiaal buiten het bereik van kinderen. Gevaar voor verstikking.
- Als u het apparaat afdankt trek dan de stekker uit het stopcontact, snij de voedingskabel door (zo zichd mightijk bij het apparaat) en verwijder de deur om te voorkomen dat kinderen een elektrische schok krijgen of zichzelf in het apparaat opsluiten.
- Als dit apparaat, dat voorzien is van een magnetische deursluiting, een ouder apparaat verwangt, dat voorzien is van een veerslot (slot) op de deur of het deksel, zorg er dan voor dat u het slot onbruikbaar maakt voordat u het oude apparaat weggooit. Dit voorkomt dat kinderen er in opgesloten können raken.
Algemene veiligkeit

LET OP!
Houd de ventilatie-openingen altijd vrij van obstructies.
- Dit apparaat is bedoeld voor het bewaren van levensmiddelen en/of dranken in een gewoon huishouden, zoals uitgelegd in dit instructieboekje.
- Gebruik geen mechanische hulpmiddelen of kunstgrepen om het ontdooiprocesse te versnellen.
- Gebruik geen andere elektrische apparaten (bijvoorbeeld ijsmachines) in koelkasten, ten-zij ze voor dit doel goedgekeurd়n door de fabrikant.
- Let op dat u het koelcircuit nicht beschadigt.
-
Het koelmiddel isobutaan (R600a) bevindt zich in het koelcircuit van het apparaat, dit is een natuurlijk gas dat weliswaar milieuvriendelijk is, maar ook uiterst ontvlambaar.
-
Controller of de onderdelen van het koelcircuitijdens transport en installmentie van het apparaat Niet beschadigd zijn geraakt.
Indien het koelcircuit beschadigd is:
-
open vuur en ontstekingsbronnen vermijden
-
de ruimte waar het apparaat zich bevindt grondig ventileren
-
Het is gevaarlijk om wijzigingen aan te brengen in de specificaties of dit product op enigerlei wijze te modificeren. Een beschadigd netsnoer kan kortsluiting, brand en/of een elektrische schok veroorzaken.

WAARSCHUWING!
Alle elektrische onderdelen (netsnoer, stekker, compressor) mogen uitsluitend verrangen worden door een erkende onderhoudsdienst of gekwalificeceerd onderhoudspersoneel.
- Het netsnoer mag nicht verlengd worden.
- Verzeker uervaan dat de stekker Niet platgedrukt of beschadigd worden door de achterkant van het apparaat. Een platgedrukte of beschadigde stekker kan oververhit raken en brand verooorzaken.
- Verzeker u ervan dat u de stekker van het apparaat=kunt bereiken.
- Trek Niet aan het snoer.
- Als de stekker los zit, steek hem dan nicht in het stopcontact. Dan bestaat er een risico op een elektrische schok of brand.
-
U mag het apparaat Niet gebruiken zonder de afdekking van het lampje. 1) voor de binnenverlichting.
-
Dit apparaat is zwaar. Wees voorzichtig als u het apparaat verplaatst.
- Haal geen artikelen uit het vriesvak en raak ze Niet aan als uw handen vochtig/nat zich dit kan uw huid beschadigden of vrieswonden veroorzaken.
- Stel het apparaat niet langdurig bloot aan direct zonlicht.
Dagelijks gebruik
- Zet geen hare potten op de kunststof onderdelen in het apparaat.
- Bewaar geen brandbare gassen of vloeistoffen in het apparaat, deze können ontploffen.
- Zet geen levensmiddelen direct gegen de luchtopening in dechterwand.2)
Diepgevroren voedsel mag nicht opniew worden ingevroren als het eenmaal ontdooid is. - Bewaar voorverpakte diepvriesproducten volgens de aanwijzingen van de fabrikant.
- U dient zich strikt te houden aan de aanbevelingen van de fabrikant van het apparaat met betrekking tot het bewaren van voedsel. Raadpleeg de betreffende aanwijzingen.
- Leg geen koolzuurhoudende of mousserende dranken in de vriezer, deze veroorzaken druk op de fles die daardoor kan ontploffen, dit kan schade toebrengen aan het apparaat.
- IJslollies können vrieswonden veroorzaken als zerechtstreeks vanuit het apparaat ge-consumeerd worden.
Onderhoud en reiniging
- Schakel het apparaat uit en trek de stekker uit het stopcontact voordat u onderhoudswerkzaamheden verricht.
Maak het apparaat Niet schoon met metalen voorwerpen. - Gebruik geen scherpe voorwerpen om ijs van het apparaat te krabben. Gebruik een kunststof schraper.
Installatie

Voor de aansluiting van elektricitieit dienen de instructies in de desbeteffende paragraphen nauwgezet te worden opgevolgd.
1) Als er een afdekking voor het lampje is voorzien.
2) Als het apparaat vorstvrij is
- Pak het apparaat uit en controllerer of er beschadigingen zijn. Sluit het apparaat Niet aan als het beschadigd is. Meld möglichke beschadigingen onmiddelijk bij de winkel waar u het apparaat gekocht heeft. Gooi in dat geval de verpakking Niet weg.
- Wij adviseren u om 4aar te wachten voordat u het apparaat aansluit, dan kan de olie terugvloeien in de compressor.
- Rond het apparaat dient adequate luchtcirculatie te zich, anders kan dit tot oververhitting leiden. Om voldoende ventilatie te verkrijgen de instructies met betrekking tot de installmentatie opvolgen.
- De darüber kuant dient zo möglichk gegen een muur geplaatst te worden, teneinde te voorkomen dat hare onderdelen (compressor, condensator) aangeraakt+kennen worden en brandwonden veroorzaken.
- Het apparaat mag nicht vlakbij radiatoren of kooktoestellen geplaatst worden.
- Verzeker uervaan dat de stekker bereikbaar is nadat het apparaat geinstalleerd is.
- Sluit het apparaat alleen aan op een drinkwaterleiding. 3)
Onderhoud
- Alle elektrotechnische werkzaamheden dieoodzakelijk zijn voor het uitvoeren van onderhoud aan het apparaat, dienen uitgevoerd te worden door een gekwalificeerd elektricien of competent persoon.
- Dit product mag alleen worden onderhouden door een erkend onderhoudscentrum en er dient alleen gebruik te worden gemaakt van originele reserveonderdelen.
Bescherming van het milieu

Dit apparaat bevat geen gassen die de ozonlaag+kunnen beschadigen, Niet in het koelcircuit en evenmin in de isolatiematerialien. Het apparaat mag nicht worden weggegooid bij het normale huishoudelijk afval. Het isolatieschuim bevat ontvlambare gassen: het apparaat要去 weggegooid worden conform de van toepassing+zijnde regels die u bij de lokale overheidsinstanties kunt verkrijgen. Voorkom beschadiging aan de koeleenheid,vooral aan de achechterkant bij de warmtewisselaar. De materialen die gebruikt voor dit apparaat en die voorzien zijn van het symbool 品 zichn recyclebaar.
Bedieningspaneel

1Controllampje
2 Thermostaatknop
3 Lampje Snelvriezen
4 Schakelaar Snelvriezen
Geluidssignaal terugzetschakelaar
5 Alarmlampje
Inschakelen
- Steek de stekker in het stopcontact.
- Zet dethermostaatknop op een gemiddelde stand.
- Als het apparaat wordt ingeschakeld gaat het contrôlelampje branden en krijgt u 2 seconden lang een geluidssignaal te horen.
- Als de temperatuur in het apparaat te hoog is gaat het alarmlampje knipperen en krijgt u een alarmsignaal te horen.
- Als u op de snelvriesschakelaar drukt worden het akoestische alarmsignaaluitgeschakeld.
- Als u nogmaals op de snelvriesschakelaar drukt gaat het lampje Snelvriezen branden. De vriezer worden ingeschakeld.
Uitschakelen
- Om het apparaat uit te schakelen, dient u dethermostaatknop op de stand "O" te zetten en krijgt u 2 seconden lang een geluidssignaal te horen.
- Het contrôlelampje gaatuit.
Temperatuurregeling
De temperatuur in het apparaat worden geregeld door de thermostaatknop, die zich aan de onderkant van het apparaat bevindt.
Ga als volgt te werk om het apparaat in werking te stellen:
- zet de thermostaatknop op een lagere stand om de minimale koude te verkrijgen.
- zet dethermostaatknop op een hogere stand om de maximale koude te verkrijgen.
i
Een gemiddelde instelling is over het algemeen het meest geschikt.
De exacte instelling moetECHTER gekozen worden rekening houdend met het feit dat de temperatuur in het apparaat afhankelijk is van:
- de omgevingstemperatuur
-
hoe vaak de deur geopend worden
-
de hoeveelheid voedsel dat bewaard worden
- deplaats van het apparatus.
Temperatuurindicator
Dethermostaatknop kan worden gebruikt voor de variabileinstelling van de opslagtemperatuur van uw ingevroren voedsel.
De optimale opsgaconditie worden bereikt bij -18^ en kan worden gecontroleerd met de thermometer.

Functie Snelvriezen
U kont de functie Snelvriezen activeren door de snelvriesschakelaar in te drukken.
Het lampje Snelvriezen gaat branden.
Het is möglich om de functie te allenijdte te deactiveren door de snelvriesschakelaar in te drukken.
Het lampje Snelvriezen gaat UIT.
Alarm hoge temperatuur
Als de temperatuur in de vriezer een punt hebelt bereikt waar bij een veilige opslag van de voeding Niet langer kan worden gegarandeerd (bijvoorbeeld door een stroomuitval), gaat het alarmlampje knipperen en krijgt u een alarmsignaal te horen.
- U kurz het alarmsignaal uitschakelen door de snelvriesschakelaar in te drukken.
Het lampje Snelvriezen gaat branden.
Het alarmlampje blijft knipperen totdat de vereiste temperatuur wee is bereikt.
- De snelvriesschakelaar kan worden losgelaten als het alarmlampje Niet meer brand.
Het lampje Snelvriezen gaat UIT.

Als de vriezer de eerste keer wordt ingeschakeld, krijgt u een alarmsignaal te horen totdat de temperatuur is gedaald tot een veilig niveau voor de opslag van uw ingevroren voedsel.
Alarm deur open
Als de deur langer dan 60 seconden heeft open gestaan, klinkt er een geluidsalarm.
Als de normale omstandigheden hersteld zijn (deur gesloten), worden het geluidsalarm uitgeschakeld.
U kurz altijd de resetschakelaar akoestisch alarm indrukken om het akoestisch alarm te deactiveren.
Het eerste gebruik
De binnenkant schoonmaken
Voordat u het apparaat voor de eerste keer gebruikt, wast u de binnenkant en de interne accessoires met lauwwarm water en een beetje neutrale zeep om de typische geur van een新产品 product weg te nemen. Droog daarna grondig af.

Gebruik geen oplosmiddelen of schuurpoeders. Deze beschadigen de lak.
Dagelijks gebruik
Vers voedsel invriezen
Het vriesvak is geschikt voor het invriezen van vers voedsel en voor het voor een lange periode bewaren van ingevroren en diepgevroren voedsel.
Om vers voedsel in te vriezen de functie Snelvriezen, minstens 24 uur voordat u het in te vriezen voedsel in het vriesvak legt, activeren.
Plaats het verse voedsel dat moet worden ingevroren in het onderste compartment.
De maximale hoeveelheid voedsel die in 24 eer ingevroren kan worden is vermeld op het typeplaatje, een etiket dat aan de binnenkant van het apparaat zit.
Het invriesproces duurt 24 uur: voeg gedurende dezeperiode Niet meer in te vriezen voedsel toe.
Het bewaren van ingevroren voedsel
Als u het apparaat voor het eerst of na eenperiode dat het Niet gebruikt is inschakelt, het apparaat minstens 2 uur op een hoge instelling latent werken voordat u er producten in plateaust.

In het geval van onbedoelde ontdooiing, bijvoorbeeld als de stroom langer is uitgevalden dan de duur die op de kaart met technische kenmerken onder "tijdsduur" is vermeld,要去 het ontdooide voedsel snel geconsumeerd worden of onmiddelijk bereid worden en dan waar worden ingevroren (nadat het afgekoeld is).
Invries agenda

De symbolen geben verschillende soorten ingevroren levensmiddelen aan.
De cijfers geben de bewaartijd in maanden aan voor de bijbehorende ingevroren levensmiddelen. Of de hoogste of laagste waarde van de aangegeven bewaartijd van toepassing is, hangt af van de kwaliteit van het voedsel en eventuele bereiding voordat het werde ingevroren.
Ontdooien
Diepgevroren of ingevroren voedsel kunt, voordat het gebruikt worden, in het koelvak of op kamertemperatuur lately ontdooien, afhankelijk van de hoeveelheidijd die hiervoor nodig is.
Kleine stukken können themselvesrechtstreeks vanuit de vriezer gekookt worden als ze nog bevoren zich: in dat geval zal de bereidingients longer duren.
Het makes van ijsblokjes
Dit apparaat is uitgerust met een ofeer bladen voor het maken van ijsblokjes. Vul deze bladen met water en zet ze dan in het vriesvak.

Gebruik geen metalen instrumenten om de laden uit de vriezer te halen.
Koude accumulators
De vriezer is voorzien van een of meer koudeaccumulators; hierdoor blijft het voedsel langer koud als de stroom uittvalt of als er een storing is.
Handige aanwijzingen en tips
Tips voor het invriezen
Om u te helpen om het Beste van het invriesproces te make, volgen hier eenaar belangrijke tips:
- de maximale hoeveelheid voedsel die in 24aar ingevroen kan worden. is vermeld op het typeplaatie;
- het invriesproces duurt 24 uur. Voeg gedurende dezeperiode Nieteer in te vriezen voedsel toe;
- vries alleen vers en grondig schoongemaakte levensmiddelen van uitstekende kwaliteit in:
- bereid het voedsel inkleine porties voor, zo kan het snel en volledig worden ingevroen en zo kunt u later alleen die hoeveelheid lately ontdooien die u nodig hebft;
- wikkel het voedsel in aluminiumfolie of plastic en zorg ervoor dat de pakjes luchtdicht bijn;
- leg vers, nog nicht ingevroren voedsel Niet gegen het al ingevroren voedsel, om te voorkomen dat dit LASTE warm worden;
- smalle pakjes zijn makkelijker op te bergen dan dikke; zout maakt voedsel minder lang houdbaar;
- water bevriest, als dit rechtstreeks uit het vriesvak geconsumeerd worden, kan het aan de huid vastvriezen:
- het is aan te bevelen de invriesdatum op elk pakje te vermelden, dan kunt u zien hoe lang het al bewaard is;
Tips voor het bewaren van ingevroen voedsel
Om de Beste resultaten van dit apparaat te verkrijgen, dient u:
- er zich van te verzekeren dat de commercieel ingevroren levensmiddelen op geschikte wijze door de detailhandelaar werden opgeslagen;
- ervoor te zorgen dat de ingevroren levensmiddelen zo snel möglichk van de winkel maar uw vriezer gebracht worden:
- de deur nicht vaker te openen of open te latent staan dan strikt noodzakelijk.
- Als voedsel eenmaal ontdooid is, bederft het snel en kan het nicht opnieuw worden ingevroyen.
- Bewaar het voedsel Niet languer dan de door de fabrikant aangegeven bewaarperiode.
Onderhoud en reiniging

LET OP!
Voordat u welke onderhoudshandeling dan ook verricht, de stekker uit het stopcontact trekken.

Het koelcircuit van dit apparaat bevat koolwaterstoffen; onderhoud en herladen mag alleenuitgevoerd worden door bevoegde technici.
Periodieke Reiniging
Het apparaat moet regelmatig worden schoongemaakt:
- maak de binnenkant en de accessoires schoon met laww water en wat neutrale zeep.
- controller de affdichtingen regelmatig en wrijf ze schoon om u ervan te verzekeren dat ze schoon zich en vrij van restjes zich.
spoel ze af en maak ze grondig droog.

Trek Niet aan leidingen en/of kabels aan de binnenkant van de kast en verplaats of beschadig ze Niet.
Gebruik nooit schoonmaakmiddelen, schuurpoeders, erg geparfumeerde reinigingsproducten en waspolijstmiddelen om de binnenkant schoon te make, aangezien.Deze het oppervlak beschadigen en een sterke geur acheterlaten.
Maak de condensor (zwart rooster) en de compressor op de blijkant van het apparaat schoon met een borstel of stofzuiger. Deze handeling zal de prestatie van het apparaat verbeteren en het elektriciteitsverbruik besparen.

Veel normala vergrijgbare keulenreiners bevatten chemicalien die de kunststoffen die in dit apparaat gebruikt zich kuren aantasten/beschadigen. Daarom worden het aanbevolen de buitenkant van dit apparaat alleen schoon te make n met warm water met een beetje afwasmiddel.
Steek, na het schoonmaken van het apparaat, de stekker werk in het stopcontact.
De vriezer ontdooien
Een zekere hoeveelheid rijp zal zich alkijd vormen op de schappen van de vriezer en rond het bovenstevak.
Ontdooi de vriezer wanner de rijplaag een dikte van ongeveer 3 - 5mm bereikt heeft.

Zet, ongeveer 12 pau voordat u gaat ontdooien, de thermostaatknop op een hogere stand, om voldoende koudereserve op te bouwen voor de onderbreking tijdens de werkinq.
Volg onderstaande aanwijzingen om de rijp te verwijderen:
- Schakel het apparaat UIT.
- Verwijder al het ingevroren voedsel, wikkel het in een paar lagen krantenpapier en leg het op een koeleplaats.

LET OP!
Raak ingevroren voedsel nicht met natte handen aan. Uw handen können dan aan de producten vastvriezen.
- Laat de deur open staan en steek de kunststof schraper in de waarvoor bedoelde opening in het midden van de bodem, plaats er een opvangbak onder om het dooiwater op te vangen

Om het ontdooiprocesse te versnellen kunt u een bak warm water in het vriesvak zetten. Verwijder bovendien stukken ijs die afbreken voordat het ontdooien voltooid is.
- Na afloop van het ontdooien de binnenkant grondig droog make en de schraper bewaren voor toekomstig gebruik.

-
Schakel het apparaat in.
-
Zet het eerder verwijderde voedsel na twee tot drie uur terug in het vriesvak.

Gebruik nooit scherpe metalen om de rijp van de verdamper te kraben, deutsche zou beschadigd können raken.
Gebruik geen mechanische of kunstmatige middelen om het ontdooiprocesse te versnellen, behave die middelen die door de fabrikant zich aanbevolen.
Een temperatuurstijgingijdens het ontdooien van de ingevroen levensmiddelen, kan de veilige bewaartijd verkorten.
Periode dat het apparaat Niet gebruikt worden
Als het apparaat gedurende langeijd Niet gebruikt worden, neem dan de volgende voorzorgsmaatregelen:
trek de stekker uit het stopcontact
- verwijder al het voedsel,
- ontdooi de koelkast, ^4) en kaak het apparaat en alle accessoires schoon,
- waar de deur/deuren op een kier staan om de vorming van的那一angename luchtjes te voorkomen.
Als uw apparaat aan blijft staan, vraag dan iemand om het zo nu en dan te controleren, om te voorkomen dat het bewaarde voedsel beredft, als de stroom uitvalt.
Problemen oplossen

WAARSCHUWING!
Voordat u storingen opspoort, de stekker uit het stopcontact trekken.
Het opsporen van storingen die Niet in deze handleiding vermeld zich, dient te worden verricht door een gekwalificeerd technicus of competent persoon.

Er zich tijdens de normale werkig geluiden te horen (compressor, koelcircuit).
| Probleem Mogelijk oorzaak Oplossing | |
| Het apparaat werkkt Niet. Het controleampje knip-pert Niet. | Het apparaat is uitgeschakeld. Schakel het apparaat in. |
| De stekker zit Niet goed in hetstopcontact. | Steen de stekker goed in het stop-contact. |
| Het apparaat krijgt geen stroom.Er is geen spanning op het stop-contact. | Sluit een ander elektrisch appa-raat aan op het stopcontact.Neem contact op met een gekwa-lificeerd elektricien. |
| Het controleampje knip-pert. | Het apparaat werkkt Niet goed. Neem contact op met een gekwa-lificeerd elektricien. |
| Het alarmlampje knip-pert. | De temperatuur in de vriezer is te hoog. Zie "Alarm hoge temperatuur" |
| De compressor werktcontinu. | De temperatuur is Niet goed ingesteld. Stelen hogere temperatuur in. |
| De deur is Niet goed gesloten. Zie 'De deur sluiten'. | |
| De deur werden te vaak geopend. Laat de deur nicht longer geopend danoodzakelijk. | |
| De temperatuur van het voedselis te hoog. | Laat het voedsel afkoelen tot ka-mertemperatuur voordat u hetbewaart. |
| De kamertemperatuur is tehoog. | Verlaag de kamertemperatuur. |
| Zie "Fast Freeze -functie is ingeschakeld. | |
| De temperatuur in devriezer is te laag. | De temperatuurregelaar is Niet goed ingesteld. Stelen hogere temperatuur in. |
| De Fast Freeze -functie is ingeschakeld. Zie " Fast Freeze -functie". | |
| De temperatuur in devriezer is te hoog. | De temperatuurregelaar is Niet goed ingesteld. Stelen lagere temperatuur in. |
| De deur is Niet goed gesloten. Zie 'De deur sluten'. | |
| De temperatuur van het voedselis te hoog. | Laat het voedsel afkoelen tot ka-mertemperatuur voordat u hetbewaart. |
| Er worden veel producten tege-lijk bewaard. | Bewaar minder producten tege-lijk. |
| De producten liggen te zich opelkaar. | Bewaar de producten zodanig dat er koude lustc kan circuleren. |
| Er is te veel rijp. | Het voedsel is Niet goed verpakt. Verpak het voedsel op de juiste manier. |
| De deur is Niet goed gesloten. | |
| De temperatuurregelaar is Niet goed ingesteld. | Stel een hogere temperatuur in. |
De deur sluiten
- Maak de afflichtingen van de deur schoon.
- Stel de deur, indien nodig, af. Raadpleeg "Montage".
- Vervang, indien nodig, de defecte deurafdichtingen. Neem contact met de service-afdeling.
Technische gegevens
| Afmetingen van de uitsparing | ||
| Hoopte 600 mm | ||
| Breedte 560 mm | ||
| Diepte 550 mm | ||
| Tijdsduur 26 h |
De technische gegevens staan op het typeplaatje aan de linker binnenkant in het apparaat en op het energielabel.
Montage
Opstelling

WAARSCHUWING!
Als u een oud apparaat weggooit dat voorzien is van een deurslot of vergrendeling, zorg er dan voor dat dit onbruikbaar gemaakt worden, zodat kinderen er Niet in opgesloten+kennen raken.

De stekker van het apparaat要去 installatie toegankelijk zijn.
Installerer dit apparaat op een plaats waar de omgevingstemperatuur overeenkomt met de klimaatklasse die vermeld is op het typeplaatje van het apparaat:
| Klimaatklasse Omgevingstemperatuur | |
| SN +10°C tot + 32°C | |
| N +16°C tot + 32°C | |
| ST | +16°C tot + 38°C |
| T | +16°C tot + 43°C |
Elektrische aansluiting
Zorg er vór het aansluten voor dat het voltage en de freiorentie op het typeplaatje overeenkomen met de stroomtoevoer in uwuis.
Het apparaat要去 geaard zich. De netsnoerstekker is voorzien van een contact voor dit doel. Als het stopcontact Niet geaard is, sluit het apparaat dan aan op een afzonderlijk aardepunt, in overeenstemming met de geldende regels, raadpleeg hiervoor een gekwalificiererd elektricien.
De fabrikant neemt geen verantwoordelijkheid op zich als de bovenstaande veiligheidsmaatregelen Niet worden nageleefd.
Dit apparatus voldoet aan de EU. richtlijnen.
Omkeerbaarheid van de deur
De deur van het apparaat gaat maar rechts open. Als u wilt dat de deur maar links open gaat, ga dan als volgt te werk, voordat u het apparaat installeert:
- Maak de bovenste pen los en verwijder\ deze.
- Verwijder de deur.
- Verwijder het afstandsstuk.

-
Maak de onderste pen los met een sleutel. Op de tegenoverliggende kant:
-
Zet de onderste pen vast.
- Installee het afstandsstuk.
- Monteer de deur.
- Zet de bovenste pen vast.

Ventilatievereisten
De luchtstroom awhile het apparaat moet voldoende zich.

Het apparatus installeren

LET OP!
Zorg ervoor dat het aansluitsnoer vrij kan bewegen.
Ga als volgt te werk:
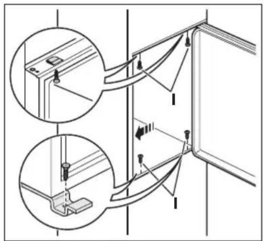
- Bevestig de zichklevende affdicht strip op het apparaat zoals aangegeven op de afbeeling.

- Installee het apparaat in de nis.
Duw het apparaat in de richting van de pijl (1) totdat de afdekking van de opening gegen het keukenmeubel aankomt. Duw het apparaat in de richting van de pijl (2) gegen de kast tegenover het scharnier.

- Stel het apparaat in de nis af.
De afdekking voor het onderste scharnier (in de zak met accessoires) zorgt ervoor dat de afstand tussen het apparaat en het keukenmeubel correct is.
Zorg ervoor dat de afstand tussen het apparaat en de voorste rand van de kast 44mm is.
Zorg ervoor dat er een ruimte van 4 mm tussen het apparaat en de kast is.
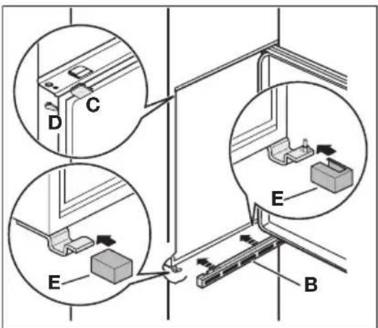
Open de deur. Zet de afdekking van het onderste scharnier op de juiste plek.
- Bevestig het apparaat met 4 schroeven aan de nis.


- Verwijder het juiste onderdeel van de scharnierafdekking (E). Verwijder onderdeel DX bij een scharnier aan de rechterkant of SX bij een scharnier aan de linkerkant.

- Bevestig de afdekkingen (C, D) aan de uitsteeksels en de gaten van de schar-nieren.
Installer het ventilatierooster (B).
Bevestig de scharnierafdekkingen (E) op het scharnier.

- Maak de onderdelen (Ha), (Hb), (Hc) en (Hd) los.

- Monteer onderdeel (Ha) aan de binnen-kant van het keukenmeubel.

- Duw onderdeel (Hc) op onderdeel (Ha).

- Zet de deur van het apparaat en de deur van het keukenmeubel open in een hoek van 90^
Plaats hetkleine vierkantje (Hb) in de geleider (Ha).
Zet de deur van het apparaat en de deur van het keukenmeubel gegen elkaar en markeer de gaten.

- Verwijder de haken en markeer een afstand van 8mm vanaf de buitenrand van de deur waar de nagel moet worden vastgemaakt (K).

- Plaats hetkleine vierkantje op de geleider terug en bevestig het met de bijgeleverde schroeven. Lijn de deur van het keukenmeubel en de deur van het apparaat uit met behulp van onderdeel Hb.

-
Duw onderdeel (Hd) op onderdeel (Hb). Controller goed en verzeker u ervan dat:
-
alle schroeven zijn aangehaald,
- de affdichtingsstrip goed bevestigd is aan de kast.
- de deur goed open en dicht gaat.

Het milieu
Het symbool op het product of op de verpakking wijst erop dat dit product nicht als huishoudafval mag worden behandeld, maar moet worden afgegeven bij een verzamelpunt waar elektrische en elektronische apparatuur wordt gerecycled. Als u ervoor zorgt dat dit product op de juiste manier worden verwijderd, voorkomt u möglichke negatieve gevolgen voor mens en milieu die zich zouden konnen voordoen in geval van verkeerde afvalverwerking. Voor gedetailleerdere informatie over het recyclen van dit product, kurz
u contact opnemen met de gemeente, de gemeentereing of de winkel waar u het product hebt gekocht.
Voor het on-line bestellen van accessoires, consumables en onderdelen gaat u maar de 'webwinkel' op: www.aeg-electrolux.nl
U kan toebehoren, verbruiksprodukten en onderdelen bestellen via unsere webwinkel op: www.aeg-electrolux.be
SimpelGids