Arctis 86050 GI - Gefrierschrank AEG-ELECTROLUX - Kostenlose Bedienungsanleitung
Finden Sie kostenlos die Bedienungsanleitung des Geräts Arctis 86050 GI AEG-ELECTROLUX als PDF.
Häufig gestellte Fragen - Arctis 86050 GI AEG-ELECTROLUX
Laden Sie die Anleitung für Ihr Gefrierschrank kostenlos im PDF-Format! Finden Sie Ihr Handbuch Arctis 86050 GI - AEG-ELECTROLUX und nehmen Sie Ihr elektronisches Gerät wieder in die Hand. Auf dieser Seite sind alle Dokumente veröffentlicht, die für die Verwendung Ihres Geräts notwendig sind. Arctis 86050 GI von der Marke AEG-ELECTROLUX.
BEDIENUNGSANLEITUNG Arctis 86050 GI AEG-ELECTROLUX
Benutzerinformation Gefriergerät
Technische gegevens 13
Montage 13
Opstelling 13
Zorg ervoor dat u het koelsystemeim nicht beschadigt.
Danke, dass Sie sich für eines unserer hochqualitativen Produkte entschieden haben.
Lesen Sie für eine optimale und gleichmäßige Leistung Ihres Gerätes diese Benutzerinformationitte sorgfältig durch. Sie wird Ihnen halten, alle Vorgänge perfect und äußert effizient zu steuern. Damit Sie diese Benutzerinformation bei Bedarf stets zur Hand haben, empfehlen wir Ihnen, sie an einem sicheren Ort aufzubewahren. Und geben Sie diese Benutzerinformationitte an einen eventuellen neuen Besitzer these Gerätes weiter.
Wir wünschen Ihnen viel Freude mit ihrem neuen Gerät.
Inhalt
Sicherheitschinweise
Sicherheitshinweis 58
Allgemeine Sicherheitschinweise 58
Täglicher Gebrauch 59
Reinigung und Pflege 59
Inbetriebnahme 59
Kundendienst 60
Bedienblende
Einschalten des Gerats 61
Ausschalten des Geräts 61
Temperaturregelung 61
Temperaturanzeige 61
Superfrost-Funktion (Schnellgefrierten)
61
Temperaturwarnung (Temperatur zu hoch)
62
Tür-offen-Alarm
62
Erste Inbetriebnahme
Reinigung des Innenraums 62
Täglicher Gebrauch 62
Einfrierten frischer Lebensmittel 62
Lagerung gefroreiner Produkte 63
Gefrierkalend 63
Auftauen 63
Eiswürfelbereitung 63
Kälteakku(s) 63
Hilfreiche Hinweise und Tipps 63
Hinweise zum Einfrieren 63
Hinweise zur Lagerung gefrorener Produkte 60 64
Reinigung und Pflege 64
Regelmäßige Reinigung 64
Abtauen des Gefrierschranks 65
Stillstandzeiten 66
Was tun, wenn ... 66
SchlieBen Sie die Tur 68
Technische Daten 68
Gerät aufstellen 68
Aufstellung62 68
Elektrischer Anschluss 69
Anforderungen an die Belüftung 70
Installation des Geräts 70
Hinweise zum Umweltschutz 74
Änderungen vorbehalten

Sicherheitshinweise
Lesen Sie zu ihrer Sicherheit und für die optimale Geräteanwendung vor der Installation und dem Gebrauch des Gerätes die vorliegende Benutzerinformation aufmerksam durch, einschließlich der Ratschläge und Warnungen. Es ist wichtig, dass zur Vermeidung von Fehlern und Unfälle alle Personen, die das Gerät benutzen, mit der Bedienung und den Sicherheitsvorschriften vertraut sind. HebEN Sie die Benutzerinformation gut auf und übergeben Sie sie bei einem Weiterverkauf des Gerätes dem neuen Besitzer, so dass jeder
während der gesamten Lebensdauer des Gerätes über Gebrauch und Sicherheit informiert ist.
Halten Sie sich zu ihrer Sicherheit und zum Schutz Ihres Eigentums strikt an die Vorsichtsmaßnahmen der vorliegenden Benutzerinformation, da der Hersteller bei Missachtung derselben von jeder Haftung freigestellt ist.
Sicherheitshinweis
- Das Gerätarf von Personen (einschließlich Kindern), deren physische, sensorische Fähigkeiten und deren Mangel an Erfahrung und Kenntnissen einen sicheren Gebrauch des Gerätes ausschreiben nur unter Aufsicht oder nach ausreichender Einweisung durch eine verantwortungsbewusste Person benutzt werden, die sicherstellt, dass sie sich der Gefahren des Gebrauchs bewusst sind.
Kinder mussen beaufsichtigt werden, damit sie nicht am Gerät herumspielen können.
- Halten Sie das Verpackungsmaterial unbedingt von Kindern fern. Erstickungsgefahr!
- Ziehen Sie vor der Entsorgung des Gerätes den Netzstecker, schreiben Sie das Netzkabel (so nah wie möglich am Gerät) ab und entfern den Sie die Tür, so dass spielende Kinder vor elektrischem Schlag geschützt sind und sich nicht in dem Gerät einschließlich konnen.
- Wenn these Gerät mit magnetischer Turdichtung ein ätheres Modell mit Schnappverschluss (Tūrlasche) an der Tur oder auf dem Deckel ersetzt, machen Sie den Schnapp-verschluss vor dem Entsorgen des Altgerätes unbrauchbar. So verhindern Sie, dass das Gerät nicht zu einer Todesfalle für Kinder wird.
Allgemeine Sicherheitshinweise

VORSICHT!
Die Beluftungsöffnungen müssen immer frei von Hindernissen sein.
- Das Gerät ist für die Aufbewährung von Lebensmitteln und/oder Geträken in einem normalen Haushalt bestimmt, wie in den vorliegenden Bedienungsanweisungen beschrieben wird.
- Benutzen Sie keine mechanischen oder sonstigen Hilfsmittel, um den Abtauprozess zu beschleunigen.
- Verwenden Sie keine anderen Elektrogeräte (wie Speiseeisbereiter) in Kuhlgeräten, wenn solche Geräte nicht ausdrücklich vom Hersteller für diesen Zweck zugelassen sind.
- Achten Sie daraufuf, den Kuhlkreislauf nicht zu beschädigen.
- Das Kältemittel Isobutan (R600a) im Kältekreislauf des Gerätes ist ein natürliches und sehr umweltfreundliches Gas, das jederlich leicht entflammbar ist.
Achten Sie beim Transport und bei der Aufstellung des Gerätes daraufuf, nicht die Komponenten des Kältekreislaufs zu beschädigen.
Beinerentuellen Beschädigung des Kältekreislaufs:
-
offene Flammen und Zündfunken vermeiden
-
den Raum, in dem das Gerät installiert ist, gut lüften
-
Änderungen der Spezifikationen und am Gerät sind gefährlich. Ein defektes Netzkabel kann Kurzschlüsse und Feuer verursachen und/oder zu Stromschlagen führen.

WARNING!
Elektrische Bauteile (Netzkabel, Stecker, Kompressor) dürfen nur vom Kundendienst oder einer kompetenten Fachkraft ausgewechselt werden.
- Das Netzkabelarf nichtverlangertwerden.
- Vergewissern Sie sich, dass der Netzstecker nicht von der Geräterückseite gequetscht oder beschädigt wird. Ein gequetschter oder beschädigter Netzstecker überhützt und kann einen Brand verursichen.
- Vergewissern Sie sich, dass der Netzstecker des Gerätes frei zugänglich ist.
- Ziehen Sie nicht am Netzkabel.
- Stecken Sie den Netzstecker nie in eine lockere Steckdose. Es besteht Brand- und Stromschlaggefahr.
-
Betreiben Sie das Gerät nicht ohne Lampenabdeckung, 13) Innenbeleuchtung vorgenommen ist.
-
Dieses Gerät ist schwer. Vorsicht beim Transport.
- Entnehmen oder berühren Sie nie mit nassen/feuchten Händen Tiefkühlgut, da dies zu Hautverletzungen oder Kälteverbrennungen führen kann.
- Das Gerät nicht direkter Sonneneinstrahlung aussetzen.
Täglicher Gebrauch
- Stellen Sie keine weiter Töppe auf die Kunststoffeile des Gerätes.
- Lagern Sie keine feuergefährlichen Gase oder Flüssigkeiten in dem Gerät. Explosionsge-fahr.
- Legen Sie Lebensmittel nicht direkt vor den Luftauslass auf der Rückwand. 14)
- Ein aufgetautes Produkt darf nicht wieder eingefroren werden.
- Abgepackte Tiefkuhlkost immer entsprechend den Herstellerangaben aufbewahren.
- Die Lagerempfehlungen des Geräteherstellers sollen den strikt eingehalten werden. Halten Sie sich an die betreffenden Anweisungen.
- Keine kohlensäurehaltigen Getränke oder Sprudel in den Tiefkühlschrank stellen, da der Druckanstieg in den Behältern zur Explosion führen und das Gerät beschädigen kann.
- Eis am Stiel kann Kälteverbrennungen verursachen, wenn es direkt nach der Entnahme aus dem Gefrierschrank gegessen wird.
Reinigung und Pflege
- Schalten Sie vor Wartungsarbeiten immer das Gerät ab undziehen Sie den Netzstecker aus der Steckdose. Falls Sie nicht an die Steckdose kommt, unterbrechen Sie die Stromversorgung.
- Reinigen Sie das Gerät nicht mit Metallgegenständen.
- Keine scharfen Gegenstände zum Entfernen von Reif und Eis im Gerät verwenden. Verwenden Sie einen Kunststoffschafer.
Inbetriebnahme

Halten Sie sich für den elektrischen Anschluss strikt an die Anweisungen der betreffenden Abschnittte.
-
Kontrollieren Sie nach dem Auspacken das Gerät auf eventuelle Beschädigungen. Nehmen Sie das Gerät nicht in Betrieb, wenn es beschädigt ist. Melden Sie die Schäden umgehend dem Handler, bei dem Sie es erworben haben. Bewahren Sie in dieser Fall die Verpackung auf.
-
Lassen Sie das Gerät mindestens vier Stunden stehen, bevor Sie es elektrisch anschließen, damit das Öl in den Kompressor zurückfließen kann.
- Ausreichenden Freiraum zur Luftzirkulation um das Gerät halten; anderenfalls besteht Überhitzungsgefahr. Halten Sie sich für die Belüftung an die Installationsanweisungen.
- Das Gerät sollte zur Vermeidung von Verbrennungen durch Berührung von bereits Bauteilen (Kompressor, Kondensator) möglichst mit der Rückseite gegen eine Wand aufgestellt werden.
- Das Gerätarf nicht in der Naze von Heizkörpersn oder Kochern installiert werden.
- Vergewissern Sie sich, dass der Netzstecker des Gerätes nach der Installation frei zugänglich ist.
- Verbinden Sie das Gerät ausschließlich mit einer Trinkwasserzuleitung. 15)
Kundendienst
- Sollte die Wartung des Gerätes elektrische Arbeiten verlangen, so durfen diese nur von einem qualifizierten Elektriker oder einem Elektro-Fachmann durchgeführt werden.
- Wenden Sie sich für Reparaturen und Wartung nur an Fachkräfte der autorisierten Kundendienststellen und verlangen Sie stets Original-Ersatzteile.
Umweltschutz

Das Gerät enthalt im Kältekreis oder in dem Isoliermaterial keine ozonschädigenden Gase. Das Gerätarf nicht wie normaler Hausmüll entsorgt werden. Die Isolierung enthalt entzündliche Gase: das Gerät muss gemäß den geltenden Vorschriften entsorgt werden; sie erhalten diese bei ihrer Gemeindeverwaltung. Nicht das Kälteaggregat beschädigen, insbesondere nicht in der Höhe des Wärmetauschers. Die Materialien, die bei der Herstellung dieser Geräts verwendet wurden und mit dem Symbol markiert sind, können recycliert werden.
Bedienblende

1 Kontrollampe
2 Temperaturregler
3 Superfrost-Kontrollampe (Schnellgefrierten)
4 Superfrost-Schalter (Schnellgefrieren) Löschtaste für den Alarmton
5 Alarmleuchte
15) Falls ein Wasseranschluss erforderlich ist
Einschalten des Geräts
- Stecken Sie den Stecker in die Netzsteckdose.
- Drehen Sie den Temperaturregler im Uhrzeigersinn auf eine mittlere Einstellung.
- Die Kontrollampe leuchtet auf und 2 Sekunden lang ertont ein Signalton, um anzuzeigen, dass das Gerät betriebsbereit ist.
- Wenn die Temperatur im Innern des Gerätes zu hoch ist, blinkt der Alarm, und den Signalton ertönt dauerhaft.
- Drücken Sie den Superfrost-Schalter (Schnellgefrierschalter), und der Signalton verstummt.
- Drücken Sie dann den Schnellgefrierschalter erneut, und die Superfrost-Kontrollampe leuchtet auf. Das Gefriergerät beginnt zu arbeiten.
Ausschalten des Geräts
- Drehen Sie den Temperaturregler zum Ausschalten des Geräts in die Position "0"; es ertont etwa 2 Sekunden lang ein Signalton.
- Die Kontrollampe schaltet sich aus.
Temperaturregelung
Die Temperatur im Gerät wird vom Temperaturregler geregelt, der sich unter am Gefrier-gerät befindet.
Bedienen Sie das Gerät wie folgt:
- Drehen Sie den Temperaturregler auf eine niedrigere Einstellung, um die minimal mögliche Kuhlung zu erreichen.
- Drehen Sie den Temperaturregler auf eine höhere Einstellung, um die maximal mögliche Kühlung zu erreichen.

Eine mittlere Einstellung ist im Allgemeinen am besten geeignet.
Allerdings must für eine exakte Einstellung berücksichtigt werden, dass die Temperatur im Innern des Gerätes von verschiedenen Faktoren abhängt:
- von der Raumtemperatur
- von der Häufigkeit der Türoeffnung
- von der Menge der eingelagerten Lebensmittel
- und vom Standort des Geräts.
Temperaturanzeige
Der Temperaturregler dient der variablen Einstellung der Lagertemperatur Ihres Gefrierguts.
Die optimale Lagertemperatur liegt bei -18^ und kann mit dem Thermometer überprüft werden.

Superfrost-Funktion (Schnellgefrierten)
Durch Drücken des Superfrost-Schnellgefrierschalters können Sie die Superfrost-Schnellgefrierfungtion aktivieren.
Die Superfrost-Kontrollampe leuchtet auf.
These Funktion kann jederzeit durch Drücken des Superfrost-Schnellgefrierschalters ausgeschalten werden.
Die Superfrost-Kontrollampe erlischt.
Temperaturwarnung (Temperatur zu hoch)
Wenn die Temperatur im Gefriergerät so welt ansteigt, dass die sichere Lagerung des Gefrierguts nicht mehr gewährleistet ist (zum Beispiel durch einen Stromausfall), dann blinkt die Warnleuchte und ein Alarmton ist zu horen.
- Der Alarmton kann durch Drücken des Superfrost-Schnellgefrierschalters ausgeschlossen werden.
Die Superfrost-Kontrollampe leuchtet auf.
Die Warnleuchte blinkt, bis die erforderliche Temperatur wieder erreicht ist.
- Sobald die Warnleuchte erlischt, kann der Superfrost-Schnellgefrierschalter losgelassen werden.
Die Superfrost-Kontrollampe erlischt.

Beim ersten Einschalten des Gefriergeräts blinkt die Warnleuchte, bis eine sichere Temperatur für die Lagerung des Gefrierguts erreicht ist.
Tur-offen-Alarm
Es ertont ein Signalton, wenn die Turlänger als 60 Sekunden offen steht.
Sobald der Normalbetrieb wiederhergestellt (und die Tur geschlossen) ist, verstummt der Signalton.
Drucken Sie in jedem Fall die Löschtaste für den Alarmton, um diesen auszuschalten.
Erste Inbetriebnahme
Reinigung des Innenraums
Bevor Sie das Gerät in Betriebnehmen, beseitigen Sie den typischen "Neugeruch" am besten durch Auswaschen der Innenteile mit lauwarmem Wasser und einem neutralen Reinigungsmittel. Sorgfähig nachtrocknen.

Verwenden Sie keine Reinigungsmittel oder Scheuerpulver, da hierdurch die Oberfläche beschädigt wird.
Täglicher Gebrauch
Einfrierten frischer Lebensmittel
Der Gefrierraum eignet sich zum Einfrieren von frischen Lebensmitteln und zum Lager von gefrorenen und tiefgefrorenen Lebensmitteln für einen längeren Zeitraum.
Um frische Lebensmittel einzufrieren, aktivieren Sieitte die Superfrost-Funktion (Schnell- gefrieren) mindestens 24 Stunden, bevor Sie die einzufrierenden Lebensmittel in das Gefrierfach hinein legen.
Legend Sie die frischen Lebensmittel, die eingefroren werden sollen, in das obere Fach.
Die maximale Menge an Lebensmitteln, die in 24 Stunden eingefroren werden kann, ist auf dem Typenschild angegeben; eine Plakette befindet sich im Innern des Geräts.
Der Gefriervorgang dauert 24 Stunden. Legen Sie während these Zeitraums keine weiteren einzufrierenden Lebensmittel in den Gefrierraum.
Lagerung gefrorener Produkte
Lassen Sie das Gerät vor der ersten Inbetriebnahme oder nach einer Zeit, in der das Gerät nicht benutzt wurde, mindestens zwei Stunden lang auf den hohenen Einstellungen laufen, bevor Sie Lebensmittel in das Gefrierfach hinein legen.

Kam es zum Beispiel durch einen Stromausfall, der länger dauerte als der in der Tabelle mit den technischen Daten angegebene Wert (siehe "Ausfalldauer") zu einem ungewonnen Abtauen, dann müssen die aufgetauten Lebensmittel sehr rasch verbraucht oder.sofort gekocht und (nach dem Abkühlen) erneut eingefroren werden.
Gefrierkalender

Die Symbole zeigen verschiedene Arten gefrorener Lebensmittel an.
Die Zahlen geben die Lagerzeiten in Monaten für die entsprechenden Arten gefrorener Lebensmittel an. Es hängt von der Qualität der Lebensmittel und ihrer Behandlung vor dem Einfrieren ab, ob der obere oder der untere Wert für die angezeigte Lagerzeit gilt.
Auftauen
Tiefgefrorene oder gefrorene Lebensmittel konnen vor der Verwendung je nach der zur Verfugung stehenden Zeit im Kühlschrank oder bei Raumtemperatur aufgetaut werden. Kleinere Gefriergutteile konnen unter Umständen)sogar direkt aus dem Gefrierschrank entnommen und anschlieBend sofort gekocht oder gegart werden: in thisem Fall tauert der Garvorgang allerdings etwas länger.
Eiswürfelbereitung
Dieses Gerät ist mit einer oder mehreren Schalen für die Herstellung von Eiswürfeln ausgestattet. Füllen Sie die Schalen mit Wasser und stellen Sie diese in das Gefrierfach.

Bitte verwenden Sie zum Herausholen der Schalen aus dem Gefrierschrank keine Utensilien aus Metall.
Kälteakku(s)
Der Gefrierschrank wird mit einem oder mehreren Kälteakku(s) gefelfert. Diese verlangern die Zeitdauer, in der die Lebensmittel bei einem Stromausfall oder einem Ausfall des Gerätes gekühlt werden.
Hilfreiche Hinweise und Tipps
Hinweise zum Einfrieren
Im Folgenden finden Sie eine wertvolle Tipps für einen optimalen Gefriervorgang:
- die maximale Menge an Lebensmitteln, die innerhalb von 24 Stunden eingefroren werden kann. ist auf dem Typschild angegeben;
- der Gefriervorgang dauert 24 Stunden. Legen Sie während these Zeitraums keine weiteren einzufrierenden Lebensmittel in das Gefrierfach;
- frieren Sie ausschließlich frische und gründlich gewaschene Lebensmittel von sehr larger Qualität ein;
- teilen Sie die Lebensmittel in keinere Portionen ein, damit diese schnell und vollständig gefrierten und Sie später nur die Menge auftauen müssen, die Sie gerade benötigen;
- die einzufrierenden Lebensmittelportionen sollen stets luftdicht in Aluminiumfolie oder in lebensmittelechte Gefrierbeutel verpackt werden, um so weniger Luft wie möglich in der Verpackung zu haben;
- achten Sie beim Hineinlagen von frischen, noch ungeborenen Lebensmitteln daraufuf, dass diese keinen Kontakt mit Gefriergut besteht, da diese sonst antauen kann;
- weniger fetthaltige Lebensmittelleen sich better lagern als fetthaltigere; Salz verkürzt die Lagerzeit von Lebensmitteln im Gefrierfach;
- werden Gefrierwurfel direkt nach der Entnahme aus dem Gefrierfach verwendet, können Sie zu Frostbrand auf der Haut führen;
- Es empfeht sich, das Einfrierdatum auf jeder einzelnen Packung zu notieren, um einen genauen Überblick über die Lagerzeit zu haben.
Hinweise zur Lagerung gefrorener Produkte
So erzielen Sie die besten Ergebnisse mit Ihrem Gerät:
- prufen Sie sorgfältig, dass die im Handel erworbenen gefrorenen Lebensmittel sichgerecht gelagert wurden;
- achten Sie unbedingt darauf, die eingekauften gefrorenen Lebensmittel in der kürzest möglich den Zeit in ihren Gefrierschrank zu bringen;
- öffnen Sie die Tur nicht zu halten, und让他们 sie diese nicht länger offen als unbedingte notwendig.
- Abgetaute Lebensmittel verderben sehr Schnell und eignen sich nicht für ein erneutes Einfrieren.
- Das Haltbarkeitsdatum auf der Tiefkuhlkestverpackung sollte nicht übersritten werden.
Reinigung und Pflege

VORSICHT!
Ziehen Sieittevor jeder ReinigungsrarbeitimmerdenNetzsteckerausder Steckdose.

Der Kältekreis des Gerätes enthalt Kohlenwasserstoffe; Wartungsarbeiten und Nachfüllen von Kältemittel dürfen dazu durch vom Hersteller autorisiertes Fachpersonal ausgeführten werden.
Regelmäßige Reinigung
Der gesamte Kuhlschrank muss regelmäßig gereinigt werden:
-
Reinigen Sie die Innenseiten und die Zubehörteile mit lauwarmem Wasser und etwas Neutraleife.
-
Prüfen und saubern Sie die Turdichtungen in regelmäßigen Abständen und kontrollierten Sie, dass diese sauber und frei von Verunreinigungen sind.
- Spülen und trocknen Sie diese sorgfältig ab.

Ziehen Sie nicht an Leitungen und/oder Kabeln im Innern des Kühlschranks und achten Sie darauf, diese nicht zu verschieben oder zu beschädigen.
Benutzen Sie zur Reinigung des Innenraums keinesfalls Putzmittel, Scheuerpulver, stark paraphymierte Reinigungsmittel oder Wachspolituren, da diese die Oberfläche des Innenraums beschädigen und einen starken Eigengeruch hinterlassen konnen.
Reinigen Sie den Kondensator (schwarzes Gitter) und den Motorkompressor auf der Gerä-terückseite mit einer Bürste oder einem Staubsauger. Dadurch verbessert sich die Leistung des Geräts und es verbraucht weniger Strom.

Bitte achten Sie darauf, das Kühlsystem nicht zu beschädigen.
Viele Haushaltsreiniger für Kuchen enthalten Chemikalien, die den im Gerät verwendeten Kunststoff angreifen konnen. Aus thisem Grund ist es empfehlenswert, das Gerät auBen nur mit warmem Wasser und etwas flüssigem Tellerspulmittel zu reinigen.
SchlieBen Sie das Gerät nach der Reinigung wieder an die Netzversorgung an.
Abtauen des Gefrierschranks
Auf den Ablagen des Gefrierschranks und im Innern des oberen Fachs wird sich stets etwas Reif bilden.
Tauen Sie den Gefrierschrank ab, wenn die Reifschicht eine Stärke von etwa 3 bis 5 mm erreicht hat.

Stellen Sie den Temperaturregleritte 12 Stunden vor dem Abtauen auf eine kuhlere Einstellung, damit eine ausreichende Kare als Reserve fur die Unterbrechung im Betrieb entstehen kann.
Entfernen Sie den Reif wie nachstehend erlautert:
- Schalten Sie das Gerät aus.
- Nehmen Sie das gesamte Gefriergut hereus, verpacken Sie es in mehrere Schichten Zeitungspapier und lagern Sie es an einem kühlen Ort.

VORSICHT!
Fassen Sie eingefrorene Lebensmittel nicht mit nassen Händen an. Ihr hände konnten an den Lebensmitteln festfrieren.

- Lassen Sie die Tür des Geräts offen stehen und setzen Sie den Kunststoffschaber in den entsprechenden Sitz unter in der Mitte; stellen Sie eine Schale zum Auffangen des Tauwassers darunter
Stellen Sie eine Schale mit freiem Wasser in das Gefrierfach, um den Abtauprozess zu beschleunigen. Entfernen Sie vorsichtig Eisstück von den Wänden, bevor alles abgetaut ist.
- Ist alles vollständig abgetaut, trocken Sie die nassen Oberflächen gründlich ab und bewahren Sie den Schaber für eine spätere Verwendung auf.

-
Schalten Sie das Gerät ein.
-
Nachdem das Gerät zwei bis drei Stunden in Betrieb ist, können Sie die ausgelagerten Lebensmittel wieder in den Gefrierschrank hinein legen.

Verwenden Sieitte niemals scharfe Gegenstände zum Entfernen von Reif und Eis vom Verdampfer, da dieser dadurch beschadigt werden konnte.
Benutzen Sie keine mechanischen oder sonstigen Hilfsmittel, um den Abtauprozess zu beschleunigen; halten Sie sich dazu ausschließlich an die Angaben des Geräteherstellers.
Ein Temperaturanstieg des Gefrierguts während des Abtauens des Gerätes kann die Lagerzeit dieser Lebensmittel verstürzen.
Stillstandzeiten
Bei längerem Stillstand des Gerätes müssen Sie folgendermaBen vorgehen:
- trennen Sie das Gerät von der Netzversorgung
entnehmen Sie alle Lebensmittel - tauen Sie das Gerät ab, ^ 16 Reinigen Sie das Gerät und alle Zubehörteile
- setzen Sie die Türen offen/angeleht, um das Entstehen unangenehmer Gerüche zu vermeiden.
Möchten Sie bei einer längeren Abwesenheit den Gefrierschrank weiter laufen setzen, bitten Sie{jemanden, gelegentlich die Temperatur zu prufen, damit das Gefriergut bei einem möglichen Stromausfall nicht im Innern des Gerätes verdirbt.
Was tun, wenn ...

WARNING!
Ziehen Sie vor der Fehlersuche immer den Netzstecker aus der Steckdose.
Die Fehlersuche, die in der vorliegenden Benutzerinformation nicht beschrieben ist, damit nur von einem qualifizierten Elektriker oder einer kompetenten Person durchgeführt werden.

Während das Gerät in Betrieb ist, entstehen bestimmte Gerausche (Kompressor und Kühreislauf).
16) falls dies vorgesehen ist.
| Problem möglich | Ursache Abhilfe | |
| Das Gerät faktioniert nicht. Die Kontrollampe blinkt nicht. | Das Gerät ist abgeschaltet. Schalten Sie das Gerät ein. | |
| Der Netzstecker steckt nicht richtig in der Steckdose. | Strom. Es liegt keine Spannung an der Netzsteckdose an. | Testen Sieitte, ob ein anderes Gerät an dieser Steckdose funkti- oniert. Kontaktieren Sie gegebenenfalls einen qualifizierten Elektriker. |
| Das Gerät bereits keinene | Das Gerät arbeitet nicht korrekt. Kontaktieren Sie gegebenenfalls einen qualifizierten Elektriker. | |
| Die Kontrollampe blinkt. | Die Temperatur im Gefrierraum ist zu hoch. | Siehe hierzu den Abschnitt „Tem- peraturwannung (Temperatur zu hoch)" |
| Die Alarmleuche blinking. | ||
| Der Kompressor arbeitet ständig. | Die Temperatur ist nicht richtig eingestellt. | Stellen Sie eine höhere Tempera- tur ein. |
| Die Tür ist nicht richtig geschlos- sen. | Siehe hierzu „Schließen der Tür". | |
| Die Tür wurde zu halten geöff- net. | Lassen Sie die Tür nicht länger als unbedingt erforderlich offen. | |
| Die Temperatur der einzufrier- enden Lebensmittel ist zu hoch. | Lassen Sie Lebensmittel auf Raumtemperatur abkühlen, bevor Sie in das Gerät stellen. | |
| Die Raumtemperatur ist zu hoch. | Senken Sie die Raumtemperatur. | |
| Die Funktion Fast Freeze ist ein- geschaltet. | Beachten Sie die „Funktion Fast Freeze". | |
| Die Temperatur im Ge- frierraum ist zu niedrig. | Die Temperatur ist nicht richtig eingestellt. | Stellen Sie eine höhere Tempera- tur ein. |
| Die Funktion Fast Freeze ist ein- geschaltet. | Beachten Sie die „Funktion Fast Freeze". | |
| Die Temperatur im Ge- frierraum ist zu hoch. | Die Temperatur ist nicht richtig eingestellt. | Stellen Sie eine niedrigere Tem- peratur ein. |
| Die Tür ist nicht richtig geschlos- sen. | Siehe hierzu „Schließen der Tür". | |
| Die Temperatur der einzufrier- enden Lebensmittel ist zu hoch. | Lassen Sie Lebensmittel auf Raumtemperatur abkühlen, bevor Sie in das Gerät stellen. | |
| Es wurden zu weitere Lebensmittel auf einem eingelegt. | Legen Sie weniger Lebensmittel auf einem ein. | |
| Problem Mögliche | Ursache Abhilfe | |
| Die einzufrierenden Packungen | liegen zu dicht aneinander. | Sorgen Sie davon, dass die Kaltluft im Gerät zirkulieren kann. |
| Es bildet sich zu viel Reif oder Eis. | Die Lebensmittel sind nicht rich-tig verpackt. | Verpacken Sie die Lebensmittel richtig. |
| Die Tür ist nicht richtig geschlos- sen. | Los- sen. | Siehe hierzu „Schließen der Tür". |
| Die Temperatur ist nicht richtig eingestellt. | eingestellt. | Stellen Sie eine höhere Tempera- tur ein. |
SchlieBen Sie die Tur
- Reinigen Sie die Turdichtungen.
- Stellen Sie die Tur nach Bedarf ein. Siehe hierzu "Gerät aufstellen".
- Ersetzen Sie die defekten Turdichtungen, falls erforderlich. Kontaktieren Sie den Kundendienst.
Technische Daten
| Abmessung der Aussparung | ||
| Höhe 600 mm | ||
| Breite 560 mm | ||
| Tiefe 550 mm | ||
| Ausfalldauer 26 h |
Die technischen Informationen befinden sich auf dem Typenschild innen links im Gerät sowie auf der Energieplakette.
Gerät aufstellen
Aufstellung

WARNING!
Wenn Sie ein altes Gerät entsorgen möchten, das ein Schloss oder einen Riegel an der Tür besitzt, müssen Sie das Schloss bzw. den Riegel zunachst unbrauchbar machen, um zuverhindern, dass sich spielende Kinder darin einschließlich konnen.

Die Steckdose für den Anschluss des Geräts muss nach der Installation zugänglich sein.
Installieren Sie diesen Gerät an einem Ort, an dem die Umgebungstemperatur mit der Klimaklasse übereinstimmt, die auf dem Typschild des Geräts angegeben ist:
| Klimaklasse Umgebungstemperatur | |
| SN +10°C bis + 32°C | |
| N +16°C bis + 32°C | |
| ST +16°C bis + 38°C | |
| T +16°C bis + 43°C | |
Elektrischer Anschluss
Kontrollieren Sie vor der ersten Benutzung des Gerätes, ob die Netzspannung und -frequenz Ihres Hausanschlusses mit den auf dem Typenschild angegebenen Anschlusswerten über-einstimmen.
Das Gerät muss geerdet sein. Zu diesen Zweck ist die Netzkabelsteckdose mit einem Schutzkontakt ausgestattet. Falls die Steckdose Ihr's Hausanschlusses nicht geerdet sein sollte, halten Sie das Gerätitte gemäß den geltenden Vorschriften erden und Fragen Sie darauf einen qualifizierten Elektriker.
Der Hersteller übernimmt keinerlei Haftung für Schäden oder Verletzungen, die durch Missachtung der oben genannten Sicherheitshinweise entstehen.
Das Gerät entspricht den EU- Richtlinien.
Wechsel des Turanschlags
Die Tur des Geräts Goes nach rechts auf. Wenn Sie möchten, dass die Tur nach links aufgeht, befolgen Sieitte diese Schritte,behor Sie das Gerät einbauen:
- Losen und entfernen Sie den oberen Bolzen.
- Entfernen Sie dieTür.
- Nehmen Sie das Distanstück ab.

- Losen Sie den unteren Bolzen mit einem Schlüssel.
Auf der gegenüberliegenden Seite:
- Ziehen Sie den unteren Bolzen fest.
- Setzen Sie das Distanzstück ein.
- Installieren Sie dieTür.
- Ziehen Sie den oberen Bolzen fest.

Anforderungen an die Belüftung
Die Luftzirkulation hinter dem Gerät muss ausreichend groß sein.

Installation des Geräts

VORSICHT!
Vergewissern Sie sich, dass sich das Netzkabel des Gerätes frei bewegen kann.
Gehen Sie wie folgt vor:
- Bringen Sie den Dichtungsstreifen wie in der Abbildung gezeigt am Gerät an.

- Installieren Sie das Gerät in der Einbau-nische.
Schieben Sie das Gerät in Pfeilrichtung (1), bis der obere Anschlag am Kuchenmöbel anliegt.
Schieben Sie das Gerät auf der den Scharnieren gegenüberliegenden Seite in Pfeilrichtung (2) soweit wie möglich gegen die Seitenwand des Kuchenmöbels.

- Richten Sie das Gerät in der Nische aus.
Mit der unteren Scharnierabdeckung (im Beipack) konnen Sie sicherstellen, dass der Abstand zwischen Gerät und Kuchenmöbel passt.
Vergewissern Sie sich, dass der Abstand zwischen dem Gerät und der Schrankvorderkante 44 mm beträgt.
Vergewissern Sie sich, dass der Abstand zwischen dem Gerät und dem Schrank 4 mm beträgt.
Öffnen Sie die Tur. Stecken Sie die unter Scharnierabdeckung auf.
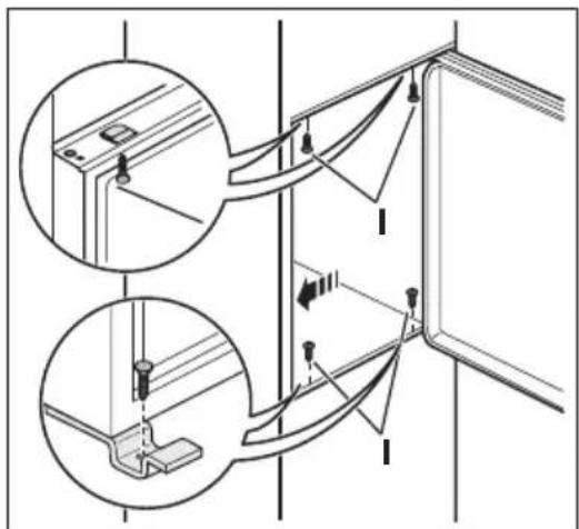
- Befestigen Sie das Gerät mit 4 Schrauben in der Nische.


- Entfernen Sie das korrekte Teil von der Scharnierabdeckung (E). Vergessen Sie nicht, Teil DX - im Fall des rechten Scharniers ist es Teil SX - im entgegengesetzten Fall abzunehmen.

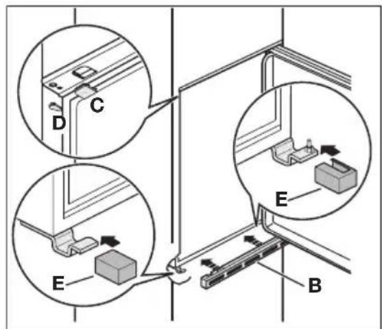
- Montieren Sie die Abdeckungen (C, D) in den Öffnungen der oberen Anschlagleiste. Bauen Sie das Entlüftungsgitter (B) ein. Bringen Sie die Scharnierabdeckungen (E) am Scharnier an.

- Losen Sie die Teile (Ha), (Hb), (Hc) und (Hd).

- Montieren Sie Teil (Ha) an der Innenseite der Tur des Kuchenmöbels.

- Drucken Sie Teil (Hc) auf Teil (Ha).

- Öffnen Sie die Geräte tür und die Tür des Kuchenmobels in einem Winkel von 90^ . Setzen Sie das Führungsstück (Hb) in die Führungsschiene (Ha) ein. Bringen Sie die Geräte tür und die Kuchenmobeltür zusammen und markieren Sie die Bohrungen.

- Nehmen Sie das Führungsstück (Hb) ab. Schlagen Sie 8mm von der Außenkante mit dem Nagel (K) und einem Hammer je ein kleines Loch in das Turblech.

- Setzen Sie das Führungsstück erneut auf die Führungsschiene und schrauben Sie es mit den mitgelieferten Schrauben fest. Richten Sie die Kuchenmobeltür und die Gerätetür mittels Führungsstück (Hb) aus.

-
Drücken Sie Abdeckung (Hd) auf Führungsstück (Hb). Prufen Sie alles erneut, um sicherzustellen, dass:
-
Alle Schrauben fest angezogen sind.
- Der Dichtungsstreifen fest am Gerät befestigt ist.
Die Tur korrekt offen und schlieBt.

Hinweise zum Umweltschutz
Das Symbol auf dem Produkt oder seiner Verpackung weist daraufhin, dass diese Produkte nicht als normaler Haushaltsabfall zu behandeln ist, sondern an einem Sammelpunkt für das Recycling von elektrischen und elektronischen Geräten abgegeben werden muss. Durch ihren Beitrag zum korrekten Entsorgen thesese Produkte schützen Sie die Umwelt und die Gesundheit ihrer Mitmenschen. Umwelt und Gesundheit werden durch falsches Entsorgen gefährdet. Weitere Informationen über das Recycling thesese Produkte
erhalten Sie von Ihr dem Rathaus, Ihrer Müllabfuhr oder dem Geschäft, in dem Sie das Produkt gekauft haben.
Benötigen Sie Zubehör, Verbrauchsmaterial und Ersatzteile? Dann besuchen Sieitte unseren Onlineshop unter:
EinfachAnleitung