Arctis 86050 GI - Freezer AEG-ELECTROLUX - Free user manual and instructions
Find the device manual for free Arctis 86050 GI AEG-ELECTROLUX in PDF.
Frequently Asked Questions - Arctis 86050 GI AEG-ELECTROLUX
Questions des utilisateurs sur Arctis 86050 GI AEG-ELECTROLUX
0 question sur cet appareil. Repondez a celles que vous connaissez ou posez la votre.
Poser une nouvelle question sur cet appareil
Download the instructions for your Freezer in PDF format for free! Find your manual Arctis 86050 GI - AEG-ELECTROLUX and take your electronic device back in hand. On this page are published all the documents necessary for the use of your device. Arctis 86050 GI by AEG-ELECTROLUX.
USER MANUAL Arctis 86050 GI AEG-ELECTROLUX
Koude accumulators 9
Thank you for choosing one of our high-quality products.
To ensure optimal and regular performance of your appliance please read this instruction manual carefully. It will enable you to navigate all processes perfectly and most efficiently. To refer to this manual any time you need to, we recommend you to keep it in a safe place. And please pass it to any future owner of the appliance.
We wish you much joy with your new appliance.
Contents
Safety information
Children and vulnerable people safety 22
General safety 22
Daily Use 23
Care and cleaning 23
Installation 23
Service 23
Control panel
Switching on 24
Switching off 24
Temperature regulation 24
Temperature indicator 25
Fast Freeze function 25
Excessive temperature alarm 25
Door open alarm 25
First use 26
Cleaning the interior 26
Daily use 26
Freezing fresh food 26
Storage of frozen food 26
Freezing Caler 26
Thawing 26
Ice-cube production 27
Cold accumulators 27
Helpful Hints and Tips 27
Hints for freezing 27
Hints for storage of frozen food 27
Care and cleaning 27
Periodic cleaning 24 28
Defrosting the freezer 28
Periods of non-operation 29
What to do if... 29
Closing the door 31
Technical data 31
Installation 31
Positioning 31
Electrical connection 31
Ventilation requirements 32
Installing the appliance 33
Environmental concerns 37
Subject to change without notice

Safety information
In the interest of your safety and to ensure the correct use, before installing and first using the appliance, read this user manual carefully, including its hints and warnings. To avoid unnecessary mistakes and accidents, it is important to ensure that all people using the appliance are thoroughly familiar with its operation and safety features. Save these instructions and make sure that they remain with the appliance if it is moved or sold, so that everyone using it through its life will be properly informed on appliance use and safety. For the safety of life and property keep the precautions of these user's instructions as the manufacturer is not responsible for damages caused by omission.
Children and vulnerable people safety
- This appliance is not intended for use by persons (including children) with reduced physical, sensory or mental capabilities, or lack of experience and knowledge, unless they have been given supervision or instruction concerning use of the appliance by a person responsible for their safety.
Children should be supervised to ensure that they do not play with the appliance.
- Keep all packaging well away from children. There is risk of suffocation.
- If you are discarding the appliance pull the plug out of the socket, cut the connection cable (as close to the appliance as you can) and remove the door to prevent playing children to suffer electric shock or to close themselves into it.
- If this appliance featuring magnetic door seals is to replace an older appliance having a spring lock (latch) on the door or lid, be sure to make that spring lock unusable before you discard the old appliance. This will prevent it from becoming a death trap for a child.
General safety

CAUTION!
Keep ventilation openings clear of obstruction.
- The appliance is intended for keeping foodstuff and/or beverages in a normal household as explained in this instruction booklet.
- Do not use a mechanical device or any artificial means to speed up the thawing process.
- Do not use other electrical appliances (such as ice cream makers) inside of refrigerating appliances, unless they are approved for this purpose by the manufacturer.
- Do not damage the refrigerant circuit.
- The refrigerant isobutane (R600a) is contained within the refrigerant circuit of the appliance, a natural gas with a high level of environmental compatibility, which is nevertheless flammable.
During transportation and installation of the appliance, be certain that none of the components of the refrigerant circuit become damaged.
If the refrigerant circuit should become damaged:
- avoid open flames and sources of ignition
-
thoroughly ventilate the room in which the appliance is situated
-
It is dangerous to alter the specifications or modify this product in any way. Any damage to the cord may cause a short-circuit, fire and/or electric shock.

WARNING!
Any electrical component (power cord, plug, compressor) must be replaced by a certified service agent or qualified service personnel.
- Power cord must not be lengthened.
- Make sure that the power plug is not squashed or damaged by the back of the appliance. A squashed or damaged power plug may overheat and cause a fire.
- Make sure that you can come to the mains plug of the appliance.
- Do not pull the mains cable.
- If the power plug socket is loose, do not insert the power plug. There is a risk of electric shock or fire.
-
You must not operate the appliance without the lamp cover5) of interior lighting.
-
This appliance is heavy. Care should be taken when moving it.
- Do not remove nor touch items from the freezer compartment if your hands are damp/wet, as this could cause skin abrasions or frost/freezer burns.
- Avoid prolonged exposure of the appliance to direct sunlight.
Daily Use
- Do not put hot pot on the plastic parts in the appliance.
- Do not store flammable gas and liquid in the appliance, because they may explode.
- Do not place food products directly against the air outlet on the rear wall. 6)
- Frozen food must not be re-frozen once it has been thawed out.
- Store pre-packed frozen food in accordance with the frozen food manufacturer's instructions.
- Appliance's manufacturers storage recommendations should be strictly adhered to. Refer to relevant instructions.
- Do not place carbonated or fizzy drinks in the freezer compartment as it creates pressure on the container, which may cause it to explode, resulting in damage to the appliance.
- Ice lollies can cause frost burns if consumed straight from the appliance.
Care and cleaning
- Before maintenance, switch off the appliance and disconnect the mains plug from the mains socket.
- Do not clean the appliance with metal objects.
- Do not use sharp objects to remove frost from the appliance. Use a plastic scraper.
Installation

For electrical connection carefully follow the instructions given in specific paragraphs.
- Unpack the appliance and check if there are damages on it. Do not connect the appliance if it is damaged. Report possible damages immediately to the place you bought it. In that case retain packing.
- It is advisable to wait at least four hours before connecting the appliance to allow the oil to flow back in the compressor.
- Adequate air circulation should be around the appliance, lacking this leads to overheating. To achieve sufficient ventilation follow the instructions relevant to installation.
- Wherever possible the back of the product should be against a wall to avoid touching or catching warm parts (compressor, condenser) to prevent possible burn.
- The appliance must not be located close to radiators or cookers.
- Make sure that the mains plug is accessible after the installation of the appliance.
- Connect to potable water supply only.7)
Service
- Any electrical work required to do the servicing of the appliance should be carried out by a qualified electrician or competent person.
- This product must be serviced by an authorized Service Centre, and only genuine spare parts must be used.
5) If the lamp cover is foreseen
6) If the appliance is Frost Free
7) If a water connection is foreseen
Environment Protection

This appliance does not contain gasses which could damage the ozone layer, in either its refrigerant circuit or insulation materials. The appliance shall not be discarded together with the urban refuse and rubbish. The insulation foam contains flammable gases: the appliance shall be disposed according to the applicable regulations to obtain from your local authorities. Avoid damaging the cooling unit, especially at the rear near the heat exchanger. The materials used on this appliance marked by the symbol 品 are recyclable.
Control panel

1 Pilot light
2 Temperature regulator
3 Fast Freeze light
4 Fast Freeze switch
Acoustic alarm reset switch
5 Alarm light
Switching on
- Insert the plug into the wall socket.
- Turn the Temperature regulator clockwise to a medium setting.
- The Pilot light will light up and a sound is on only for 2 sec. indicating that the appliance is powered.
- The Alarm light will blink and the sound signal alarm will get on, indicating that the temperature inside the appliance is too high.
- Push the Fast Freeze switch and the sound signal alarm will get off.
- Push the Fast Freeze switch once again and the Fast Freeze light will light up. The freezer will start to operate.
Switching off
- To turn off the appliance, turn the Temperature regulator to the "0" position and a sound is on only for 2 sec.
- The pilot light will switch off.
Temperature regulation
The temperature within the appliance is controlled by the Temperature regulator situated at the bottom of the cabinet.
To operate the appliance, proceed as follows:
- turn the Temperature regulator toward lower settings to obtain the minimum coldness.
- turn the Temperature regulator toward higher settings to obtain the maximum coldness.

A medium setting is generally the most suitable.
However, the exact setting should be chosen keeping in mind that the temperature inside the appliance depends on:
- room temperature
- how often the door is opened
- the quantity of food stored
- the location of the appliance.
Temperature indicator
The Temperature regulator can be used for the variable setting of the storage temperature for your frozen food.
The optimum storage conditions occur at -18^ and can be checked at the thermometer.

Fast Freeze function
You can activate the Fast Freeze function by pressing the Fast Freeze switch.
The Fast Freeze light will light up.
It is possible to deactivate the function at any time by pressing Fast Freeze switch.
The Fast Freeze light will switch off.
Excessive temperature alarm
If the temperature inside the freezer has risen to a point where the safe storage of frozen food is no longer ensured (for example due to an power failure) the Alarm light will blink and an acoustic alarm will sound.
- Switch off the warning tone by pressing the Fast Freeze switch.
The Fast Freeze light illuminates.
The Alarm light blinks until the required temperature has been reached again.
- The Fast Freeze switch can be released as soon as the Alarm light is off.
The Fast Freeze light goes out.

When the freezer is first switched on, the Alarm light blinks until the temperature has dropped to a safe level for the storage of frozen food.
Door open alarm
An acoustic alarm will sound when the door is left open for more than 60 seconds.
When normal conditions are restored (door closed), the acoustic alarm will stop.
In any case, press the Acoustic alarm reset switch to deactivate the acoustic alarm.
First use
Cleaning the interior
Before using the appliance for the first time, wash the interior and all internal accessories with lukewarm water and some neutral soap so as to remove the typical smell of a brand-new product, then dry thoroughly.

Do not use detergents or abrasive powders, as these will damage the finish.
Daily use
Freezing fresh food
The freezer compartment is suitable for freezing fresh food and storing frozen and deep-frozen food for a long time.
To freeze fresh food activate the Fast Freeze function at least 24 hours before placing the food to be frozen in the freezer compartment.
Place the fresh food to be frozen in the bottom compartment.
The maximum amount of food that can be frozen in 24 hours is specified on the rating plate, a label located on the inside of the appliance.
The freezing process lasts 24 hours: during this period do not add other food to be frozen.
Storage of frozen food
When first starting-up or after a period out of use, before putting the products in the compartment let the appliance run at least 2 hours on the higher settings.

In the event of accidental defrosting, for example due to a power failure, if the power has been off for longer than the value shown in the technical characteristics chart under "rising time", the defrosted food must be consumed quickly or cooked immediately and then refrozen (after cooling).
Freezing Calendar

The symbols show different types of frozen goods.
The numbers indicate storage times in months for the appropriate types of frozen goods.
Whether the upper or lower value of the indicated storage time is valid depends on the quality of the foods and treating before freezing.
Thawing
Deep-frozen or frozen food, prior to being used, can be thawed in the refrigerator compartment or at room temperature, depending on the time available for this operation.
Small pieces may even be cooked still frozen, directly from the freezer: in this case, cooking will take longer.
Ice-cube production
This appliance is equipped with one or more trays for the production of ice-cubes. Fill these trays with water, then put them in the freezer compartment.

Do not use metallic instruments to remove the trays from the freezer.
Cold accumulators
One or more cold accumulators are supplied in the freezer; these increase the length of time for which food will keep in the event of a power failure or breakdown.
Helpful Hints and Tips
Hints for freezing
To help you make the most of the freezing process, here are some important hints:
- the maximum quantity of food which can be frozen in 24 hrs. is shown on the rating plate;
- the freezing process takes 24 hours. No further food to be frozen should be added during this period;
- only freeze top quality, fresh and thoroughly cleaned, foodstuffs;
- prepare food in small portions to enable it to be rapidly and completely frozen and to make it possible subsequently to thaw only the quantity required;
- wrap up the food in aluminium foil or polythene and make sure that the packages are airtight;
- do not allow fresh, unfrozen food to touch food which is already frozen, thus avoiding a rise in temperature of the latter:
- lean foods store better and longer than fatty ones; salt reduces the storage life of food;
- water ices, if consumed immediately after removal from the freezer compartment, can possibly cause the skin to be freeze burnt;
- it is advisable to show the freezing in date on each individual pack to enable you to keep tab of the storage time.
Hints for storage of frozen food
To obtain the best performance from this appliance, you should:
- make sure that the commercially frozen foodstuffs were adequately stored by the retailer;
- be sure that frozen foodstuffs are transferred from the foodstore to the freezer in the shortest possible time;
not open the door frequently or leave it open longer than absolutely necessary. - Once defrosted, food deteriorates rapidly and cannot be refrozen.
- Do not exceed the storage period indicated by the food manufacturer.
Care and cleaning

CAUTION!
Unplug the appliance before carrying out any maintenance operation.

This appliance contains hydrocarbons in its cooling unit; maintenance and recharging must therefore only be carried out by authorized technicians.
Periodic cleaning
The equipment has to be cleaned regularly:
- clean the inside and accessories with lukewarm water and some neutral soap.
- regularly check the door seals and wipe clean to ensure they are clean and free from debris.
- rinse and dry thoroughly.

Do not pull, move or damage any pipes and/or cables inside the cabinet.
Never use detergents, abrasive powders, highly perfumed cleaning products or wax polishes to clean the interior as this will damage the surface and leave a strong odour.
Clean the condenser (black grill) and the compressor at the back of the appliance with a brush or a vacuum cleaner. This operation will improve the performance of the appliance and save electricity consumption.

Take care of not to damage the cooling system.
Many proprietary kitchen surface cleaners contain chemicals that can attack/damage the plastics used in this appliance. For this reason it is recommended that the outer casing of this appliance is only cleaned with warm water with a little washing-up liquid added.
After cleaning, reconnect the equipment to the mains supply.
Defrosting the freezer
A certain amount of frost will always form on the freezer shelves and around the top compartment.
Defrost the freezer when the frost layer reaches a thickness of about 3 - 5mm

About 12 hours prior to defrosting, set the Temperature regulator toward higher settings, in order to build up sufficient chill reserve for the interruption in operation.
To remove the frost, follow the instructions below:
- Switch off the appliance.
- Remove any stored food, wrap it in several layers of newspaper and put it in a cool place.

CAUTION!
Do not touch frozen goods with wet hands. Hands can freeze to the goods.
- Leave the door open and insert the plastic scraper in the appropriate seating at the bottom centre, placing a basin underneath to collect the defrost water

In order to speed up the defrosting process, place a pot of warm water in the freezer compartment. In addition, remove pieces of ice that break away before defrosting is complete.
-
When defrosting is completed, dry the interior thoroughly and keep the scraper for future use.
-
Switch on the appliance.
- After two or three hours, reload the previously removed food into the compartment.


Never use sharp metal tools to scrape off frost from the evaporator as you could damage it.
Do not use a mechanical device or any artificial means to speed up the thawing process other than those recommended by the manufacturer.
A temperature rise of the frozen food packs, during defrosting, may shorten their safe storage life.
Periods of non-operation
When the appliance is not in use for long periods, take the following precautions:
- disconnect the appliance from electricity supply
- remove all food
- defrost ^8) and clean the appliance and all accessories
- leave the door/doors ajar to prevent unpleasant smells.
If the cabinet will be kept on, ask somebody to check it once in a while to prevent the food inside from spoiling in case of a power failure.
What to do if...

WARNING!
Before troubleshooting, disconnect the mains plug from the mains socket.
Only a qualified electrician or competent person must do the troubleshooting that is not in this manual.

There are some sounds during normal use (compressor, refrigerant circulation).
Problem Possible Cause Solution
The appliance does not operate. The Pilot light does not flash.
The appliance is switched off. Switch on the appliance.
| Problem Possible cause Solution | ||
| The mains plug is not connected to the mains socket correctly. | Connect the mains plug to the mains socket correctly. | |
| The appliance has no power. There is no voltage in the mains socket. | Connect a different electrical appliance to the mains socket. Contact a qualified electrician. | |
| The Pilot light flashes. | The appliance is not working properly. | Contact a qualified electrician. |
| The Alarm light flashes. | The temperature in the freezer is too high. | Refer to "Excessive Temperature Alarm" |
| The compressor operates continually. | The temperature is not set correctly. | Set a higher temperature. |
| The door is not closed correctly. | Refer to "Closing the door". | |
| The door has been opened too frequently. | Do not keep the door open longer than necessary. | |
| The product temperature is too high. | Let the product temperature decrease to room temperature before storage. | |
| The room temperature is too high. | Decrease the room temperature. | |
| The Fast Freeze function is switched on. | Refer to "Fast Freeze function". | |
| The temperature in the freezer is too low. | The temperature regulator is not set correctly. | Set a higher temperature. |
| TheFast Freeze function is switched on. | Refer to "Fast Freeze function". | |
| The temperature in the freezer is too high. | The temperature regulator is not set correctly. | Set a lower temperature. |
| The door is not closed correctly. | Refer to "Closing the door". | |
| The product temperature is too high. | Let the product temperature decrease to room temperature before storage. | |
| Many products are stored at the same time. | Store less products at the same time. | |
| Products are too near to each other. | Store products so that there is cold air circulation. | |
| There is too much frost. | Food is not wrapped correctly. Wrap the food correctly. | |
| The door is not closed correctly. | Refer to "Closing the door". | |
| The temperature regulator is not set correctly. | Set a higher temperature. | |
Closing the door
- Clean the door gaskets.
- If necessary, adjust the door. Refer to "Installation".
- If necessary, replace the defective door gaskets. Contact the Service Center.
Technical data
| Dimension of the recess | ||
| Height 600 mm | ||
| Width 560 mm | ||
| Depth 550 mm | ||
| Rising Time 26 h |
The technical information are situated in the rating plate on the internal left side of the appliance and in the energy label.
Installation
Positioning

WARNING!
If you are discarding an old appliance that has a lock or catch on the door, you must ensure that it is made unusable to prevent young children being trapped inside.

The appliance shall have the plug accessible after installation.
Install this appliance at a location where the ambient temperature corresponds to the climate class indicated on the rating plate of the appliance:
| Climate class Ambient temperature | |
| SN +10°C to + 32°C | |
| N +16°C to + 32°C | |
| ST +16°C to + 38°C | |
| T +16°C to + 43°C | |
Electrical connection
Before plugging in, ensure that the voltage and frequency shown on the rating plate correspond to your domestic power supply.
The appliance must be earthed. The power supply cable plug is provided with a contact for this purpose. If the domestic power supply socket is not earthed, connect the appliance to a separate earth in compliance with current regulations, consulting a qualified electrician.
The manufacturer declines all responsibility if the above safety precautions are not observed.
This appliance complies with the E.E.C. Directives.
Door reversibility
The door of the appliance opens to the right. If you want to open the door to the left, follow these steps before you install the appliance:
- Loosen and remove the upper pin.
- Remove the door.
- Remove the spacer.

-
With a key, loosen the lower pin. On the opposite side:
-
Tighten the lower pin.
- Install the spacer.
- Install the door.
- Tighten the upper pin.

Ventilation requirements
The airflow behind the appliance must be sufficient.

Installing the appliance

CAUTION!
Make sure that the mains cable can move freely.
Do the following steps:
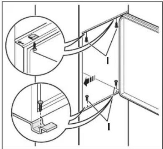
- Apply the adhesive sealing strip to the appliance as shown in figure.

- Install the appliance in the niche.
Push the appliance in the direction of the arrow (1) until the upper gap covers stops against the kitchen furniture.
Push the appliance in the direction of the arrow (2) against the cupboard on the opposite side of the hinge.

- Adjust the appliance in the niche.
The lower hinge cover (in the accessories bag) makes sure that the distance between the appliance and the kitchen furniture is correct.
Make sure that the distance between the appliance and the cupboard front-edge is 44mm
Make sure that the clearance between the appliance and the cupboard is 4mm
Open the door. Put lower hinge cover in position.
- Attach the appliance to the niche with 4 screws.


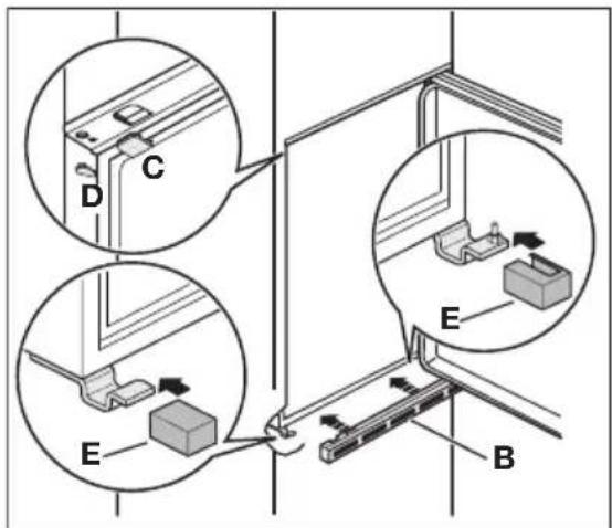
- Remove the correct part from the hinge cover (E). Make sure to remove the part DX, in the case of right hinge, SX in opposite case.

- Attach the covers (C, D) to the lugs and the hinge holes.
Install the vent grille (B).
Attach the hinge covers (E) to the hinge.

- Disconnect the parts (Ha), (Hb), (Hc) and (Hd).

- Install the part (Ha) on the inner side of the kitchen furniture.

- Push the part (Hc) on the part (Ha).

- Open the appliance door and the kitchen furniture door at an angle of 90^ . Insert the small square (Hb) into guide (Ha).
Put together the appliance door and the furniture door and mark the holes.

- Remove the brackets and mark a distance of 8mm from the outer edge of the door where the nail must be fitted (K).

- Place the small square on the guide again and fix it with the screws supplied. Align the kitchen furniture door and the appliance door by adjusting the part Hb.

-
Press the part (Hd) on the part (Hb). Do a final check to make sure that:
-
All screws are tightened.
- The sealing strip is attached tightly to the cabinet.
- The door opens and closes correctly.

Environmental concerns
The symbol on the product or on its packaging indicates that this product may not be treated as household waste. Instead it should be taken to the appropriate collection point for the recycling of electrical and electronic equipment. By ensuring this product is disposed of correctly, you will help prevent potential negative consequences for the environment and human health, which could otherwise be caused by inappropriate waste handling of this product. For more detailed information about recycling of this product, please contact your local council, your household waste disposal service or the shop where you purchased the product.
www.aeg-electrolux.at
www.aeg-electrolux.de
www.aeg-electrolux.lu
EasyManual