SB143 Ergoline - Stofzuiger Ghibli - Gratis gebruiksaanwijzing en handleiding
Vind de handleiding van het apparaat gratis SB143 Ergoline Ghibli in PDF-formaat.
Download de handleiding voor uw Stofzuiger in PDF-formaat gratis! Vind uw handleiding SB143 Ergoline - Ghibli en neem uw elektronisch apparaat weer in handen. Op deze pagina staan alle documenten die nodig zijn voor het gebruik van uw apparaat. SB143 Ergoline van het merk Ghibli.
GEBRUIKSAANWIJZING SB143 Ergoline Ghibli
Gelieve de handleiding nauwgezet te lezen alvorens het toestel in gebruik te nemen. Zorgvuldig bewaren voor later gebruik.


| Italiano English François | ||
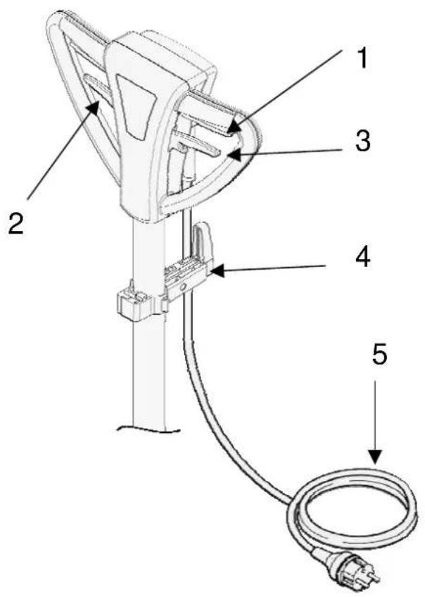
| 1 | Leva interruptatore on-off Switch lever Manette interrupteur | |
| 2 | Leva sblocco manico Handle locking device Manette déblocage poignée | |
| 3 | Leva azionamento acqua lavaggio Solution dosing lever Levier de dosage eau/détergent | |
| 4 | Supporto cavo / serbatoio acqua lavaggio Tank / cable support Support cable / réservoir | |
| 5 | Cavo alimentazione Power cord Cable | |
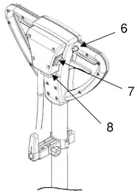
| 6 | Pulsante sicurezza Security latch Gåchette de sécurité | |
| 7 | Pulsante 2<sup>a</sup> velocità (solo per TS) Button 2nd speed (only on TS) Bouton 2ième vitesse (seul TS) | |
| 8 | Presa ausiliaria Accessory socket Prise accessoires | |
| Deutsch Espanol Netherlands | ||
| 1 | Hebel ein/auf Interruptor Schakelaar | |
| 2 | Auslösehebel Palanca inclínación Hendel handgreepinstelling | |
| 3 | Dosierhebel Palanca disoluciones detergente doseerhendel | |
| 4 | Halterung Tank / Kabel Soporte cable / depósito detergente Tank- en Kabelhouder | |
| 5 | Stromkabel Cable Kabel | |
| 6 | Sicherheitsschalter Desbloqueo de seguidad Veiligheidsontgrendeling | |
| 7 | Taster 2' Geschwindigkeit (nur TS) Pulsador 2<sup>a</sup> velocidad (sólo su TS) 2e snelheidstoets (enkel op TS) | |
| 8 | Zubehör Steckdose Presa para accesorios Toebehoren kontaktdoos. |
AVVERTENZE
Lees deze gebruiksaanwijzing zorgvuldig door, voordat u uw apparaat in gebruik neemt. Volg de aanwijzingen correct op. Bewaar deze handleiding voor een eventueel latere gebruiker.
1) Controller, wanner u de machine uitpakt, of alle onderdelen aanwezig en in goede staat+zijn. Indien dit Niet het geval is, gelieve de machine dan Niet te gebruiken en contact op te nemen met uw vakman.
2) De verpakking kan gevaarlijk zijn en mag nicht binnen het bereik van kinderen gelaten worden.
3) Dit toestel mag nicht gebruikt worden door Personen (kinderen inbegren) met beperkte psychische, sensorièle of mentale capacititeiten, of door Personen die nicht over de nodige ervaring of kennis beschikken, tenzij een persoon, verantwoordelijk voor hun veiligheid hen controleert of hen leert hoe het toestel te bedieren.
4) Kinderen moeten op een veilige afstand worden gehouden,ijdens het gebruik en worden verhinderd met het toestel te spelen.
5) Alvorens de machine op het stroomnet aan te sluiten, controller of de technische gegevens overeenstemmen met de aanwezigte stroomvoorzieningen.
6) Voor elk gebruik:
Controller de veiligheid van de machine
Controller in het bijzonder de kabel (6) op beschadigingen, in dergelijk geval contact opnemen met uwvakman
7) De elektrische kabel (6)要去 algid in perfecte staat zich, eventuele verranging mag uitsluitend door een vakman gebeuren. Steeds hetzelfde kabeltype gebruiken.
Tijdens het gebruik vermijden dat de kabel (6) in contact komt met de borstels om een eventuele gevaarlijke situatie te vermijden.
Bij het gebruik van verlangkabels要去en deze altijd minstensdezelfde kenmerken hebben, de verbindingen要去en altijd waterdicht zich.
8) Haal steeds de stekker uit de contactdoos alvorens aan te vangen met het verrangen van accessoires, verrichten van onderhoud, reparatie of reiniging van de machine.
9) Na het gebruik: het toestel uitschakelen, de stekkeruit de contactdoos verwijderen, zonder aan de kabel te trekken.
10) Indien de machine nicht goed werkt of er een defect optreedt, onmiddelijk de stekker uit de contactdoos verwijderen. Richt u tot een officièle dealer en vraag steeds originele onderdelen te gebruiken.
11) Voor schade veroorzaakt door gebruik waarvoor het toestel Niet ontworpen ward, kan de fabrikant nicht aansprakelijk gesteld worden.
12) Dit toestel is nicht geschickt om in open lucht te gebruiken.
13) Dit toestel is nicht geschikt voor het verwijderen van of het gebruik in aanwezigheid van volgende materialen: explosiegevaarlijke vloeistoffen, gevaarlijke gassen, ontvlambare materialen, voor de gezondheid gevaarlijke stoffen.
14) De verantwoordelijke persoon要去 zich ervan verzekeren dat er nicht zonder toestemming met de machine gewerkt worden.
15) Alleen de Personen die opgeleid zijn om met de machine te werken en die alle risico's kennen mogen de machine bedieren, onderhouden en repareren.
16) Alle wijzigingen aan de machine die zonder de uitdrukkelijke toestemming van de fabrikant� aangebracht, sluiten onmiddelijk de aansprakelijkheid van de fabrikantuit.
17) Dit model is ontwikkeld voor het gebruik van door de fabrikant aangeraden accessoires (padhouser, borstels, pads, enz.). Het gebruik van andere accessoires kan de correcte werkinq in het gedrang brengen en eventueel schade berokkenen aan de machine. De fabrikant is Niet verantwoordelijk voor dergelijk schade.
GEBRUIKSAANWIJZING
Elektrische aansluiting
De machine worden geleverd, voorzien van een geaarde kabelstekker. Alvorens de machine op de stroom aan te sluiten, controller of de technische gegevens overeenstemmen met de aanwezigte stroomvoorzieningen en of deze een correct werkende aardig hebben.
Controleer voor elk gebruik
TOEBEHOREN
PADHOUDER controller of de padhouder de juiste afmetingen heeft en of de pad-zijde nicht beschadigd is.
Pads controller of de pad van het juiste type is voor de uit te voeren werkzaamheden.
Voor een optimaal resultaat steeds schone pads gebruiken.
Borstels controller of de borstel van het juiste type is voor de uit te voeren werkzaamheden.
Voor een optimaal resultaat steeds schone borstels gebruiken.
Montage toebehoren
Steeds volgens de veiligheidsnorm de stekker uit de contactdoos halen. Plaats de handgreep vertikaal, toestel kantelen en op de handgreep leggen. Borstel of padhouder in de voorziene uitsparing plaatsen enaar links draaien tot deze vast zit.
De machine recktop zetten.
Gebruik van de machine
Handgreep in de correcte werkstand zetten, ongeveer op heuphoogte, door aan de hendel (3) te trekken en de handgreep te bewegen.
Werking
In de correcte werkstand, stekker in de contactdoos, de machine aanzetten door eerst de veiligheidsgrendel (1) in te duwen en dan de hendel (2) onder de handgreep in te drukken.
Tijdens het gebruik deze hendel (2) ingedrukt honden.
Door de hendel (2) los te soften stopt de machine.
Besturing
Na het opstarten van de machine, halve cirkelbewegingen make, door de handgreep
licht op- en neer te bewegen.
Door de handgreep iotaar beneden te duwen, zal de machineaar links bewegen.
Door de handgreep iota omhoog te trekken, za de machine waar rechts bewegen.
Voorlichtig: rustige bewegingen zorgen ervoor dat de machine perfect bestuurd kan worden.
Om de machine op eén plaats te lien werken, volstaat het de handgreep in de startpositie te houden
Opmerking: in dit geval is het risico groot de vloeroppervlakte te beschadigen.
Toerental verhogen (TS model)
De toets (7) op deijkenkant van de handgreep inschakelen, de machine verdubbelt zo het toenental.
OPGELET: op voorhand nagaan of het aangebrachte accessoire geschikt is voor een toerental van 308 rpm.
Om van toerental te veranderen de machine uitschakelen, bij het opnieuw opstarten begint de machine.altijd in het lage toerental.
De werkung is identiek bij hoog als bij laag toerental, de bewegingen moeten wel nog preciezer uitgevoerd worden onions het hoge toerental een groe invloed heeft.
TANK
De tank vullen met water en neutraal, nicht schuimend reinigingsmiddel. Het reinigingsmiddel verdelen door aan de doseerhendel (4) te trekken.
NA HET GEBRUIK - OPBERGEN VAN DE MACHINE
- Elk gezruikt accessoire verwijderen om te voorkomen dat het gewicht van de machineudge vervormd.
- De kabel (6) reinigen en correct opwikkelen: over de handgreep – onder de haak. De machine en het accessoire reinigen om te voorkomen dat de chemische middelen deze aantasten.
- De machine en vooral de kabel volledig nakijken, indien alles in perfecte staat, de machine opbergen in een droge ruimte.
- Het accessoire reinigen en opbergen
NOOIT
- De machine opbergen zonder eerst het accessoire te verwijderen.
- Het accessoire opbergen zonder het te reinigen.
Reparaties - onderdelen - accessoires. In voorkomende geallen, richt u steeds tot een vakman en eis originele onderdelen. Onderhoud of reparaties dienen door een officièle dealer uitgevoerd te worden.
De gegevens in deze handleiding zijn indicatief en können zonder voorafgaande kennisgeving gewijzigd worden.
| GHIBLI® | SINGLE BRUSH | SB143 L10 SB143 L13 SB143 L16 SB143 L22 SB143 M16 | SB143 M22 SB143 H16 SB143 TS+T SB150 L16 SB150 L22 |
| DICHIARAZIONE CE DI CONFORMITÀ La ditta Ghibli S.p.A., Via Circonvallazione 5, 27020 Dorno, Italia, dichiara, sotto la propria responsabilità, che i prodotti elencati, in base alla loro concezione e costruzione, sono conformi alle norme basiliari di sicurezza ed antinfortunistiche delle dirittive CE di seguito indicate. In caso di modifiche apportate alla macchina senza il loro accordo, questa dichiarazione perde la sua validità. | DECLARATION OF CE CONFORMITY The company Ghibli S.p.A., Via Circonvallazione 5, 27020 Dorno, Italia, erklärt, auf ihre Verantwortung, daß die oben genennte Produkte, aufgrund ihrer Konzipierung und Bauart sowie in der von uns in der Verkehr gebrachten Ausführung den einschlädigigen grundlegenden Sicherheits- und Gesundheitsanforderungen den einzel aufgeführten EG-Richtlinien entsprechen. Bei einer nicht mit uns abgestimmten Änderung der Maschine verliert diese Erklärung ihrer Gültigkeit. | DECLARATION DE CONFORMITÉ La Société Ghibli S.p.A., Via Circonvallazione 5, 27020 Dorno, Italia, déclare, sous sa propre responsibilité, que les produits mentionnés ci- dessus, de par leur conception et construction et tels que nous les avons mis en circulation, sont conformes aux exigencies fondamentales de sécurité et d'hygiene des directives CE en vigueur, reprises ci- après. En cas de modification de la machine, effectuee sans notre accord, cette déclaration perde sa validité. | |
| EG-KONFORMITÄTSERKLUNG Die Firma Ghibli S.p.A., Via Circonvallazione 5, 27020 Dorno, Italia, erklärt, auf ihre Verantwortung, daß die oben genennte Produkte, aufgrund ihrer Konzipierung und Bauart sowie in der von uns in der Verkehr gebrachten Ausführung den einschlädigigen grundlegenden Sicherheits- und Gesundheitsanforderungen den einzel aufgeführten EG-Richtlinien entsprechen. Bei einer nicht mit uns abgestimmten Änderung der Maschine verliert diese Erklärung ihrer Gültigkeit. | DECLARATION DE CONFORMITÉ La Société Ghibli S.p.A., Via Circonvallazione 5, 27020 Dorno, Italia, déclare, sous sa propre responsibilité, que les produits mentionnés ci- dessus, de par leur conception et construction et tels que nous les avons mis en circulation, sont conformes aux exigencies fondamentales de sécurité et d'hygiene des directives CE en vogueur, reprises ci- après. En cas de modification de la machine, effectuee sans notre accord, cette déclaration perde sa validité. | ||
| EU-OVERREENSTEMMINGSVERKLARING De Firma Ghibli S.p.A., Via Circonvallazione 5, 27020 Dorno, Italia, verkaart, op eigén verantwoordelijkheid, dat de hierboven genoemde produkten, op grond van de设计理念 en het type, en de wijze waarop.Deze in omloop werden gebracht, voldoen aan de desbeteffende veiligheids- en gezondheidseisen van de hierna vermelde EG-Richtlinjen. Na een wijziging aan de machine die nicht in overleg met ons wordt uitgevoerd, verliest ze déches verzaklaringhaar geldigheid. | DECLARACION DE CONFORMIDAD La société Ghibli S.p.A., Via Circonvallazione 5, 27020 Dorno, Italia, declares bajo su propia responsibilité, que les produits elencados en base a su conception y estructura de construción, asi como en cuando al Modelo commercializzato por nosotros cumple con los requis它们osibles de sanidad y sécurité correspondientes que exigen las CE -normativas reseñadas. La presente declaración pierde su validez en caso de alteraciones en la手机版 efectuadas sin是我国 consentimiento explicito. | ||
| DIRTTIVE CE - EC DIRECTIVES - EG RICHTLINIEN - DIRECTIVES CE - EU RICHTLJNEN - CE NORMATIVAS Macchine - Machines - Geräte - Machines - Maschinen - Maquinas : CE (98/37/CE) Bassa tensione / Low tension / Niederspannungs / Basses tensions / Baja tensión : CE (73/23/CEE)+93/68/CEE Compatibleità elettromagnetica /Electromagnetic Compatibility / Elektromagnetische Verträgelichkeit / Elektromagnetische verenigbaarheid /compatibilitad electromagnétique : CE (89/336/CEE) + 91/263/CEE, 92/31/CEE, 93/68/CEE | |||
| Norme armonizzate applicate - Harmonised standards applied - Angewandte harmonisierte Normen - Normes harmonisées appliquées - Toegepaste geharmoniseerde normen - Normas armonizadas utilizadas EN 60335-1 04-2004 CEI 61-150 EN 60335-1/A1/A11 01-2006 CEI 61-150;V1 EN 60335-2-10 08-2005 CEI 61-188 EN 60335-2-67 07-2005 CEI 61-213 EN 55014-1 11-2001 CEI 110-1 EN 55014-1/A1 08-2002 CEI 110-1;V1 | EN 55014-1/A2 03-2003 CEI 110-1;V2 EN 55014-2 10-1998 CEI 210-47 EN 55014-2/A1 08-2002 CEI 210-47;V1 EN 61000-3-2 12-2005 CEI 110-31 EN 61000-3-11 08-2001 CEI 210-58 EN 60704-1 08-1998 CEI 59-7 | ||
| MONOSPAZZOLE SINGLE BRUSHES GHIBLI | TENS ONE I | FREQ. | POTENZA | PISTA DI LAVORO | VELOCITA' | PESO | PRESSIONE DI LAVORO | LUNG. CAVO | RUMORE | LIVELLO VIBRAZIONI | DIMENSIONI | TRASMISSEONE | ||
| MODELLI | V | Hz | W | mm | inch | giri/min | kg | g/cm2 | m | db(A) | m/s² | mm | ||
| SB143 L10 | 230 | 50 | 1000 | 432 | 17 | 154 | 42,0 | 41,3 | 12 | 54 | <2,5 | 1200x542x425 | SAT. E PLANET | |
| 60 | ||||||||||||||
| SB143 L13 | 230 | 110 | 50 | 1300 | 432 | 17 | 154 | 42,5 | 41,8 | 12 | 54 | <2,5 | 1200x542x425 | SAT. E PLANET |
| 60 | ||||||||||||||
| SB143 L16 | 230 | 50 | 1600 | 432 | 17 | 154 | 43,0 | 42,3 | 15 | 54 | <2,5 | 1200x542x425 | SAT. E PLANET | |
| 60 | ||||||||||||||
| SB143 L22 | 230 | 50 | 2200 | 432 | 17 | 154 | 47,0 | 46,2 | 15 | 54 | <2,5 | 1200x542x425 | SAT. E PLANET | |
| 60 | ||||||||||||||
| SB143 M16 | 230 | 50 | 1600 | 432 | 17 | 227 | 45,0 | 44,3 | 15 | 56 | <2,5 | 1200x542x425 | SAT. E PLANET | |
| 60 | ||||||||||||||
| SB143 M22 | 230 | 50 | 2200 | 432 | 17 | 227 | 47,5 | 46,7 | 15 | 56 | <2,5 | 1200x542x425 | SAT. E PLANET | |
| 60 | ||||||||||||||
| SB143 H16 | 230 | 50 | 1600 | 432 | 17 | 400 | 46,0 | 45,3 | 15 | 56 | <2,5 | 1200x542x425 | SAT. E PLANET | |
| 60 | ||||||||||||||
| SB143 TS+T | 230 | 50 | 1000 / 1300 | 432 | 17 | 154/308 | 45,0 | 44,3 | 15 | 54/56 | <2,5 | 1200x542x425 | SAT. E PLANET | |
| SB150 L16 | 230 | 50 | 1600 | 505 | 20 | 154 | 50,0 | 35,7 | 15 | 54 | <2,5 | 1200x625x505 | SAT. E PLANET | |
| 60 | ||||||||||||||
| SB150 L22 | 230 | 50 | 2200 | 505 | 20 | 154 | 52,0 | 37,1 | 15 | 54 | <2,5 | 1200x625x505 | SAT. E PLANET | |
| 60 | ||||||||||||||


SimpelGids