MP1820 - Mp3-speler Difrnce - Gratis gebruiksaanwijzing en handleiding
Vind de handleiding van het apparaat gratis MP1820 Difrnce in PDF-formaat.
Gebruikersvragen over MP1820 Difrnce
0 vraag over dit apparaat. Beantwoord die u kent of stel uw eigen vraag.
Stel een nieuwe vraag over dit apparaat
Download de handleiding voor uw Mp3-speler in PDF-formaat gratis! Vind uw handleiding MP1820 - Difrnce en neem uw elektronisch apparaat weer in handen. Op deze pagina staan alle documenten die nodig zijn voor het gebruik van uw apparaat. MP1820 van het merk Difrnce.
GEBRUIKSAANWIJZING MP1820 Difrnce
Voorzorgsmaatregelen
- Laat het apparaat nergens tegenaan botsen ofaat het vanaf een hoge positie vallen.
- Gebruik de speler nooit op extreem hete of koude, stoffige of vochtige plaatsen. Stel het nicht bloot aan direct zonlicht.
Maak regelmatig een back-up om ongewenst geveensverlies te voorkomen. - Gebruik de speler nicht in een sterk magnetisch veld.
- Houd het apparaat UIT de buurt van water of andere vloeistoffen. Mocht water of een ander vloeistof het toestel binnendringen, schakel de speler onmiddelijkuit en maak het schoon.
- Gebruik geen chemische oplosmiddelen om het apparaat te reinigen om corrosie te voorkomen. Maak het schoon met een droge doeK.
- Wijল Niet verantwoordelijk voor beschadiging of geveensverlies wegens defecten, ongepast gebruik, reparatie van het apparaat of verranging van de batterij.
- Probeer het product Niet te demonteren, repareren of modifiereren. Dit verklaart de garantie ongeldig.
- Het ontwerp van de speler of de daadwerkelijk display kan verschillen van wat deze handleiding illustrstreert. In dit geval overheersen de daadwerkelijk display en het ontwerp.
1 Hoofdeigenschappen
MP3&WMA-Speler
MTV Videospeler
- JPEG-imageviewer
- Geheugenkaartlezer
Mapnavigationie
Voice Recorder
- StereoFM-radio
FM-encoding
- Verwijlderbaar opslagapparaat
Leuke spells
Ingebouwde oplaadbare lithium-ion batterij
- Persoonlijke instellingen
2 Systemevereisten
- Hardware: IBM PC & Compatiblele PC, Notebook met USB interface
Besturingsystem: Windows98/SE, Windows Me, Windows2000/XP
3 Inhoud van de Verpakking
Controleer a.u.b. of de verpakking de volgende artikelen bevat. Neem a.u.b. contact op met uw verkoopadres als een van hen ontbreekt:
Hoofdapparaat
- Stereo oortelefoon
USB kabel
- Gebruikshandleiding
- Driver-CD
4 Vór Gebruik
4.1 Aansluiting op een PC en audiofiles downloaden
Deze speler is "plug&play" voor WIN2000/XP/ME OS. Voor Windows98/SE dient u zichter een driver te installereren voór aansluiting (Zie paragraaf "Driver Installatie" voor meer informatie).
Aansluiten op een PC voor fileoverdracht:
(1) Steek het bredere uiteinde van de USB kabel in de USB poort van de PC en het smallerere uiteinde in de USB poort van de speler.
(2) Dubbelklik op "My Computer" op het bureaublad wonneer het icoontje rechtsonder op het PC scherm verschijnt en u zult een verwijderbare disk zich welke de speler aangeeft. Gebruik de verwijderbare disk opdezelfde manier als een normale lokale disk; kopieer de files er naartoe of er vanaf.
4.2 De spelier veilig van de PC loskoppelen
Voor Windows2000/XP:
(1) Linksklik op het icoontje "rechtsonder op de taakbalk.
(2) Klik op het minivenster dat verschijnt met de melding "Stop the USB Mass Storage Device - Drive (X)".
(3) Trek de speler eruit wonneer u gevraagd worden het apparaat te verwijderen. Voor Win98, zorg ervoor dat de data transfer complete is voordat u de stekker uit de MP3
speler trekt.
4.3 Wijzig de batterij
Het apparaat heeft een ingebouwde lithium-ikoon oplaadbare batterij. Het worden opgeladen via een USB verbinding. U bent verplicht om het op te laden wanner u het voor de eerste keer gebruikt. Het duurt onceveer 3研究员 om de batterij volledig op te laden. Verbindt de groter gedeelte van de USB kabel met de USB interface van de PC, en verbindt het andere Kleinere gedeelte van de USB kabel met de USB interface van deze speler. Het apparaat is verbonden met de PC en worden geladen.
Opmerking: Voor optimale prestatie dienen lithium-ion batterijen vaak gebruikt te worden.
Indien u het apparaat Niet regelmatig gebruikt, zorg er dan voor de batterij minstensiens per maand op te laden.
4.4 Geheugenkaarten gebruiken
Het apparaat kan een ingang voor geheugenkaarten hebben om gegevens van een Micro-SD kaart te lezen.
Voor gebruik van een geheugenkaart:
(1) Steek een Micro-SD kaart in de kaartingang op het apparaat.
(2) Houd de toets MENU ingedrukt om het hoofdmenu op te roepen.
(3) Selecteer "Explorer" en druk op de toets MENU om de folder browsermodus te openen.
(4) In de folder blader mode, ziet u twee folders genaamd "Internal memory" en "SD Card". Om de audio of video bestanden op de geheugen kaart af te spelen, ga waar de "SD Card" folder.
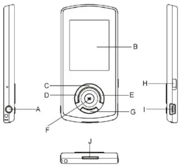
5 Sleutel Beschrijving

A. Hoofdtelefoon
B. LCD Display
C. MENU: Hou voor eenijdje in om het hoofdmenu te openen. Klik kort om de selectie te bevestigen of ga waar de folder navigatie mode.
D. Previous: Speel de vorige track. Ook maar boven.
E. Next: Speel de volgende track. Ook maar beneden.
F. Play/Pause: Zet aan of zet het apparaatuit. Speel of pause ook audio's.
G. VOL (volume): Pas de volume aan. Keer ooktering het vorige scherm.
H. Schakelaar: Zet de electriciteit aan of UIT.
I. USB Poort: Verbindt maar een computer
J. Geheugen Kaart Slot: Voor het invoegen van een Micro SD-kaart
6 Electriciteit Aan/Uit
Om de electriciteit aan te zetten,
(1) Schuif de Schakelaar waar de rechterkant om de electriciteit aan te zetten.
(2) Klik en hou de PLAY/PAUSE knop ingeklikt totdat u een verwijzing ziet op de display. Om de electriciteituit te zetten,
(1) Klik en hou de PLAY/PAUSE knop ingeklikt totdat u een verwijzing ziet op de display.
(2) Schuif de Schakelaar maar de linkerkant om de electriciteituit te zetten. (Zorg ervoor dat u deze stap voltooid om batterijen te sparen.)
Opmerking: Deze speeler heeft een electriciteit-besparing kenmer welke het apparaat in staat stelt om de electriciteit automatisch uit te zetten wanner het nicht worden gebrukt voor ongeveer 3 minutes.
7 Basis operatie
| Functie | Operatie |
| Afspelen/Pauze | Klik op de PLAY/PAUSE knop om aftespelen of te pauzeren. |
| Volume aanpassen | (1) Klik even op de VOL knop om een rode volume ikoon te zien verschijnen.(2) Klik de PREVIOUS/NEXT knop om de volume te verhogen of te verlagen.(3) Klik de VOL knop om te bevestigen. |
| Vorige Track | Druk kort op de toets PREVIOUS. |
| Volgende Track | Druk kort op de toets NEXT. |
| Fast Forward | Houd de toets NEXT ingedrukt. |
| Rewind | Houd de toets PREVIOUS ingedrukt. |
| A-B Herhalen Om een gespecificierde sectie of een track te herhalen,(3) Tijdens het afspelen, klik kort op de VOL knop om A-B herhaling mode in te stellen.(4) Klik de MENU knop opnieuw om het start punt te selecteren.(5) Klik de MENU knop opnieuw om het eind punt te selecteren.Om A-B herhaling te stoppen, klik de MENU knop, en dan klik de VOL knop om eruit te gaan. |
8 Muziek afspelen
8.1 Vul de muziek mode in
Klik en hou de MENU knop ingeklikt om het hoofdmenu te tonen. Gebruik de VORIGE/VOLGENDE knop om het "Music" menu te selecteren, en klik de MENU knop om de
selectie te bevestigen. Nu bent u in de MUZIEK mode, verwijs muzzlek afspelen maar de basis operaties.
8.2 Folder navigation
Om door folders te navigeren:
(1) In de MUZIEK mode, klik kort op de MENU button om de folder navigatie mode in te gaan.
(2) Klik de PREVIOUS/NEXT knop om een folder of track te selecteren, en klik de MENU knop om de selectie te bevestigen.
9 Afspelen video's
(1) Klik en hou de MENU knop ingeklikt om het hoofdmenu te tonen.
(2) Gebruik de PREVIOUS/NEXT knop om het "Video" menu te selecteren, en klik de MENU knop om het video afspeel mode in te gaan.
(3) Klik de PREVIOUS/NEXT knop om een video bestand te zoeken welke u wilt afspelen, en klik de MENU knop om aftespelen. Voor gedetailleerde informatatie over afspelen, zich de "Basis Operatie" sectie. (Opmerking: Tijdens het afspelen,kest u kort klikken op de MENU knop om de folder navigatie mode in te gaan.)
Opmerking: Deze speler kan alleen AVI video's afspelen. Voor andere formaten, dient u de omvormer tool te gebruiken welke inclusief is op de driver CD om ze om te zetten. Voor gedetailleerde informatatie over de omvormer, die AVI Omvormer Snelle Gebruikers Handleiding op de CD.
10 Foto's bekijken
Om Foto's te bekijken,
(1) Klik en hou de MENU knop ingeklikt om het hoofdmenu te zien.
(2) Selecteer "Photo" en klik de MENU knop om te bevestigen.
(3) Klik de PREVIOUS/NEXT knop om een folder of beeld te selecteren, en klik de MENU om te bevestigen.
(4) Selecteer de Foto welke u wilt tonen en klik de MENU knop om het maar een groot scherm te vergroten.
(5) In de große scherm mode, kunt u de PREVIOUS/NEXT knop klikken om de vorige of de volgende fote te tonen. Klik PLAY/PAUSE om de automatische dia show te starten, of klik de MENU knop om in de folder navigatie mode te gaan.
Opmerking: Sommige beelden worden misschien nicht getoond. Probeer om een image viewer te gebruiken (ACDSee bijvoorbeeld) om ze om te vormen. Zie "Appendix - Omvormen beeld bestand"voor details.
11 E-book lezen
11.1 Lezen
(1) Klik en hou de MENU knop ingeklikt op het hoofdmenu te tonen.
(2) Selecteer "E-book" en klik MENU knop om te bevestigen.
(3) Klik de PREVIOUS/NEXT knop om een .txt bestand te selecteren, en klik de MENU knop om het geselecteerde bestand te openen.
(4) Klik de PREVIOUS/NEXTbutton om maar een pagina waar boven of maar beneden te gaan, of klik de PLAY/PAUSE knop om automatisch waar boven of maar beneden te gaan (door deijd intervalCUSen 1 en 5 in instellingen/Automatische Dia show/Tekst te zetten).
(5) Tijdens lezen,kest u de favorieten gebruiken om de pagina te markeren for het later verder lezen.Voor informatie over favorieten,zie "Gebruik favorieten" sectie.
11.2 Gebruik favorieten
(1) Ga waar de pagina welke u wilt markeren.
(2) Klik en hou de VOL knop in om "Save Bookmark" scherm te tonen voor het bewaren van favorieten.
(3) Klik de PREVIOUS/NEXT knop om een lijn te selecteren op de menu en klik de MENU knop om te bevestigen. De favoriet is bewaard. Het begint van de eerste lijn van de huidige pagina.
(4) Om de网首页 welke u hebts gemickeerd te lezen, klik kort op de VOL knop om "LoadBookmark" scherm te tonen. Selecteer de favoriet en klik de MENU knop om te bevestigen. U zult worden doorverwezen maar die主页.
Opmerking: Sommige TXT bestanden können misschien nicht worden gelezen. Dit kan komen,ondat het format Niet wordt ondersteund.Sla het over of herlaadt een ander bestand.
12 Alle bestanden bladersen
Om alle bestanden te bladeren opgeslagen in de speler,
(1) Klik en hou de MENU knop ingeklikt om de hoofdmenu te tonen.
(2) Selecteer"Explorer", en klik de MENU knop om de browser mode in te gaan.
(3) Klik de PREVIOUS/NEXT knop om een bestand te selecteren welke u wilt bekijken, en klik de MENU knop om het aftespelen of te tonen.
13 Voice Opname
Opname
(1) Klik en hou de MENU knop ingeklikt om het hoofdmenu te tonen.
(2) Selecteer"Record", en klik de MENU knop om de opname mode in te gaan.
(3) Klik kort op de PLAY/PAUSE knop om de opnamen te starten. Tijdens de opname, kunt u de PLAY/PAUSE knop klikken om te pauseren of om verdter te gaan met de opname.
(4) Klik kort op de MENU knop om de opname te stoppen en te bewaren.
- Afspelen opnames
Om de opname aft e spleen, schakel maar de MUZIEK mode, en ga waar folder navigatie mode, Zoek en spelj het opname bestand.
14 Bestand verwijderen
Om een bestand te verwijderen,
(1) In de folder navigatie mode, selecteer het bestand dat u wilt verwijdenen.
(2) Klik en hou de VOL knop in totdat een dialoog box verschijnt.
(3) Gebruik de PREVIOUS/NEXT knop om "YES" te selecteren en klik de MENU knop om te bevestigen.
15 FM Radio (optioneel)
Op het hoofdmenu, selecteer "FM Tuner" en klik de MENU knop om de FM aan te zetten.
- Zoek Zender
(1) Klik kort op de PLAY/PAUSE knop om de submenu's te tonen. U kunt de menu items zich aan de linkerkant enrechterkant. Menu in rood is verlicht en geselecteerd, verwijl het menu in Zwart is nicht verlicht en geselecteerd. Klik de PLAY/PAUSE knop om te schakelen:tussen verlichte menu's.
(2) Schakel maar de "Auto" of "Manual", en klik de PLAY/PAUSE knop om de automatische-zoek of handmatige-zoek mode te activeren. In de handmatige mode, klik de PREVIOUS/NEXT knop om zenders op te zoeken.
- Bewaar zender
De gezonden zender bewaren,
(1) Klik kort op de PLAY/PAUSE knop om desubmenu's te activeren.
(2) Klik de PREVIOUS/NEXT knop om maar de "Save" te schakelen en klik de PLAY/PAUSE knop om te bevestigen.
(3) Klik de PREVIOUS/NEXT om een lege locatie van de zender te selecteren, en klik de PLAY/PAUSE knop om door te gaan.
(4) Klik de PREVIOUS/NEXT knop om YES" of "NO" te selecteren, en klik de PLAY/PAUSE knop om te bevestigen.
- Luisteren maar Zender
Om maar een bewaarde zender te luisteren,
(1) Klik kort op de PLAY/PAUSE knop omsubmenu's te activeren.
(2) Klik de PREVIOUS/NEXT knop om te schakelen maar de “Preset” menu en klik de PLAY/PAUSE knop om�de PROGRAMMEER mode te gaan.
(3) In de PROGRAMMEER mode, klik de PREVIOUS/NEXT knop om een bewaarde zender te selecteren om te luisteren.
- Verwijder zender
(1) Wanner u in de PROGRAMMEER mode bent, klik kort op de PLAY/PAUSE knop om submenu's te activeren.
(2) Klik de PREVIOUS/NEXT knop om te schakelen maar de "Delete Station" menu en
klik de PLAY/PAUSE knop om door te gaan.
(3) Klik de PREVIOUS/NEXT knop om de zender te selecteren welke u wenst te verwijderen, en klik de PLAY/PASUE knop om door te gaan.
(4) Klik de PREVIOUS/NEXT knop om “YES” of “NO” te selecteren, en klik PLAY/PAUSE om te bevestigen.
Opname FMprogramma
Wanner u luistert maar een zender, kutu de VOL knop inklikken en inhouden om uw favorite programma op te nemen. Voor gedetailleerde informatatie over opname,zie "Opname" sectie.
16 Spel spelen
Deze speler bidet een populaire en grappig spel - Tetris Wereld. Om het spel te activeren, op het hoofdmenu, selecteer "Game" en klik de MENU knop om maar de spel mode te gaan. Basis operatie is als volgd:
Start spel
Klik de PLAY/PAUSE knop
Verplaats het bloc links en rechts
Klik de PREVIOUS en NEXT knop
Roteer het blok
Klik de MENU knop
Blok invoegen
Klik de VOL knop
17 Persoonlijke Instellingen
Om de spelere persoonlijk in te stellen:
(1) Op het hoofd menu, selecteer de "Settings" item en klik de MENU knop om maar het system instelling mode te gaan.
(2) Klik de PREVIOUS/NEXT knop om instelling item te selecteren en klik de MENU knop om te bevestigen en klik de VOL knop om te annuleren/terug te keren.
| Muziek | Herhalings | mode Eénmaal ( Speel huidige track éénmaal en dan stop ) |
| Herhaal Éénmaal (Herhaal huidige track) | ||
| Folder ( Speel alle audio bestanden in de huidige folder en stop nah et afspelen ) | ||
| Folder Herhaling. ( Herhaal alle audio bestanden in de huidige folder ) | ||
| Normaal ( Speel alle audio bestanden opgeslagen in de spelere en stop nadat ze allemaal zich afgespeeld ) | ||
| Herhaal Alles ( Herhaal alle audio bestanden opgeslagen in de spelere ) | ||
| Intro ( Speel de eerste 10 seconden van elke audio bestand ) | ||
| Afspelen mode | Volgorde ( SPeel audio bestanden in volgorde ) | |
| Verwisselen ( Speel audio bestanden willekeurig ) | ||
| Programmeer EQ Normaal, | 3D, Rock, Pop, Klassiek, Bass, Jazz, Gebruiker EQ | |
| Gebruiker EQ (Gebruiker-Gedefineerde toonregelingsversterker instelling) | (1) Klik de VOL knop om te schakelen maar EQ kolom. (2) Klik de PREVIOUS/NEXT knop om waarde aan te passen. (3) Herhaal het klikken op de VOL knop totdat de cursor op de YES knop staat, en klik dat de MENU knop om te bevestigen. (4) Ga waar de EQ Select menu, en selecteer User EQ om de toonregelingsversterker instelling in te schakelen. | |
| FM Radio Stereo SW | (Zet het stereo effect aan of uit) | Aan, Uit |
| FM regio China, Europa, Japan | Amerika | |
| OPNAME Kwaliteit Hoge Kwaliteit | Algemene Kwaliteit Opname | |
| OPNAME Volume | +1、+2、+3、+4、+5 | |
| Automatische dia show | TEKST (Stel de interval in:tussen de vorige en de volgende pagina wanner het apparaat is in automatische paginaaar boven/benden mode.) | |
| Foto (Stel interval in:tussen de vorige en de volgende dia in automatische dia show mode.) | ||
| Display | Achterlicht 5Seconden, | 10 seconden, 15 seconden, 20 seconden, 30 seconden, Altijd Aan. |
| Helderheid (Stel de holderheid in van het scherm) | ||
| Achterlicht mode Normaal | Electriciteit Bewaren (Zet het schermuit wanner er geen activiteit is binnen een zekerearend) | |
| Systeel | Over - Informatie over het product | |
| Upgrade - Upgrade de firmware | ||
| Standaard Laden - Herstel de speler maar de standard instelling | ||
| Sleep Timer(Stel de continue speel:tijd in voordat de spelerautomatisch wordtuitgeschakeld.) | Uit, 10 minute, 15minute, 30 minute, 60 minute, 120 minute | |
| Taal(Selecteer taal waarinde scherm tekst wordenvertoond in) | Simplified Chinees, Traditioneel Chinees, Engels, Koreaans,Japans, Spaans, Frans, Duits, Italiaans, Portugees, Russisch, etc. | |
18 Probleemoplossing
| Probleem | Mogelijkke | oorzaak | Oplossing |
| De LCD vertoont niets wanner het apparaat gestart is. | Batterij is te zwak. Laad de baterij op. | ||
| audiofile aftspeelt. | Het volume is te laag. Pas het | volume aan. Geen geluid wannoer een | |
| Corrupte audiofile. Verwijder de file of sla deze ov e | |||
| De speler kan nicht op de PC aangesloten worden. | De USB interface worden Niet door het moederbord van de PC ondersteund. | Update of verrang het moederbord van de PC. | |
| De tijdsweargave De bitsnelheid van de MP3 Probeer en vaste bitsnelheid | |||
| verandert continu. file veran | dertijdens het afspelen. | te gebruiken voor compressie van de MP3 file |
| Een storing in de PC wannee u de speleraansluit en loskoppelt. | De speler worden plotseling losgekoppeld van de computerijdens fileoverdracht. | Koppel de speler zich los van de computerijdens fileoverdracht. |
| Het totale geheugenweergeveen op de spelerkomt zich overeen met de aangegeven capaciteit. | Het geheugen worden gedeelelijk gekruikt om programma's op te slaan en karakters wee ter given. | |
| Sommige MP3 files kūnneiet Niet goed afgespeeld worden. | De MP3 file is gecompresseerd door een standaard, zoals MPEG I Layer 1 of Layer 2 wat de speler zich ondersteunt. | 1. Wis de Niet-ondersteunde MP3 files.2. Gebruik standard MPEG I Layer 3 voor compressie van de Niet-ondersteunde MP3 files. |
| De video kan Nietweergeveen worden. | Het fileformaat is zich ondersteund. | Zorg ervoor dat de video in AVI formaat is. Zoniet, gebruik de verstreaktesserversiossoftware om het te converteren. |
| De videogegevens zich corrupt. | Sla het over of laad een andere file opnieuw. | |
| Deoto kan Niet wordengetoond. | Het bestand format worden Niet ondersteund | Probeer een image editor (ACDSee bijvoorbeeld) te gebruiken om het te converteren. Zie "Appendix - Converterafbeeldingsbestand" voormeer informatie. |
| Het beeld resolutie is beperkt voor dit apparaat. | Het apparaat ondersteunt een maximale resolutie van 3520 X 2816. Zorg ervoor dat deresolutie van het beeld dezebeperking Niet te buiten gaat. | |
| De TXT file kan Nietgelezen worden. | Het fileformaat is zich ondersteund. | Sla het over of laad een andere file opnieuw. |
19 Technische specificaties
| Onderwerp | Specificatie |
| Capaciteit 128MB of hoger | |
| Batterijtype Oplaadbare Lithium | Batterij |
| Levensduur van batterij Ca. 5 Uur | |
| LCD Display 1,8-inch TFT scherm | |
| Vermogen van Oortelefoon 5mW+5Mw | |
| Videoformaat | AVI (XviD) |
| Audioformaat | MP3, WMA |
| Fotoformaat | JPEG |
| Afbeeldingresolutie 3520 X 2816 (Max.) | |
| Bitsnelheid MP3: 8-320kbps; WMA: 32-384kbps | |
| SNR | >90dB |
| USB Poort USB2.0 | |
| Bedrijfstemperatuur | 0°C ~ +55°C |
| Bewaartemperatuur | -20°C ~ +55°C |
| Operationele Relatieve Luchtvochtigheid * | 20% ~ 90% (40°C) |
| Relatieve Luchtvochtigheid voor Opslag * | 20% ~ 93% (40°C) |
20 Opmerking
- Zorg ervoor dat alle sleutels zijn ingeschakeld voor operation. Indien zich vergrendeldঃn, hou de PLAY/PAUSE knop ingeklikt en VOL knop om ze te ontgrendelen.
- Laadt de batterij metteen wanneer de display lage batterij aangeeft, of het apparaat za automatisch worden uitgeschakeld.
- Het apparaat garandeert Niet te werknen met alle geheugen kaarten van verschillende fabrikanten.
- Sluit de verbinding van de speler met de PC correct af om data verlies te voorkomen.
- De transfer snelheid vertoont op de PC kan verschillen afhankelijk van het besturings system. Exact transfer snelheid is onderheving aan de spelers individie.
- Wanner de opname spreak bestand is te groot, het antwoord van het apparaat kan traag�.
Appendix - Omvorming beeld bestand
Omvormen stappen:
① Start het ACDSee programme, selecteer het beeld dat u wilt omvormen, en klik "Tool"
"Convert"

② Selecteer "JPG JPEG JFIF Format" en klik dan"Options".

③ Deselecteer de opties omcirkeld in rood en klik dan op de "OK" button om te bevestigen.

DIFRNCE kan nicht aansprakelijk gesteld worden voor defecte producten als gevolg van misbruik, verkeerde installmentie of ander oneigenlijk gebruik.
SimpelGids