DO924DV - Vriezer DOMO - Gratis gebruiksaanwijzing en handleiding
Vind de handleiding van het apparaat gratis DO924DV DOMO in PDF-formaat.
Gebruikersvragen over DO924DV DOMO
0 vraag over dit apparaat. Beantwoord die u kent of stel uw eigen vraag.
Stel een nieuwe vraag over dit apparaat
Download de handleiding voor uw Vriezer in PDF-formaat gratis! Vind uw handleiding DO924DV - DOMO en neem uw elektronisch apparaat weer in handen. Op deze pagina staan alle documenten die nodig zijn voor het gebruik van uw apparaat. DO924DV van het merk DOMO.
GEBRUIKSAANWIJZING DO924DV DOMO
Al once producten ondergaan steeds een strenge kwaliteitis controle, alvorens ze aan je worden aangeboden. Mocht je desondanks toch nog problemen hebben met jouw toestel, dan betreuren wij dit ten zeerste. In dat geval verzoeken wij je contact op te nemen met once klantendienst.
Onze medewerkers zullen je met plezier verder helpen.

+32 1/4 217191

info@linea2000.be
Maandag - Donderdag : 8.30u – 12.00u en van 13.00u – 17.00u
Vrijdag: 8.30u - 12.00u en van 13.00u - 16.30u
Dit apparaat heeft een garantietermijn van 2aar vanaf de datum van aankoop. Gedurende de garantiperiode zal de distributeur volledige verantwoording op zich nemen voor gebreken die aanwijsbaar berusten op materiaal- of constructiefouten. Wanner dergelijke gebreken voorkomen, zar het apparaat, indien nodig,ervangen of gerepareerd worden. De garantiperiode van 2aar zar op dit moment Niet terug beginnen, maar loopt verdter tot 2aar na de aankoop van het toestel. De garantie wordt verleend op basis van het kassaticket. Indien je apparaat defect is binnen de garantietermijn van 2aar, dan mag je het toestel samen met het originele kassaticket binnenbrengen in de winkel waar je het toestel hebt aangekocht.
De garantie op accessoires en onderdelen die onderhevig zich aan slijtage, bedraagt 6 maanden.
De garantie en verantwoordelijkheid/aansprakelijkheid van de leverancier en fabrikant verwallen automatisch in de volgende gezallen:
Bij het Niet naleven van de instructies in deze handleiding.
Bij verkeerde aansluiting, vb. te hoge elektrische spanning.
Bij verkeerd, hardhandig of abnormaal gebruik.
Bij onvoldoende of verkeerd onderhoud.
Bij herstellung of wizziging van het toestel door de consument of nicht gemachtigde derden.
- Bij gebruik van onderdelen of accessoires welke nicht worden aanbevolen of geleverd door de leverancier / fabrikant.
VEILIGHEIDSVOORSCHRIFTEN
Lees alle instructies voor gebruik.
- Dit toestel mag gebruikt worden door kinderen vanaf 16aar en ouder, en door personen met een fysieke of sensoriële beperking of mensen met een beperkte mentale capacititeit of gebrek aan ervaring of kennis, op voorwaarde dat deze personen toezicht krijgen of instructies hebben gekregen over het gebruik van het toestel op een veilige manier en dat ze ook de gezaren kennen bij het gebruik van het toestel.
- Kinderen mogen nicht met het toestel spelen.
- Onderhoud en reiniging van het toestel mogen Niet gebeuren door kinderen, tenzij ze ouder zich dan 16aar en toezicht krijgen. Hou het toestel en het snoer buiten het bereik van kinderenjonger dan 16aar.
- Dit toestel is geschikt om te gebruiken in de huishoudelijkke omgeving en in gelijkaardige omgevingen zoals:
Keukenhoek voor personneel van winkels, Kantoren en andere gelijkaardige professionele omgevingen
Boerderijen
Hotel- en motelkamers en andere omgevingen met een residentieel karakter
Gastenkamers, of gelijkaardige
- Opgelet: het toestel mag Niet gebruikt worden met een externe timer of een aparte afstandsbediening.
- Kijk voor gebruik na of het voltage vermeld op het toestel overeenkomt met het voltage van het elektriciteitsnet.
- Laat het snoer Niet op een heet oppervlak of over de rand van een tafel of aanrecht hangen.
- Gebruik het toestel nooit wanner het snoer of de stekker beschadigd is, na een slechte werkking van het toestel of wanner het toestel beschadigd is. Breng het toestel dan maar het dichtsbijzijdige gekwalificeerde service center voor nazicht en reparatie.
- Streng toezicht isoodzakelijk wonneer het toestel door of in de buurt van kinderen gebruikt worden.
- Het gebruik van accessoires die nicht aanbevolen of verkocht worden door de fabrikant, kan brand, elektrische schokken of verwondingen veroorzaken.
- Trek de stekker uit het stopcontact wonneer het toestel Niet in gebruik is, vooraleer onderdelen te monteren of demonteren en Vooraleer het toestel te reinigen. Trek de stekker bij de stekker zich uit het stopcontact. Trek nooit aan het snoer om de stekker uit het stopcontact te trekken.
Zet dit toestel nooit op of in de buurt van een gasvuur of elektrisch vuur of op eenplaats waar het in contact zou=kennen met een warm toestel. - Gebruik het toestel Niet buiten.
- Gebruik het toestel enkel voor het doel waarvoort het bestemd is.
-
Gebruik het toestel.altijd op een stevig, droog, effen oppervlak.
-
De fabrikant is nicht verantwoordelijk voor ongelukken die een gevolg zijn van verkeerd gebruik van het toestel, of het Niet naleven van de regels zoals ze vermeld� in deze handledeiding.
Alle herstellingen, buiten het gewone onderhoud van het toestel, moeten uitgevoerd worden door de fabrikant of zichdienst na verkoop. Probeer het toestel nooit zich te repareren.
Dompel het toestel, het elektrisch snoer of de stekker nooit onder in water of een andere vloeistof.
Zorg ervoor dat kinderen het elektrisch snoer Niet konnen aanraken. - Hou het snoeruit de buurt van scherpe randen en hete onderdelen of andere warmtebronnen.
- Verwijder voor het eerste gebruik alle verpakkingsmaterialen en eventuele promotionele stickers.
- Hou de ventilatie-openingen vrij, zorg ervoor dat ze Niet versperd of belemmerd়n.
- Gebruik geen andere elektrische toestellen in de koelkast, tenzig ze voor dit doel zijn goedgekeurd door de fabrikant.
- Bewaar geen explosieve stoffen in het toestel, zoals bijvoorbeeld spuitbussen met brandhaar vrijf gas.
Zorg ervoor dat het koelcircuit Niet beschadigd raakt, bv.ijdens transport of installment.
Zorg ervoor dat de stekker Niet geplet wordt of beschadigd raakt door de achechterkant van het toestel. Dit kan oververhitting en bijgevolg brand verooorzaken.
Zorg ervoor dat je toegang hebt tot de stekker van het toestel.
Trek Niet aan het snoer. - Als het stopcontact los zit, steek de stekker dan Niet in het stopcontact. (risico op elektrische schok of brand)
- Dit toestel is zwaar. Wees voorzichtigijdens het verplaatsen ervan.
Vermijd langeblootstellingaanzonlicht.
ONDERDELEN
- Temperatuurregelaar
- Laden
- Stelvoetjes

INSTALLATIE
- Verwijder alle verpakkingsmaterialial, zowel binnenin als aan de buitenkant. Maak de buitenkant van het toestel schoon met een droge doeck. De binnenkant kan je reinigen met een zachte, vochtige doeck.
- Vermijd direct zonlicht en warmte. Zonlicht kan de buitenkant van de diepvriezer aantasten. Warmte zal voor een hoger verbruik zorgen.
Vermijd een te hoge vochtigheidsgraad. - Controller voordat je de dievriezer op de netvoeding aansluit of de spanning op het typeplaatje van het apparaat overeenstemt met de spanning bij je thus. Een andere spanning kan het apparaat beschadigen.
- De stekker is de enige manier om het apparaat van de voeding te ontkoppelen, zorg dat deze algijd makkelijk bereikbaar is.
Zorg ervoor dat de lucht vrij rond de diepvriezer kan circuleren. Om ervoor te zorgen dat je het toestel Niet helemaal gegen de muur kan duwen, zich er spacers voorzien. Schroef.Deze vast aan dechterzijde van de diepvriezer.

Voor oneffen oppervlakken konnen de voorste stelvoetjes op een lijn worden gebracht.

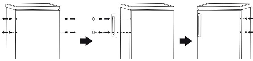
Installer de handgreep.

Laat het toestel 2 uur staan Vooraleer het aan te zetten. Zo kan het koelmiddel zich zetten.
- Laat het apparaat gedurende 6 uur werken zonder levensmiddelen zodate de kast tot de gegaste temperatuur afkoelt.
DRAAIRICHTING VAN DE DEUR WIJZIGEN
De diepvriezer heeft een omkeerbare deur. Als je de scharnieren van de deur waar de andere kant wil brengen, is het aanbevolen om contact op te nemen met een erkende reparateur om hem het werk te lately uitvoeren. Voordat je de draairichting wijzigt, controller of de stekkeruit het stopcontact is gehald en dat het apparaat leeg is.
- Verwijder de schroeven achteraan het bovendeksen.

- Haal het bovendeksel en de temperatuurregelaar van de diepvriezer af.

- Verwijder de schroeven enervolgens de bovenscharnier die de deur op+zijnplaats houdt. Til de deur op enplaats deze op een zacht oppervlak om krassen te vermijden.

- Verwijder de onderste schroef, scharnierbeugel en het stelvoetje onderaan het apparaat.

- Maak de scharnierpin los van de scharnierbeugel. Keer de beugel om en kaak de pin waar vast.

- Bevestig de schroeven, scharnierbeugel en het stelvoetje aan de andere kant van de bodem.

- Zet de deur voorzichtig op+zijn plaats. Zorg dat de deur zowel horizontal als verticaal is uitgelijnd zoat de afdichtingen op alle zichden gesloten+zijn voordat je het bovenste scharnier volledig vastmaakt. Breng de scharnier terug en schroef vast op de bovenkant van het apparatusat.

- Plaats het bovendeksen terug en kaak het met behulp van de schroeven vast.

- Plaats de temperatuurregelaar terug.

- Als het apparaat voor welke reden dan ook worden uitgeschakeld, wacht 10 minutes voordat je het opnieuw inschakelt. De druk in het koelsysteme dampent eerst te worden gestabiliseerd.
Schakel het apparaat uit en haal de stekker uit het stopcontact. Verwijder alle levensmiddelen. Verwijder tevens alle mobiele onderdelen (laden, accessoires, etc.) of maak ze vast om schokken te vermijden. - Verplaats het apparaat en installerleer. Als het apparaatijdens het verplaatsen op zijn zijde werk gehonden, zichs al was dit zeer kort, maar het apparaat minstens 10 Minutes in de rechtopstaande positie staan voordat je het apparaat inschakelt.
- De diepvriezer gebruikt isobutaan (R600a) als koelmiddel. Niettegenstaande dat R600a een milieuvriendelijk en naturelijk gas is, is het explosief. Wees dus zeer voorzichtigijdens het verplaatsen of installereren van het apparaat om schade aan de koeelementen te vermijden. In geval van eenlek dat werd veroorzaakt door schade aan de koeelementen, haal de diepvriezer weg van open vlammen of warmtebronnen en verlucht de kamer waar het apparaat zich in bevindt enkele Minutes.
GEBRUIK
TEMPERATUURREGELING
Je kan de temperatuur van de vriezer instellen maar wens. Er zijn drie verschillende standen waarvan MIN de warmste en MAX de koudste.
- De werkingsstijd en -temperatuur worden beinvloed door deplaats waar de diepvriezer worden gebruikt, het,aantal keer de deur worden geopend en de temperatuur van de kamer waar de diepvriezer zich in bevindt.
- Wanneer je het apparaat in gebruik neemt of na het ontdooien van het apparaat, stel de regelaar gedurende minstens 2aar op

de koudste stand in voordat je levensmiddelen inbrengt en stel verwolgens de gewenste temperatuur in.
LEVENMIDDELEN IN DE DIEPVRIEZER INVRIEZEN EN BEWAREN
Gebruik de diepvriezer:
- Om diepgevroren levensmiddelen te bewaren.
- Om ijsblokjes temaken.
- Om levensmiddelen in te vriezen.
Opmerking: Zorg dat de deur van de diepvriezer.altijd juist gesloten is. Open de deur van de diepvriezer alleen indien nodig.
Diepvriesproducten kopen
- De verpakking mag Niet beschadigd zich.
-
Gebruik binnen de minimale houdbaarheidsdatum.
-
Indien möglichk, Transporteer diepgevroyen levensmiddelen in een thermische tas en plaats de levensmiddelen snel in de diepvriezer.
Vers voedsel invriezen
Vries alleen vers en onbeschadigd voedsel in. Om de best möglichke voedingswaarde, smaak en kleur te behouden, blancheer groenten voordat je ze invriest.
Aubergines, paprika's, courgettes en asperges要去en nicht worden geblancheerd.
Opmerking: Houd de in te vriezen levensmiddelen uit de buurt van levensmiddelen die reeds ingevroren zijn.
- De volgende levensmiddelen zijn geschikt om in te vriezen: Cakes en gebak, vis en schaal-en schelpdieren, vlees, wild, pluiimvee, groenten, fruit, specerijen, eieren zonder schaal, zuivelproducten zoals kaas en boter, kant-en-klaar gerechten en etensrestjes zoals soep, stoofschotels, gekootkt vlees en vis, aardappelgerechten, soufflés endesserts.
- De volgende levensmiddelen zijn nicht geschikt om in te vriezen: Groenten die over het algemeen rauw worden gegeten zoals sla, radijzen, eieren in de schaal, druiven, appels, peren en perziken, hardgekookee eieren, yoghurt, zure melk, zure room en mayonnaise.
Diepvriesproducten bewaren
Om te vermijden dat levensmiddelen hun smoak verliezen of uitdrogen, steek ze in een luchtdichte verpakking:
- Plaats de levensmiddelen in de verpakking.
- Verwijder alle lucht.
- Dicht de verpakking af.
- Label de verpakking met de inhoud en datum van invriezen.
Gepaste verpakking: Plastic folie, buisfolie van polyethyleen, aluminiumfolie of houders geschikt voor in de diepvriezer.
Aanbevolen bewaartijden van diepvriezerproducten in de diepvriezer
Dezeijdnen können verschillen naargelang het soort voedsel. De ingevroren levensmiddelen können:tussen 1 en 12 maanden worden bewaard (minimum op -18°C).
| Levensmiddel | Bewaartijd |
| Spek, stoofschotels, melk | 1 maand |
| Brood, roomijs, worst, erwten, bereide schelpdieren, vette vis | 2 maanden |
| Niet-vette vis, schelpdieren, pizza, scones en muffins | 3 maanden |
| Ham, cakes, koeken, rundvlees en lamskoteletjes, stukken pluimvee | 4 maanden |
| Boter, groenten (geblancheerd), volledig ei en dooiers, gekooke rivier-kreeften, gehakt (rauw), varkensvlees (rauw) | 6 maanden |
| Fruit (droog of in siroop), eiwit, rundvlees (rauw), volledigekip, lamsvlees (rauw), fruitcakes | 12 maanden |
Nooit vergeten:
- Als je verse levensmiddelen met een minimale houdbaarheidsdatum invriest,要去je deze voor het verstreijken van deze datum invriezen.
- Controller of de levensmiddelen vroeger reeds Niet werden ingevroen. Ingevroen levensmiddelen die volledig ontdooid zich,ogens Niet opniew worden ingevroen.
- Eenmaal ontdooid, eet de levensmiddelen snel op.
REINIGING EN ONDERHOUD
REINIGING
Gebruik geen agressieve schoonmaakmiddelen of oplosmiddelen.
- Trek de stekker uithet stopcontact.
- Haal de levensmiddelen uit de vriezer en berg deze in een koele ruimte op.
- Maak het apparaat schoon met een zachte doek, warm water en een mild schoonmaakmiddel.
- Reinig de deurdichting alleen met schoon water en veegervoigens grondig af.
- Na reiniging, stek de stekker in het stopcontact en stel de temperatuurregelaar op de gewenste positie in.
- Plaats de levensmiddelen opniew in het apparaat.
ONTDOOIER
Een ijslaag in de diepvriezer heeft een negatieve impact op de koeling van de ingevroren levensmiddelen en leidt tot een hoger stroomverbruik. Verwijder de ijslaag regelmatig.
Schraap het ijst Niet af met een mes of suntig voorwerp. De koelbuizen konnen beschadigd worden.
- Haal de ingevroren levensmiddelen uit de diepvries en plaats ze tijdelijk in een koele ruimte.
- Haal de stekker uithet stopcontact.
- Om het ontdoopproces te versnellen,plaats een pan met warm water op een staander in de diepvries.
- Veeg de condensatie weg met een doek of sponsors.
- Veeg het toestel droog.
- Steek de stekker in het stopcontact en stel de temperatuurregelaar op de gewenste positie in.
- Plaats de ingevroren levensmiddelen opnieuw in de diepvries.
VAKANTIE
Wanneer je voor een korte periode opvakantieGaat,kan je het toestel ingeschakeld lately.
Wanneer je voor een langere periode opvakantieGaat,doe je best het volgende :
- Haal al het voedsel UIT de diepvriezer.
- Verwijder de stekkeruit het stopcontact.
- Reinig de diepvriezer grondig.
- Laat de deur open om schimmelvorming en slechte geuren te vermijden.
STROOMPANNE
- De meeste stroompannes worden hersteld in 1 of 2 uur en zullen de temperatuur van de diepvriezer Niet veranderen. Je要去 het openen van de diepvriesdeur tot een minimum beperkenijdens een stroompanne.
- Tijdens een langere stroompanne要去 je maatregelen nemen om het voedsel te beschermen, bv. door droog ij's op het voedsel te leggen.
- Bevroren levensmiddelen blijven goed als de stroomuitval nicht langer dan 15 uur duurt. Vries bevroren levensmiddelen die volledig ontdooid zijn nicht opnieuw in. De levensmiddelen können uw gezondheid schaden.
PROBLEMEN EN HUN OPLOSSINGEN
Wanner er zich een probleem voordoet met jouw vriezer, controlleren dan even onderstaande vragen alvorens contact op te nemen met unsere verkoop Dienst.
Toestel werkt nicht.
- Het toestel krijgt geen stroom, controller of de stroomtoevoer in orde is.
- Controller of de stekker in het stopcontact steekt.
- Controller of de juiste voltage is gebruikt.
Het toestel vriest te hard.
- De temperatuur is te koud ingesteld. Stel de temperatuur wat warmer in.
Het eten is Niet bevroren.
- De temperatuur is nicht correct ingesteld. Stel de temperatuur opniew in.
- De deur heeft te lang open gestaan. Open de deur enkel als het nodig is.
- Het toestel staat te kort bij een warmtebron.
Ijsvorming op de zichting van de deur.
- De dichting van de deur sluit Niet volledig. Ontdooi het ijsp de dichting en vorm met de hand het rubber terug zodat de deur volledig sluit.
Ongewone geluiden.
- Het toestel raakt een wand of een ander object. Verplaats zachtjes het toestel.

Dit symbol op het product of op de verpakking wijst erop dat dit product Niet als huishoudafval mag worden behandeld. Het要去 een plaats worden gebracht waar elektrische en elektronische apparatuur wordt gerecycleerd. Als je ervoor zorgt dat dit product op de correcte manier worden verwijderd, voorkom je maybeijk voor mens en milieu negatieve gevolgen die zich zouden+kunnen voordoen in geval van verkeerde afvalbehandeling. Voor更是 details in verband met het recycleren van dit product, neem je best contact op met de gemeentelijk instanties, het bedrijf of de diest belast met de verwijdering van huishoudafval of de winkel waar je het product hebt gekocht.

Het verpakkingsmaterialiaal is recycleraar. Behandel de verpakking milieubewust.
Cher client,
SimpelGids