WIZARD-4 - Podiumverlichting JBSYSTEMS LIGHT - Gratis gebruiksaanwijzing en handleiding
Vind de handleiding van het apparaat gratis WIZARD-4 JBSYSTEMS LIGHT in PDF-formaat.
Gebruikersvragen over WIZARD-4 JBSYSTEMS LIGHT
0 vraag over dit apparaat. Beantwoord die u kent of stel uw eigen vraag.
Stel een nieuwe vraag over dit apparaat
Download de handleiding voor uw Podiumverlichting in PDF-formaat gratis! Vind uw handleiding WIZARD-4 - JBSYSTEMS LIGHT en neem uw elektronisch apparaat weer in handen. Op deze pagina staan alle documenten die nodig zijn voor het gebruik van uw apparaat. WIZARD-4 van het merk JBSYSTEMS LIGHT.
GEBRUIKSAANWIJZING WIZARD-4 JBSYSTEMS LIGHT
OPGELET: GEVAAR! stel de lens nooit bloat aan direct zonlicht, zichs gedurende een korteperiode. Dit kan het toestel beschadigen en zichs brand verroorzaken!
NL-VERWIJDEREN VAN HET APPARAAT
Verwijder het toestel en de gebruekte batterijen op een milieuvriendelijkme manier conform de in uw land geldende voorschriften.
Hartelijk dank voor de aankoop van dit JB Systems® product. Om ten volle te kunnen profiteren van alle mogelijkheden en voor uw eigeneilighed, gelieve de aanwijzingen zeer zorgvuldig te lezen voor U begint het apparaat te gezruiken.
DOOR U OP ONZE MAILINGLIJST IN TE SCHRIJVEN ONTVANGT U STEEDS DE LAATSTE INFORMATIE OVER ONZE PRODUKTEM: NIEUWIGHEDEN, SPECIALE ACTIES, OPENDEURDAGEN, ENZ.
SURF NAAR: WWW.BEGLEC.COM
KARAKTERISTIEKEN
In dit apparaat is radio-interferentie onderdrukt. Dit product voldoet aan de gangbare Europese en nationale voorschriften. Het is vastgesteld dat het apparaat er zich aan houdt en de desbeteffende verklaringen en documenten zijn door de fabrikant afgegeven.
- Het toestel is ontworpen om decoratieve licheffecten te produceren en kan eventueel worden gebruikt in Lichtshows.
- Dit is een fantastisch effect op basis van 2 RGB LED's van 3Watt
Vult de ruimte met krachtige en scherpe laserachtige gekleurde stralen - Zeer heldere kleuren in vergeling met halogeenlampen
- Geen lampen te verrangen!
- Bijna geen warmteontwikkeling en een zeer laag verbruik
- Uitgerust met een dimfunctie en een uiterst snelle stobe functie
-
Zeer goede ingebouwde programma's voor prachtige gevarieerde Licht shows:
-
DMX sturing: via 1 kanaal voor een eenvoudige sturing of via 3 kanalen voor een volledige controle
- Autonome werking: muziekgestuurd via de ingebouwde microfoon
- Master/slave: prachtige synchrone shows
-
CA-8 afstandbediening optioneel verkrijgbaar
-
Menu display met 4 karakters
-
Voedings- in/uitgangen via IEC aansluitingen zodate u de toestellen via optionele IEC kabels kurz doorverbinden
- Perfect verschillende toepassingen: in discotheken, clubs, mobiele DJ's, ...
Controleer voor het eerste gebruik van het apparaat of hetijdens het transport beschadigd werk. Mocht er schade+zijn, gebruik het dan Niet, maar raadpleeg eerst uw dealer.
Belangrijk: Dit aparaat verliet de fabrik in uitstekende staat en goed verpakt. Het is erg belangrijk dat de gebruiker de veiligheidsaanwijzingen en raadgevingen in deze gebruiksaanwijzing uiterst nauwkeurig volgt. Elke schade veroorzaakt door verkeerd gebruik van het aparaat valt net onder de garantie. De dealer aanvaardt geen verantwoordelijkheid voor mankindementen en problemen die komen door het veronachtzamen van deze gebruiksaanwijzing.
Bewaar deze brochure op een veilige plaat om hem in de toekomst nogmaals te konnen raadplegen. Indien U het apparaat verkoopt, denkt U er wel aan om de gebruiksaanwijzing bij te voegen.
Controleer de inhoud:
Controller of de doos volgende onderdelen bevat:
- Handleiding
GENIUS-2 of WIZARD-4 - Voedingskabel
VEILIGHEIDSVOORSCHRIFTEN:

CAUTION
RISK OF ELECTRIC SHOCK DO NOT OPEN

WAARSCHUWING: Om het risico op elektrocutie zoveel möglich te vermijden mag u nooit de behuizing verwijderen. Er bevinden zich geen onderdelen in het toestel die u zich kan herstellen. Laat de herstellingen enkel uitvoeren door een bevoegde technicus.

De blikksempijl die zich in een gelijkbenige driehoek befindt is bedoeld om u te wijzen op het gebruik of de aanweizgeid van Niet-geisoleerde onderden met een "gevaarlijke spanning" in het toestel die voldoende kracht hebigt om een risico van elektracutie in te houden.

Het uitroepteken binnen de gelifkbenige driehoek is bedoeld om de gebruiker erop te wijzen dat er in de meegeleverde literatuur beschrijke gebruik en onderhoudsinstructies vermeld staan betreffende dit onderdeel.

Dit symbol betekent: het apparaat mag enkel binnenhuis worden gebruikt.

Dit symbol betekent: Klasse I apparaten
Dit symbolism bepaalt: de minimumafstand van te belachten voorwerpen. De minimumafstandCUSSEN projector en het verlichte voorwerp要去eer dan 0,5 meter bedragen.

Het toestel is geschikt om gemonteerd te worden op standard ontvambare oppervlakten. Standaard ontvambare oppervlakten omvatten bouwmaterialien zoals hout en houtbevattende materialien van meer dan 2mm dik
- Bescherm het milieu, probeer zoveel möglich het verpakkingsmateriaal te recycleren.
- Stel dit apparaat Niet bloot aan regen of vocht, dit om het risico op brand en elektrische schokken te voorkomen.
- Om de vorming van condensatie binnenin te voorkomen, waar het apparaat aan de omgevingstemperatuur waren wonneer het, na het transport, maar een warm vertrek is overgebracht. Condensatie kan het toestel soms verhinderen perfect te functioneren. Het kan soms zichs schade aan het apparaat toebrengen.
- Gebruik dit apparaat uitsluitend binnenshuis.
- Plaats geen stukken metaaal en mors geen vocht binnen in het toestel om elektrische schokken of storing te vermielen. Indien een vreemd voorwerp in het apparatusaat geraakt,要去 U het direct van het lichtnet afkoppelen.
- Plaats de installment op een plaat met goede ventilatie, ver van brandbare materialien en/of vloeistoffen. De installment要去 minstens 50~cm van de muren rondon geplaatst worden.
- Bedek geen enkele ventilatieopening om oververhitting te vermijden.
- Zorg dat het toestel Niet in een stoffige omgeving worden gebruikt en kaak het regelmatig schoon.
- Houd het apparaat UIT de buurt van kinderen.
- Dit apparaat mag Niet door onervaren Personen bediend worden.
- De maximum veilige omgevingstemperatuur is 40^ . Gebruik het apparaat dus nicht bij hogere temperaturen.
- Verzeker er U van dat er zich onder deplaats waar het toestel worden geinstalleerd geen ongewenste personen bevindenijdens het bevestigen en losmaken alsook bij het onderhoud.
- Trek altijd de stekker uit wanner het apparaat gedurende langere tijd Niet worden gebrukt of alvorens te beginnen met de onderhoudsbeurt.
- De elektrische installmente behoort uitsluitend uitgevoerd te worden door bevoegt personeel, volgens de in uw land geldende regels betreffende elektrische en mechanische verilgheid.
- Controller dan die aangegeven op dechterzijde van het toestel.
- De elektrische kabel behoort altijd in uitstekende staat te zich. Zet het apparaat onmiddelijk af als de elektrische kabel gekneusd of beschadigd is. De kabel要去vangen worden door de fabrikant zich, zijn dealer of vergelijkbare bekwame personen om een brand te voorkomen.
- Laat de elektrische draad nooit in contactkommen met andere draden.
- Volgens de veiligheidsvoorschriften要去 deze installmentie geaard worden.
- Sluit het apparaat Niet aan op een elektronische dimmer.
-
Gebruik als dem gebrachten und die gebrachten gehalt.
-
Om elektrische schokken te voorkomen,要去 U de behuizing Niet openen. Er zitten geen onderdelen in het toestel die door de gebruiker要去en onderhoven.
- Repareer nooit een zekering en overbrug de zekeringhouder nooit. Vervang een beschadigde zekering steeds door een zekering van hetzelfde type en metdezelfde elektrische kenmerken.
- In geval van ernstige problemen met het bedieren van het toestel, stopt U onmiddelijk het gebruik ervan. Contacteer uw dealer voor een eventuele reparatie.
- De behuizing en de lenzen要去en verrangen worden als ze zichtaar beschadigd zijn.
- Gebruik best de originele verpakking als het toestel vervoerd moet worden.
- Om veiligheidsredenen is het verboden om wijzigingen aan het toestel aan te brengen.
Belangrijk: Kijk nooit rechtstreeks in delichtbron. Gebruik het lichteffect Niet in aanwezigheid van personen die lijden aan epilepsie.
BESCHRIJVING:

- Voedingsingang met IEC aansluiting en ingebouwde zekeringhouser: sluit hier de meegeleverde voedingskabel aan.
- Voedingsuitgang met IEC aansluiting: hier kunt u via een speciale IEC stroomkabel een andere GENIUS-2 / WIZARD-4 van stroom voorzien. Ermighten max 17 van deze toestellen gelinkt worden
- DMX ingang
- DMX uitgang
- 14 " Jack aansluiting voor de optionele CA-8 hand controller
- Ingebouwde microfoon
- Ophangbeugel met 2 spanknoppen waarop een universele montagehaak kan bevestigd worden.
- Optische lenzen: de GENIUS-2 is uitergerust met 14 lenzen, de WIZARD-4 met 28 lenzen
- Veiligheidsring: bevestig hier de optionele veiligheiskabel
- Slave LED: is aan wanner het toestel in slave modus staat
- Sound LED: knippert op het ritme van de muziek wanner het toestel in audio modus werkst
- DMX LED: is aan wanner het toestel een DMX signal ontvangt
- Master LED: is aan wanner het toestel als master werkkt
- MENU toets: worden gebrukt om in de verschillende menu's te overlopen
- DOWN toets: om het menuchterwaarts te overlopen of om de waarden op de display te verlagen.
- UP toets: om verder te gaan in het menu of om de waarden op de display te verhogen.
- ENTER toets: worden gebruikt om uw keuze te bevestigen.
- DISPLAY geeft de verschillende menu's en selecties weeer.
OPHANGEN VAN HET APPARAAT
- Belangrijk: De installmentie van het toestel mag uitsluitend door bekwaam onderhoudspersoneeel uitgevoerd worden. Onjuiste plaatsing kan ernstige letsels en/of schade aan eigendommen tot gevolg hebben. Het ophangen vergt veel ervaring. U behoort de grenzen te respecteren aan de
werklast; erkende installereringmaterialen moeten worden gebruikt; de verilgheid van het geinstalleerde toestel要去 regelmatig worden gecontroleerd.
- Overtuig U ervan dat het gebied onder installmentieplaats vrij is van ongewenste Personenijdens hetplaatsen, het weghalen en het onderhoud.
- Installer het toestel op een goed geventileerde plaat, ver van brandbare stoffen en/of vloeistoffen. Het toestel moet worden bevestigd op minstens 50~cm van de omringende muren.
- Het toestel moet worden geinstalleerd buiten het bereik van iedereen en weg vanplaatsen waar men mag lopen en zitten.
- Alvorens totplaatsen over te gaan, moet men controlleren dat de minimum puntbelasting van de installmentieplaats 10 keer het gewicht van het toestel bedraagt.
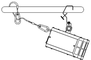
- Gebruik bij het installereren van het toestel altdijd een gewaarmerkte veiligheidskabel die 12 keer het gewicht
van het toestel kan dragen. Deze bijkomende veiligheidsbevestiging moet zo worden aangebracht dat geen deel van het toestel meer dan 20 cm vallen kan als de hoofdbevestiging fault.
- Het apparaat moet goed worden vastgezet; aan een vrij zwaaiende montage mag zichs Niet gedacht worden.
- Bedek geen ventilatieopengen, anders zou dit oververhitting tot gevolg können haben.
- De gebruiker moet er zich van verzekeren dat de installations met betrekking tot de verilghend en de technische mechanismiek door een expert+zijn goedgekeurd alvorens ze voor de eerste

keer te gebruiken. Elk waar moeten de installations worden gekeurd door een vakman om te controleren of de veilighheid nog steeds perfect is.
ELEKTRISCHE INSTALLATIE + ADRESSERING
Belangrijk: De elektrische installment zou alleen uitgevoerd要去en worden door een bekwaam person volgens de voorschriften voor elektrische en mechanische verilgheid in uw land.
Electrishe installment van 1 standalone toestel:
- Verbind gewoon de stroomkabel met het net. Het toestel start onmiddelijk op in stand-alone mode.
Opmerking1: u kunt een CA-8 remote controller aansluiten indien u een betere controle over het toestel wilt hebben. Zie "how to operate the unit".
Opmerking2: indien er niets gebeurt要去 controlleren of het toestel wel degelijk in master mode staat, (zie vorig hoofdstuk)
Electrische installment van 2 ofeer toestellen in master/slave:
- Verbind 2 tot maximum 16 tostellenden met mekraar door middel van symmetrische microloonkabels van goede kwaliteit. Zet het eerste toestel in Master Mode, alle andere tostellenden要去en in slave mode (SL1 of SL2) staan. Zie voor hoofdstuk voor meer informatiek.
- Controller of alle toestellen op het stroomnet zich aangesloten.
Klaar!
Opmerking: u Aunt een CA-8 remote controller op het 'Master' toestel aansluiten indien u een betere controle over het toestel wenst te hebben.
Electrische installment in DMX modus
- Het DMX-protocol is een breed gebruikt hogesnelheidssignal om lichtuitrustingen te bedieren. U moet uw DMX bediening en alle units met een gebalanceerde kabel van goede kwaliteit doorverbinden.
- Zowel de XLR-3pin als XLR-5pin connector worden gebruikt, darüber de XLR-3pin is populairer want\ davon\ ); Zowel de XLR-3pin als XLR-5pin connector worden gebruikt, darüber de XLR-3pin is populairer want\ davon\ );\ Pin layout XLR-3pin: Pin1 = GND ~ Pin2 = Negatif signala (-) ~ Pin3 = Positief signala (+) Pin layout XLR-3pin: Pin1 = GND ~ Pin2 = Negatif signala (-) ~ Pin3 = Positief signala (+) ~ Pins4+5 nicht in gebruik.
- Om vreeed gemrag van de lichteffecten, verroorzaakt door storing, te voorkomen, moet u een aflsuitweerstand van 90 tot 120 aan het eind van de keten gebruiken. Gebruik nooit een Y-splitkabel, dit zal eenvoudig Niet werken!
- Weet zeker dat alle units op hetlichtnetং aangesloten.
- Elk lichteffect in de keten heeft een eigén DMX startadres nodig zodat het weet

welke commando's van de bediening het moet ontcijferen. In de volgende sectie za u leren hoe het DMX adres in te stellen.

HOE HET CORRECTE STARTADRES INSTellen:
In het volgende hoofdstuk worden beschreiben hoe u het adres op dit toestel moet instellen (DMX-512 adres instellen). Het startadres van elk toestel is zeer belangrijk. Het is erchter onmogelijk u mede te delen weik start adres u zou要去en gebruiken aangezien dit volledig afhangt van de controller die u gaat gebruiken... Gelieve hieroor de handleiding van uw DMX-controller ter raadplegene.
DMX-CONFIGURATIE VAN DE WIZARD-4 & GENIUS-2:
1 CHANNEL MODE
3 CHANNEL MODE
| Ch1 | Ch1 | Ch2 | Ch3 | |
| Chase | Dimmer/Strobe | Color | Rotation | |
| 250-255 | Random | 248-255 On | 248-255 Color 32 | 246-255 Stop |
| Chase | 240-247 Color 31 | |||
| 230-249 | Chase 11 | 232-239 Color 30 | ||
| 210-229 | Chase 10 | 224-231 Color 29 | ||
| 190-209 | Chase 9 | 200-247 S S S S S S S S S S S S S S S S S S S S S S S S S S S S S S S S S S S S S S S S S S S S S S S S S S S S S S S S S S S S S S S S S S S S S S S S S S S S S S S S S S S S S S S S S S S S S S S S S S S S | 216-223 Color 28 | 135-245 Slow |
| 170-189 | Chase 8 | 208-215 Color 27 | ||
| 150-169 | Chase 7 | 200-207 Color 26 | ||
| 130-149 | Chase 6 | 192-199 Color 25 | ||
| 110-129 | Chase 5 | 184-191 Color 24 | ||
| 90-109 | Chase 4 | 176-183 Color 23 | ||
| 70-89 | Chase 3 | 168-175 Color 22 | ||
| 50-69 | Chase 2 | 160-167 Color 21 | ||
| 30-49 | Chase 1 | 152-159 Color 20 | ||
| 0-29 | OFF | 144-151 Color 19 | ||
| 0-199 | ||||
| 136-143 Color 18 | 121-134 Slow | |||
| 128-135 Color 17 | ||||
| 120-127 Color 16 | ||||
| 112-119 Color 15 | ||||
| 104-111 Color 14 | ||||
| 096-103 Color 13 | ||||
| 088-095 Color 12 | 10-120 | |||
| 080-087 Color 11 | ||||
| 072-079 Color 10 | ||||
| 064-071 Color 9 | ||||
| 056-063 Color 8 | ||||
| 048-055 Color 7 | ||||
| 040-047 Color 6 | 0-9 Slow | |||
| 032-039 Color 5 | ||||
| 024-031 Color 4 | ||||
| 016-023 Color 3 | ||||
| 008-015 Color 2 | ||||
| 000-007 Color 1 | ||||
2 DMX modi+zijn beschikbaar:1CH en 3CH:
1 channel mode:
Zeer gebruiksvriendelijke werkmodus: u heeft slechts 1 DMX kanaal nodig om 1 van de 11 voorgeprogrammeerde sound chases op te roepen, of u kunt het toestel gewoon aan en uit zetten via een controller zoals once Effect Commander (geen switch packs nodig).
3 channel mode:
Zo beschikt u over de totale contrôle over het toestel.
- Kanaal 1: contrôle over de dimmer en strobo
- Kanaal 2: selecteer een van de 32 beschikbare kleurcombinatie.
Kanaal 3: rotatiesnelheid en richting
HOE INSTELLEN:
HOOFDMENU:
- Druk op de MENU toets tot het gewenste menu op het scherm verschijnt.
- Selecteer de functie door op de ENTER toets te drukken. De display zal beginnen knipperen.
- Gebruik de DOWN en UP toetsen om de gewenste menu optie te kiezen.
- Druk daarna op de ENTER toets om de selectie te bevestigen. Om terug te keren maar de hoofdfuncties zonder iets te veranderen kut u terug op de MENU toets drukken of gewoon 8 seconden wachten.

DMX512 adres instellen
Bepaalt het startadres in de DMX opstelling.
- Druk op de MENU toets tot [ddr] worden weergegeven op de display.
- Druk op de ENTER toets, de display begging teknpiperen.
- Gebruik de DOWN en UP toetsen om het DMX512 adres te veranderen.
- Wonneer het gewenste adres op de display verschijnt moet u dit bevestigen door op de ENTER toets te drukken. (indien u dit Niet doet worden er na 8 seconden terug overgegaan maar het hoofdmenu zonder de veranderingen op te slagen)
- Druk gedurende ongeveer 2 seconden op de MENU toets om maar de werkingsmodus terug te keren.

Channel Mode
Wordt gekrukt om het aantal DMX kanalen in te stellen.
- Druk op de MENU toets tot [hfd] worden weergegeven op de display.
- Druk op de ENTER toets, de display begint te knipperen.
- Gebruik de DOWN en UP toetsen om de 1-kanaals of de 3-kanaals modus te kiezen.
- Druk daarna op de ENTER toets om uw keuze te bevestigen.
(indien u dit nicht doet worden er na 8 seconden terug overgeaan waar het hoofdmenu zonder de veranderingen op te slagen)
- Druk gedurende ongeveer 2 seconden op de MENU toets om maar de werkingsmodus terug te keren.

Werkmodus
Om het toestel als master of als slave te lately werken.
- Druk op de MENU toets tot SInD op de display worden weergegeven.
- Druk op de ENTER toets, de gebruekte modus begint te knipperen op de display
- Gebruik de DOWN en UP toetsen om de 'master' [35] of 'slave synchroon met de master' [36] of 'slave asynchronon met de master' [37] werkmodus te kiezen.
- Bevestig uw keuze door op de ENTER toets te drukken. (indien u dit Niet doet worden er na 8 seconden terug overgeaanaar het hoofdmenu zonder de veranderingen op te slagen)
- Druk gedurende ongeveer 2 seconden op de MENU toets om maar de werkingsmodus terug te keren.

Show Mode
Wordt gebruikt om een van de voorgeprogrammeerde shows te selecteren wanner het toestel autonom of in master/slave worden gebruikt.
- Druk op de MENU toets tot [shid] wordt weergegeven op de display.

- Druk op de ENTER toets, de show welke in gebruik is begint te knipperen op de display.
- Gebruik de DOWN en UP toetsen om een van de 12 Voorgeprogrammeerde shows te kiezen: van (show 0) tot (show 8)
- Wanneer de gewenste show knippert op de display moet u enkel nog op de ENTER toets drukken om uw keuze te bevestigen.(indien u dit Niet doet worden er na 8 seconden terug overgegaan maar het hoofdmenu zonder de veranderingen op te slagen)
- Druk gedurende ongeveer 2 seconden op de MENU toets om maar de werkingsmodustering te keren.

Sound Mode
- Druk op de MENU toets tot 50UJ worden weergegeven op de display.
- Druk op de ENTER toets om uw selectie te make.
-
Gebruik de DOWN en UP toetsen om een van de beschikbare modi te kiezen:
-
(sound mode AAN) de shows worden gestuurd via de ingebouwd microfoon.
-
_off (sound mode UIT) de shows worden via een vaste snelheid gestuurd.
-
Bevestig uw keuze door op de ENTER toets te drukken.
- Druk gedurende ongeveer 2 seconden op de MENU toets om maar de werkingsmodustering te keren.

Blackout Mode
Blackout mode: wanner er geen DMX-signal gedetecteerd worden gaat het toestel in blackout.
No blackout mode: wanner er geen DMX-signal gedetecteerd worden schakelt het toestel automatisch overaar master mode.
- Druk op de MENU toets tot blfd worden weergegeven op de display.
- Druk op de ENTER toets, de gebruekte functie begint te knipperen op de display.
- Gebruik de DOWN en UP toetsen om YES (blackout) of no (geen blackout) te kiezen.
- Druk daarna op de ENTER toets om uw keuze te bevestigen. (indien u dit Niet doeit worden er na 8 seconden terug overgeaanaar het hoofdmenu zonder de veranderingen op te slagen)
- Druk gedurende ongeveer 2 seconden op de MENU toets om maar de werkingsmodustering te keren.

Led Display
Display on: display is steeds aan.
Display off: display isuit wannerdeze nicht worden gebruikt.
- Druk op de MENU toets tot LEd op de display worden weergegeven.
- Druk op de ENTER toets, de display begint te knipperen.
- Gebruik de DOWN en UP toetsen om on of OFF (display uiw wanneer nicht in gebruik) te selecteren.
- Druk daarna op de ENTER toets om uw keuze te bevestigen. (indien u dit Niet doet worden er na 8 secondentering overgeaanaar het hoofdmenu zonder de veranderingen op te slagen)
- Druk gedurende ongeveer 2 seconden op de MENU toets om maar de werkingsmodustering te keren.

Display Inversie
- Display normal: display is leesbaar wanner het toestel op de grond staat.
- Display inversion: display is leesbaar wanner het toestel ondersteboven hangt.
- Druk op de MENU toets tot [di SP knippert op de dispay. (normal display)
- Druk op de ENTER toets om over te schakelen op [d5] (display omgeeker), de handeling worden automatisch na 8 seconden opgeslagen. Of druk nogmaals op de ENTER toets om maar [d5p (normal display) terug te schakelen.

Zelf-Test
- Druk op de menu toets tot test op de display worden weergegeven.
- Druk op de ENTER toets: het toestel zal het ingebouwde testprogramma uitvoeren.
- Druk kop de MENU toets om maar de andere functies terug te keren.

Fixture Hours
Wordt gebruikt om het aantal werkuren van het toestel wee te gehen.
- Druk op de MENU toets tot [Fhr5] op de display worden weergegeven.
- Druk op de ENTER toets om het verstreken aanal werkuren wee ter te geven op de display.
- Druk kop de MENU toets om maar de andere functies terug te keren.

Software versie:
Geeft de softwareversie van het toestel wee.
- Druk op de MENU toets tot [uR] op de display worden weergegeven.
- Druk op de ENTER toets om de softwareversie te lately verschijnen.
- Druk op de MENU toets om maar de functiestering te keren.

Reset
- Druk op de MENU toets tot [-S]op de display worden weergegeven.
- Druk op de ENTER toets: het toestel voert de reste uit en alle motoren keren waar hun startpositie.
REGELING VAN DE STARTPOSITIE:
- Druk gedurende ongeveer 5 seconden op de ENTER toets tot OPAN op de display worden weergegeben.
- Druk op de ENTER toets om te bevestigen
- Gebruik de DOWN en UP toetsen om de startpositie van de motor aan te passen (-127, +127)
- Druk op de ENTER toets om te bevestigen, of druk op de MENU toets om de instelmodus te verlaten zichonder veranderingen aan te brengen
BEDIENING VAN HET TOESTEL
U KUNT HET TOESTEL OP 3 MANIEREN GEBRUIKEN:
Via de master/slave functie en ingebouwde programme's
o Met de CA-8 easy controller
o Met een universe DMX controller (1 & 3 kanalen DMX mode)
VIA DE MASTER/SLAVE FUNCIE EN INGEBOUWDE PROGRAMMA'S:
selecteer deze functie indien u onmiddelijk wil van start gaan met een kant en klare show. Door de toestellen als master/slave met mekaar te verbinden za het eerste toestel alle andere tostellenden controleren enbekomt u alzo een automatische, gesynchroniseerde Lichtshow op het ritme van de muziek. Op de DMX ingan van het 'master' toestel mag niets aangesloten worden, de master led is continu aan en de Sound led knippert op het ritme van de muziek.
Belangrijk! Deze functie werkkt alleen wanneer de blackout mode in the menu van de 'master'uit staat (OFF), anders zar er niets gebeuren! Leesmeer overdeze optie in de paragraaf "hoe instellen".
- De MASTER—heeft 8 ingebouwde shows: U kunt van 5H0 (show 0) tot 5H8 (show 8) kiezen in het menu van het master toestel.
SLAVES heben 2 werkopties: Deze toestellen staan in slave mode (slave-LED is continu aan). Om een Mooiere lichtshow te creeren kurz u gecontrasteerde bewegingen invoegen In het menu van de slave units kurz u waar de optie SLnD gaan. Kies hier:
Normal slave: slave werkt synchroon met de master.
53 2 light show: slave werkt in contrast met de master.
- MET DE EASY CONTROLLER:
Voor de Master/slave werkmodus raden wij u ten sterkste aan de CA-8 "Easy controller" te gebruiken. Verbind dezekleine controller met de 1/4" jack aansluiting van het 'master' toestel. Zo heeft u de volledige controle over volgende FUNCTIONS:
| Standby | Toestel in Blackout | ||
| Function | 1/ SynchroStrobe 2/ Asynchro Strobe 3/ Sound Strobe | Showkeuze (Show 1-8) | Snelheid 1/ Traag 2/ Normaal 3/ Snel |
| Mode | Sound/Strobe (LED UIT) | Show (LED AAN) | LED knippert |

ONDERHOUD
- Overtuig U ervan dat het gebied onder de installmentieplaats vrij is van ongewenste Personen tijdens het onderhoud.
- Zet het toestel uit, trek de netstekker uit het stopcontact en wacht tot het toestel is afgekoeld.
Bij inspectie要去en de volgende punten worden gecontroleerd.
- Alle schroeven gelebruikt om het te toestel te installereren en al zich onderdelen要去en goed vastgedraaid zich en@mogen Niet verroest zich.
- Behuizingen, vastzetstukken, installeringplaatsen (plafond, spanten, schokbrekers) mogen absolut nicht verworgen zich.
- Wonneer een optische lens klaarblijelijk beschadigd is door barsten of diepe krassen, dan moet deze verwangen worden.
- De stroomkabels要去en in perfecte staat zijn en behoren verrangen te worden, wanner er zichs maar een Klein probleem ontdekrt worden.
- Om het toestel gegen oververhitting te beschermen, behoren de ventilatoren (als die er zich) en de ventilatieopengen elke maand gereinigd te worden.
- De binnenkant van het toestel behoort elk一年多ereinigdt worden met een stofzuiger of een luchtspuit.
-
Het schoonmaken van inwendige en uitwendige optische lenzen en/of spiegels moet regelmatig worden uitgevoerd om een zo goed möglichke luchtuistraling te verkrijgen. Hoe vaak ze schoon要去en worden gemaakt hangt af van de omgevingaar het toestel worden gebruikt: een klamma, rokeringe of bijzonder vuile omgeving kan een grotere oopenhopping van vuiil verroorzaken op de optische utrusting.
-
Reinig met een zachte doek en gebruik normale glasreinigende producten.
- Droog de onderden altijd zorgvuldig af,
- Reinig de uitwendige optische uitrusting minstens een keer per maand.
- Reinig de inwendige optische uitrusting minstens om de 3 maanden.
Let op: We bevelen sterk aan dat het schoonmaken van de binnenkant worden uitgevoerd door vakbekwaam personneel!!
Stroomverbruik: 16 Watt
Zekering: 250 V/6,3A trage zekering (20 mm)
Geluidscontrole: Ingebouwde microfoon
DMX verbinding: 3 pins XLR mannelijk/ vrouwelijk
Aantal gebruikt DMX kanalen: 1 of 3 kanalen
Lamp: 2x3-color LED's van 3Watt
Afmetingen: 296 x 271 x 140mm
Elke inlichting kan veranderen zonder waarschuwing vooraf
U kan de LASTe versie van deze handleiding downloads via Onze website: www.beglec.com
SimpelGids