CUBIA ISOLA GLOSS W ACTIVE - ūdens sildītājs FABER - Bezmaksas lietošanas instrukcija

Atrodiet ierīces rokasgrāmatu bez maksas CUBIA ISOLA GLOSS W ACTIVE FABER PDF formātā.

📄 104 lapas Latviešu LV 💬 AI jautājums
Notice FABER CUBIA ISOLA GLOSS W ACTIVE - page 44

Lejupielādējiet instrukcijas savam ūdens sildītājs PDF formātā bez maksas! Atrodiet savu rokasgrāmatu CUBIA ISOLA GLOSS W ACTIVE - FABER un atgūstiet kontroli pār savu elektronisko ierīci. Šajā lapā ir publicēti visi dokumenti, kas nepieciešami jūsu ierīces lietošanai. CUBIA ISOLA GLOSS W ACTIVE zīmola FABER.

LIETOŠANAS INSTRUKCIJA CUBIA ISOLA GLOSS W ACTIVE FABER

Instrukcijas Grāmata

Kasutusjuhend

Käytöohje

Lai droši un pareizi ekspluatētu savu icerici, pirms tās uzstādīsanas un etošanas rūpīgi izlasīt šo brošūru. Vienmēr sis instrukcijas uzglabāt opā ar icerici, pat tad, ja tā tiek pārvietota vai pardota. Lietotājiem ir ilnībā jāpārzina icerices ekspluatācijas un drošības pazīmes.

FABER CUBIA ISOLA GLOSS W ACTIVE - 1

Vadu pieslēgšanu drikst veikt tehniks ar atbilstošu specializaciju.

  • Izgatavotajs neuznemes atbildibu par bojajumiem, kas radusies nepareizas uzstadisanas rezultata.
  • Minimalais drošais attalums starp plīts virsmu un tvaiku nosūcēju ir 650 mm (dažus modelus var uzstādīt zemāk, skatiet sadāju par darba izmēriem un uzstādīšanu).
  • Ja gazes plits uzstadiisanas instrukcijas ir noradits lielaks attalums, tad tas ir janel m er.
  • Pärbaudiet vai strava majas elektrotíklā atbilst tehnisko dato plaksnīte norādītajā, kas piestiprinata nosüceja iekspuse.
  • Fiksētajā vadu instalacijā saskaṇā ar elektromontāžas noteikumiem jäieklauj atvienošanas ierīces.
  • klases ierices gadijumā pārbaudiet, vai majas elektrotikls nodrošina pareizu zemējumu.
  • Pievienojiet nosucēju izvades plusmai ar cauruli 120 mm diametra. Plusmas celam jabut peciespejas tsakam.
  • Jāizpilda noteikumi, kas saistīti ar gaisa atbrivošanu.
  • Nepievienojiet nosucceju izpludes caurulvadiem, kas izvada sadegsanas atlikuma produktus (boileri, kamini utt.).

  • Ja nosucejs tiek izmantots kopā ar neelektriskām iericēm (piem., gazes plitīm), telpā janodrošina pietiekama ventilacija, lai nepielautu izvadāmi gazu plūsancu atpakaḥ. Ja tvaika nosucejs uzstādīts savienojumā ar neelektriskām iericēm, telpas negativais spiediens nedrikt sārsniegt 0,04 mbar, lai nepielautu garainu ieplūsancu atpakaḥ telpā.
    Gaisu nedrikst padot dumvada, ko lieto gazes vai citu veidu kurinam a sadedzinanasas ieriicu izpludes gazu izvadisanai.

  • Ja barošanas vads ir bojats, tad tas ir jāaizstāj ar ražotāja vai tehniskās apkalpošanas ágenta piegādātu barošanas vadu.
  • Kontaktdakšu pieslęgt noteikumiem atbilstoša pieejamā vietā esoSā kontaktligzdā.
  • Lai nodrosinatu izpludes gazu izvadišanas tehniskos un drošibas pasakumus, jaievero vietelo varas iestazu pienemtie noteikumi.

BRIDINAJUMS: Pirms nosucceja uzstadisanas, nonemiet aizsargpleves.

  • Tvaika nosüceja atbalstam izmantot tikai skruves un mazas sastāvdaljas.
    BRIDINAJUMS: Ja skruvju vai stiprinajuma ierices uzstadišana nav ievērotas šīs instrukcjjas, tad var rasties elektriskās strāvas triecena riski.
  • Neskatities uz gaismu caur optiskajām iericēm (binokli, palielināmajiem stikliem...).
    Neuzstadit zem tvaika nosucēja gabarītiem; aizdegšanās risks.
  • So ierici lietot drikst 8 gadus veci un vecaki berneni, kā arī personas ar ierobežotām fiziskām, sensoriskām vai garīgām spējām, vai personas, kam nav pieredzes un zinašanu, ja tam ir nodrošinata uzraudzība vai instrukcijas, kas saistītas ar drošu ierices lietošanu un ietverto bīstamības risku izpratni. Berneni nedrīkst spelēties ar ierici. Tīrišanu un ierices kopšanu nedrīkst veikt berneni, ja tie netiek uzraudzīti.
  • Mazi bērni ir jauzrauga, lai tie nespēlētos ar ierci.

  • lerici nav paredzëts lietot personam (ieskaitot bernus) ar iberežotam psihiskam, fiziskam, uztveres vai prata spejam, cilvekiem bez pieredzes un zinašanam, iznemot tadus gadijumus, kuros par vinu drošibu atbildīgā persona veic uzraudzību vai sniedz norādes par icerces lietošanu.

Atklātās detalas gatavošanas iekārtu izmantošanas laikā var kūt karstas.

  • Notirit un/vasnomainit filtrus pec noradita laika perioda (ugunsbistamiba). Skatit nodalu "Apkope un tirišana".
  • Telpā ir pietiekama ventilacija, ja tiek izmantots tāda paşa diapazona tvaika nosūcējs, dedzinot tādu pašu gazes vai kurīnāmā veidu (nav piemerojama iekārtām, kas tikai ivada gaisu atpakal telpās).
  • Simbols uz izstrādājuma un tam pievienotajos dokumentos nozime, ka šo ierīci nedrīkst izmest kopā ar parastiem sadzīves atkritumiem. Tā jānodod elektrisko vai elektronisko preču savākšanas punktā, kur tos piēnem pāstrādei. Nodrošinot šī izstrādājuma pareizuutilizaciju, Jūs palīdziet novérst potenciāli negativu ietekmi uz vidi uncilveku veselību, kas tomēr var notikt, ja neieverosiet šī izstrādājumautilizacijas noteikumus. Lai iegūtu papildinformaciju par šī produkta pāstrādi, sazinieties ar savu pašvalību, vietējo atkritumu savākšanas dienestu vai veikalu, kurī iegādājāties šo produktu.

FABER CUBIA ISOLA GLOSS W ACTIVE - 2

FABER CUBIA ISOLA GLOSS W ACTIVE - 3

Sastavdalas

Ats.DaudzIzstrādājuma sastāvdalas
11Tvaiku nosūcēja korpuss, komplektā ar: Vadības elementiem, apgaismojumu, sūknēšanas iekārtu, filtriem, dūmvada apakśdalu
71Polivinilhlorīda caurule (uzstādīta)
81Atliecams režgis (uzstādīts)
91Sašaurināšanas uzmava 150-120 mm
101Metāla vāks

Ats. Daudz. Montăžas sastāvdajas

11a 2 Dībelj SB 12/10
Daudz. Dokumentācija
1 Lietošanas pamācība

FABER CUBIA ISOLA GLOSS W ACTIVE - 4

Sienes urbsana

Ja nepiecesams izmantot tvaika nosuceju atbilsto sukneanas versijai, kur gaisa izplude atrodas tvaika nosuceja aizmugure, janem vera rasejuma zemak snugtie noradijumi, kas attiecas uz pareizas gaisa izpludes atveres urbsanas operaciju.

Tvaika nosūcējs456090
X180240390

FABER CUBIA ISOLA GLOSS W ACTIVE - Sienes urbsana - 1

Uzstadot tvaika nosuceju atbilstoši recirkulacijas versijai, jæm vērā, ka atlikusi atstarpe starp tvaika nosuceju un augsējo robežu (giestiem vai plauktu) ir vismaz 8-10 cm.

Uz sienas uzzimet:

  • vertikāla linija līdz gristiem vai augšejai robežai, tvaiku nosūcēja uzstādīsanas laukuma vidū;
  • horizontal linju: min. 550 mm virs karseşanas virsmas;
  • Atzimēt, kā parādīts, atskaites punctu 808 mm attalumā virs horizontalās atskaites linjas un X mm (X = skatīt tabulu attelā) attalumā pa labi no vertikalās atskaites linjas.
  • Atkartot so darbibu otrapuse, pbaraudot limeni.
  • Izurbt atveres atzimetajos punktos, izmantojot 12 mm urbi.
  • Ievietot dibelus kopā ar kronsteiniem 11a un skruvēm, pēc tam tās pieskrūvēt.

  • Noregulēt divas konsolu 11a skruves Vr, pareizi novietojot tās sāvā viēṭa.

  • Piekabinat tvaika nosuceja korpusu divam konsolem 11a.
  • Pavilkt komforta paneli, lai to atvertu, iznemt pec kartas filtrus, sabidit tos uz iekartas aizmugurejo dalu un vienlaicigi pavilkt lejup.
  • No tvaika nosuceja iekspuses pievilkt skruves Vr, lai nolimenotu korpusu.

FABER CUBIA ISOLA GLOSS W ACTIVE - Uz sienas uzzimet: - 1

Savienojums

GAISA IZPLUDE ATBILSTOSI KANALU SISTEMAS TVAIAK NOSUCEJA VERSIJAI

Uzstadot tvaika nosuceja tvaiku nosuknešanas versiju, pamatojoties uz uzstaditaja izveli, tic izmantota stinga vai elastiga caurule ar 150 vai 120~mm , lai pievienotu tvaika nosuceju gaisa izpludes caurulvadam. Caurules pieslegums var but izveidots uz tvaika nosuceja augsejas dalas vai aizmugure.

Pirms tvaika nosuceja pievienosanas gaisa izpludes kanalu sistmai nonemt gaisa izpludes sanu rezgi 8 un plastmasas cauruli 7. Parejas atloks 9 ir janoem tikai tad, ja savienosanas diametrs ir 150.

GAISA IZPLUDE AIZMUGURE

  • Urbjot siena gaisa izpludes atveri, nemt vera shemu, kas attecas sienas urbsanu.
  • Izmantot knaibles, izlaužot sienas aizmugure gaisa izplūdes atveri.
  • Ja savienojums tiek veikts, izmantojot ø 120 mm cauruli, tad ievietot tvaika nosuceja korpusa izpludes izejā saśaurinajuma atloku 9.
  • Nostiprinat cauruli, izmantojot pietiekamu caurulu skavu daudzumu. Šis materiās netiek piegādāts kopa ar tvaika nosūcēju.
  • Nonemt ogles filtru, ja tas ieklauts piegades komplekta.
  • Nostiprinat metala vaku 10 tvaika nosuceja augsejas gaisa izpludes atvere, izmantojot komplektacija ieklautas skruves.

AUGŠEJA GAISA IZPLUDE

  • Ja savienojums tiek veikts, izmantojot ø 120 mm cauruli, tad ievietot tvaika nosuceja korpusa izpludes izejā saśaurinajuma atloku 9.
  • Izmantot knaibles, nonemot metala vaka 10 centralo dalu. Nostiprinat vaka tvaika nosuceja gaisi izpludes atvere, izmantojot komplektacija ieklautas skruves.
  • Nostiprinat cauruli, izmantojot pietiekamu caurulu skavu daudzumu. Šis materiās netiek piegādāts kopa ar tvaika nosūcēju.
  • Iznemt ogles filtru, ja tas ieklauts piegades komplekta.

FABER CUBIA ISOLA GLOSS W ACTIVE - AUGŠEJA GAISA IZPLUDE - 1

FABER CUBIA ISOLA GLOSS W ACTIVE - AUGŠEJA GAISA IZPLUDE - 2

FABER CUBIA ISOLA GLOSS W ACTIVE - AUGŠEJA GAISA IZPLUDE - 3

GAISA IZPLUDES IERICE ATBILSTOSI RECIRKULACIJAS VERSIJAI

  • Ja recirculacijai nepiecesamie componenti ir nonemti agrak, tad tie ir japozone vrelrez.
  • Novietot plastmasas cauruli uz atloka 7.
  • Novietot gaisa izplūdes režgi 8 uz gaisa izplūdes ierices. Pärliecināties, ka režgis ir novietots pareizi.
  • Parliecinaties, ka ogles filtri ir ivietoti tvaika nosucea iekspuse.

FABER CUBIA ISOLA GLOSS W ACTIVE - GAISA IZPLUDES IERICE ATBILSTOSI RECIRKULACIJAS VERSIJAI - 1

ELEKTRISKAIS SAVIENOJUMS

  • Pievienojiet elektrotíklam ar divu polu sleža palidzību, kam saskares atstarpe ir vismaz 3 mm.
  • Iznemiet tauku filtrus (skatiet sadau „Apkope”), pärliecinoties, ka padeves kabelis ir pareizi ievietots kontaktligzdā, kas atrodas ventilatora sāns.

FABER CUBIA ISOLA GLOSS W ACTIVE - ELEKTRISKAIS SAVIENOJUMS - 1

FABER CUBIA ISOLA GLOSS W ACTIVE - ELEKTRISKAIS SAVIENOJUMS - 2
A

FABER CUBIA ISOLA GLOSS W ACTIVE - ELEKTRISKAIS SAVIENOJUMS - 3
B

FABER CUBIA ISOLA GLOSS W ACTIVE - ELEKTRISKAIS SAVIENOJUMS - 4
C

FABER CUBIA ISOLA GLOSS W ACTIVE - ELEKTRISKAIS SAVIENOJUMS - 5
D

FABER CUBIA ISOLA GLOSS W ACTIVE - ELEKTRISKAIS SAVIENOJUMS - 6

FABER CUBIA ISOLA GLOSS W ACTIVE - ELEKTRISKAIS SAVIENOJUMS - 7

FABER CUBIA ISOLA GLOSS W ACTIVE - ELEKTRISKAIS SAVIENOJUMS - 8

FABER CUBIA ISOLA GLOSS W ACTIVE - ELEKTRISKAIS SAVIENOJUMS - 9

FABER CUBIA ISOLA GLOSS W ACTIVE - ELEKTRISKAIS SAVIENOJUMS - 10

Vadibas panelis

PogaFunkcjjaEkrāns
AIeslédz un izslezd sūkšanas motoru pirmajā Ļrumā.Rāda iestafilo Ļrumu
BSamazina darba Ļrumu.Rāda iestafilo Ļrumu
CPalielina darba Ļrumu.Rāda iestafilo Ļrumu
DAktivizē intensivo Ļrumu, ja iestafis cis Ļrumu, tostarp, ja motors izslezgts. Sīs ātrums tic kuztrets 6 minūtes, pēc tam sistēma atjauno ieprieks iestafitā Ļrumu. Piemērots, lá tiktu galā ar ādiena gatavoşanas maksimāla limera tväkiem.Rāda HI un atikušo laiku ik pēc sekundes.
Nospiest un turē nospiesto pogu apmēram 5 sekundes, lá iślēgtu un izsleztu aktiviās oges filtra signalizācjić, kad noslogojums ir izslezgts (motors un apgaismojums).FC+Punkts (mirgo 2 reizes)-signalizācija ieslēgta. FC+Punkts (mirgo 1 rezi)-signalizācija izslegta.
E24H funckcjjaIeslédzas sūkšēnas motors pirmajā Ļrumā, un tas katru stundu veic 10 minūtsu ekstrakciju.Kamē darbojas motors, displeja tic kætletots 24 un reizi sekundē apakša pa labi migo punkts. Tas tic atspejots, nospižot pogu.
Ja ir activizēta filtru signalizācja, tad signalizācija var tikt atiestafita, nospižot un turot nospiesto pogu apmēram 3 sekundes. Šie norādljumi ir redzami tikai tad, ja ir izslezgts motors.FF mirgo tris reizes.Ja procedūra tic pārtraukta, tad izdziest ieprieksījs norādljums: FG norāda, ka jāzmagā metaṭa tauku filtri. Signalizācija tic kactivizēta, ja tvaika nosücës ticis eksplutæs 100 daribas stundas. FC norāda, ka jānomaina aktiviās oges filtrus un jāzmagā ari metaṭa tauku filtri. Signalizācija tic kactivizēta, ja tvaika nosücës ticis eksplutæs 200 daribas stundas.
FAiztures funckcjjaAktivizē automatisko izslezgans or 30 minūsu aizturī. Piemērota, lá pabeigtu atikušo smaku likvidēsana. Var activizēt no jebkuras pozicijas, savukār atspejot to var, piespižot pogu vai izslezdott motoru.Dispejā tic attelots daribas Ārums un apakša pa labi reizi sekundē mirgo punkts.
Nospiest un turē nospiesto pogu apmēram 5 sekundes, lá iślēgtu un izsleztu tālvadhibu, kad noslogojums ir izslezgts (motors un apgaismojums).IR+Punkts (mirgo 2 reizes)-signalizācija ieslēgta.IR+Punkts (mirgo 1 rezi)-signalizācija izslegta.
GIeslédz un izslezd apgaismojuma sistēmu ar maksimālu intensitàti.
HIeslédz un izslezd apgaismojuma sistēmu.

TALVADIBAS PULTS(IZVELEs)

So ierici var vadit, izmantojot tãvaladibas pulti, kas tiek barota ar CR2032 tipa 3 V bateriju (netiek piegãdatas).

  • Nelieciet tālvadības pulti karstu virsmu tuvumā.
  • Neutilizēt baterijas sadzīves atkritumos. Tas ir jāievieto specializētos konteineros.

FABER CUBIA ISOLA GLOSS W ACTIVE - TALVADIBAS PULTS(IZVELEs) - 1

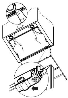
Komforta panelu tirišana

  • Velciet Komforta paneli, lai to atvertu.
  • Atvienojiet paneli no atsūcēja, bīdot fiksācijas tapas sviru.
  • Komforta paneli nedrikst mazgat trauku masina.
  • Arpusi tiriet ar mitru lupatiu un neitralu skidru mazgāsanas lidzekli.
  • Ari iekspusi iztiriet ar mitru draniu un neitralu tiriisanas lidzekli; neizmantojet slapjas lupatas vai suklius vai udens struklas; neizmantojet abrazivas vielas.
  • Kad šī darbība veikta, pieākējiet paneli atpakal pie atsūcēja un aizveriet, pagriežot slēdzi pretējā virziena.

FABER CUBIA ISOLA GLOSS W ACTIVE - Komforta panelu tirišana - 1

Metala tauku filtri

To var mazgāt trauku mazgājamā masīnā, un to nepieciešams tīrīt, ja displejā parādās apzimējums FG, vai vismaz pēc katriem 2 lietošanas mēnešiem, vai bēžak, ja lietošana ir ipaşi intensiva.

Bridinajuma signala atiestatisana

  • Izslęgt apgaismojumu un sūkněšanas motoru, pēc tam atspejot 24h funkcjju, ja tā ir aktivizēta.
  • Nospiest E pogu (sk. nodalu par lietošanu).

Filtrutirisana

  • Atvetkomforta paneli, Pavelkot aiz ierobojuma.
  • Iznemiet filtrus pa vienam, spiežot tos virzienā uz grupas aizmuguri un vienlaicīgi velkot uz leju.
  • Filtrus mazgāt, tos nesaliecot, un laut tiem pilnībā izžūt pirms nomainīsanas. (Ja laika gaitā filtram izmainās krāsa, tad tam nav nekādas ietekmes uz paşa filtra efektivitäti.)
  • Nomainit, nodrošinot, ka rokturis tiek vérsts uz priěkšu.
  • Aizveriet komforta paneli.

FABER CUBIA ISOLA GLOSS W ACTIVE - Filtrutirisana - 1

To nadrikst mazgat un nevar atjaunot, tas jänomaina, ja ekrānā paradās symbols FC, vai vismaz reizi 4 menešos. Ja ir aktivizets signalizacijas signās, tas funkcionē tikai tad, ja ir ieslęgts sūknešanas motors.

Bridinajuma signala atiestatisana

  • Recirculaciónjas versijas tvaku nosuceos filtra piesatinasnabridinajumu jaaktivize uzstadisanas vai velaka datumā.
  • Izslęgt apgaismojumu un sukśanas motoru.
  • Nospiest D un turet nospiestu apmēram 5 sekundes:
  • Divreiz mirgo pazinojums FC+Punkts, AKTIVETA mainstrāvas filtra piesātināsanas signalizācija
  • Vienreiz mirgo pazinojums FC+Punkts, DEZAKTIVETA mainstrivas filtra piesatinasanas signalizacija

AKTIVETAS OGLES FILTRA NOMAINA

Bridinajuma signala atiestatisana

  • Izslęgt apgaismojumu un sūkněšanas motoru, pēc tam atspejot 24h funkcjù, ja tā ir aktivizēta.
  • Nospiest E pogu (sk. nodalu par lietošanu).

Filtranomaina

  • Atvetkomforta paneli, pavelkot aiz ierobojuma.
  • Nonemt metāla tauku filtrus.
  • Iznemt piesarntos aktivas oges filtrus, atlaizot fiksacijas akus.
  • Uzstādiet jaunu filtru un fiksējiet pareizajā stavokli.
    Uzstadiet atpaka metalata tauku filtrus.
  • Aizveriet komforta paneli.

FABER CUBIA ISOLA GLOSS W ACTIVE - Filtranomaina - 1

FABER CUBIA ISOLA GLOSS W ACTIVE - Filtranomaina - 2

Apgaismojuma vieniba

  • Par nomainu vérsties tehniskajā atbalsta ("Lai iegūtu tehniskā atbalsta kontaktinformaciju").

FABER CUBIA ISOLA GLOSS W ACTIVE - Apgaismojuma vieniba - 1

Rokasgrāmatas palīgs
Darbina ChatGPT
Gaidu jūsu ziņojumu
Informācija par produktu

Zīmols : FABER

Modelis : CUBIA ISOLA GLOSS W ACTIVE

Kategorija : ūdens sildītājs