CUBIA ISOLA GLOSS W ACTIVE - FABER - Notice d'utilisation et mode d'emploi gratuit

Retrouvez gratuitement la notice de l'appareil CUBIA ISOLA GLOSS W ACTIVE FABER au format PDF.

Page 54
Juhendi assistent
Powered by ChatGPT
En attente de votre message
Informations produit

Marque : FABER

Modèle : CUBIA ISOLA GLOSS W ACTIVE

Téléchargez la notice de votre au format PDF gratuitement ! Retrouvez votre notice CUBIA ISOLA GLOSS W ACTIVE - FABER et reprennez votre appareil électronique en main. Sur cette page sont publiés tous les documents nécessaires à l'utilisation de votre appareil CUBIA ISOLA GLOSS W ACTIVE de la marque FABER.

MODE D'EMPLOI CUBIA ISOLA GLOSS W ACTIVE FABER

CHARACTERISTICS Dimensions

Activeert de hoge snelheid vanuit elke snelheidsstand, ook vanuit de uitgeschakelde stand van de motor. Deze snelheid wordt 6 minuten aangehouden en daarna keert het systeem terug naar de eerder ingestelde snelheid. Geschikt voor het opvangen van de maximale uitstoot van kookdampen.

Als de toets ongeveer 5 seconden ingedrukt wordt gehouden als alle belastingen (motor+lamp) uitgeschakeld zijn, dan wordt het alarm van de actieve koolstoffilters in- of uitgeschakeld. 24H-functie Schakelt de eerste snelheid van de motor in en stelt de afzuiging elk uur 10 minuten in werking. Schakelt de verlichtingsinstallatie in de modus ‘sfeerverlichting’ in en uit.

1 • Verwijder de filters één voor één door ze naar de achterkant van de unit te duwen en tegelijkertijd naar beneden te trekken. • Was de filters zonder ze te buigen en laat ze drogen alvorens ze weer te monteren. (Een eventuele kleurverandering van het filteroppervlak die zich in de loop van de tijd kan voordoen heeft geen nadelige gevolgen voor de efficiëntie van het filter.) • Monteer de filters weer en houd de handgreep daarbij naar het zichtbare deel aan de buitenkant. • Sluit de Confort Panels weer.

Compruebe que la tensión de red coincide con la indicada en la placa de características del interior de la campana. Los dispositivos de desconexión deben instalarse en la instalación fija de acuerdo con las regulaciones para sistemas de cableado. Para los aparatos de la clase I, compruebe que el suministro de corriente eléctrica de la casa tiene una conexión a tierra adecuada. Conecte la campana a la chimenea con un tubo de un diámetro mínimo de 120 mm. El trayecto de humos debe ser lo más corto posible. Deben observarse todas las normas relativas al escape de aire. No conecte la campana extractora a los conductos de humos de combustión (p. ej. calderas, chimeneas, etc.).

• Conecte la clavija a una toma de corriente que cumpla la normativa vigente y sea accesible.

• En cuanto a las medidas técnicas y de seguridad a adoptar para el vertido de humos, es importante cumplir escrupulosamente las normas establecidas por las autoridades locales. ADVERTENCIA: Retire la película protectora antes de instalar la campana. • Utilice únicamente tornillos y herramientas que sean adecuados para la campana. ADVERTENCIA: Si no se instalan tornillos o sujetadores de acuerdo con estas instrucciones, se puede producir una descarga eléctrica. • No observar directamente con instrumentos ópticos (prismáticos, lupas, etc.). • No cocine en flambeado bajo la campana: podría producirse un incendio. • Este aparato puede ser utilizado por niños a partir de los 8 años y por personas con capacidades psico-físico-sensoriales reducidas o con una experiencia y conocimientos insuficientes, siempre que sean cuidadosamente supervisados e instruidos sobre cómo utilizar el aparato de forma segura y sobre los peligros que conlleva. Asegúrese de que los niños no jueguen con el aparato. La limpieza y el mantenimiento por parte del usuario no deben ser llevados a cabo por niños, a menos que sean supervisados. • Supervise a los niños, asegurándose de que no jueguen con el aparato.

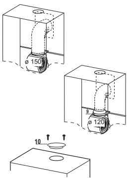
• una linea horizontal a : 550 mm por lo menos sobre la cocina; • Marcar, como se indica, un punto de referenzia a 808 mm sobre la linea horizontal de referencia,y a X mm (X= ver tabla del esquema) a la derecha de la linea vertical de referencia. • Repetir la misma operación en la parte opuesta, controllando que la nivelación sea correcta. • Agujerear con una punta de Ø 12 mm los punto marcados. • Colocar los tacos, los tornillos y las placas 11a en los agujeros. Enroscar.

Activa la velocidad Intensiva desde cualquier velocidad incluso desde motor apagado, dicha velocidad está temporizada en 6 minutos, al final del tiempo el sistema regresa a la velocidad implementada precedentemente. Adecuada a enfrentar las máximas emisiones de humos de cocción.

Manteniendo la tecla presionada por aproximadamente 5 segundos cuando todas las cargas están apagadas (Motor-Luz) se activa/ desactiva la alarma de los filtros al carbono activo. Función 24H: Activa el motor a la primera velocidad y permite una aspiración de Una vez terminado el procedimiento se apaga la señalización visualizada precedentemente: FG señala la necesidad de lavar los filtros antigrasa metálicos. La alarma entra en función después de 100 horas de trabajo efectivo de la Campana FC señala la necesidad de sustituir los filtros al carbono activo y deben lavarse además los filtros antigrasa metálicos. La alarma entra en función después de 200 horas de trabajo efectivo de la Campana. Función Delay Visualiza la velocidad de ejercicio y el punto en Activa el apagado automático retrasado en 30’. Adecuado para la parte baja derecha parpadea una vez al seguncompletar la eliminación de olores residuos. Activable desde cual- do. quier posición, se desactiva presionando la tecla o apagando el motor. Manteniendo la tecla presionada por aproximadamente 5 segundos IR+Punto (2Parpadeos)–Alarma Activa. cuando todas las cargas están apagadas (Motor+Luz) se activa/ IR+Punto (1Parpadeo)–Alarma Desactivada. desactiva el telemando. Enciende y apaga la instalación de iluminación a la máxima intensidad. Enciende y apaga la instalación de iluminación en la modalidad Luz de cortesía.

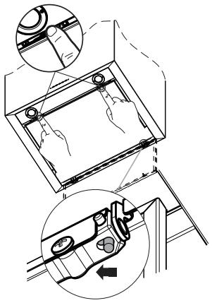
1 . Presionar la tecla E (Ver párrafo de uso). Limpieza de los filtros . Abrir los Confort Panel tirándolos en la muesca específica. . Quitar los Filtros uno por vez, empujándolos hacia la parte posterior del grupo y tirando simultáneamente hacia abajo. . Lavar los Filtros evitando doblarlos, y dejarlos secar antes de volverlos a montar. (Un eventual cambio de color de la superficie del filtro, que podrá verificarse en el transcurso del tiempo, no perjudica absolutamente la eficiencia del mismo.) . Montar nuevamente los filtros teniendo cuidado de mantener la manija hacia la parte visible externa. . Cerrar los Confort Panel . En las campanas de versión filtrante, la señalización de alarma saturación filtros debe activarse en el momento de la instalación o sucesivamente. . Apagar las luces y el motor de aspiración. . Presionar la tecla D por 5 segundos aproximadamente. . 2 parpadeos sigla FC+Punto -- Alarma saturación Filtro C.A. ACTIVA . 1 parpadeo sigla FC+Punto -- Alarma saturación Filtro C.A. DESACTIVADA SUSTITUCIÓN FILTRO ANTIOLOR AL CARBONO ACTIVO A Reset de la señal de alarma • Apagar las Luces y el Motor de aspiración, luego si está activada la función 24h desactivarla. • Presionar la tecla E (Ver párrafo de Uso). Sustitución filtro • Abrir los Confort Panel tirándolos en la muesca específica. • Quitar los Filtros antigrasa metálicos.