CUBIA ISOLA GLOSS W ACTIVE - FABER - Manual de uso y guía de instrucciones gratis

Encuentra gratis el manual del aparato CUBIA ISOLA GLOSS W ACTIVE FABER en formato PDF.

Page 84
Asistente de manual
Desarrollado por ChatGPT
Esperando tu mensaje
Información del producto

Marca : FABER

Modelo : CUBIA ISOLA GLOSS W ACTIVE

Categoría : Indefinido

Tipo de dispositivoCalentador de agua
CapacidadNo especificado
Tipo de energíaNo especificado
PotenciaNo especificado
Dimensiones (AlxAnxPr)No especificado
PesoNo especificado
Presión máximaNo especificado
Tipo de instalaciónMontaje en pared
Material del tanqueNo especificado
Protección anticorrosiónNo especificado
Temperatura máximaNo especificado
Tipo de controlNo especificado
GarantíaNo especificado
Normas de seguridadNo especificado
ColorBlanco

Preguntas frecuentes - CUBIA ISOLA GLOSS W ACTIVE FABER

¿Cómo instalar el FABER FABER CUBIA ISOLA GLOSS W ACTIVE?
Para instalar el FABER FABER CUBIA ISOLA GLOSS W ACTIVE, siga las instrucciones proporcionadas en el manual de instalación. Asegúrese de tener todas las herramientas necesarias y de respetar las medidas de seguridad.
¿Qué tipo de filtro utiliza el FABER FABER CUBIA ISOLA GLOSS W ACTIVE?
El FABER FABER CUBIA ISOLA GLOSS W ACTIVE utiliza un filtro de carbón activo y un filtro de grasa. Se recomienda reemplazarlos cada 6 meses para un funcionamiento óptimo.
¿Cómo limpiar el FABER FABER CUBIA ISOLA GLOSS W ACTIVE?
Para limpiar el FABER FABER CUBIA ISOLA GLOSS W ACTIVE, utilice un paño suave y un limpiador no abrasivo. Evite usar productos que contengan blanqueador o solventes fuertes.
¿Es ruidoso el FABER FABER CUBIA ISOLA GLOSS W ACTIVE?
El nivel de ruido del FABER FABER CUBIA ISOLA GLOSS W ACTIVE es de 55 dB a la potencia máxima. Esto lo hace relativamente silencioso en comparación con otras campanas de cocina.
¿Cuáles son las dimensiones del FABER FABER CUBIA ISOLA GLOSS W ACTIVE?
Las dimensiones del FABER FABER CUBIA ISOLA GLOSS W ACTIVE son 90 cm de ancho, 40 cm de profundidad y 15 cm de altura.
¿Cómo ajustar la potencia de succión?
La potencia de succión del FABER FABER CUBIA ISOLA GLOSS W ACTIVE se puede ajustar mediante el panel de control. Ofrece varios niveles de succión para adaptarse a sus necesidades.
¿El producto es compatible con el uso en modo reciclaje?
Sí, el FABER FABER CUBIA ISOLA GLOSS W ACTIVE puede funcionar en modo reciclaje utilizando los filtros apropiados. Asegúrese de que los filtros estén instalados correctamente para un funcionamiento eficaz.
¿Dónde puedo comprar piezas de repuesto para el FABER FABER CUBIA ISOLA GLOSS W ACTIVE?
Puede comprar piezas de repuesto para el FABER FABER CUBIA ISOLA GLOSS W ACTIVE a través de distribuidores autorizados o en el sitio oficial de Faber.

Descarga las instrucciones para tu Indefinido en formato PDF gratis! Encuentra tus instrucciones CUBIA ISOLA GLOSS W ACTIVE - FABER y toma tu dispositivo electrónico nuevamente en la mano. En esta página están publicados todos los documentos necesarios para el uso de su dispositivo. CUBIA ISOLA GLOSS W ACTIVE de la marca FABER.

MANUAL DE USUARIO CUBIA ISOLA GLOSS W ACTIVE FABER

CHARACTERISTICS Dimensions

Activeert de hoge snelheid vanuit elke snelheidsstand, ook vanuit de uitgeschakelde stand van de motor. Deze snelheid wordt 6 minuten aangehouden en daarna keert het systeem terug naar de eerder ingestelde snelheid. Geschikt voor het opvangen van de maximale uitstoot van kookdampen.

Als de toets ongeveer 5 seconden ingedrukt wordt gehouden als alle belastingen (motor+lamp) uitgeschakeld zijn, dan wordt het alarm van de actieve koolstoffilters in- of uitgeschakeld. 24H-functie Schakelt de eerste snelheid van de motor in en stelt de afzuiging elk uur 10 minuten in werking. Schakelt de verlichtingsinstallatie in de modus ‘sfeerverlichting’ in en uit.

1 • Verwijder de filters één voor één door ze naar de achterkant van de unit te duwen en tegelijkertijd naar beneden te trekken. • Was de filters zonder ze te buigen en laat ze drogen alvorens ze weer te monteren. (Een eventuele kleurverandering van het filteroppervlak die zich in de loop van de tijd kan voordoen heeft geen nadelige gevolgen voor de efficiëntie van het filter.) • Monteer de filters weer en houd de handgreep daarbij naar het zichtbare deel aan de buitenkant. • Sluit de Confort Panels weer.

Compruebe que la tensión de red coincide con la indicada en la placa de características del interior de la campana. Los dispositivos de desconexión deben instalarse en la instalación fija de acuerdo con las regulaciones para sistemas de cableado. Para los aparatos de la clase I, compruebe que el suministro de corriente eléctrica de la casa tiene una conexión a tierra adecuada. Conecte la campana a la chimenea con un tubo de un diámetro mínimo de 120 mm. El trayecto de humos debe ser lo más corto posible. Deben observarse todas las normas relativas al escape de aire. No conecte la campana extractora a los conductos de humos de combustión (p. ej. calderas, chimeneas, etc.).

• Conecte la clavija a una toma de corriente que cumpla la normativa vigente y sea accesible.

• En cuanto a las medidas técnicas y de seguridad a adoptar para el vertido de humos, es importante cumplir escrupulosamente las normas establecidas por las autoridades locales. ADVERTENCIA: Retire la película protectora antes de instalar la campana. • Utilice únicamente tornillos y herramientas que sean adecuados para la campana. ADVERTENCIA: Si no se instalan tornillos o sujetadores de acuerdo con estas instrucciones, se puede producir una descarga eléctrica. • No observar directamente con instrumentos ópticos (prismáticos, lupas, etc.). • No cocine en flambeado bajo la campana: podría producirse un incendio. • Este aparato puede ser utilizado por niños a partir de los 8 años y por personas con capacidades psico-físico-sensoriales reducidas o con una experiencia y conocimientos insuficientes, siempre que sean cuidadosamente supervisados e instruidos sobre cómo utilizar el aparato de forma segura y sobre los peligros que conlleva. Asegúrese de que los niños no jueguen con el aparato. La limpieza y el mantenimiento por parte del usuario no deben ser llevados a cabo por niños, a menos que sean supervisados. • Supervise a los niños, asegurándose de que no jueguen con el aparato.

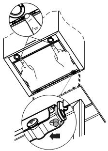
• una linea horizontal a : 550 mm por lo menos sobre la cocina; • Marcar, como se indica, un punto de referenzia a 808 mm sobre la linea horizontal de referencia,y a X mm (X= ver tabla del esquema) a la derecha de la linea vertical de referencia. • Repetir la misma operación en la parte opuesta, controllando que la nivelación sea correcta. • Agujerear con una punta de Ø 12 mm los punto marcados. • Colocar los tacos, los tornillos y las placas 11a en los agujeros. Enroscar.

Activa la velocidad Intensiva desde cualquier velocidad incluso desde motor apagado, dicha velocidad está temporizada en 6 minutos, al final del tiempo el sistema regresa a la velocidad implementada precedentemente. Adecuada a enfrentar las máximas emisiones de humos de cocción.

Manteniendo la tecla presionada por aproximadamente 5 segundos cuando todas las cargas están apagadas (Motor-Luz) se activa/ desactiva la alarma de los filtros al carbono activo. Función 24H: Activa el motor a la primera velocidad y permite una aspiración de Una vez terminado el procedimiento se apaga la señalización visualizada precedentemente: FG señala la necesidad de lavar los filtros antigrasa metálicos. La alarma entra en función después de 100 horas de trabajo efectivo de la Campana FC señala la necesidad de sustituir los filtros al carbono activo y deben lavarse además los filtros antigrasa metálicos. La alarma entra en función después de 200 horas de trabajo efectivo de la Campana. Función Delay Visualiza la velocidad de ejercicio y el punto en Activa el apagado automático retrasado en 30’. Adecuado para la parte baja derecha parpadea una vez al seguncompletar la eliminación de olores residuos. Activable desde cual- do. quier posición, se desactiva presionando la tecla o apagando el motor. Manteniendo la tecla presionada por aproximadamente 5 segundos IR+Punto (2Parpadeos)–Alarma Activa. cuando todas las cargas están apagadas (Motor+Luz) se activa/ IR+Punto (1Parpadeo)–Alarma Desactivada. desactiva el telemando. Enciende y apaga la instalación de iluminación a la máxima intensidad. Enciende y apaga la instalación de iluminación en la modalidad Luz de cortesía.

1 . Presionar la tecla E (Ver párrafo de uso). Limpieza de los filtros . Abrir los Confort Panel tirándolos en la muesca específica. . Quitar los Filtros uno por vez, empujándolos hacia la parte posterior del grupo y tirando simultáneamente hacia abajo. . Lavar los Filtros evitando doblarlos, y dejarlos secar antes de volverlos a montar. (Un eventual cambio de color de la superficie del filtro, que podrá verificarse en el transcurso del tiempo, no perjudica absolutamente la eficiencia del mismo.) . Montar nuevamente los filtros teniendo cuidado de mantener la manija hacia la parte visible externa. . Cerrar los Confort Panel . En las campanas de versión filtrante, la señalización de alarma saturación filtros debe activarse en el momento de la instalación o sucesivamente. . Apagar las luces y el motor de aspiración. . Presionar la tecla D por 5 segundos aproximadamente. . 2 parpadeos sigla FC+Punto -- Alarma saturación Filtro C.A. ACTIVA . 1 parpadeo sigla FC+Punto -- Alarma saturación Filtro C.A. DESACTIVADA SUSTITUCIÓN FILTRO ANTIOLOR AL CARBONO ACTIVO A Reset de la señal de alarma • Apagar las Luces y el Motor de aspiración, luego si está activada la función 24h desactivarla. • Presionar la tecla E (Ver párrafo de Uso). Sustitución filtro • Abrir los Confort Panel tirándolos en la muesca específica. • Quitar los Filtros antigrasa metálicos.