CUBIA ISOLA GLOSS W ACTIVE - Vandens šildytuvas FABER - Nemokama naudojimo instrukcija
Raskite įrenginio instrukciją nemokamai CUBIA ISOLA GLOSS W ACTIVE FABER PDF formatu.
Atsisiųskite instrukciją savo Vandens šildytuvas PDF formatu nemokamai! Raskite savo instrukciją CUBIA ISOLA GLOSS W ACTIVE - FABER ir vėl perimkite savo elektroninį įrenginį. Šiame puslapyje skelbiami visi dokumentai, reikalingi jūsų įrenginio naudojimui. CUBIA ISOLA GLOSS W ACTIVE prekės ženklo FABER.
NAUDOJIMO INSTRUKCIJA CUBIA ISOLA GLOSS W ACTIVE FABER
Kad jrenginys saugiai ir tinkamai veiktu, prišjrengimār naudojima atidžiai perskaitykite šj vadova. Visada išsaugokite šias instrukcijas prie jrenginio, net jei persikelsite gyventi kitā vieta arba jj parduosite. Naudotojai privalo visiskai buti susipazine su šio jrenginio veikimo ir saugumo savybémis.

Laidus sujungti privalo kvalifikuotas specialists.
- Gamintojas nebus atsakingas už bet kokia Žala, kuri atsiras del netaisyklingo ar netinkamo jrengimo.
- Minimalus saugus atstumas tarp virykles virsaus ir gartraukio gaubto yra 650 mm (kai kuriems modeliams gali buti sumontuotas zemesniame aukstyle, zr. darbiniu gabaritir montavimo paragraphus).
- Jei duju degikliui skirtose montavimo instrukcjose nurodytas didesnis atstumas, l tai turi buti atsižvelgta.
- Patikrinkite, ar elektrós tinklo itampa atitinka itampa, kuri nurodyta techniniu duomenu lenteleje gartraukio viduje.
- Atjungimo priemonés privalo buti sumontuotos elektros laidú系統oje laikantis elektros i'rengimo taisykliu.
- I klasès i'renginiai: patikrinkite, ar tiekiant elektrà buitiniam vartootojui garantuojamas pakankamas ižeminimas.
- Prijunkite ištraukiklj prie išmetimo dumtokio, naudodami ne mažesnj kaip 120 mm diametro vamzdj. Jungimas prie dumtokio turi buti kuo trumpesnis.
Reikia laikytis oro šalinimo taisykiu. -
Nejunkite ištraukiančio gartraukio prie vamzdynu, kuriais šalinami dumai (boileriu,Židiniu ir t. t.).
-
Jei ištraukiklis yra naudiojamas kartu su neelektriniais i'renginiais (pvz., dujas deginanciais i'renginiais), reikia užtikrinti pakankama védinima, kad išmetamos dujos negrižtu atgal i patalpa. Kai gartraukis yra naudiojamas su i'renginiais, kuriems reikalinga kitokia energijos rūsis (ne elektra), neigiamas slëgis patalpoje neturi viršyti 0,04 mbar - taip bus užtikrinta, kad gartraukis nestums garu i patalpa.
- Oras neturi buti nukreipiamas i dūmtaki, kuris skirtas dūmams iš jirenginiu, naudojančiu dujas ar kitas kuro rūsis, šalinti.
- Jei elektrós tiekimo kabelis yra pazeistas, jj privalo pakeisti gamintojas arba priežiūros paslaugas teikiantis agentas.
- [kiskite kištuka] [lizda], atitinkanti nurodytus reikalavimus, esanti lengvai prieinamoje vietoje.
- Atsižvelgiant l dūmú šmetimui taikomas technines ir saugumo priemones, svarbu laikytis vietiniu instituciju nurodytu taisykiu.
!SPEJIMAS! Pries montuodami garu surinktuva, nuo jo pašalinkite apsauginé plevele.
Gartraukiui atremti naudokite tik sraigtus ir mazas dalis.
Δ ISPEJIMAS! Jei sraigtai arba tvirtinantys irenginiai bus montuojami nesilaikant šiu nurodymu, elektra gali kelti pavoju.
- Neziurekite [sviesos saltinius per optinius prietaisus (ziuronus, didinamuosius stiklus...).
- Po trauktuvu nerooskite patiekalu, kuriuos reikia užpilti spiritiniu gérimu ir padegtī, nes kyla gaisro pavojus.
- Ši jrengini gali naudoti vaikai nuo 8 metu ir vyresni bei asmenys su ribotais fizinaliais, jutiminialis ar protiniais sugebejimais arba asmenys, kuriems truksta patirties ir ziniu, jei jie yra prižiūrimi ar buvo apmokyti, kaip saugiai elgtis su jrenginiu, ir supranta su juo susijusius pavojus. Vaikams zaisti su jrenginiu negalima. Vaikai atlikti valymo ir priežiūros darbus be suaugusiuju negali.
-
Vaikus reikia prižiūrétí, kad jie su prietaisu nezaistu.
-
Irenginio neturetu naudoti asmenys (iskaitant vaikus), kuriems yra pabloge fiziniai, jutiminiai ar protiniai sugebejimai arba truksta patirties ir ziniu, išskyrus atvejus, jei tokie asmenys yra prižiūrimi arba buvo apmokyti, kaip su tokiais Irenginiais elgtis.
Jei viryklès naudojamos, rankomis paliečiamos dalys gali buti karstos.
- Išvalykite ir / ar pakeiskite filtrus po nurodyto laiko (gaisro pavojus). Žiūrekite paragrafā „Priežiūra ir valymas".
- Kai trauktuvas yra naudojamas tuo pačiu metu, kaip ir dujas ar kitas kuro rūsis degimui naudojantys i'renginiai (netaikoma i'renginiams, kurie tik nukreipia ora atgal i patalpa), patalpose turi buti pakankama ventiliacija.
Ant gaminio arba jo pakuotës esantis simbolis nurodo, kad šis prietaisas nepriskiriamas prie i prastu buities atlieku. Prietaisas turi buti perduotas i reikiamā surinkimo punktä, užsiimantj elektrós ir elektronínes i rangos perdirbimu. Tinkamai sunaikindami šj gaminj, aplinka ir Žmogaus sveikata apsaugosite nuo galimü neigiamu pasekmiu, kuriç gali atsirasti del netinkamo šio gaminio utilizesvimo. Norédami gauti daugiau informacijos apie šio gaminio utilizesvima, kreipkitës i miesto institucijas, savo buitiniu atlieku tvarkymo tarnybɑ arba parduotuvę, kurioje prietaisa pirkote.
Kliutis


Sudedamosios dalys
| Nuor. | Kiekis | Gaminio sudedamosios dalys |
| 1 | 1 | Gaubto korpulas su: valdymo componentais, lempute, traukos skyriumi, filtrais, apatiniu vamzdžiu |
| 7 | 1 | PVC vamzdis (sumontuotas) |
| 8 | 1 | Nuožulnios grotelès (sumontuotos) |
| 9 | 1 | 150–120 mm ø redukciné jungé |
| 10 | 1 | Metalinis dangtis |
Nuor. Kiegis Surinkimo componentai
| 11a 2 Kamšćiai SB 12/10 | |
| Kiekis Dokumentai | |
| 1 Instrukcjos vadovas |

Sienos grežimas
Jei gartrauki norite naudoti išraukimo režimu, o oro Angela turi būti gaubto galinéje dalyje, pasistenkite laikytis nurodymu, pateiktu oro angos taisyklingo grežimo bržinyje.
| Gaubto tipas | 45 | 60 | 90 |
| X | 180 | 240 | 390 |

Montuojant gartrauki recirkuliaciniu rezimu, reikia atsižvelgti, kad tarpas tarp gartraukio ir virsutinés ribos (perdengimo ar lentynos) turi buti bent 8-10 cm.
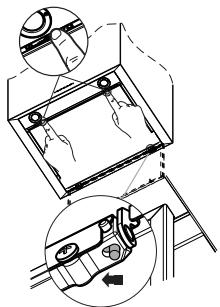
Ant sienos nubraižykite:
- vertikalia linija iki perdengimo ar viršutinës ribos, kurios centre bus montuojamas gaubtas;
- horizontalia linja: minimalai 550 mm virš degiklio;
- kaip nurodyta virsuje, pažyměkite atskaitos taška 808 mm virš horizontalios orientacinés linjos ir X mm (X = Žr. lentele brežinyje) i dešiné nuo vertikalios orientacinés linjos;
- pakartokite ši veiksmā kitoje puseje, jsitikine, kad sudedamosios dalys nustatytos lygiai;
- gręzkite pazymetu stański, naudodami 12 mm grażtaz;
-
jdekite kamšcius su sraigtais ir laikiklius 11a i skies ir tada juos priveržkite.
-
Priderinkite du laikikliu 11a sraigtus Vr, idedami juos i savo padeti.
Uzkabinkite gaubto korpusa už dviejlaikikliu 11a. - Patraukite „Comfort“ skydeli, kad ji atidarytumete, po viena isimkite filtrus; pastumkite juos irenginio galines dalies link, tuo pačiu metu patraukdami Žemn.
- Iš gaubto korpuso vidaus priveržkite sraigtus Vr, kad islygintumete korpusa.

Jungimas
VAMZDINIO GARTRAUKIO ORO ANGA
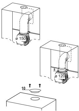
Jei montuojate gartrauki, šalinanti oraj lauka, pagal montuotojo pasirinkima naudojamas lankstus ar standus 150 ar 120mm ø vamzdis, reikalingas prijungti gartrauki prie oro isleidimo angos vamzdyno. Vamzdis gali buti sujungiamas ant gartraukio viršutinës dalies ar užpakinalës pusës.
Pries prijungdami gartrauki prie oro isleidimo vamzdyno, nuimkite sonines oro isleidimo groteles 8 ir plastikinj vamzdj 7. Priderinimo junge 9 turi buti nuimta tik tuo atveju, jei jungimo yra 150mm
UZPAKALINE ORO ISLEIDIMO ANGA
- Greždami oro išleidimo skyle sienoje, atlikite darbus pagal schema, pateiktä senu grežimaprasnacioje dalyje.
- Ruosdami sienoje užpakaline oro isleidimo skyle, naudokite znyples.
- Tuo atveju, jei juntgis yra ruosiama naudojant 120mm vamzdi, j gartraukio korpuso anga idekite reducine junge 9.
Vamzdji pritvirtinkite, naudodami reikiama kiekj vamzdzio apkabu. Ši priemoné kartu su gartraukiu nepateikiama. - Jei yra, išimkite angliae filtra.
- Metalo dangti 10 pritvirtinkite prie gartraukio viršutinës oro isleidimo skylës, naudodami pateiktus sraigtus.
VIR'SUTINE ORO ISLEIDIMO ANGA
- Tuo atveju, jei juntgis yra ruosiama naudojant 120mm vamzdi, i gartraukio korpuso anga idekite redukine junge 9.
- Nuimdami metalinio dangcio 10 centrine dalj, naudokite znyples. Naudodami pateiktus sraigtus, pritvirtinkite dangti prie oro isleidimo skylès.
Vamzdji pritvirtinkite, naudodami reikiama kiekj vamzdzio apkabu. Ši priemoné kartu su gartraukiu nepateikiama. - Jei yra, išimkite angles filtra.



RECIRKULIACINIU REZIMU DIRBANCIO GARTRAUKIO ORO ISLEIDIMO ANGA
- Tuo atveju, jei reikiamos recirculiaciniu rezimu dirbanciogartraukio dalys buvo nuimtos ankschiau, jas reiketu vul uzdeti.
Uzdekite plastikinj vamzdi ant junges 7. - Ant oro isleidimo angos uždékite oro angos groteles 8. Isitikinkite, ar grotelès jdetos tinkamai.
- Isitikinkite, ar anglies filtrai buvo jdeti j gartraukj.

PAJUNGIMAS PRIE ELEKTROS
- Pajungti gartrauki i tinkla panaudojant bipolinji jungiklj su mažiausiai 3mm kontaktu atidarymu.
- Išimi riebalu sulaikymo filtrus (Ziūreti par. Eksplatacija)


A

B

C

D


E

F

G

H
Valdymo skydelis
| Mygtuk as | Funkcija | Ekranas |
| A | Traukos varikli jjungia / ijsjungia pirnu greiciu. | Ekrane rodomas nustatyas greitis. |
| B | Sumažina darbinj greiti. | Ekrane rodomas nustatyas greitis. |
| C | Padidina darbinj greiti. | Ekrane rodomas nustatyas greitis. |
| D | Jungia intensyvy greiti esant bet kuriam kitam greiciu, taip pat varikliui esant ijsjungtam. Greitis nustatomas dirbti 6 minutes, po toystema grizta prie greicio, kuris buvo nustatyas anksciu. Tinka išraukti maksimalius maisto ruosimo metu susidariusiu garu kiekius. | Ekrane rodoma HI ir likes laikas kas sekunde. |
| Paspauskite mygtuka ir laikykite nuspaude apytiskliai 5 sekundes, visos akropvos turi būti ijsjungtos (variklis ir lempūtes), kad jungtumēte ir ijsjungtumēte aktyvintos angles filtr oispjamaji signala. | FC+Taskas (2 blyksnai) -ispèjamasis signalas jungtas. FC+Taskas (1 blyksnis) -ispèjamasis signalas ijsjungtas. | |
| E | 24 val. funckija Jungia traukos varikli pirmu greiciu, kiekviena valanda išraukimas trunka 10 minuči. | Ekrane rodoma 24, o taškas apatinëne dešinëne puseëpe blyksteli viena karta kiekviena sekunde, tuo metu variklis veikia. Jis ijsjungiamas paspaudus mygtuka. |
| Kai sužadinamas filtr uispèjamasis signalas,ispèjamaji signala pakartotinai galima nustatyipaspaudus mygtuka ir laikant ji nuspasta aptyksliai 3 sekundes. Šie rodmenys matomi tik tuomet, kai variklis yra sustabdtyas. | FF blyksteli tris karthus. Kai procedū rbaigiama, anksciu parodytas rodmuo ijsjungiamas: FG parodo, kad reikia išplauti metalinius riebalj filtrus. Signalas yra sužadinamas po 100 gartaukio darbo valandy. FC Parodo poreiki pakeisti aktyvintos angles filtrus, taip pat išplauti metalinius riebalj filtrus. Signalas yra sužadinamas po 200 gartaukio darbo valandy. | |
| F | Uždelsto ijsjungimo funkcjija Aktvyujoa automatini ijsjungimpo 30 min. atidëjimo. Tinka prireikus pašalinti visus likusius kvapus. Gali būti jungtas iš bet kurios padeties, ijsjungiamas paspaudus mygtuka arba sustabdžius varikli. | Ekrane parodomas darbinis greitis, taškas apatinëne dešinëne dalyje blyksteli viena karta per sekunde. |
| Paspauskite mygtuka ir laikykite nuspaude apytiskliai 5 sekundes, visos akropvos turi būti ijsjungtos (variklis ir lempūtes), kad jungtumēte ir ijsjungtumēte nuotolinj valdyma. | IR+Taskas (2 blyksnai) -ispèjamasis signalas jungtas. IR+Taskas (1 blyksnis) -ispèjamasis signalas ijsjungtas. | |
| G | Jungia arba ijsjungia apsivietimo sistæ esant maksimaliam intensyvumui. | |
| H | Jungia ir ijsjungia pirminio apsivietimo sistæ. |
NUOTOLINIS VALDYMAS (PASIRENKAMA)
Sis irenginys gali buti valdomas naudojant nuotolinio valdymo pulteli, kuris naudoja CR2032 tipo 3 V baterija (nepateikiama).
- Nedékite nuotolinio valdymo pultelio netoli silumos šaltiniu.
- Neišmeskite bateriju kartu su iprastomis buitinemis atliekomis, joms yra skirtos specialios talpyklos.
"Comfort" skydelio valymas
- Patraukite „Comfort“ skydelj, kad ji atidarytumete.
- Atjunkite skydeli nuo gaubto kupolo, nuleisdami fiksuojamaja kai'stine svirti.
"Comfort" skydelio negalima plauti indaplovej. - Isore valykite dregnu skudureliu, naudodami neutralu skysta plovikli.
- Vidú taip pat valykite dregnu skudurelii ir neutraliu plovikliu; nevalykite šlapiais skudureliais arba kempinëmis, vandens Čiurkšle, nenaudokite abrazyviniu medziag.
- Atlike pirmiau apraśytā darba, užkabinkite skydeli ant gaubto kupolo ir ji uždarykite sukdami priesinga kryptimi.


Metaliniali riebaliflrai
Jie gali būti plaunami indaplore i rtur būti valomi, kai tik ekrane pasirodo FG Ženklas, arba bent kartā kas 2 naudiojimo menesius ar dažniau, jei jie yra naudiojami ypač intensyviai.
Pakartotinis ispéjamjo signalo nustatymas
- Išjunkite apšvietimā ir traukos variklj, tada išjunkite 24 valandú funkcjja, jei ijungta.
- Tada paspauskite E mygtuka (žiūrekite paragrafā „Naudojimas").
Filtru valymas
- Atidarykite „Comfort“ skydeli, patraukdami išpjova.
- Išimkite filtrus, po viena stumdami juos filtru galo link ir tuo pačiu metu traukdami Žemyn.
- Išplaukite filtrus jū nelankstydami, tada pries ādādami palikite juos visiškai išdžūti. (Jei laikui bègant filtru spalva pasikečia, tai visiškai neturës jokios itakos jū efektyvumui.)
Vél jédèkite, atkreipdami démesi, ar rankenèle nukreipta i priéki.
Uzdarykite,Comfort"skydelius.

Jo negalima nei plauti, nei atnaujinti, ji reikia pakeisti, kai ekrane atsiranda FC simolis arba bent viena CARTa per 4 menesius. Ispèjamasis signalas, jeijis aktyvuotas, pasirodo tik tuomet, jei yra ijungtas istraukimo variklis.
Ispéjamjo signalo ijungimas
- Jei naudojamas recirkuliacinis gartraukis, apie filtro prisotinima ispëjantis signalas turi buti ijungtas jj irengus arba praëjus šiek liako.
- Isjunkite apsvietima ir istraukimo variklj.
- Paspauskite D mygtukā ir laikykite nuspaude apytiksliai 5 sekundes:
- du kartus blyksteliŽinuté FC + Ta skas, aktyvintos anglies filtro prisotinimo jspejamasis signalasIJJUNGtas;
- viena karta blyksteliŽinuté FC + Ta skas, aktyvintos angies filtro prisotinimo jspejamasis signalas ISJUNGtas.
AKTYVINTOS ANGLIES FILTRO KEITIMAS
Pakartotinis ispèjamjo signalo nustatymas
- Išjunkite apšvietimā ir traukos variklj, tada išjunkite 24 valandú funkcjja, jei jjungta.
- Tada paspauskite E mygtuka (žiūrekite paragrafá „Naudojimas").
Filtro keitimas
- Atidarykite „Comfort“ skydeli, patraukdami išpjova.
- Isimkite metalinius riebalu filtrus.
- Išimkite panaudotá angies pluosto filtrà, atleisdami fiksuoamusius kabliukus.
- Idékite nauja filtrār pritvirtinkite ji j reikiamā padeti.
- Idékite metalinius riebalu filtrus.
Uždarykite „Comfort“ skydelius.


Apšviétrimo skyrius
- Del pakeitimo kreipkites i techninius darbuotojus (Noredami nusipirkti, kreipkites i techninius darbuotojus).

LengvasVadovas