V9WD128H2 - Lavatrice LG - Manuale utente e istruzioni gratuiti
Trova gratuitamente il manuale del dispositivo V9WD128H2 LG in formato PDF.
Scarica le istruzioni per il tuo Lavatrice in formato PDF gratuitamente! Trova il tuo manuale V9WD128H2 - LG e riprendi in mano il tuo dispositivo elettronico. In questa pagina sono pubblicati tutti i documenti necessari per l'utilizzo del tuo dispositivo. V9WD128H2 del marchio LG.
MANUALE UTENTE V9WD128H2 LG
Prima di iniziare l'installazione, leggere attendamente queste istruzioni. In tal modo, l'apparecchiatura sare alla installata lavorante e in maniera corretta e sicura. Dopo l'installazione, conservare queste istruzioni accanto al prodotto per utilizzi futuri.
ITALIANO
V9WD128H2
INDICE
Questo manuale cui contenere testo o immagini che non si riferisce con al modello acquistato.
Il presente manuale è soggetti a revisioni da parte del produttore.
ISTRUZIONI PER LA SICUREZZA
LEGGERE TUTTE LE ISTRUZIONI PRIMA DELL'USO 3
AVVERTENZA 3
ATTENZIONEPER L'AMBIENTE 8
INSTALLAZIONE
Partie specifie 12
Requisiti del luogo di installmente 15
Disimballaggio dell'elettrodomestico 16
Livellamento dell'elettrodomestico 17
Collegamento del tubo di mandata dell'acqua 19
Installazione del tubo di scarico. 20
USO
Panorama relativa all'uso. 22
Pannello di controllo. 23
Preparazione del carico. 26
Aggiunta di detersivi e ammorbidenti 27
Tabellaprogrammi 29
Programma di asciugatura 35
Opzioni e funzioni aggintive 38
FUNZIONI SMART
Applicazione LG ThinQ 41
Smart Diagnosis 43
MANUTENZIONE
Pulire dopo agli lavaggio. 45
Pulizia periodica dell'elettrodomestico ed esecuzione di un'evacuazione dell'acqua di emergenza. 46
RISOLUZIONE DEI PROBLEMI
Prima di chiamare l'assistenza 49
ISTRUZIONI PER LA SICUREZZA
LEGGERE TUTTE LE ISTRUZIONI PRIMA DELL'USO
Le istruzioni seguenti sono fornite allo scopo di evitare rischi o danni imprevisti dovuti all'uso errato e non sicuro dell'elettrodomestico. Le istruzioni sono riportate con le diciture "AVVERTENZA" e "ATTENZIONE", come descripto di seguito.
Messaggi di sicurezza
A. Questo symbolo indica operazioni o condizioni pericolose. Consultare con la massima attenzione il testo riportato assisteme a questo symbolo e atteneri alle istruzioni per evitare rischi.
AVVERTENZA Indica che il mancato rispetto delle istruzioni cui provocare lesioni personali gravi o fatali.
ATTENZIONE Indica che il mancato rispetto delle istruzioni cui provocare lievi lesioni personali o danni all'elettrodomestico.
AVVERTENZA
AVVERTENZA
Per ridurre il rischio di esplosioni, incendi, scosse elettriche, ustioni o lesioni personali sono fallati, quando si utilizza l'elettrodomestico è indispensable atteneri alle seguenti precauzioni basilari per la sicurezza:
Sicurezza tecnica
- Questo elettrodomestico più essere adoperato da bambini di almeno 8 anni di età, da persone con disponà fisiche, sensoriali o mentali ridotte, e da persone prive di esperienza sotto sorveglianza, solo se è stato spiegato l'uso corretto dell'elettrodomestico e
4 ISTRUZIONI PER LA SICUREZZA
descrivendone i relativi pericoli. con l'elettrodomestico. La pulizia e la manutenzione non devono essere effettuate da bambini perché la supervisione degli uomini.
- I bambini di età inferiore a 3 anni devono essere tenuti lontani se non sorvegliati costamente.
- Se il cavo è danneggiato, per evitare danni deve essere sostituito dal produttore, dall'incaricato della manutenzione o da altri personale qualificato.
- Non ostruire le aperture di ventilazione con tappeti.
- Questo elettrodomestico è inteso per l'uso escludivamente in un ambiente domestico.
- Utilizzare un tubo o tubi nuovi forniti con l'elettrodomestico. Riutilizzare i vecchi tubi può provocare una perdita d'acqua e segmenteamente danni ai beni.
- La pressione dell'acqua deve essere tra 50 kPa e 800 kPa.
Capacità massima
La capacité massima di vestiti asciutti in alcuni cicli è Lavaggio (12 kg)/ Asciugatura (8 kg).
La capacité massima consigliata per ciascun programma di lavaggio potrebbe essere diversa. Per ottenere buoni risultati di lavaggio,fare riferimento alla Tabella programmi nel capitolo FUNZIONAMENTO per ulteriori informazioni.
Sicurezza tecnica per l'uso dell'asciugatrice
- Non asciugare biancheria sporca nell'elettrodomestico.
- I capi macchiati di olio da cucina, olio vegetale, acetone, alcool, benzina, cherosene, smacchiatori, trementina, cere e prodotti per la rimozione della cera devono essere lavati in acqua calda con una quantità magiore di detersivo prima di essere asciugati nell'elettrodomestico.
-
Arrestare l'elettrodomestico solo alla fine del ciclo di asciugatura; se viene arrestato prima, estrarre e stendere rapidamente tutti i capi in modo da dissipare il calore.
-
Non adoperare l'elettrodomestico per asciugare capi in gommapiuma (schiuma di lattice), cuffie per doccia, tessuti impermeabili, capi contententi gomma o cuscini imbottiti di gommapiuma.
- Ammorbidenti o prodotti simili devono essere adoperati attenendosi alle istruzioni dei relativi produttori.
- Togliere tutti gli oggetti (ad es. ascendini o fiammiferi) dalle tasche degli indumenti.
- Se sono stati adoperati prodotti chimici industriali per la pulizia, non utilizzato l'elettrodomestico.
Installazione
Non provare mai a utilizzato l'elettrodomestico se è danneggiato, se funzione male, se è stato parzialmente smontato e se alcuni componenti, inclusi cavo e spina, mancano o sono danneggiati.
- L'elettrodomestico dovrà essere sempre trasportato da due o più personne che lo tengano saldamente.
- Non installare l'apparecchio in un luogo umido e polveroso. Non installare o conservare l'apparecchio in aree esterne o esposte a condizioni climatiche quali luce solare diretta, vento, pioggia o temperature inferiori allo zero.
Assicurarsi che la spina sia inserita completeness nella presa.
- Non collegare l'elettrodomestico a prese multiple, schede di alimentazione o cavi prolunga.
- Non modificare la spina fornita con l'elettrodomestico. Se non entra nella presa,fare installare la presa adatta da un elettricista qualificato.
- Questo appearecchio è dotato di un cavo di alimentazione con conduittore di messa a terra/isolata (perno di messa a terra) e spina di messa a terra. La spina di alimentazione deve essere inserita in un'idonea presa elettrica installata e collegata a terra/isolata in conformità alle norme e ai regolamenti locali.
- Se il connettore di messa a terra è collegato in maniera errata, potrebbero verificarsi scosse elettriche. In caso di dubbi sulla messa
6 ISTRUZIONI PER LA SICUREZZA
a terra dell'elettrodomestico, rivolgersi a un elettricista qualificato o un addetto all'assistenza.
- Per consentire un'apertura completa dello sportello dell'elettrodomestico, evitare di installarlo dietro una porta bloccabile, una porta scorrevole o una porta con una cerniera collocata sul lato opposto a quella dell'elettrodomestico.
Uso
-
Non usare oggetti taglienti sul pannello di controllo per azionare l'elettrodomestico.
-
Non togliere i pannelli e non smontare l'elettrodomestico.
Non provare a riparare o sostituire componenti dell'elettrodomestico. Tutte le riparazioni e le operazioni di manutenzione devono essere eseguite dal personale qualificato dell'assistenza, a meno che non siano consigliate nel manuale d'uso. Utilizzare solo componenti originali.
-
Non esercitare una pressione eccessiva sullo sportello dell'elettrodomestico quando è aperto.
-
Impedireaglianimalidomestici dientrare nell'elettrodomestico.
-
Non lavare tappeti, stuoie, scarpe, coperte per animali, animali di peluche, o qualsiasi altri oggetti diverso da vestiti o biancheria, in questa macchina.
-
Mantenere gli spazi sottostanti o circostanti all'elettrodomestico liberi da materiali combustibili (ad es. lanugine, carta, stracci, prodotti chimici ecc.).
-
Non lasciare aperto lo sportello dell'elettrodomestico. I bambini potrebbero appendersi allo sportello o introdursi nell'elettrodomestico e ferirsi o provocare danni.
-
Non introdurre, lavare o asciugare capi che sono stati puliti, lavati, immersi o spruzzati con sostanze esplosee o combustibili (ad es. cera, sverniciatori, olio, vernice, benzina, sgrassatori, solventi per lavaggio a secco, cherosene, olio vegetale, smacchiatori, trementina, olio vegetale, olio da cucina, acetone, alcool ecc.). L'uso improprio cui poè provocare incendi o esplosioni.
ISTRUZIONI PER LA SICUREZZA
- Non utilizzato o conservare sostanze inflammabili o combustibili (etere, benzene, alcohol, prodotti chimici, GPL, spray combustibili, benzina, diluenti, petrolio, insetticidi, deodoranti, cosmetici, ecc.) Vicino all'elettrodomestico.
- Non provare mai ad accedere alla parte interna dell'elettrodomestico perché è in funzione. Attendere che il cestello sia completamente fermo.
- Non toccare lo sportello durante i programmi ad alta temperatura.
- In caso di perdite d'acqua dall'elettrodomestico o alluvione, scollegare la spina e contattare il centro informazioni clienti LG Electronics.
- Chiudere i rubinetti dell'acqua per scaricare la pressione su tubi e valvole e ridurre al minimo le perdite in caso di taglio o rottura. Controllare le condizioni dei tubi di riempimento; dovrebbero essere sostituiti快来 5 anni.
- In caso di perdite di gas (isobutano, propano, gas naturale, ecc.) in casa, non toccare l'elettrodomestico o la spina e ventilare l'area immediatamente.
- Se il tubo di scarico o di mandata dell'acqua si gela durante l'inverno, utilizzato solo dopo lo scongelamento.
- Tenere detersivi, immorbidenti e candelgianti fuori alla portata dei bambini.
- Non toccare la spina di alimentazione o i comandi dell'apparecchio con le con le mani bagnate.
- Non piegareccessivamente il cavo di alimentazione e non collocare oggetti pesanti su diesso.
- Evitare di toccare l'acqua scaricata dall'elettrodomestico durante il lavaggio.
- Assicurarsi che il drenaggio funzioni correttamente. Se l'acqua non viene scaricata correttamente, il pavimento potrebbe allagarsi.
- Quando la temperatura dell'aria è alta e la temperatura dell'acqua è Bassa, perché verificarsi della condensa e quindi bagnare il pavimento.
- Rimuovere sporco o polvere dai contatti della spina di alimentazione.
8 ISTRUZIONI PER LA SICUREZZA
Manutenzione
- Prima di pulire l'elettrodomestico, scollegarlo alla presa di corrente. L'elettrodomestico rimane collegato alla fonte di alimentazione although he is in standby o è spento.
- Collegare saldamente la spina di alimentazione nella presa elettrica dopo aver eliminato Completely l'eventuale umilità e polvere.
- Non spruzzare acqua all'interno o all'esterno dell'apparecchio per pulirlo.
- Non scollegare l'elettrodomestico tirando il cavo di alimentazione. Afferrare saldamente la spina di alimentazione ed estrarla alla presa elettrica.
- Solo il personale di assistenza qualificato del centro di assistenza LG Electronics più smontare, riparare o modificare l'elettrodomestico. Contattare un centro informazioni clienti LG Electronics se si sposta e si installa l'elettrodomestico in una posizione diversa.
Smaltimento
- Prima di smaltire un vecchio appearecchio, togliere la spina. Tagliare tutto il cavo dietro l'elettrodomestico per impedire utilizzi errati.
- Smaltire tutti i materiali di imballaggio (es. sacchetti di plastica e polistirolo) tenero lontani i bambini. I materiali di imballaggio possono provocare soffocamento.
- Rimuovere lo sportello prima di smaltire l'elettrodomestico, per evitare che bambini o piccoli animali rimangano intrappolati.
ATTENZIONE PER L'AMBIENTE
Consigli per l'ambiente e l'efficienza
Consumo di energia e di acqua
- Il consumo dell'acqua e il consumo di energia elettrica posso noni essere affettati dal peso del carico. Per ottenere il miglior utilizzo dell'elettrodomestico, caricare la quantità massima di vestiti asciutti per il programma particolare.
ISTRUZIONI PER LA SICUREZZA
- I programmi più efficaci in termini di consumo di energia sono in genere quelli che funzionano a temperature più basse e di maggiore durata.
- Il rumore e il contentuto di umidità rimanente sono influenzati da la velocità di centrifuga: maggiore è la velocità di centrifuga nella fase di centrifuga, maggiore è il rumore e minore è il contentuto di umidità rimanente.
- Un carico uniforme del bucato fino alla capacité indicatorata dal produttore per i rispettivi programmi contribuiro al risparmio energetico e di acqua.
- Per il lavaggio di più piccole quantità di vestiti, il sistema di riconoscimento automatico del carico contribuire a ridurre la quantità di acqua e il consumo di energia elettrica.
- Utilizzare il programma Speed (Rapido) per piccoli carichi leggermente sporchi.
- I detersivi per il bucato con acqua fredda possono essere altrettanto effettivi a temperature più basse (circa 20^ ). L'utilizzo di impostazioni di 20^ utilizzera meno energia elettrica rispetto alle temperature di 30^ o superiori.
Detersivo
- Scegliere il detersivo in base al tipo, al colore, al livello di sporcizia del tessuto e alla temperature di lavaggio. E deve essere utilizzato secondo le istruzioni del produttore del detersivo. Utilizzare solo detergenti adatti per lavativici del tipo a tamburo (caricamento frontale).
-
Usare meno detersivo su carichi di piccole dimensioni.
-
Carico parziale: 1/2 della quantità normale.
- Carico minimo: 1/3 rispetto al piano carico.
Selezione di opzioni e funzioni aggintive
- Selezionare la temperatura dell'acqua idonea al tipo di carico. Per ottenerere risultati ottimali, atteneri alle istruzioni riportate sull'etichetta dell'indumento.
10 ISTRUZIONI PER LA SICUREZZA
- L'opzione Pre Wash (Prelavaggio) è consigliata per lavare capi molto sporchi.
Quando si usa un programma di asciugatura
- Per ridurre il consumo di energia elettrica, scegliere la massima velocità della centrifuga possibile per il programma di lavaggio quando si asciuga in un'asciugatrice.
- Per una migliorare asciugatura, accertarsi che tutti i vestiti siano simili per materiale e spessore.
- Se si desidera solo l'asciugatura, la centrifuga gira automaticamente risparmiare energia.
Smaltimento delle apparecchiature obsolete

-
Tutte le apparecchiature elettriche ed elettroniche, contrassegnate da questo simbolo ("bidone della spazzatura barrato da una croce"), devono essere raccolte e smaltite separamente rispettoagli altri rifiuti urbani misti mediante impianti di raccolta specifici installati da enti pubblici o dalle autorità locali. Si ricorda che gli utenti finali domestici possono consegnare Gratisutamente le apparecchiature elettriche ed elettroniche a fine vita presso il punto vendita all'atto dell'acquisto di una nuova apparecchiatura equivalente. Gli utenti finali domestici sono inoltre consegnare Gratisutamente apparecchiature elettriche ed elettroniche di piccolissime dimensioni (non eccedenti i 25 cm) a fine vita direttamente presso un punto vendita a ciò abilitato, alla obbligo di acquistare una apparecchiatura nuova di tipo equivalente. Si prega di informarsi previamente presso il punto vendita prescelto circa tale ultima modalità di conferimento dell'apparecchiatura a fine vita.
-
Il corretto smaltimento dell'unità obsoleta contribuisce a prevenire possibili consequences negative sulla salute degli individui e sull'ambiente. Una gestione responsabile del fine vita delle apparecchiature elettriche ed elettroniche da parte degli utenti contribuisce al riutilizzo, al riciclaggio ed al recupero sostinibile dei prodotti obsoleti e dei relativi materiali.
- Per informazioni più dettagiate sullo smaltimento delle apparecchiature obsolete, contattare l'ufficio del comune di residenza, il servizio di smaltimento rifiuti o il punto vendita in cui è stato acquistato il prodotto. (www.lg.com/ global/recycling)



12 INSTALLAZIONE
INSTALLAZIONE
Parti e specifiche
NOTA
L'aspetto e le specifiche possono variare segna preavviso per migliorare la qualita dell'elettrodomestico.
Vista frontale

Pannello di controllo
Cassetto erogatore del detersivo
Cestello
Sportello
Coperchio
6 Tappodi scarico
Filtro della pompa di scarico
Piedi di livellamento
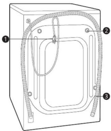
Vista posteriore

Spina di alimentazione
2 Bulloni per il trasporto
3 Tubo di scarico
Specifiche
| Modello V9WD128H2 | |
| Alimentazione 220-240 V~, 50 Hz | |
| Peso del prodotto 76 kg |
ONVITV

Dimensioni (mm)

| W 600 | D 615 D" 1145 | ||||
| H | 8 | 5 | 0 | D | ' 6 |


14 INSTALLAZIONE
Accessori
*1 Gli accessori inclusi variano in base al modello acquistato.
| Tubo di mandata dell'accqua fredda Tappetini antiscivolo*1 | |
| Chiave Staffa a gomito per il fISSaggio del tubo di scarico | |
| Tappi per copire i fori dei bulloni per il trasporto Fascetta*1 |
Requisiti del luogo di installmente
Prima dell'installazione, verificare le seguenti informazioni per assicurarsi che l'elettrodomestico venga installato nel luogo corretto.
Posizione di installmente
- Questo elettrodomestico deve essere installato su pavimenti rigidi per ridurre al minimo le vibrazioni durante la centrifuga. La pavimentazione in calcestruzzo è la migliorhe, essendo molto meno soggetta a vibrazioni durante il ciclo di rotazione rispetto alleassi di legno o a una superficie in moquette.
- Se non è possibile evitare di collocare l'elettrodomestico accanto a un fornello a gas o a una stufa a carbone, frapporre tra i due elettrodomestici un materiale isolante (850 X 600 mm) ricoperto da un foglio di alluminio sul lato rivolto verso il fornello o la stufa.
- Installare l'elettrodomestico in modo che sia fácilmente accessibile a un technique in caso di guasto.
- Durante l'installazione dell'elettrodomestico, regolare tutti e quattro i piedi utilizzando la chiave per bulloni per il trasporto fornita per assicurarsi che sia stabile.
Installazione a pavimento
Per garantire uno spazio sufficiente per i tubi di mandata dell'acqua, il tubo di scarico e il flusso d'aria, lasciare uno spazio minimo di almeno 20 mm ai lati e 100 mm dietro l'elettrodomestico. Assicurarsi di consentire modanature di pareti, porte o pavimenti che potrebbero aumento gli spazi liberi richiesti.

| Indice Spazio libero (mm) | |
| A | 100 |
| B | 5 |
| C | 20 |
AVVERTENZA
- Questo elettrodomestico delve essere utilizzato solo in ambienti domestici e non per installazioni mobili.
NOTA
Non provare mai a livellare pavimenti con eventuali dislivelli collocando quello l'eteletrodomestico pezzi di legno, cartone o materiali simili.
Pavimenti in legno (pavimenti flottanti)
Quando si installa l'elettrodomestico su pavamenti in legno, utilizzare tazze di gomma per ridurre le vibrazioni e lo squilibrio eccessivi. I pavamenti in legno o sospesi sono contribuire a vibrazioni e squilibri eccessivi, errori e malfunzionamenti.

Per ridurre le vibrazioni, si consiglia di posizionare uno spessore di almeno 15mm delle tazze di gomma ogni piedino dell'elettrodomestico e avvitari li ad almeno due elementi del pavimento.
- Se possibile, installare l'elettrodomestico in uno degli angoli dell'ambiente, dove il pavimento è più stabile.
16 INSTALLAZIONE
- Installare gli anelli di gomma per ridurre le vibrazioni.
ATTENZIONE
- Se l'elettrodomestico è installato su un pavimento non stabile (es. di legno), la garanzia non copre danni e costi dovuti all'infallazione sui tale pavimento.
NOTA
-
É possibile richiedere gli anelli in gomma (Numero pezzo 4620ER4002B) al centro assistenza LG.
-
La presa di alimentazione deve essere collocata a una distanza di al massimo 1 metro dai lati dell'elettrodomestico.
AVVERTENZA
- Le riparazioni dell'elettrodomestico devono essere eseguite solo da personale qualificato. Le riparazioni effettuate da persona inesperte possono provocare lesioni o gravi malfunzionamenti. Rivolgersi al centro di assistenza locale LG.
- La spina deve essere inserita in una presa adeguata installata e collegata a terra in conformità alle norme e ai regolamenti locali.
Ventilazione
- Accertarsi che la circolazione dell'aria attorno all'elettrodomestico non sia ostacolata da tappeti, strofinacci ecc.
Temperatura ambiente
Non installare l'elettrodomestico in ambienti dove la temperatura scende sotto zero. I tubi in pressione congelati possono scoppiare. Temperature inferiori al punto di congelamento potrebbero pregiudicare l'affidabilità dell'unità di controllo elettronico.
- Se l'elettrodomestico viene recapitato in inverno con temperature sotto zero, lasciarlo a temperatura ambiente per alcune ore prima di metterlo in funzione.
Collegamento elettrico
Non adoperare prolonghe o doppie spine.
- Dopo l'uso, scollegare sempre l'elettrodomestico e chiudere il rubinetto di ingressso dell'accqua.
- Collegare l'elettrodomestico a una presa dotata di messa a terra come imposto dalle norme vigenti in materia di cablaggi elettrici.
L'elettrodomestico delve essere collocato in modo che la spina sia migliormente accessibile.
Disimballaggio dell'elettrodomestico
Sollevamento dell'elettrodomestico per rimuoverlo alla base di gommapiuma
*Questo aspetto può variare in base al modello acquistato.
Dopo aver rimioso il cartone e il materiale di imballaggio, sollevare l'elettrodomestico per rimuoverlo alla base di gommapiuma.

- Assicurarsi che il supporto del cestello 1^* si stacchi insieme alla base e non sia attaccato al fondo dell'elettrodomestico.
- Se occorre appoggiare l'elettrodomestico su un fianco per rimuovere la base di cartone ② , proteggerlo lateralmente e posarlo
delicatamente. Non appoggiare l'elettrodomestico sulla parte anteriore o posteriori.
Rimozione dei bulloni per il trasporto
Per evitare che l'elettrodomestico subisca forti vibrazioni e rotture, rimuovere i bulloni per il trasporto e i fermi.
1 Iniziando con i due bulloni per il trasporto sul fondo ①, usare la chiave (inclusa) per allentare completamente tutti i bulloni per il trasporto ruotandoli in senso antiorario.

2 Rimuovere i bulloni torcendoli leggermente,.
dontre si estraggono.
3 Posizionare i tappi copri foro.
- Individuare i tappi dei fori 2 inclusi nella confazione degli accessori o applicati alla parte posteriore.

NOTA
- Conservare i bulloni per il trasporto e i fermi per uso futuro.
-
Trasportare quello elettrodomestico per prevenire rotture come di seguito:
-
I bulloni per il trasporto vengono reinstallati.
- Il cavo di alimentazione è fissato sul retro dell'elettrodomestico.
Livellamento dell'elettrodomestico
Verifica del livellamento
Quando si preme sui bordi della piatra superiore in senso diagonale, l'elettrodomestico non deve sollevarsi né abbassarsi (controllare entrambe le direzioni).
- Se l'elettrodomestico dontola quando si spinge la parte superiore in diagonale, regolare nuovamente i piedini.
- Accertarsi che l'elettrodomestico si perfeftamente a livello dopo l'infallazione.
NOTA
- Pavimenti in legno o sospesi sono contribuire a vibrazioni e squilibri eccessivi. Potrebbe essere necessario considerare il rinsforzo o il supporto del pavimento in legno per arrestare o ridurre il rumore e le vibrazioni eccessivi.
Regolamento e livellamento dei piedini
Durante l'installazione, l'elettrodomestico devese assere allineato e livellato perfettamente. Se non viene allineato e livellato adeguatamente, l'elettrodomestico potrebbe essere danneggiato o non funzionare adeguatamente.
1 Girare i piedi di livellamento come richiesto se il pavimento non è piano.
Non inseire pezioni di legno, ecc. sotto i piedini.

18 INSTALLAZIONE
- Assicurarsi che tutti e quattro i piedini siano stabili e poggino sul pavimento.

NOTA
Non installare la lavatrice su uno zoccolo, un supporto o una superficie elevata a meno che non sia fabbricata da LG Electronics per l'uso con questo modello.
2 Verificare se l'elettrodomestico è perfettamente a livello con una livella a bolla 0.

3 Fissare i piedi di livellamento con i controdadi 2 ruotandoli in senso antiorario contro il fondo dell'elettrodomestico.

4 Verificare se tutti i controdadi sul fondo dell'elettrodomestico sono fissati adeguatamente.
NOTA
L'installazione e il livellamento appropriati dell'elettrodomestico garantisco un funzionamento duraturo, regolare e affidabile.
L'elettrodomestico delve essere installato in posizione 100% orizzontale ed essere stabile su un pavimento duro e piatto.
Non delve ondegliare da un angolo all'altro sotto carico.
- I piedini dell'elettrodomestico non devono essere bagnati, altrimenti potrebbero causare rumori e vibrazioni.
Utilizzato dei tappetini antiscivolo
Questo aspetto cui varie in base al modello acquistato.
Se l'elettrodomestico viene installato su una superficie scivolosa, potrebbe muoversi a causa delle vibrazioni. Se l'elettrodomestico non è installato a livello, potrebbero verificarsi malfunzionamenti provocati dalle vibrazioni. In tal caso, installare i tappetini antiscivolo sotto i piedini di livellamento e regolare il livello.
1 I tappetini antiscivolo devono essere applicati su un pavimento pulito.
- Eliminare sporco e umidità con uno strofinaccio asciutto. Se la superficie rimane umida, i tappetini antiscivolo potrebbero spostarsi.
2 Dopo aver collocato l'elettrodomestico nella posizione definitiva, regolare il livello.
3 Applicare i tappetini antiscivolo con il lato adesivo 1 rivolto verso il pavimento.
- Il modo più efficace è quello di installare i tappetini antiscivolo sotto i piedini anteriori.
Se ciò dovesse risultare dificile, posizionarli除去 i piedini posteriori.

4 Posizione l'elettrodomestico sui tappetini antiscivolo.
Non attaccare il lato adesivo 1 dei tappetini antiscivolo ai piedini dell'elettrodomestico.
NOTA
- Ulteriori tappetini adesivi sono disponibili presso il centro assistenza LG Electronics.
Collegamento del tubo di mandata dell'acqua
Note per la connessione
- La pressione dell'acqua deve essere tra 50 kPa e 800 kPa (0,5-8,0 kgf/cm²). Se la pressione dell'acqua è superiore a 800 kPa, è necessario installare un dispositivo di decompressione.
- Controllare regolarmente le condizioni del tubo di mandata dell'acqua e, se necessario, sostituire il tubo di mandata dell'acqua.
NOTA
Non stringere eccessivamente il tubo di mandata dell'acqua o utilizzato dispositivi meccanici per serrare le valvole di ingresso.
- Il collegamento alla mandata dell'acqua non richiede ulteriore protezione contro i ritorni di flusso.
Solo per Germania
- Collegare l'apparecchio solo a un rubinetto dell'accua con un dispositivo di sicurezza (secondo la norma EN 1717) per evitare l'inquinamento dell'accua potabileattraverso il riflusso dell'accua.
- Per sicurezza, si prega di chiedere il suo installatore. Nel caso in cui il rubinetto dell'acqua viaenza valvola di prevenzione del rflusso (secondo la norma EN 1717) è necessario utilizzato una valvola di prevenzione del rflusso aggintiva conforme all'ordinanza tedesa sull'acqua potabile tra il rubinetto dell'acqua e il tubo di ingresso dell'acqua.
Verifica del sigillo in gomma
Con i tubi di mandata dell'acqua sono fornite due guarnizioni in gomma 1. Queste guarnizioni sono utilizzate per prevenir perdite d'acqua. Il collegamento ai rubinetti deve essere ben stretto.
Non utilizzato dispositivi meccanici come pinze per stringere il tubo di mandata dell'acqua. Assicurarsi che l'estremità curva del tubo di mandata dell'acqua sua connessa all'elettrodomestico.


20 INSTALLAZIONE
Connessione del tubo al rubinetto
Collegamento del tubo a vite filettato
Avvitare il connettore del tubo di mandata sul rubinetto di mandata dell'acqua. Stringere a mano solo con l'aiuto di un panno morbido. Non stringereccessivamente il tubo di mandata con alcun dispositivo meccanico.

NOTA
- Dopo aver collegato il tubo di mandata al rubinetto, aprire il rubinetto per espellere eventuali corpi estranei (sporcizia, sabbia, segatura ecc.) presenti nella rete idrica. Far scorrere l'acqua in un secchio e controllare la temperature.
Connessione del tubo all'elettrodomestico
Avvitare il tubo di mandata dell'acqua alla valvola sul retro dell'elettrodomestico.

- Non connettere il tubo all'acqua calda per i modelli con un solo tubo di mandata. Connette solo all'acqua fredda.
NOTA
- Una volta completata la connessione, se il tubo perde acqua, ripetere gli stessi passi. Utilizzato il tipo di rubinetto più comune per l'approvigionamento idrico. Nel caso in cui il rubinetto sia squadrato o troppo grande, rimuovere la piastrina prima di insereire il rubinetto nell'adattatore.
- Assicurarsi che il tubo non sia piegato o impigliato.
Installazione del tubo di scarico
Installazione del tubo di scarico con la staffa a gomito
Il tubo di scarico deve essere collocato ad almeno metro di altezza dal pavimento, altrimenti l'acqua nell'elettrodomestico potrebbe non scaricarsi o potrebbe scaricarsi troppo lentamente.
Se il tubo di scarico viene assicurato correttamente, il pavimento è protetto da eventuali danni causati da perdite d'acqua.


22 USO
USO
Panorama relativa all'uso
Utilizzo dell'elettrodomestico
Prima del primo lavaggio, selezionare il programma di lavaggio Koch-/Buntwäsche (Cotone) e aggiungere la metà della quantità di detersivo. Avviare l'elettrodomestico sono vestiti. In tal modo, vengono eliminati eventuali corpi estranei e acqua dal cestello rimasti in fase di fabbricazione dell'elettrodomestico.
1 Separare i vestiti e caricare i capi.
- Separare i vestiti in base al tipo di tessuto, al livello di sporcizia, al colore e alla quantità. Apire lo sportello e caricare i capi nell'elettrodomestico.
ATTENZIONE
- Prima di chiudere lo sportello, assicurarsi che tutti gli indumenti e gli oggetti siano all'interno del cestello e non sporgano sulla guarnizione di gomma dello sportello dove rimarranno intrappolati quando lo sportello viene chiuso. In caso contrario, si danneggeranno la guarnizione della porta e i vestiti.

- Rimuovere gli oggetti intrappolati nella guarnizione dello sportello flessibile per evitare danni ai capi e alla guarnizione.

2 Aggiungere il detersivo o l'ammorbidente.
- Aggiungere la quantità appropriata di detersivo all'erogatore del detersivo. Se occorre,aggiungere candeggina o immorbidenti nelle vaschette apposite dell'erogatore.
3 Accendere l'elettrodomestico.
- Premere il tasto Accensione per accendere l'elettrodomestico.
4 Scegliere il ciclo desiderato.
-
Premere ripeturamente il tasto dei cicli o ruotare la manopola di selezione ciclo per selezionare il ciclo desiderato.
-
A quello punto selezionare temperatura di lavaggio e velocità di centrifuga. Prestare attenzione alle etichette per la cura del tessuto presenti sui vestiti.
5 Avvio del ciclo.
- Premere il tasting Avvio/Pausa per avviare il ciclo. L'elettrodomestico si attiva brevamente sens'acqua per misurare il peso del carico. Se non si preme il tasting Avvio/Pausa entro un determinato tempo, l'elettrodomestico si spegne annullando tutte le impostazioni.
6 Fine del ciclo.
- Al termine del ciclo viene emesso un segnale acustico. Togliere immediatamente la biancheria dall'elettrodomestico per evitare che si spiegazziccessivamente.Controllare la guarnizione dello sportello per rimuovere eventuali capi di piccole dimensioni rimasti intrappolati.
Pannello di controllo
Il pannello di controllo effettivo potrebbe differire da modello a modello.
Caratteristica del pannello di controllo

| Descrizione | |
| 1 | Tasto Accensione Accensione/Spegnimento • Premere quello tasto di accensione per accendere la lavatrice. |
| 2 | Manopola dei programmi • Sono disponibili diversi programmi per i vari tipi di vestiti. • La spia si accende perindicare il programma selezionato. NOTA • Waschen+Trocknen (Lava+Asciuga):()indica la capacité di asciugatura,che varia in base almodello. |
| 3 | Tasto Avvio/Pausa • Questo tasto viene utilizzato per avviare o sospendere il ciclo di lavaggio. • Se occorre interrompere temporaneamente il ciclo di lavaggio,premerequesto tasto. |
| 4 | Opzioni e funzioni aggiuntive • Perutilizzare funzioni aggiuntive,tenere premuto il tasto corrispondente per 3 secondi. Il significolo corrispondente sillumina sul display. • Consente di selezionare programmi aggiuntivi,illuminandosi perindicare quello scelto. Fernstart (Avvio a distance) Con l'app LG ThinQ,è possibileutilizzareuno smartphone per controllare il proprio elettrodomestico a distance. • Perutilizzarequesta funzione,fare riferimentoa FUNZIONI SMART. WLAN (Wi-Fi) Tenere premuto il tasto Zeitverzögerung (Timer)per 3 secondi per avviare il collegamento dell'elettrodomestico all'applicazione LG ThinQ. |
24 USO
| Descrizione | |
| 5 | Personalizzazione dei pulsanti dei programmi di lavaggioUtilizzare questi pulsanti per regolare la temperature dell'acqua o le impostazioni della velocità di centrifuga per il programma selezionato.Le impostazioni attuali vengono sovrare nel display.Premere l'apposto pulsante per selezionare altre impostazioni. |
| 6 | DisplayIl display在哪显示, il tempo stimato rimanente, le opzioni e i messaggi di stato. Quando l'elettrodomestico viene accesso, il display在哪显示, il impostazioni predefinite.Mentre il peso del carico viene rilevato automaticamente, il display sul pannello di controllo lampeggia. |
Display del tempo e dello stato

| Descrizione | |
| 1 | Indicatori di stato del programma • Quando un programma di lavaggio è in funzione, la spia LED lampeggerà per lo stadio attivo e le spie LED resteranno fisse per gli altri stadi. Una volta completato uno stadio, la spia LED si spegnerà. Se un ciclo è in pausa, la spia LED dello stadio attivo smetterà di lampeggiare. |
| 2 | AI DD • AI DD Žfornisce le opportune azioni di rotazione del cestello al termine del rilevamento del carico. • Žè attenuata quando i programmi Koch-/Buntwäsche (Cotone), Mix (Misti) e Pflegeleicht (Sinteticì) sono selezionati e in funzione. |
USO 25
| Descrizione | |
| 3 | Tempo stimato rimasto • Quando viene selezionato un programma di lavaggio, viene migliorata la durata predefinita del programma selezionato. Tale durata cambia in base all'opzione selezionata. • Se il display mystra --- , il tempo verrà visualizzatoismo after che il rilevamento del carico ha rilevato la dimensione del carico. Questo è normale. • La durata migliorata è solo una stima. La durata si basa sulle normali condizioni operative. Diversi fattori esterni (peso del carico, temperature della stanza, temperature dell'acqua in ingressso, ecc.) possono influire sulla durata effettiva. |
| 4 | si accende quando il programma utilizza vapore. |
| 5 | si accende quando l'opzione Spülen+ (Risciacquo+) è attiva. |
| 6 | si accende quando l'opzioneVorwäsche (Prelavaggio) è attiva. |
| 7 | si accende quando l'elettrodomestico è connesso alla rete Wi-Fi domestica. |
| 8 | si accende quando il programma inizia e lo sportello è bloccato. |
26 USO
Preparazione del carico
Suddividere il carico in modo da otteneri glielli risultati di lavaggio, quindi prepararlo in base ai symboli sulle etichette di manutenzione.
Suddividere gli indumenti
- Per ottenere i migliorori risultati di lavaggio, sud dividere gli indumenti in base al tipo di tessuto indicate sull'etichetta e alla temperatura di lavaggio. Regolare la velocità di centrifuga o l'intensità di centrifuga in base al tipo di tessuto.
- Livello di sporco (pesante, normale, leggero): separare gli indumenti in base al livello di sporco. Se possibile, non lavare capi molto sporchi insieme a capi leggermente sporchi.
- Colore (bianco, bianro, scuro): lavare gli indumenti scuri o colorati dagli indumenti bianchi o chiari separamente. Mischiare indumenti colorati con indumenti chiari cui possare che i capi più scuri scoloriscano tingendo i capi più chiari.
- Lanugine (capi che producono, attirano lanugine): lavare i tessuti che producono lanugine separatamente da quelli che la attirano. I tessuti che producono lanugine possono creare pallini e lanugine su quelli che la attirano.
Verifica dell'etichetta dei vestiti
I simboli indicano la composizione del tessuto del capo da lavare e il lavaggio appropriato.
Simboli sulle etichette
| Simbolo | Lavaggio / Tipo di tessuto |
| • Lavaggio normale • Cotone, tessuti misti | |
| • Sintetici • Tessuti sintetici, misti | |
| • Lavaggio speciale delicato • Delicati |
| Simbolo | Lavaggio / Tipo di tessuto |
| • Solo lavaggio a mano • Lana, seta | |
| • Non lavare |
NOTA
- I trattini sotto il symbolo forniscono informazioni sul tipo di tessuto e la massima tolleranza di sollecitazioni meccaniche.
Verificare gli indumenti prima di caricarli
- Abbinare capi grande e piccoli in un carico.
- Caricare prima i capi grande.
- I capi grandi non devono essere più della metà del carico di lavaggio totale. Non inseire capi singoli per non sbilanciare il carico. Aggiungere uno o due capi simili.
- Accertarsi che tutte le tasche siano vuote. Oggetti come chiodi, fermagli per capelli, fiammiferi, penne, monete e chiavi possono danneggiare l'elettrodomestico e i capi da lavare.

Lavare i capi delicati (calze da donna, reggiseni con ferretto) in un sacco a rete.
- Chiudere le cerniere, i ganci e le stringhe per evitare che si impiglino in altri capi da lavare.
- Per facilitare l'eliminazione dello sporco, pretrattare sporco e macchie spazzolando le macchie con una lieve quantità di detersivo sciolto in acqua.
Aggiunta di detersivi e ammorbidenti
Dosaggio del detersivo
- Dosare il detersivo attenendosi alle istruzioni del produttore e sceglierlo in base al tipo, al colore, al livello di sporciazia del tessuto e alla temperatura di lavaggio. Utilizzato solo detergenti adatti per lavativici del tipo a tamburo (caricamento frontale).
- Se si produce troppa schiuma, ridurre la quantità di detersivo.
- Se si utilizes troppo detersivo, si produce troppa schiuma che pregiudica la qualità del lavaggio o causa sovraccarico al motore.
- Se si desidera utilizzato un detersivo liquido, atteneri alle istruzioni fornite dal produttore.
- Se si intende avviare immediatamente il ciclo di lavaggio, è possible versare il detersivo direttamente nel cassetto principale.
Non adoperare detersivo liquido se si utilizes la funzione Zeitverzogerung (Timer), o se è stata selezionata l'opzione Vorwäsche (Prelavaggio), perché il liquido si eroghera immediatamente e potrebbe induirisi nel cassetto o nella vasca. - La quantità di detersivo deve essere adeguata alla temperatura e alla durezza dell'acqua, al peso del carico e al livello di sporcizia dei capi. Per ottenere risultati ottimali, evitare il sovradosaggio del detergente. In caso contrario, si verificHERA un effesso di schiuma.
- Controllare le etichette dei capi prima di aggiungere il detersivo e scegliere la temperatura dell'acqua.
-
Utilizzare solo detersivi adatti al rispetto tipo di indumento:
-
Il detersivo liquido è spesso inteso per applicazioni speciali, es. tessuti colorati, lana, abiti delicati o scuri.
- Il detersivo in polvere è adatto a tutti i tipi di tessuto.
- Per ottener i migliori risultati di lavaggio di capi bianchi e chiari, utilizzare detersivo in polvere con candegGINa.
- Il detersivoiene emesso dall'erogatore all'inizio del ciclo di lavaggio.
NOTA
Non lasciare indurire il detersivo, altrimenti si potrebbero formare blocchi di detersivo, il risciacquo potrebbe essere insufficiente o si potrebbero produrre odori sgradevoli.
- Piano carico: seguire le raccomandazioni del produttore.
- Carico parziale: 1/2 della quantità normale.
- Carico minimo: 1/3 rispetto al piano carico.
Utilizzo dell'erogatore
Peraggiungere il dosaggio del detersivo all'erogatore:
1 Apriere il cassetto dell'erogatore.
2 Aggiungi il detersivo e l'ammorbidente negli apposti scomparti.

Scomparto detersivo per lavaggio principale
Scomparto detersivo per prelavaggio
Scomparto ammorbidente liquido
3 Chiudere delicatamente il cassetto dell'erogatore del detersivo prima di iniziare il ciclo.
- Sbattere il cassetto chiuso può provocare la fuoriuscita del detergente in un'alto scomparto o l'erogazione nel cestello prima del previsto.
28 USO
- Fare attenuation a non incastrare una mano nel cassetto durante la chiusura.
- Énormale che una piccola quantità di acqua rimanga negli scomparti dell'erogatore alla fine del ciclo.
Scomparto ammorbidente
Questo scomparto contiene un ammorbidente liquido, che viene erogato automaticamente durante l'ultimo ciclo di risciacquo. É possible utilizzare un ammorbidente in polvere o liquido.
- Versare l'ammorbidente fino alla massima linea di riempimento. Versare una quantità eccessiva di immorbidente altre la linea di riempimento massimo cui causare che l'ammorbidente venga erogato troppo presto, macchiandoosi gli indumenti.

Aggiunta di detersivo in pastiglie
Le pastiglie detergenti sono essere utilizzate.
anche durante il lavaggio.
1 Aprire lo sportello e insere le pastiglie nel cestello prima di caricare i vestiti.
2 Caricare i vestiti da lavare nel cestello e chiudere lo sportello.
NOTA
Non mettere le pastiglie nell'erogatore.
Aggiunta di addolcitori
Épossibleutilizzareunaddolcittered'acqua,comelanticalcare,per ridurrel'uso di detersivo in areecconacqua molto dura.
- Prima di tutto aggiungere il detersivo, poi l'addolcitore d'acqua. Regolare la quantità in base a quanto specificato sulla confezione.
NOTA
Non versare l'ammorbidente direttamente sugli indumenti nel cestello, in quanto ciò causerà macchie scure sugli indumenti che saranno difficili da rimuovere.
Non lasciare l'ammorbidente nel cassetto del detersivo per più di 1 giorno. L'ammorbidente potrebbe induirsi. L'ammorbidente può rimanere nel distributore se è troppo spesso. L'ammorbidente deve essere diluito se la consistenza è troppo spessa in modo che possa fluire lavoramente.
Non aprire il cassetto quando viene caricata l'acqua durante il lavaggio.
Non adoperare solventi mai (benzene, ecc.).
Tabella programmi
Programmi di lavaggio
| Koch-/Buntwäsche (Cotone) | 40 °C (Kalt (Freddo) a 95 °C) | Carico massimo: valutazione | |
| Descrizione Lava | il bucato mediamente sporco combinando vari movimenti del cestello. | ||
| Eco 40-60 40 °C (da 40 °C a 60 °C) | Carico massimo: valutazione | ||
| Descrizione Lava | bucato di cotone mediamente sporco dichiarati lavabili a 40 °C o 60 °C. | ||
| TurboWash 39 40 °C (Kalt (Freddo) a 60 °C) Carico massimo 5 kg | ||
| Descrizione | Con 4 getti d'acqua in funzione durante il lavaggio e il risciacquo, questa lavatrice più lavare un mezzo carico di indumenti leggermente sporchi per circa 39 minuti. | |
| Mix (Misti) 40 °C (Kalt (Freddo) a | 60 °C) Carico massimo 5 kg | ||
| Descrizione Lava | contemporaneamente tessuti misti. • Utilizzato per tessuti di tipo diverso, eccetto capi particolari (seta/delicati, abbigliamento sportivo, capi scuri, lana, piumini, tende). | ||
| Pflegeleicht (Sintetici) | 40 °C (Kalt (Freddo) a 60 °C) | Carico massimo 5 kg | |
| Descrizione Lava | bucato che non necessita di essere stirato dopo il lavaggio. • Utilizzato per poliammide, acrilico, poliestere. | ||
| Allergy Care 60 °C Carico massimo 5 kg | ||
| Descrizione | Aiuta a ridurre al minimo le sostanze che causano reazioni allergiche. • Utilizzare per cotone, biancheria intima, federe, lenzuola, indumenti per neonati. | |
| Steam Refresh (Refresh) | - | 3 indumenti | |
| Descrizione | Utilizza il vapore per aiutare a ridurre le rughe dei vestiti asciutti come camicie o camicette in cotone, miscela di poliestere.I vestiti possono essere bagnati subito dopo il completamento del programma. Posizione i vestiti su uno stendino adosciugare. | ||
| Feinwäsche (Delicati) | 20 °C (Kalt (Freddo) a 40 °C) | Carico massimo 4 kg | |
| Descrizione Lava lingerie, indumenti sottili e in pizzo lavabili in lavatrice. | |||

30 USO
| Schonend/Wolle (Lavaggio a mano/Lana) | 30 °C (Kalt (Freddo) a 40 °C) Caric | co massimo 2 kg | |
| Descrizione Lava | vestiti delicati lavabili a mano e lavabili in lavatrice, come lana lavabile, lingerie, abiti ecc. • Usare un detergente per lana lavabile in lavatrice | ||
| Kurz 14 (Rapidò 14) | 20 °C (da 20 °C a 40 °C) | Carico massimo 2 kg | |
| Descrizione | Lava velocemente piccole quantità di indumenti leggermente sporchi per circa 14 minuti. | ||
| Nur Trocknen (Asciugatura) - Nominale (Asciugatura) | |||
| Descrizione Utilità i programmi automatici per asciugare la maggior parte dei carichi. • Per una migliorie asciugatura, accertarsi che tutti i capi siano simili per materiale e spessore. | |||
| Waschen+Trocknen (Lava+Asciuga) | 40 °C (Kalt (Freddo) a 95 °C) Nominale (Asciugatura) | ||
| Descrizione Lava e asciuga i vestiti nelle stesso programma. | |||
| Trommelreinigung (Pulizia Vasca) | - | - | |
| Descrizione | Questa funzione aiuta a pulire l'interno del cestello dell'apparecchio | ||
| Download/Neu (Download Programmi) | - | - | |
| Descrizione Il programma permette di scaricare con uno smartphone un nuovo e speciale programmà di lavaggio per il tuo elettrodomestico. Il programmà predefinito è Spülen+Schleudern (Risciacquo+Centrifuga). | |||
NOTA
- Selezionare la temperatura dell'acqua appropriata per il programma di lavaggio scelto. Seguire sempre l'etichetta o le istruzioni per la cura del produttore del capo durante il lavaggio per evitare danni ai vestiti.
- Selezionare la temperatura di lavaggio e la velocità di centrifuga adeguati per i programmi desiderati.
- La temperatura effettiva dell'acqua può differire nella temperatura dichiarata del ciclo.
- Si raccomanda un detersivo neutro.
Opzioni aggintive
*1 Questa opzione è inclua automaticamente nel programma e non può essere deselezionata.
NOTA
L'opzione Spulen+ (Risciacquo+) può essere selezionate per agli programma di lavaggio ad eccezione del programmi Nur Trocknen (Asciugatura) e Steam Refresh (Refresh) nella tabella sottostante.
- Le opzionZeitverzögerung (Timer) e Wäsche nachlegen (Aggiungi capo) possono essere selezione per anni programma di lavaggio ad eccezione del programma Steam Refresh (Refresh) nella tabella sottostante.
| Programma | Dampf(Vapore) | Anti-Falten(Anti piega) | TurboWash | Trocknen(Asciugatura) | EcoHybrid | Vorwäsche(Prelavaggi o) |
| Koch-/Buntwäsche (Cotone) | ● | ● | ● | ● | ● | ● |
| Eco 40-60 | ● | ● | ● | ● | ● | ● |
| TurboWash 39 | ● | ● | ●*1 | ● | ● | ● |
| Mix (Masti) | ● | ● | ● | ● | ● | ● |
| Pflegeleicht (Sintetici) | ● | ● | ● | ● | ● | ● |
| Allergy Care | ●*1 | ● | ● | |||
| Steam Refresh(Refresh) | ●*1 | |||||
| Feinwäsche (Delicati) | ● | |||||
| Schonend/Wolle(Lavaggio amano/Lana) | ||||||
| Kurz 14(Rapido 14) | ●*1 | ● | ● |
32 USO
| Programma | Dampf(Vapore) | Anti-Falten(Anti piega) | TurboWash | Trocknen(Asciugatu-ra) | EcoHybrid | Vorwäsche(Prelavaggi o) |
| Nur Trocknen(Asciugatu-ra) | ●*1 | ● | ||||
| Waschen+Trocknen(Lava+Asciuga) | ● | ●*1 | ● | ● |
Velocità centrifuga massima selezionabile
| Programma | Velocità centrifuga | |
| Default Disponibile | ||
| Koch-/Buntwäsche (Cotone) | 1400 rpm Tutto | |
| Eco 40-60 | 1400 rpm Tutto | |
| TurboWash 39 | 1200 rpm 400 a 1400 rpm | |
| Mix (Misti) | 1000 rpm Tutto | |
| Pflegeleicht (Sintetici) | 1400 rpm Tutto | |
| Allergy Care | 1400 rpm Tutto | |
| Steam Refresh (Refresh) | - | - |
| Feinwäsche (Delicati) | 800 rpm Fino a 800 rpm | |
| Schonend/Wolle (Lavaggio a mano/Lana) | 800 rpm Fino a 800 rpm | |
| Kurz 14 (Rapido 14) | 400 rpm Tutto | |
| Nur Trocknen (Asciugatura) | - / 1000 a 1400 rpm | |
| Waschen+Trocknen (Lava+Asciuga) | 1400 rpm 1000 a 1400 rpm | |
NOTA
- La velocità di concentrificata massima effettiva può variarare a seconda delle condizioni di carico. I valori sulla riportati sono arrotondati al centinaio più vicino.
Dati relativi al consumo
Descrizione dell'unità
kg: Carico di bucato
h:mm:Durata del programma
kWh: Consumo energetico
^ : Temperatura massa all'interno dei tessuti trattati
Litri: Consumo di acqua
giri al minuto: Velocità centrifuga massima
%: umidità residua al termine della fase di centrifuga. Maggiore è la velocità della centrifuga, maggiore è il rumore e minore l'umidità residua.
Programmi comuni
| Programma | kg | h:mm | kWh | °C | Litri | giri al minuto | % |
| Koch-/Buntwäsche (Cotone) 20 °C | 12 2:09 | 0,218 24 77 | ,0 1350 51,0 | ||||
| Koch-/Buntwäsche (Cotone) 60 °C | 12 3:29 | 1,906 47 76 | ,0 1350 51,0 | ||||
| Eco 40-60 (Piano)*1 | 12 4:00 | 0,970 35 95 | ,0 1360 46,0 | ||||
| Eco 40-60 (Metà)*1 | 6 3:00 | 0,630 32 54 | ,0 1360 45,0 | ||||
| Eco 40-60 (Unquarto)*1 | 3 2:30 | 0,355 26 43 | ,0 1360 44,5 | ||||
| Mix (Misti) | 5 1:21 | 0,507 33 63 | ,0 1000 65,0 | ||||
| Kurz 14 (Rapido 14) | 2 0:14 | 0,049 23 32 | ,0 400 107,0 | ||||
| Eco 40-60 +5-2(Piano)*3 | 8 8:35 | 5,600 44 13 | ,0,0 1360 - | ||||
| Eco 40-60 +5-2(Metà)*3 | 4 5:10 | 2,800 32 70 | ,0 1360 - |
1 É possibile pulire il bucato di cotone normalmente sporco dichiarato lavabile a 40 °C o 60 °C, insieme nelle stesso ciclo, e che questo programma può essere utilizzato per valutare la conformità alla legislazione UE sull'ecodesign (UE 2019/2023).
2 Opzione eco dry normale
*3 É possibile pulire il bucato di cotone normalmente sporco dichiarato lavabile a 40 °C o 60 °C, insieme nelle stesso ciclo, e di asciugarlo in modo che possa essere immediatamenteMESSO in un armadio, e che questo programma può essere utilizzato per valutare la conformità alla legislazione UE sull'ecodesign (UE 2019/2023).
34 USO
NOTA
I ristutati del test dipendono alla pressione dell'acqua, alla durezza dell'acqua, alla temperatura dell'acqua in entrata, alla temperatura della stanza, dal tipo e alla quantità di carico, dal detersivo utilizzato in base al grado di sporco, delle variazioni della corrente elettrica e delle opzioni aggiuntive scelte.
I valori per i programmi comuni, con l'eccezione dei cicli Eco 40-60 e Eco 40-60 + , sono puramente indicativi
- Regolamento EU 2019/2023, valido dal 1^ marzo 2021, è relativivo alle classi di efficienza energetica da Regolamento EU 2019/2014.
- Inquadrare il QR code sull'etichetta energetica fornita con l'elettrodomestico, che restituisce un collegamento web per le informazioni relative alle prestazioni dell'elettrodomestico nel database EU EPREL. Conservare l'etichetta energetica per riferimento insieme con il manuale del proprietario e tutti gli altri documenti forniti con l'elettrodomestico.
- Il nome del modello si può trovare sull'etichetta delle caratteristiche tecniche dell'elettrodomestico, aprire lo sportello che è vicino all'apertura del cestello.
- Per trovare le stesse informazioni in EPREL, visitare il site https://eprel.ec.europa.eu e fare una ricerca con il nome del modello. (Valido dal 1° novembre 2021)
Programma di asciugatura
Consigli generali per l'asciugatura
Utilizzare i programmi automatici per asciugare la maggior parte dei carichi. I sensori elettronici misurano la temperature dello scarico per augmentare o diminuire le temperature di asciugatura, per accelerare il tempo di risposta e ottimizzare il controllo della temperature.
- Durante i cicli di asciugatura, il rubinetto dell'acqua fredda deve rimanere aperto.
- É possibile selezionale confacilityle operazioni automatiche dell'elettrodomestico, dal lavaggio all'asciugatura.
- Per una migliorie asciugatura, accertarsi che tutti i vestiti siano simili per materiale e spessore.
- Non sovraccaricare l'elettrodomestico inserendo troppi indumenti nel cestello. Gli indumenti devono girare liberamente.
- Se si après lo sportello e si rimuove il carico prima che I'elettrodomestico abbia completato il programma, ricordarsi di premere il pulsante Avvio/Pausa.
- Al termine dell'asciugatura, sul display appare End. Se i vestiti non vengono scaricati dal cestello per un dato periodo di tempo, sul display appare e l'elettrodomestico fa rotolare periodicamente i vestiti per circa 4 ore per ridurre le pieghe. Per interrompere esta funzione, premere un pulsante qualsiasi e scaricare i vestiti dal cestello.
Capi di lana
Non far asciugare i capi di lana. Stenderli nella loro forma originaria e asciugarli in piano.
Materiali intrecciati o annodati
Alcuni capi lavorati a maglia potrebbero restringersi a seconda della qualita.
Allungare questi capi subito après l'asciugatura.
Antipiega e sintetici
Non sovraccaricare l'elettrodomestico. Per ridurre le pieghe, estrarre i capi in tessuto antipiega non appena l'elettrodomestico si ferma.
Capi per bambini e camicie da notte
Attenersi sempre alleistruzioni del produttore.
Coperte e piumoni
Controllare le etichette per la cura del tessuto su coperte e piumini prima di utilizzare il programma di asciugatura. Alcune coperte e piumoni sono restringersi a causa dell'aria calda.
Gomma e plastica
Non asciugare capi in gomma o plastica oppure capi contenti gomma o plastica, esempio:
- Grembiuli, bavaglini, coprisedie
- Tende e tovaglie da ravolo
Tappetini da bagno
Vetroresina
Non asciugare capi in vetroresina nell'elettrodomestico. Le particelle di vetro che restano nell'elettrodomestico potrebbero rimanere impigliate nei capi e causare irritazioni cutanee.
NOTA
- Quando si spegne il ciclo di asciugatura dell'elettrodomestico, è possibile azionare la ventola di asciugatura per 60 secondi.
- Prestare attenzione quando si rimuovono i vestiti dall'elettrodomestico, perché i vestiti o l'elettrodomestico potrebbero essere molto caldi.
- Il tempo di asciugatura stimato è diverso da quello effettivo durante il ciclo automatico, in quanto dipende dal tipo di tessuto, dal carico e dal livello di asciugatura desiderato.
- Se si desidera solo l'asciugatura, la centrifugata gira automaticamente risparmiare energia.
Uso dei programmi di asciugatura
È possibile personalizzare quello programma utilizzato le funzioni di asciugatura riportate di seguito:
36 USO
Normale (1)
Riduce i tempi di asciugatura e il consumo di energia elettrica durante il programma di asciugatura.
- Tipo di tessuto: tessuti in cotone o lino, come ad esempio asciugamani in cotone, t-shirt e indumenti in lino.
- Carico massimoValutazione
Tempo 30/60/120 minuti
Modificare la durata dell'asciugatura in base al carico massimo.
- Tipo di tessuto: cotone, asciugamani
- Carico massimo:1 kg (30 minuti), 2 kg (60 minuti), 4 kg (120 minuti)
Pronto Stiro (2)
Questa opzione è adatta alla stiratura di indumenti asciutti in modo semplice grazie alle condizioni leggera umidità.
- Tipo di tessuto: tessuti in cotone o lino pronti per la stiratura al termine del programma.
- Carico massimoValutazione
Bassa temperatura (5)
Questa opzione è adatta all'asciugatura a basso temperature per ridurre eventuali danniagli indumenti.
- Tipo di tessuto: Per tessuti delicati
- Carico massimo3,5 kg
Normale Eco (
Adatto per il programma di asciugatura energetico.
- Tipo di tessuto: tessuti in cotone o lino, come ad esempio asciugamani in cotone, t-shirt e indumenti in lino.
- Carico massimoValutazione
NOTA
-
La capacité della macchina per il lavaggio dei capi è doppi rispetto a quella dell'asciugatura. Se è necessario utilizzato la macchina per l'asciugatura, il carico da sottoporre al lavaggio deve essere più piccolo per garantire un'asciugatura efficace. Se si esgue un lavaggio a piano carico, estrarre metà dei capi prima di avviare il programma di asciugatura.
-
Tutti i cici di asciugatura hanno inizio con un breve ciclo di centrifuga per eliminare tutte l'umidità possibile dal carico prima dell'asciugatura.
Uso delle funzioni di lavaggio e asciugatura.
1 Preparei vestiti e caricare il cestello.
- Per ottenere un'asciugatura uniforme, si consiglia di caricare tutti i capi simili per materiale e spessore.
Non sovraccaricare il cestello. Gli indumenti devono aver spazio per girare liberamente.
2 Selezionare il pulsante Accensione.
3 Selezionare un programma di lavaggio.
4 Aggiungere il detersivo.
5 Selezionare il pulsante Trocknen (Asciugatura) ripetutamente per scorrere le diverse opzioni di selezione:
Normale -Per un'asciugatura generica
30/60/120 minuti - Per un'asciugatura temporizzata
- Ferro da stiro (2) - Per un'asciugatura leggermente umida dei capi da stirare
Bassa temperatura (M) - Per tessuti delicati
6 Selezionare il pulsante Avvio/Pausa.
Uso esclusivo delle funzioni asciugatura.
1 Prepareare i vestiti e caricare il cestello.
- Per ottenere un'asciugatura uniforme, si consiglia di caricare tutti i capi simili per materiale e spessore.
- Non sovraccaricare il cestello. Si consiglia di dismantere uno spazio sufficiente per consentire un movimento dei capienza problemi.

38 USO
Opzioni funzioni aggintive
É possible utilizzare ulteriori opzioni e funzioni per personalizzare i programmi.
Personalizzazione di un programma di lavaggio
Ogni programma ha impostazioni predefinite che vengono selezionate automaticamente. Puoi sono personalizzare queste impostazioni usando quosti pulsanti.
Temp.
Questo pulsante selezione la temperatura di lavaggio per il programma selezionato.
- Premere ripeturamente il tasto Temp. finché non si accende l'impostazione desiderata.
- Selezionare la temperatura dell'acqua idonea al tipo di carico. Per ottenere risultati ottimali, atteneri alle istruzioni riportate sull'etichetta dell'indumento.
Schleudern (Centrifuga)
Il livello di intensità di centrifuga più essere selezionato premendo quello pulsante.
- Premere il tasto Schleudern (Centrifuga) per selezionare la velocità della centrifuga.
NOTA
- Se è selezionato del livello della centrifuga, il cestello della lavatrice ruotera prima dello scarico.
Spulen+ (Risciacquo+)
Questa funzione è consigliata per le persone con allergie ai detergenti.
- Per aggiungere un risciacquo, tenere premuto per 3 secondi il tasto TurboWash.
Seguire i passaggi successivi per personalizzare un programma di lavaggio:
1 Prepareareivestiti e caricare il cestello.
2 Selezionare il pulsante Accensione.
3 Aggiungere il detersivo.
4 Selezionare un programma di lavaggio.
5 Personalità il programma di lavaggio (Temp., Schleudern (Centrifuga) e Spülen+ (Risciacquo+)) secondo necessità.
6 Selezionare il pulsante Avvio/Pausa.
Uso esclusivo delle funzioni di centrifuga
1 Prepare i vestiti e caricare il cestello.
2 Selezionare il pulsante Accensione.
Non selezionare i programmi di lavaggio e non aggungere detersivi.
3 Selezionare il pulsante Schleudern (Centrifuga).
4 Selezionare il pulsante Avvio/Pausa.
NOTA
- Se si selezione il programma di lavaggio, non è possible impostare solo una centrifuga. In quello caso, selezionare due volte il pulsante Accensione per spegnere e riaccendere la macchina.
Utilizzato delle opzioni speciali
É possible personalizzare i programmi grazie alle opzioni speciali riportate di seguito:
Dampf (Vapore)
Aggiungere questa opzione aiuta a fornire migliori risultati di pulizia.
Aggiungere questa opzione riduce le pieghe utilizzando il vapore dopo la centrifuga.



40 USO
4 Selezionare il pulsante Avvio/Pausa.
NOTA
- Ad eccezione del LED del pulsante Zeitverzogerung (Timer), tutti i LEDs del pannello di controllo si spegneranno entro 20 minuti. Questa caratteristica può in base al modello acquistato.
- Il ritardo è il tempo fino alla fine del programma, non quello di avvio. Il tempo di esecuzione effettivo varia in base alla temperatura dell'acqua, dei vestiti e di altri fattori.
Per cancellare la funzione, premere il tasting Accensione. - Con esta funzione, evitare l'uso di detersivo.
Sblocco del pannello di controllo
1 Accendere l'elettrodomestico.
2 Per disattivare esta funzione, tenere premuti per 3 secondi allo stesso tempo i tasti Zeitverzogerung (Timer)e Wäsche nachlegen (Aggiungi capo).
Questo elettrodomestico riproduce una melodia all'avio e all'arresto.
- Per disattivare/attivare questa funzione, tenere premuti per 3 secondi i tasti Schleudern (Centrifuga).
Impostazioni
Kindersicherung (Sicurezza bambini)
Utilizzare questa opzione per disabilitare i comandi. Questa funzione impedisce ai bambini di modificare i cicli o di azionare l'elettrodomestico.
NOTA
- Una volta impostata la funzione, tutti i pulsanti sono bloccati tranne il pulsante Accensione.
- Quando i comandi sono bloccati, durante il lavaggio il display在哪stra alternatamente [L e il tempo rimanente quando esta funzione è attiva.
- Quando si spegne l'elettrodomestico, esta funzione non viene azzerata. Prima di accedere ad altri funzioni, è necessario disattivare esta funzione.
Blocco del pannello di controllo
1 Accendere I'elettrodomestico.
2 Per attivare esta funzione, tenere premuti per 3 secondi allo stesso tempo i tasti Zeitverzogerung (Timer) e Wäschenachlagen (Aggiungi capo).
- Viene emesso un segnale acustico e sul display appeare L.
FUNZIONI SMART
Applicazione LG ThinQ
L'applicazione LG ThinQ permette di comuncare con l'elettrodomestico tramite uno smartphone.
Caratteristiche dell'applicazione LG ThinQ
Épossiblecomunicarecon l'elettrodomestico da uno smartphoneusandolecomodefunzionismart.
Consente di controllare l'elettrodomestico in remoto dall'applicazione LG ThinQ.
Download/Neu (Download Programmi)
E possibile scaricare nuovi e speciali cici non inclusi nei cici di base del dispositivo.
E possibile scaricare una varietà di cici speciali specifici per l'elettrodomestico negli elettrodomestici registrati correttamente.
Una volta che lo scaricamento del ciclo è completato nel disposietivo, l'elettrodomestico mantiene il ciclo scaricato fino a quando non ne viene scaricato uno nuovo.
NOTA
- É possible archiviare un solo ciclo scaricato per volta sull'elettrodomestico.
Istruzioni Pulizia Cestello
Questa funzione molto quanti cicli restano prima di dovere avviare la funzione Trommelreinigung (Pulizia Vasca).
Monitoraggio energia
Questa funzione controlling il consumo di energia dei cici utilizzati recentamente e la media mensile.
Smart Diagnosis
Questa funzione fornisce informazioni utili per la diagnosi e la risoluzione dei problemi in base al modello di utilizzo.
Impostazioni
Consente di impostare varie opzioni sull'elettrodomestico e nell'applicazione.
Avvisi Push
Quando il ciclo è completato o l'elettrodomestico ha problemi, c'é la possibilità di ricevere notifiche push sullo smartphone. Le notifiche sono attivate ancche se l'applicazione LG ThinQ è spenta.
NOTA
- Se si cambia il router wireless, il fornitore di servizi internet o la password, eliminare l'elettrodomestico registrato dall'applicazione LG ThinQ e registrarlo nuovamente.
L'applicazione è soggetta a modifiche alla preavviso, a scopo di miglioramento del prodotto. - Le caratteristica posso n o variare in base al modello.
Prima diutilizzare
I'applicazione LG ThinQ
1 Controllare la distance tra il disposizione e il router wireless (rete Wi-Fi).
- Se la distanza tra il dispositorio e il router fosseccessiva,la potenza del segnale si indebolirebbe.Potrebbe volerci quando molto tempo per effettuare la registrazione o l'installazione potrebbe non andare a buon fine.
2 Disattivare la Conn. dati o i Dati cellulare dal proprio smartphone.

42 FUNZIONI SMART
3 Collegare lo smartphone al router wireless.

- Il nome della rete wireless (SSID) dovrebbe essere una combinazione di lettere inglesi e numeroi. (Non utilizzato caratteri speciali)
- L'interfaccia utente smartphone (IU) più variare a seconda del systema operativo mobile (OS) e del produttore.
- Se il protocollo di sicurezza del router è impostato su WEP, potrebbe non essere possibile impostare la rete. Cambiare il protocollo (WPA2 è quello consigliato) e registrarne nuovamente il prodotto.
NOTA
- Per verificare la connessione Wi-Fi, controllare che l'icona sul pannello di controllo sia illuminata.
- Il dispositorio supporta sostanto reti Wi-Fi a 2,4 GHz. Per controllare la frequenza della propria rete, è necessario contattare il provider di servizi internet o fare riferimento al proprio manuale per il router wireless.
LG ThinQ non è responsablei di eventuali problemi relativi alla connessione di rete né di guasti, malfunzionamenti o errori causati alla connessione di rete.
In caso di problemi di connessione dell'elettrodomestico alla rete Wi-Fi, è possibile che l'elettrodomestico sia troppo distante dal router. Acquistare un ripetitore Wi-Fi (range extender) per augmentare l'intensità del segnale Wi-Fi. - La connessione Wi-Fi potrebbe non avvenire o potrebbe interrompersi a causa dell'ambiente della rete domestica.
- La connessione di rete potrebbe non funzionare correttamente a seconda del fornitore del servizio Internet.
L'ambiente wireless circostante potrebbe causare rallentamenti nel servizio di rete wireless. - Il dispositorio non può essere registrato a causa di problemi con la trasmissione del segnale wireless. Disconnettere il dispositorio e espettare per circa un minuto prima di provare nuovamente.
- Se il firewall sul router wireless è attivo, disattivarlo o aggiungere una eccezione.
Installazione dell'applicazione LG ThinQ
Cercare l'applicazione per smartphone LG ThinQ su Google Play o Apple App Store. Seguire le istruzioni per scaricare e installare l'applicazione.
Attivazione la connessione di rete
1 Eseguire l'applicationLG ThinQ.
2 Selezionare e toccare Lavatrice a carica frontale sull'applicazione.
3 Premere il tasto Accensionesul pannello di controlo.
4 Tenere premuto il tasto WLAN (Wi-Fi) per 3 secondi sul pannello di controllo.
- Il LED del Wi-Fi lampeggia durante il processo di connessione.
Utilizzato dell'elettrodomestico in remoto
Fernstart (Avvio a distanza)
Utilizzare uno smartphone per controllare l'elettrodomestico in remoto. É possible anche monitorare il programma per sapere quanto tempo è necessario per completarlo.
Utilizzo di但这a funzione
1 Introdurre i vestiti nel cestello.
- Se necessario,aggiungere candeggina o ammonbidente nelle aree appropriate del cassetto erogatore.
2 Selezionare il pulsante Accensione.
3 Tenere premuto il pulsante Fernstart (Avvio a distance) per 3 secondi per abilitare la funzione controlo remoto.
4 Avariare un ciclo dall'applicazione LG ThinQ sullo smartphone.
NOTA
- Una volta attivata questa funzione, è possibile aviare un ciclo dall'applicazione per smartphone LG ThinQ. Se il ciclo non viene avviato, l'elettrodomestico aspetterà ad avviare il ciclo fino a quando non sare disattivato in remoto dall'applicazione o fino a quando esta funzione non verrà disattivata.
- Seiene aperto lo sportello, non è possible avviare un ciclo in remoto.
Disattivare questa funzione manualmente
Quando si attiva questa funzione, tenere premuto il pulsante Fernstart (Avvio a distance) per 3 secondi.
Disattivare la connessione direte
1 Premere il tasto Accensione sul pannello di controllo.
2 Per disattivare la connessione di rete, tenere premuti contemporaneamente per 3 secondi tasti Schleudern (Centrifuga) e Zeitverzogierung (Timer).
Consumo energetico standby
| Consumo energetico standby | 0,5 W |
| Consumo energetico standby rete | 2,0 W |
| Il lasso di tempo al termine del quale la funzione di gestione dell'energia, o una funzione analoga, imposta automaticamente l'apparecchio in modalità standby e/o spento e/o in condizione di standby rete | 20 minuti |
NOTA
L'attivazione della connessione di rete cui augmentare il consumo energetico dell'elettrodomestico.
Informazioni avviso software Open Source
Per ottenere il codice sorgente contento in quello prodotto secondo quando consentito dalle licenze GPL, LGPL, MPL e altre licenze Open Source, visitare http://opensource.lge.com.
In aggiunta al codice sorgente, sono disponibili per il download tutti i termini di licenza, le escludioni di responsabilità e le relative note di copyright.
LG Electronics forriràanche il codice open source su CD-ROM su richiesta tramite e-mail all'indirizzo opensource@lge.com addebitando il costo delle spese di distribuzione (ad esempio il costo di supporti, spedizione e gestione). L'offerta è valida per un periodo di tre anni a partire alla notre ultima spedizione di questo prodotto. L'offerta è valida per gli utenti che avranno ricevutoQListe informazioni.
Smart Diagnosis
Questa caratteristica è disponibile solo sui modelli con logo @ o @.
Utilizzare questa caratteristica aiutera a diagnosticare e risolverre problemi con l'elettrodomestico.
44 FUNZIONI SMART
NOTA
- Per motivi non imputabili a negligenza da parte di LGE, il servizio potrebbe non funzionare per via di fattori esterni quali, ma non solo, Wi-Fi non disponibile, Wi-Fi non connessa, politica dell'app store locale o app non disponibile.
- La caratteristica potrebbe essere soggetta a cambiamenti nella preavviso e potrebbe avere una forma diversa in base alla posizione dell'utente.
Utilizzare LG ThinQ per diagnosticare problemi
Se si riscontra un problema con l'elettrodomestico dotato di Wi-Fi, è possible trasmettere ad uno smartphone i dati per la risoluzione del problema utilizzato l'applicazione LG ThinQ.
- Lanciare l'applicazioni LG ThinQ e selezionare la caratteristica Smart Diagnosis nel menu. Seguire le istruzioni fornite nell'applicazione LG ThinQ.
Utilizzare Audible Diagnosis per diagnosticare problemi
Seguire le istruzioni di seguito per usare il metododi diagnosi sonoro.
- Lanciare l'application LG ThinQ e selezionare la caratteristica Smart Diagnosis nel menu. Seguire le istruzioni per audible diagnosis fornite nell'applicazione LG ThinQ.
1 Premere il tasto Accensione per accendere I'elettrodomestico.
Non premere nessun alto tasto.
2 Accostare il microfono dello smartphone al logo o.

3 Tenere premuto il pulsante Temp. per 3 o più secondi nelle siiene il microfono dello smartphone sul logo fatto al completamento del trasferimento dati.
- Mantenere lo smartphone in posizione forn al termine deltrasferimento dati. Viene visualizzato il tempo di trasferimento dei dati rimanente.
4 Quando il trasferimento dei dati è stato completato, la diagnosi verrà visualizzata nelle applicazione.
NOTA
- Per risultati ottimali, non spostare lo smartphone durante la trasmissione dei toni.
MANUTENZIONE
AVVERTENZA
- Per evitare il rischio di scosse elettriche, scollegare l'elettrodomestico prima di pulirlo. La mancata osservanza di但这a avventenza puo provocare lesioni personali gravi, incendi, scosse elettriche o lesions ancche fatali.
- Per pulire l'elettrodomestico non utilizzato sostane chimiche, detergenti abrasivi o solventi, in quanto potrebbero danneggiare le finiture.
Pulire dopo agli lavaggio
Cosa pulire
Rimuovere sempre i capi alla lavatrice appena termina il ciclo. Se i capi umidi vengono lasciati all'interno della lavatrice, si producono pieghe,trasferimento di colore e cattivi odori.
- Al termine del ciclo di lavaggio, pulire lo sportello e la guarnizione per rimuovere eventuale umidità.
- Lasciare lo sportello leggermente aperto per far asciugare il cestello.
- Pulire I'elettrodomestico con un panno asciutto per rimuovere l'umidità.

Pulizia delle parti esterne
Un'adeguata cura dell'elettrodomestico cui prolongarne il ciclo di vita.
Esterno
- Asciugare immediatamente eventuali schizzi.
- Pulire con un panno umido, quindi passare un panno asciutto assicurandosi che non ci sia umidità nei giunti o nelle fenditure del mobiletto.
Non premere sulla superficie o sul display con oggetti appuntiti.
Sportello
- Lavare con un panno umido l'esterno e l'interno,\ quindi asciugare con un panno morbido.
AVVERTENZA
Non togliere i pannelli e non smontare l'elettrodomestico. Non applicare oggetti taglienti al pannello di controllo per azionare l'elettrodomestico.
AVERTENZA
- Lasciare aperto lo sportello per asciugare l'interno dell'elettrodomestico solo se i bambini in casa sono molto sorvegianza.

46 MANUTENZIONE
Pulizia periodica dell'elettrodomestico ed esecuzione di un'evacuazione dell'acqua di emergenza
Pulizia Vasca
É una funzione speciale che aiuita a pulire l'internalo dell'elettrodomestico immergendero, lavando, risciacquando e centrifugando.
Eseguire questa funzione una volta al mese (o più spesso se necessario) per rimuovere accumuli di detersivo e ammonbidente e altri residui.
- In caso di cattivo odore o muffa all'interno dell'elettrodomestico, eseguire esta funzione una volta alla settimana per 3 settimaneoltreagli intervalli regolarmente richiesti.
NOTA
- Il messaggio cL verrà visualizzato per avvisare della raccomandazione di utilizzato cette funzione.
1 Rimuovere indumento o altri oggetti dall'elettrodomestico e chiudere lo sportello.
2 Apriere il cassetto erogatore eaggiungere anticalcare in polvere nel vano di lavaggio principale.
- Le pastiglie possono essere posizionate direttamente nel cestello in alternatively alla polvere.
3 Chiudere lentamente il cassetto erogatore.
4 Accendere l'elettrodomestico, quindi selezionare il Trommelreinigung (Pulizia Vasca).
5 Premere il tasto Avvio/Pausa per avviare.
6 Lasciare aperto la porta aperta per asciugare completeness l'internodelle elettrodomestico.
- Quando l'interno dell'elettrodomestico non viene completamente asciugato, cui causare un cattivo odore o muffa.
AVVERTENZA
- Lasciare aperto lo sportello per asciugare l'interno dell'elettrodomestico solo se i bambini in casa sono sotto sorveglianza.
Pulizia del filtro di mandata dell'acqua
Il filtering di mandata dell'acqua raccoglie calcare o qualsi sedimento che può essere presente nell'acqua alimentata nell'elettrodomestico. Pulire il filtering di mandata agli sei mesi, o più spesso se l'acqua è molto dura o contiene traccé di calcare.
- Chiudere i rubinetti di mandata dell'acqua se l'elettrodomestico deve essere lasciato inutilizzato per un dato periodo di tempo (ad es. quando si va in vacanza), soprattutto in assenza di scarichi a pavimento (pozzetti) nelle immediate vicinanze.
- Il messaggio èviene visualizzato sul pannello di controllo quando l'acqua non entra nel cassetto del detersivo.
1 Chiudere l'alimentazione e il rubinetto dell'acqua e svitare il tubo di mandata dell'acqua.

2 Rimuovere il filtro di mandata dell'acqua con una piccola pinza e quindi pulire il filtrro con uno spazzolino da denti a setole medie.

Pulizia del filtro della pompa di scarico ed esecuzione di un'evacuazione dell'acqua di emergenza
Il filtr di scarico raccoglie lanugine e piccoli oggetti che potrebbero essere stati accidentalmente lasciati nei vestiti. Accertarsi che il filtr si pulito agli sei mesi per assicurare il corretto funzionamento dell'elettrodomestico. Consentire il raffreddamento dell'acqua prima di pulire il filtro della pompa di scarico. Aprire lo sportello in caso di emergenza o eseguire un'evacuatione dell'acqua di emergenza.
1 Scollegare I'elettrodomestico.
2 Aprire il coperchio ed estrarre il tubo di scarico.

3 Rimuovere prima il tappo di scarico dal tubo di scarico 1, quindi scaricare l'acqua. Quindi svitare lentamente il filtrlo della pompa di scarico 2 per scaricare l'acqua rimanente e
quindi procedere alla rimozione di residui o oggetti dal filtr.

4 Dop aver pulito il filtrlo della pompa di scarico, reinserire con cura il filtrto e riavvitare il tappo di scarico in senso orario per evitare infilature incrociate e perdite. Reinserire il tappo nel tubo di scarico e posizionarlo nel relative supporto.
5 Chiudere il coperchio.
ATTENZIONE
- Scaricare l'acqua con molta attenzione perché potrebbe essere bollente.
- Eseguire il programma di pulizia del cestello almeno una volta al mese per rimuovere detersivo inccesso ealtri residui.
Pulizia del cassetto erogatore
Detersivo e immorbidente possono accumularsi nel cassetto erogatore. I detersivi liquidi possono rimanere molto il cassetto erogatore e non erogare completamente. Rimuovere il cassetto e i componenti del cassetto e controllare l'accumulo di prodotti per la pulizia una volta o due al mese.
1 Rimuovere il cassetto erogatore tirandolo finché si ferma.
48 MANUTENZIONE
- Quindi tirare delicatamente il cassetto verso l'esterno quando si preme con forza il pulsante di disinnesto.

2 Rimuovere i residui di detersivo e ammorbidente.
- Sciacquare il cassetto e i loro componenti con acqua calda per rimuovere l'accumulo di detersivo e immorbidente. Pulire il cassetto erogatore solo con acqua. Ascugare il cassetto e i loro componenti con un panno morbido o un asciugamano.
3 Per pulire l'apertura del cassetto,utilizzare unostrofinaccio o una piccola spazzola nonmetallica per pulire I'incasso.
Rimuoverete tutti i residui delle parti superiore e inferiore dell'incasso.
4 Eliminare l'umidità dell'incasso con un panno morbido o un asciugamani.
5 Riassemlare i componenti del cassetto negli apposti scomparti e insertire il cassetto.
RISOLUZIONE DEI PROBLEMI
L'uso dell'elettrodomestico più portare a erre i malfunzionamenti. Le seguenti tabelle contengono possibili cause e note per risolverve messaggi di erre o malfunzionamenti. Si raccomanda di leggere attendamente la tabella di seguito per risparmiare tempo e denaro che sarebbero necessari nel caso si dovesse chiamare il centro assistenza LG Electronics.
Prima di chiamare l'assistenza
L'elettrodomestico è dotato di un sistema di monitoraggio automatico degli errorsi per il rilevamento e la diagnosi di problemi in fase iniziale. Se l'elettrodomestico non funziona correttamente o non funziona affatto, prima di chiamare l'assistenza verificare le tabelle seguenti.
Messaggi di erre
| Sintomi Causa & | Soluzione |
| IE ERRORE DI MANDATA | L'alimentazione d'acqua non è adeguata in quella posizione. L'acqua non entra o entra lentamente nell'elettrodomestico. • Provarare un altre rubinetto. |
| Il rubinetto dell'alimentazione d'acqua non è completamente aperto. L'acqua non entra o entra lentamente nell'elettrodomestico. • Aprire il rubinetto completeness. | |
| I tubi di mandata dell'acqua sono piegati. • Stringere il tubo o reinstallare il tubo di mandata dell'acqua. | |
| I filtri dei tubi di mandata sono intasati. • Controllare e pulire il filtrlo della valvola di ingressso dopo aver chiuso i rubinetti e rimosso i collegamenti dei tubi flessibili alla lavatrice. | |
| Se si è verificata una perdita d'acqua nel tubo di mandata Aqua Stop, la spia diventa rossa. • Sostituirlo con un nuovo tubo di mandata aqua stop. |
50 RISOLUZIONE DEI PROBLEMI
| Sintomi Causa & | Soluzione |
| UE ERRORE DI BILANCIAMENTO | L'élettrodomestico ha unsystema che individua e corregge lo sbilanciamento dell'élettrodomestico. • Se i vestiti sono troppo umidi alla fine del ciclo, risistemare il carico per consentire una centrifuga adeguata. Chiodere lo sportello e premere il tasto Avvio/Pausa. Potrebbe volerci un po' di tempo prima che l'élettrodomestico inizi la centrifuga. Lo sportello deve essere chiuso prima che inizi la centrifuga. |
| Il carico è troppo piccolo. Il systema potrebbe fermare la centrifuga o persino interrompere completamente il ciclo di centrifuga se vengono caricati singoli capi pesanti (es. tappetino da bagno, accappatoio, ecc.). • Aggiungere 1 o 2 capi simili o più piccoli per aiutare a bilanciare il carico. Chiodere lo sportello e premere il tasto Avvio/Pausa. Potrebbe volerci un po' di tempo prima che l'élettrodomestico inizi la centrifuga. Lo sportello deve essere chiuso prima che inizi la centrifuga. | |
| DE ERRORE DI USCITA DELL'ACQUA | Il tubo di scarico è piegato o intasato. L'acqua dell'élettrodomestico non viene scarcicata o viene scarcicata lentamente. • Pulire e raddrizzare il tubo di scarico. |
| Il filtr di scarico è intasato. • Verificare e pulire il filtr di scarico. | |
| dE de I dE2 dE4 ERRORE SPORTELLO | Malfunzionamenti del sensore dello sportello. • Chiamare il centro assistenza LG. Per il numero di Telefono del centro assistenza LG, videere il certificato di garanzia. |
| LE ERRORE DI CONTROLLO | Si tratta di un erre di controllo. • Scollegare la spina elettrica e chiaremere l'assistenza. |
| LE ERRORE BLOCCO MOTORE | Sovraccarico del motore. • Attendere 30 minuti fino a quando il motore non si è raffreddato, quando riavviare il ciclo. |
| FE ERRORE DI TRABOCAMENTO | Caricamento d'acqua eccessivo dovuto a causa di una possibile valvola dell'acqua difettosa. • Chiodere il rubinetto dell'acqua. Scollegare la spina di alimentazione. Chiamare l'assistenza. |
| PE ERRORE DEL SENSORE DI PRESSIONE | Malfunzionamenti del sensore di livello dell'acqua. • Chiodere il rubinetto dell'acqua. Scollegare la spina di alimentazione. Chiamare l'assistenza. |
| US ERRORE DEL SENSORE DELLE VIBRAZIONI | Malfunzionamenti del sensore delle vibrazioni. • Chiamare l'assistenza. |

| Sintomi Causa & | Soluzione |
| FF ERRORE DI CONGELAMENTO | La pompa del tubo di mandata o di scarico è congelata? • Inserire acqua calda nel cestello per scongelare il tubo di scarico e la pompa di scarico. Coprire il tubo di mandata con un asciugamano umido e caldo. |
| RE PERDITE D'ACQUA | Perdite d'acqua. • Chiamare l'assistenza. |
| PF ERRORE DI ALIMENTAZIONE | Un erre di alimentazione o un servizio elettrico inadeguato possono essersi verificati durante il funzionamento. • Premere il tasto Avvio/Pausa per riavviare il ciclo. |
| dHE ERRORE DI ASCIUGATURA | Solo le funzioni di asciugatura non funzionano. • Chiamare l'assistenza. |
Rumori che si potrebbero sentire
| Sintomi Causa & | Soluzione |
| Crepitii e rumori metallici | Possibile presenza di oggetti (ad es. chiavi, monete o spilli) nel cestello.Fermare l'elettrodomestico e verificare la presenza di oggetti nel cestello.Se il rumore continua dopo il riavvio dell'elettrodomestico, chiamare l'assistenza. |
| Rumore sordo I vestiti pesanti potrebbero produire un rumore sordo, che in genere ènormale.Se il suono persistsiste, è probabile che l'elettrodomestico sia sbilanciato.Arrestare e ridistribuire i vestiti. | |
| I vestiti potrebbero essere sbilanciati.Interrompere il programma e ridistribuire i vestiti dopo che lo sportello si sblocca. | |
52 RISOLUZIONE DEI PROBLEMI
| Sintomi Causa & | Soluzione |
| Rumore vibrante I materi | iali di imballaggio non sono stati rimossi. • Rimuovero i materiali di imballaggio. |
| I vestiti potrebbero essere distribuiti nel cestello in modo non equo. • Interrompere il programma e ridistribuire i vestiti dopo che lo sportello si sblocca. | |
| Non tutti i piedini di livellamento sono poggiati ben saldi e uniformi sul pavimento. • Vedere le struzioni Livellamento dell'elettrodomestico per sistmare il livellamento dell'elettrodomestico. | |
| Il pavimento non è abbastanza rigido. • Verificare che il pavimento sia solido e non flessibile. Vedere i Requisiti del luogo di installment per scegliere la posizione adeguata. |
Uso
| Sintomi Causa & | Soluzione |
| Ci sono perdite d'acqua. | I tubi di scarico domestici sono intasati.Sturare i tubi di scarico. Se necessario, rivolgersi a un idraulico. |
| Le perdite sono dovute a installazione non corretta o intasamento del tubo di scarico.Pulire e raddrizzare il tubo di scarico. Verificare e pulire regolarmente il filtrlo di scarico. | |
| Il tappo del filtrlo della pompa di scarico non è montato correttamente.Rimontare il filtrlo della pompa di scarico. | |
| L'élettrodomestico non funziona. | Il pannello di controllo si è spento a causa di inattività.Ciò rientra nel normale funzionamento del prodotto. Premere il tastinge Accensione per accendere l'élettrodomestico. |
| L'élettrodomestico è scollegato.Assicurarsi che il cavo sa collegato saldamente a una presa funzionante. | |
| L'alimentazione idrica è chiusa.Apire completamente il rubinetto di mandata dell'acqua. | |
| I controli non sono impostati correttamente.Assicurarsi che il programma sa impostato correttamente. Chiodere lo sportello e premere il tastinge Avvio/Pausa. | |
| Lo sportello è aperto.Chiodere lo sportello e assicurarsi che non vi sono niente impigliato在整个 sportello che gli impedisca di chiudersi completeness. | |
| Il salvavita/fusabile è scattato/fuso.Verifyificare i salvavita/fusibili del tubo. Sostituire i fusibili o ripristinare il salvavita. L'élettrodomestico dovrebbe trovarsi su un circuito derivato apposto. L'élettrodomestico riprenderà il programma dove si è fermato una volta che la corrente è stata ripristinata. | |
| L'élettrodomestico non funziona. | Il controlio devese aszerato.Premere il tastingo Accensione, poi selezionare nuovamente il programma desiderato e premere il tastinge Avvio/Pausa. |
| Il tastingo Avvio/Pausa non è stato premuto dopo che è stato impostato un programma.Premere il tastingo Accensione, poi selezionare nuovamente il programma desiderato e premere il tastingo Avvio/Pausa. L'élettrodomestico si spegne se il tastingo Avvio/Pausa noniene premuto per un ricerca tempo. | |
| Pressione dell'acqua estremamente bassa.Verifyificare unalto rubinetto della casa per assicurarsi che la pressione dell'acqua domestica sia adeguata.L'élettrodomestico sta riscaldando l'acqua o creando vapore. Il cestello potrebbe smettere di funzionare temporaneamente durante certi cici, quando l'acqua viene riscaldata in sicurezza a una determinata temperatura. | |
| I tasti potrebbero non funzionare correttamente. | L'opzione Kindersicherung (Sicurezza bambini) è attivata.Disattivare l'opzioneKindersicherung (Sicurezza bambini)se necessario. |
| Lo sportello non siCTL |
54 RISOLUZIONE DEI PROBLEMI
| Sintomi Causa & | Soluzione |
| L'elettrodomestico non si sta riempiendo adeguatamente. | Filtro di mandata intasato. · Assicurarsi che i filtri di mandata sulle valvole di riempimento non siano intasati. |
| I tubi di mandata potrebbero essere piegati. · Verificare che i tubi di mandata non siano piegati o intasati. | |
| Mandata acqua insufficiente. · Assicurarsi che i rubinetti dell'accua calda e fredda siano aperti completeness. | |
| I tubi di mandata calda e fredda sono invertiti. · Verificare le connessioni del tubo di mandata. | |
| L'elettrodomestico non scarica l'acqua. | Tubo di scaricoiegato. · Assicurarsi che il tubo di scarico non siaiegato. |
| Lo scarico si trova a più di 1,2 m dal pavimento. · Assicurarsi che il tubo di scarico non si trovi a più di 1,2 m dal fondo dell'elettrodomestico. | |
| Il detersivo viene erogato in modo incomplete o noniene erogato affatto. | Si utilizza troppo detersivo. · Attenersi alle istruzioni del produttore del detersivo. |
| Il filtrodiella pompa di scarico potrebbe essere bloccato. · Pulire il filtrodi della scarico. | |
| La durata del ciclo è più lunga del solito. | Il carico è troppo piccolo. · Aggiungere più capi per consentire all'elettrodomestico di bilanciare i carichi. |
| Capi pesanti sono mischiati con capi più leggeri. · Cercare sempre di lavare capi di peso simile per permettere all'elettrodomestico di distribuire equamente il peso del carico per la centrifuga. | |
| Il carico è squilibrato. · Ridistribuire manually il carico se i capi si sono aggrovigliati. | |
| La fine del ciclo è ridarata | È stato individuato uno squilibrio oppure è attivo il programma di rimozione della schiuma. · Ciò rientra nel normale funzionamento del prodotto. Il tempo rianente visualizzato sul display rappresenta solo una stima. Il tempo effettivo può variare. |
Prestazioni
| Sintomi Causa & | Soluzione |
| Scarsa rimozione delle macchie | Macchie fissate sul tessuto in precedenza.I capi che sono stati lavati in precedenza possono aver Macchie che si sono fissate sul tessuto. Tali macchie possono essere difficili da rimuovere e possono richiedere un lavaggio a mano o un pretrattamento per agevolare la rimozione delle macchie. |
| Macchie La candeggina | o l'ammorbidente vengono erogati troppo presto.Lo scomparto dell'erogatore è troppo pieno e quello fa s che la candeggina o l'ammorbidente vengano erogati rapidamente. Dosare sempre la candeggina o l'ammorbidente per impedire un'erogazione eccessiva.Chiudere lentamente l'erogatore del detersivo. |
| La candeggina o l'ammorbidente sono stati erogati direttamente sul vestiti nel cestello.• Utilizzato sempre l'erogatore del detersivo per garantire che i prodotti vengano erogati adeguatamente nel momento giusto durante il programma. | |
| Gli indumenti non sono stati separati adeguatamente.Lavare sempre separamente i colori scuri e i colori chiari e bianchi per evitare che soloriscano.Non lavare mai capi molto sporchi con capi leggermente sporchi. | |
| Pieghe Il bucato non è stato molto praticamente dall'elettrodomestico. | Rimuoverere sempre i capi dall'elettrodomestico non appena il programma è completato. |
| L'elettrodomestico è troppo carico.L'elettrodomestico più essere caricato completamente, ma i capi non dovrebbero essere ammassati nel cestello. Lo sportello dell'elettrodomestico si dovrebbe chiudere lavorante. | |
| I tubi di mandata dell'accua calda e fredda sono invertiti. Il risciacquo con acqua calda più creare pieghe negli indumenti. Verificare le connessioni del tubo di mandata. | |
| La velocità di centrifuga potrebbe essere troppo alta.Impostare la velocità di centrifuga in base al tipo di vestiti. |

56 RISOLUZIONE DEI PROBLEMI
Odore
| Sintomi Causa & | Soluzione |
| Odorestantio o di muffa nell'elettrodomestico | L'interno del cestello non è pulito adeguatamente.Eseguire regolarmente la funzione Trommelreinigung (Pulizia Vasca). |
| Un tubo di scarico non installato correttamente potrebbe causare travasi (acqua che ritorna nell'elettrodomestico),generando cattivi odori.Quando si installa il tubo di scarico,assicurarsi che non si pieghi né si intasi. | |
| Se l'erogatore del detersivo non viene pulito regolarmente,muffle o altre sostanze potrebbero generare cattivi odori.Rimuovere e pulire l'erogatore del detersivo, specialmente la parte superiore e inferiore dell'apertura dell'erogatore. |
Asciugatura
| Sintomi Causa & | Soluzione |
| Problema di asciugatura | Controllare il rubinetto di mandata dell'acqua. · Non sovraccaricare l'elettrodomestico. Controllare che la lavatrice scarichi correttamente per estrarre una quantità d'acqua adeguata dal carico. Quando il carico di indumenti è troppo piccolo per ruotare adeguatamente,aggiungere migliorare asciugamano. · Chiudere il rubinetto di mandata dell'acqua. |
| Il tempo di asciugatura èccessivo. | La temperature ambiente è Bassa. · Assicurarsi che la temperature sia in un intervallo consentito. |
| Le prestazioni di asciugatura sono troppo basse o cattive. | Non c'è una sufficiente quantità d'acqua. L'acqua è utilizzata per l'auto-pulizia del filtrò della lanugine sul cestello durante l'asciugatura. · Assicurarsi che il rubinetto dell'acqua sia aperto. |
| L'acqua non drena adeguatamente. · Assicurarsi che il filtrò di scarico non sia otturato. | |
| L'élettrodomestico è sovraccarico. · Verificare la capacité di carico per il programma selezionato. Se necessario,aggiungere un programma di asciugatura a tempo. | |
| La velocità della centrifuga è troppo Bassa. · Selezionare la velocità di centrifuga massima consentita per il programma di lavaggio. | |
| Dal retro dell'elettrodomestico esce aria calda. | L'élettrodomestico produce aria calda per asciugare i vestiti. · Quest'aria calda asciuga i vestiti ed esce dal retro dell'elettrodomestico. |
Wi-Fi
| Sintomi Causa & | Soluzione |
| Il dispositivo casalingo e lo smartphone non sono collegati alla rete Wi-Fi. | La password per il Wi-Fi con la quale si sta tentando di accedere non è corretta.Cercare la rete Wi-Fi collegata allo smartphone e rimuoverla, quando effettuire la registrazione dell'applicazione su LG ThinQ. |
| La Conn. Dati per lo smartphone è attiva.Disattivare IaConn. Dati dello smartphone ed effettuire la registrazione del dispositivo utilizzando la rete Wi-Fi. | |
| Il nome della rete wireless (SSID) non è stato impostato correttamente. Il nome della rete wireless (SSID) dovrebbe essere una combinazione di lettere e numeroi (non utilizzato caratteri speciali). | |
| La Frequenza del router non è 2,4 GHz.E supportingata solo la Frequenza del router a 2,4 GHz. Impostare il router wireless a 2,4 GHz e collegare l'applicatione al router wireless. è possibile controllare la Frequenza del router tramite il provider di servizi Internet o il produttore del router. | |
| La distance tra il dispositivo e il router èccessiva.Se la distance tra il dispositivo e il router fosseccessiva, la potenza del segnale si indebolirebbe e la connessione potrebbe non configurarsi correttamente. Spostare il router perché sia più vicino al dispositivo. |
Servizio di assistenza ai clienti
Contattare un centro informazioni clienti LG Electronics.
- Per trovare personale di centri di assistenza autorizzati LG Electronics, visitare il site web www.lg.com e seguire le istruzioni riportate al suo interno.
- Non tentare di riparare poiché si potrebbe danneggiare ulteriormente il dispositivo e annullare la garanzia.
- Sono disponibili parti di ricambio indicate nel Regolamento 2019/2023 per una durata minima di 10 anni.

MANUEL DU PROPRIÉTAIRE
LAVE-LINGE SÉCHANT

Notice-Facile