W4WV75961 - Lavatrice LG - Manuale utente e istruzioni gratuiti
Trova gratuitamente il manuale del dispositivo W4WV75961 LG in formato PDF.
Scarica le istruzioni per il tuo Lavatrice in formato PDF gratuitamente! Trova il tuo manuale W4WV75961 - LG e riprendi in mano il tuo dispositivo elettronico. In questa pagina sono pubblicati tutti i documenti necessari per l'utilizzo del tuo dispositivo. W4WV75961 del marchio LG.
MANUALE UTENTE W4WV75961 LG
Prima di iniziare l'installazione, leggere attendamente queste istruzioni. In tal modo, l'apparecchiatura sare alla installata lavorante e in maniera corretta e sicura. Dopo l'installazione, conservare queste istruzioni accanto al prodotto per utilizzi futuri.
ITALIANO
W4WV7596*(*)
INDICE
Questo manuale può contentere testo o immagini che non si riferisce cono al modello acquistato.
Il presente manuale è soggetti a revisioni da parte del produttore.
ATTENZIONE PER L'AMBIENTE
Consigli per l'ambiente e l'efficienza 4
ISTRUZIONI PER LA SICUREZZA
LEGGERE TUTTE LE ISTRUZIONI PRIMA DELL'USO 7
AVVERTENZA. 7
INSTALLAZIONE
Partie specifie 13
Requisiti del luogo di installment 16
Disimballaggio dell'elettrodomestico 17
Livellamento dell'elettrodomestico 18
Collegamento del tubo di mandata dell'acqua 20
Installazione del tubo di scarico. 21
USO
Panorama relativa all'uso. 23
Pannello di controllo. 24
Preparazione del carico. 27
Aggiunta di detersivi e ammorbidenti 28
Tabellaprogrammi 32
Programma di asciugatura 38
Opzioni e funzioni aggintive 41
FUNZIONI SMART
Applicazione LG ThinQ 47
Smart Diagnosis 49
MANUTENZIONE
Pulire dopo anni lavaggio. 51
Pulire I'elettrodomestico periodicamente 51
RISOLUZIONE DEI PROBLEMI




Prima di chiamare l'assistenza 55





4 ATTENZIONE PER L'AMBIENTE
ATTENZIONE PER L'AMBIENTE
Consigli per l'ambiente e l'efficienza
Consumo di energia e di acqua
- Il consumo dell'acqua e il consumo di energia elettrica posso sono essere affettati dal peso del carico. Per ottenerile il miglior utilizzo dell'elettrodomestico, caricare la quantità massima di vestiti asciutti per il programma particolare.
- Un carico uniforme del bucato fino alla capacité indicatorata dal produttore per i rispettivi programmi contribuiro al risparmio energetico e di acqua.
- I programmi più efficaci in termini di consumo di energia sono in genere quelli che funzionano a temperature più basse e di maggiore durata.
- Il rumore e il contentuto di umidità rimanente sono influenzati da la velocità di centrifuga: maggiore è la velocità di centrifuga nella fase di centrifuga, maggiore è il rumore e minore è il contentuto di umidità rimanente.
- Per il lavaggio di più piccole quantità di vestiti, il sistema di riconoscimento automatico del carico contribuiro a ridurre la quantità di acqua e il consumo di energia elettrica.
- Usa il programma Veloce per carichi piccoli e poco sporchi per risparmiare energia e acqua.
- I detersivi per il bucato con acqua fredda possono essere altrettanto effettivi a temperature più basse (circa 20^ ). L'utilizzo di impostazioni di 20^ utilizzera meno energia elettrica rispetto alle temperature di 30^ o superiori.
Detersivo
-
Scegliere il detersivo in base al tipo, al colore, al livello di sporcizia del tessuto e alla temperatura di lavaggio. E deve essere utilizzato secondo le istruzioni del produttore del detersivo. Utilizzare solo detergenti adatti per lavativici del tipo a tamburo (caricamento frontale).
-
Usare meno detersivo su carichi di piccole dimensioni.
Selezione di opzioni e funzioni aggintive
-
Selezionare la temperatura dell'acqua idonea al tipo di carico. Per ottenerere risultati ottimali, atteneri alle istruzioni riportate sull'etichetta dell'indumento.
-
L'opzione Pre Wash (Prelavaggio) è consigliata per lavare capi molto sporchi.
Quando si usa un programma di asciugatura
- Per ridurre il consumo di energia elettrica, scegliere la massima velocità della centrifuga possibile per il programma di lavaggio quando si asciuga in un'asciugatrice.
- Per una migliorare asciugatura, accertarsi che tutti i vestiti siano simili per materiale e spessore.
- Se si desidera solo l'asciugatura, la centrifuga gira automaticamente risparmiare energia.
Smaltimento del materiale di imballaggio
- I materiali di imballaggio sono progettati per protegere l'elettrodomestico da danni imprevisti durante il trasporto.
- Dopo aver installato l'elettrodomestico, smaltire i rifiuti di imballaggio secondo i simboli di riciclaggio dei tipi di materiale. Metti i rifiuti di imballaggio negli appositi contentitori per riciclari.
6 ATTENZIONE PER L'AMBIENTE
Smaltimento delle apparecchiature obsolete

-
Tutte le apparecchiature elettriche ed elettroniche, contrassegnate da questo simbolo ("bidone della spazzatura barrato da una croce"), devono essere raccolte e smaltite separamente rispettoagli altri rifiuti urbani misti mediante impianti di raccolta specifici installati da enti pubblici o dalle autorità locali. Si ricorda che gli utenti finali domestici possono consegnare Gratisutamente le apparecchiature elettriche ed elettroniche a fine vita presso il punto vendita all'atto dell'acquisto di una nuova apparecchiatura equivalente. Gli utenti finali domestici possono inoltre consegnare Gratisutamente apparecchiature elettriche ed elettroniche di piccolissime dimensioni (non eccedenti i 25 cm) a fine vita direttamente presso un punto vendita a ciò abilitato, alla obbligo di acquistare una apparecchiatura nuova di tipo equivalente. Si prega di informarsi previamente presso il punto vendita prescelto circa tale ultima modalità di conferimento dell'apparecchiatura a fine vita.
-
Il corretto smaltimento dell'unità obsoleta contribuisce a prevenire possibili consequences negative sulla salute degli individui e sull'ambiente. Una gestione responsabile del fine vita delle apparecchiature elettriche ed elettroniche da parte degli utenti contribuisce al riutilizzo, al riciclaggio ed al recupero sostinibile dei prodotti obsoleti e dei relativi materiali.
- Per informazioni più dettagiate sullo smaltimento delle apparecchiature obsolete, contattare l'ufficio del comune di residenza, il servizio di smaltimento rifiuti o il punto vendita in cui è stato acquistato il prodotto. (www/lg.com/ global/recycling)
ISTRUZIONI PER LA SICUREZZA
LEGGERE TUTTE LE ISTRUZIONI PRIMA DELL'USO
Le istruzioni seguenti sono fornite allo scopo di evitare rischi o danni imprevisti dovuti all'uso errato e non sicuro dell'elettrodomestico. Le istruzioni sono riportate con le diciture "AVVERTENZA" e "ATTENZIONE", come descripto di seguito.
Messaggi di sicurezza

Questo symbolo indica operazioni o condizioni pericolose. Consultare con la massima attenzione il testo riportato assiste a questo symbolo e atteneri alle istruzioni per evitare rischi.

AVVERTENZA Indica che il mancato rispetto delle istruzioni cui provocare lesioni personali gravi o fatali.

ATTENZIONE Indica che il mancato rispetto delle istruzioni cui provocare lievi lesioni personali o danni all'elettrodomestico.
AVVERTENZA

AVVERTENZA
Per ridurre il rischio di esplizioni, incendi, scosse elettriche, ustioni o lesioni personali sono fallati, quando si utilizza l'elettrodomestico è indispensable atteneri alle seguenti precauzioni basilari per la sicurezza:
Sicurezza tecnica
- Questo elettrodomestico più essere adoperato da bambini di almeno 8 anni di età, da persone con capacité fisiche, sensoriali o mentali ridotte, e da persone prive di esperienza molto sorvegianza, solo se è stato spiegato l'uso corretto dell'elettrodomestico e
8 ISTRUZIONI PER LA SICUREZZA
descrivendone i relativi pericoli. con l'elettrodomestico. La pulizia e la manutenzione non devono essere effettuate da bambini perché la supervisione degli uomini.
- I bambini di età inferiore a 3 anni devono essere tenuti lontani se non sorvegliati costamente.
- Se il cavo di allimentazione è danneggiato, per evitare anni deve essere sostituito dal produttore, dall'incaricato della manutenzione o da altri personale qualificato.
- Non ostruire le aperture di ventilazione con tappeti.
- Questo elettrodomestico è inteso per l'uso escludivamente in un ambiente domestico.
- Utilizzare un tubo o tubi nuovi forniti con l'elettrodomestico. Riutilizzare i vecchi tubi può provocare una perdita d'acqua e segmenteamente danni ai beni.
- La pressione dell'acqua deve essere tra 50kPa e 800kPa .
Capacità massima
La capacitéa massima di vestiti asciutti in alcuni cici è Lavaggio (9 kg)/ Asciugatura (6 kg).
La capacité massima consigliata per ciascun programma di lavaggio potrebbe essere diversa. Per ottenere buoni risultati di lavaggio,fare riferimento alla Tabella programmi nel capitolo FUNZIONAMENTO per ulteriori informazioni.
Sicurezza technique per l'uso dell'asciugatrice
- Non asciugare biancheria sporca nell'elettrodomestico.
- I capi macchiati di olio da cucina, olio vegetale, acetone, alcool, benzina, cherosene, smacchiatori, trementina, cere e prodotti per la rimozione della cera devono essere lavati in acqua calda con una quantità magiore di detersivo prima di essere asciugati nell'elettrodomestico.
-
Arrestare l'elettrodomestico solo alla fine del ciclo di asciugatura; se viene arrestato prima, estrarre e stendere rapidamente tutti i capi in modo da dissipare il calore.
-
Non adoperare l'elettrodomestico per asciugare capi in gommapiuma (schiuma di lattice), cuffie per doccia, tessuti impermeabili, capi contententi gomma o cuscini imbottiti di gommapiuma.
- Ammorbidenti o prodotti simili devono essere adoperati attenendosi alle istruzioni dei relativi produttori.
- Togliere tutti gli oggetti (ad es. ascendini o fiammiferi) dalle tasche degli indumenti.
- Se sono stati adoperati prodotti chimici industriali per la pulizia, non utilizzato l'elettrodomestico.
Installazione
- L'elettrodomestico dovrà essere sempre trasportato da due o più personne che lo tengano saldamente.
- Non installare l'apparecchio in un luogo umido e polveroso. Non installare o conservare l'apparecchio in aree esterne o esposte a condizioni climatiche quali luce solare diretta, vento, pioggia o temperature inferiori allo zero.
- Assicurarsi che la spina sia inserita completeness nella presa.
- Non collegare l'elettrodomestico a prese multiple, schede di alimentazione o cavi prolunga.
- Non modificare la spina di alimentazione fornita con l'elettrodomestico. Se non entra nella presa,fare installare la presa adatta da un elettricista qualificato.
- Questo appearecchio è dotato di un cavo di alimentazione con conduttore di messa a terra/isolata (perno di messa a terra) e spina di messa a terra. La spina di alimentazione deve essere inserita in un'idonea presa elettrica installata e collegata a terra/isolata in conformità alle norme e ai regolamenti locali.
- Se il connettore di messa a terra è collegato in maniera errata, potrebbero verificarsi scosse elettriche. In caso di dubbi sulla messa a terra dell'elettrodomestico, rivolgersi a un elettricista qualificato o un addetto all'assistenza.
10 ISTRUZIONI PER LA SICUREZZA
Uso
-
Non provare mai a utilizzato l'elettrodomestico se è danneggiato, se funziona male, se è stato parzialmente smontato e se alcuni componenti, inclusi cavo e spina, mancano o sono danneggiati.
-
Non usare oggetti taglienti sul pannello di controllo per azionare l'elettrodomestico.
-
Non togliere i pannelli e non smontare l'elettrodomestico.
-
Non provare a riparare o sostituire componenti dell'elettrodomestico. Tutte le riparazioni e le operazioni di manutenzione devono essere eseguite dal personale qualificato dell'assistenza, a meno che non siano consigliate nel manuale d'uso. Utilizzare solo componenti originali.
-
Non esercitare una pressione eccessiva sullo sportello dell'elettrodomestico quando è aperto.
-
Impedireaglianimalidomestici dientrare nell'elettrodomestico.
-
Non lavare gli articoli che sono specificati dal produttore come non lavabili sull'etichetta.
-
Mantenere gli spazi sottostanti o circostanti all'elettrodomestico liberi da materiali combustibili (ad es. lanugine, carta, stracci, prodotti chimici ecc.).
-
Non lasciare aperto lo sportello dell'elettrodomestico. I bambini potrebbero appendersi allo sportello o introdursi nell'elettrodomestico e ferirsi o provocare danni.
-
Non introdurre, lavare o asciugare capi che sono stati puliti, lavati, immersi o spruzzati con sostanze explosive o combustibili (ad es. cera, sverniciatori, olio, vernice, benzina, sgrassatori, solventi per lavaggio a secco, cherosene, olio vegetale, smacchiatori, trementina, olio vegetale, olio da cucina, acetone, alcohol ecc.). L'uso improprio cui provocare incendi o esplosioni.
-
Non utilizzato o conservare sostanze inflammabili o combustibili (etere, benzene, alcohol, prodotti chimici, GPL, spray combustibili, benzina, diluenti, petrolio, insetticidi, deodoranti, cosmetici, ecc.) Vicino all'elettrodomestico.
-
Non provare mai ad accedere alla parte interna dell'elettrodomestico perché è in funzione. Attendere che il cestello sia completamente fermo.
- Non toccare lo sportello durante i programmi ad alta temperatura.
- In caso di perdite d'acqua dall'elettrodomestico o alluvione, scollegare la spina e contattare il centro informazioni clienti LG Electronics.
- Chiudere i rubinetti dell'acqua per scaricare la pressione su tubi e valvole e ridurre al minimo le perdite in caso di taglio o rottura. Controllare le condizioni dei tubi di riempimento; dovrebbero essere sostituiti快来 5 anni.
- In caso di perdite di gas (isobutano, propano, gas naturale, ecc.) in casa, non toccare l'elettrodomestico o la spina e ventilare l'area immediatamente.
- Se il tubo di scarico o di mandata dell'acqua si gela durante l'inverno, utilizzato soloismo后再o scongelamento.
- Tenere detersivi, immorbidenti e candelgianti fuori alla portata dei bambini.
- Non toccare la spina di alimentazione o i comandi dell'apparecchio con le con le mani bagnate.
- Non piegareccessivamente il cavo di alimentazione e non collocare oggetti pesanti su diesso.
- Evitare di toccare l'acqua scaricata dall'elettrodomestico durante il lavaggio.
- Assicurarsi che il drenaggio funzioni correttamente. Se l'acqua non viene scaricata correttamente, il pavimento potrebbe allagarsi.
- Quando la temperatura dell'aria è alta e la temperatura dell'acqua è Bassa, cui verificarsi nella condensa e quindi bagnare il pavimento.
- Rimuovere sporco o polvere dai contatti della spina di alimentazione.
Manutenzione
- Prima di pulire l'elettrodomestico, scollegarlo alla presa di corrente. L'elettrodomestico rimane collegato alla fonte di alimentazione ancche quando è in standby o è spento.
12 ISTRUZIONI PER LA SICUREZZA
- Collegare saldamente la spina di alimentazione nella presa elettrica\ dopo aver eliminato completamente l'eventuale umidità e polvere.
- Non spruzzare acqua all'interno o all'esterno dell'apparecchio per pulirlo.
- Non scollegare l'elettrodomestico tirando il cavo di alimentazione. Afferrare saldamente la spina di alimentazione ed estrarla alla presa elettrica.
- Solo il personale di assistenza qualificato del centro di assistenza LG Electronics più smontare, riparare o modificare l'elettrodomestico. Contattare un centro informazioni clienti LG Electronics se si sposta e si installa l'elettrodomestico in una posizione diversa.
Smaltimento
- Prima di smaltire un vecchio apparecchio, togliere la spina di corrente. Tagliare tutto il cavo dietro l'elettrodomestico per impedire utilizzi errati.
- Smaltire tutti i materiali di imballaggio (es. sacchetti di plastica e polistirolo) tenero lontani i bambini. I materiali di imballaggio possono provocare soffocamento.
- Tagliare il cavo di alimentazione e rimuovere lo sportello prima di smaltire quello elettrodomestico per evitare il pericolo che bambini o piccoli animali rimangano intrappolati all'interno.
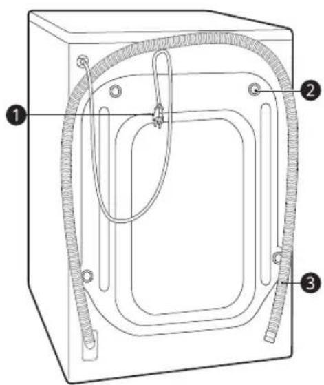
INSTALLAZIONE
Parti e specifiche
NOTA
L'aspetto e le specifiche possono variarere sanza preavviso per migliorare la qualita dell'elettrodomestico.
Vista frontale

Pannello di controllo
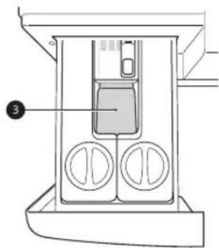
Cassetto erogatore del detersivo
Cestello
Sportello
Coperchio
6 Tappodi scarico
Filtro della pompa di scarico
Piedi di livellamento
Vista posteriore

Spina di alimentazione
2 Bulloni per il trasporto
3 Tubo di scarico
14 INSTALLAZIONE
Specifiche
| Modello W4WV7596*(*) | |
| Alimentazione 220-240 V~, 50 Hz | |
| Peso del prodotto 73 kg |
Dimensioni (mm)


| W 600 | D 565 D" 1100 | ||||
| H | 8 | 5 | 0 | D | ' 6 |



*1 Gli accessori inclusi variano in base al modello acquistato.
16 INSTALLAZIONE
Requisiti del luogo di installmente
Prima dell'installazione, verificare le seguenti informazioni per assicurarsi che l'elettrodomestico venga installato nel luogo corretto.
Posizione di installmente
- Questo elettrodomestico deve essere installato su pavimenti rigidi per ridurre al minimo le vibrazioni durante la centrifuga. La pavimentazione in calcestruzzo è la migliorhe, essendo molto meno soggetta a vibrazioni durante il ciclo di rotazione rispetto alleassi di legno o a una superficie in moquette.
- Se non è possibile evitare di collocare l'elettrodomestico accanto a un fornello a gas o a una stufa a carbone, frapporre tra i due elettrodomestici un materiale isolante (850 X 600 mm) ricoperto da un foglio di alluminio sul lato rivolto verso il fornello o la stufa.
- Installare l'elettrodomestico in modo che sia fácilmente accessibile a un technique in caso di guasto.
- Durante l'installazione dell'elettrodomestico, regolare tutti e quattro i piedi utilizzando la chiave per bulloni per il trasporto fornita per assicurarsi che sia stabile.
- Assicurarsi che ci sia abbastanza spazio per un'apertura completa dello sportello dell'elettrodomestico.
- Per garantire uno spazio sufficiente per i tubi di mandata dell'acqua, il tubo di scarico e il flusso d'aria, lasciare uno spazio minimo di almeno 20 mm ai lati e 100 mm dietro l'elettrodomestico. Assicurarsi di consentire modanature di pareti, porte o pavimenti che potrebbero aumento gli spazi libero richiesti.


| Indice Spazio libero (mm) | |
| A | 100 |
| B | 5 |
| C | 20 |
AVVERTENZA
- Questo elettrodomestico delve essere utilizzato solo in ambienti domestici e non per installazioni mobili.
Pavimenti in legno (pavimenti flottanti)
Quando si installa l'elettrodomestico su pavimenti in legno, utilizzare tazze di gomma per ridurre le vibrazioni e lo squilibrio eccessivi. I pavimenti in legno o sospesi sono contribuire a vibrazioni e squilibri eccessivi, errori e malfunzionamenti.

Per ridurre le vibrazioni, si consiglia di posizionare uno spessore di almeno 15mm delle tazze di gomma ogni piedino dell'elettrodomestico e avvitarli ad almeno due elementi del pavimento.
- Se possibile, installare l'elettrodomestico in uno degli angoli dell'ambiente, dove il pavimento è più stabile.
- Installare gli anelli di gomma per ridurre le vibrazioni.
ATTENZIONE
- Se l'elettrodomestico è installato su un pavimento non stabile (es. di legno), la garanzia
non copre danni e costi dovuti all'installazione sudale pavimento.
NOTA
- É possibile richiedere gli anelli in gomma (Numero pezzo 4620ER4002B) al centro assistenza LG.
Ventilazione
- Accertarsi che la circolazione dell'aria attorno all'elettrodomestico non sia ostacolata da tappeti, strofinacci ecc.
Temperatura ambiente
- Non installare l'elettrodomestico in ambienti dove la temperatura scende sotto zero. I tubi in pressione congelati possono scoppiare. Temperature inferiori al punto di congelamento potrebbero pregiudicare l'affidabilità dell'unità di controllo elettronico.
- Se l'elettrodomestico viene recapitato in inverno con temperature sotto zero, lasciarlo a temperatura ambiente per alcune ore prima di metterlo in funzione.
Collegamento elettrico
Non adoperare prolonghe o doppie spine.
- Dopo l'uso, scollegare sempre l'elettrodomestico e chiudere il rubinetto di ingressso dell'accqua.
- Collegare l'elettrodomestico a una presa dotata di messa a terra come imposto dalle norme vigenti in materia di cablaggi elettrici.
L'elettrodomestico delve essere collocato in modo che la spina sia lavorente accessibile.
- La presa di alimentazione deve essere collocata a una distanza di al massimo 1 metro dai lati dell'elettrodomestico.
AVVERTENZA
- Le riparazioni dell'elettrodomestico devono essere eseguite solo da personale qualificato. Le riparazioni effettuate da persona inesperte possono provocare lesioni o gravi malfunzionamenti. Rivolgersi al centro di assistenza locale LG.
- La spina deve essere inserita in una presa adeguata installata e collegata a terra in conformità alle norme e ai regolamenti locali.
Disimballaggio dell'elettrodomestico
Sollevamento dell'elettrodomestico per rimuoverlo alla base di gommapiuma
Dopo aver rimosso il cartone e il materiale di imballaggio, sollevare l'elettrodomestico per rimuoverlo alla base di gommapiuma.

Assicurarsi che il supporto del cestello si stacchi insieme alla base e non sua attaccato al fondo dell'elettrodomestico.
- Se occorre appoggiare l'elettrodomestico su un fianco per rimuovere la base di cartone, proteggerlo lateralmente e posarlo delicatamente. Non appoggiare l'elettrodomestico sulla parte anteriore o posteriori.
*Questo aspetto può variare in base al modello acquistato.
18 INSTALLAZIONE
Rimozione dei bulloni per il trasporto
Per evitare che l'elettrodomestico subisca forti vibrazioni e rotture, rimuovere i bulloni per il trasporto e i fermi.
1 Iniziando con i due bulloni per il trasporto sul fondo ①, usare la chiave (inclusa) per allentare completamente tutti i bulloni per il trasporto ruotandoli in senso antiorario.

2 Rimuovere i bulloni torcendoli leggermente除去 si estraggono.
3 Posizione are i tappi copri foro.
- Individuare i tappi dei fori 2 inclusi nella confezione degli accessori o applicati alla parte posteriore.

NOTA
-
Conservare i bulloni per il trasporto e i fermi per uso futuro.
-
Trasportare quello elettrodomestico per prevenir rotture come di seguito:
-
I bulloni per il trasporto vengono reinstallati.
- Il cavo di alimentazione è fissato sul retro dell'elettrodomestico.
Livellamento dell'elettrodomestico
Verifica del livellamento
Quando si preme sui bordi della piatra superiore in senso diagonale, l'elettrodomestico non deve sollevarsi ne abbassarsi (controllare entrambe le direzioni).
- Se l'elettrodomestico dontola quando si spinge la parte superiore in diagonale, regolare nuovamente i piedini.
- Accertarsi che l'elettrodomestico si perfeftamente a livello dopo l'installazione.
NOTA
- Pavimenti in legno o sospesi sono contribuire a vibrazioni e squilibri eccessivi. Potrebbe essere necessario considerare il rinsforzo o il supporto del pavimento in legno per arrestare o ridurre il rumore e le vibrazioni eccessivi.
Non provare mai a livellare pavimenti con eventuali dislivelli collocando nelle elettrodomestico pezzi di legno, cartone o materiali simili.
Regolamento e livellamento dei piedini
Durante l'installazione, I'elettrodomestico deve essere allineato e livellato perfettamente. Se non viene allineato e livellato adeguatamente, I'elettrodomestico potrebbe essere danneggiato o non funzionare adeguatamente.
1 Girare i piedi di livellamento come richiesto se il pavimento non è piano.
Non inseire pezioni di legno, ecc. sotto i piedini.
- Assicurarsi che tutti e quattro i piedini siano stabili e poggino sul pavimento.


NOTA
Non installare la lavatrice su uno zoccolo, un supporto o una superficie elevata a meno che non sia fabbricata da LG Electronics per l'uso con questo modello.
3 Fissare i piedi di livellamento con i controdadi 2 ruotandoli in senso antiorario contro il fondo dell'elettrodomestico.

4 Verificare se tutti i controdadi sul fondo dell'elettrodomestico sono fissati adeguatamente.
NOTA
L'installazione e il livellamento appropriati dell'elettrodomestico garantisco un funzionamento duratto, regolare e affidabile.
L'elettrodomestico delve essere installato in posizione 100% orizzontale ed essere stabile su un pavimento duro e piatto.
Non delve ondegliare da un angolo all'altro sotto carico.
I piedini dell'elettrodomestico non devono essere bagnati, altrimenti potrebbero causare rumori e vibrazioni.
2 Verificare se l'elettrodomestico è perfettamente a livello con una livella a bolla ①.

Utilizzo dei tappetini antiscivolo
Questo aspetto cui variate in base al modello acquistato.
Se l'elettrodomestico viene installato su una superficie scivolosa, potrebbe muoversi a causa delle vibrazioni. Se l'elettrodomestico non è installato a livello, potrebbero verificarsi malfunzionamenti provocati dalle vibrazioni. In tal caso, installare i tappetini antiscivolo sotto i piedini di livellamento e regolare il livello.
I tappetini antiscivolo devono essere applicati su un pavimento pulito.
20 INSTALLAZIONE
- Eliminare sporco e umidità con uno strofinaccio asciutto. Se la superficie rimane umida, i tappetini antiscivolo potrebbero spostarsi.
2 Dopo aver collocato l'elettrodomestico nella posizione definitiva, regolare il livello.
3 Applicare i tappetini antiscivolo con il lato adesivo ① rivolto verso il pavimento.
- Il modo più efficace è quello di installare i tappetini antiscivolo sotto i piedini anteriori. Se ciò dovesse risultare difficoltà, posizionarli sotto i piedini posteriori.

4 Posizionare I'elettrodomestico sui tappetini antiscivolo.
Non attaccare il lato adesivo ① dei tappetini antiscivolo ai piedini dell'elettrodomestico.
NOTA
- Ulteriori tappetini adesivi sono disponibili presso il centro assistenza LG Electronics.
Collegamento del tubo di mandata dell'acqua
Note per la connessione
- La pressione dell'acqua deve essere tra 50 kPa e 800 kPa (0,5-8,0 kgf/cm²). Se la pressione dell'acqua è superiore a 800 kPa, è necessario installare un dispositivo di decompressione.
- Controllare regolarmente le condizioni del tubo di mandata dell'acqua e, se necessario, sostituire il tubo di mandata dell'acqua.
NOTA
Non stringereccessivamente itubodimandata dell'acqua outilizzaredispositivi meccanici per serrarele valvole di ingresso.
- Il collegamento alla mandata dell'acqua non richiede ulteriore protezione contro i ritorni di flusso.
Solo per Germania
- Collegare l'apparecchio solo a un rubinetto dell'accua con un disposativo di sicurezza (secondo la norma EN 1717) per evitare l'inquinamento dell'accua potabileattraverso il riflusso dell'accua.
- Per sicurezza, si prega di chiedere il suo installatore. Nel caso in cui il rubinetto dell'acqua viaenza valvola di prevenzione del riflusso (secondo la norma EN 1717) è necessario utilizzato una valvola di prevenzione del riflusso aggintiva conforme all'ordinanza tedesa sull'acqua potabile tra il rubinetto dell'acqua e il tubo di ingresso dell'acqua.
Verifica del sigillo in gomma
Con i tubi di mandata dell'acqua sono fornite due guarnizioni in gomma 1. Queste guarnizioni sono utilizzate per prevenir perdite d'acqua. Il collegamento ai rubinetti deve essere ben stretto.
Nonutilizzaredispositivi meccanici come pinze per stringere itubodimandata dell'acqua.Assicurarsi che l'estremita curva del tubo di mandata dell'acqua sa connessa all'elettrodomestico.


Connessione del tubo al rubinetto
Collegamento del tubo a vite fillettato
Avvitare il connettore del tubo di mandata sul rubinetto di mandata dell'acqua. Stringere a mano solo con l'aiuto di un panno morbido. Non stringereccessivamente il tubo di mandata con alcun dispositivo meccanico.

NOTA
- Dopo aver collegato il tubo di mandata al rubinetto, aprire il rubinetto per espellere eventuali corpi estranei (sporcizia, sabbia, segatura ecc.) presenti nella rete idrica. Far scorrere l'acqua in un secchio e controllare la temperatura.
Connessione del tubo all'elettrodomestico
Avitare il tubo di mandata dell'acqua alla valvola sul retro dell'elettrodomestico.

- Non connettere il tubo all'acqua calda per i modelli con un solo tubo di mandata. Connette solo all'acqua fredda.
NOTA
- Una volta completata la connessione, se il tubo perde acqua, ripetere gli stessi passi. Utilizzato il tipo di rubinetto più comune per l'approvvigionamento idrico. Nel caso in cui il rubinetto sia squadrato o troppo grande, rimuovere la piastrina prima di insereire il rubinetto nell'adattatore.
- Assicurarsi che il tubo non sia piegato o impigliato.
Installazione del tubo di scarico
Installazione del tubo di scarico con la staffa a gomito
Il tubo di scarico deve essere collocato ad almeno metro di altezza dal pavimento, altrimenti l'acqua nell'elettrodomestico potrebbe non scaricarsi o potrebbe scaricarsi troppo lentamente.
22 INSTALLAZIONE
- Se il tubo di scarico viene assicurato correttamente, il pavimento è protetto da eventuali danni causati da perdite d'acqua.


- Se il tubo di scarico è troppo lungo, non forzarne l'inserimento nell'elettrodomestico, altrimenti si potrebbero produrre rumori anomali.
- Quando si installa il tubo di scarico a un lavatoio, fissarlo saldamente con una corda.

uso
Panorama relativa all'uso
Utilizzo dell'elettrodomestico
Prima del primo lavaggio, selezionare il programma di lavaggio Koch-/ Buntwäsche(Cotone) e aggiungere la meta della quantità di detersivo. Avviare l'elettrodomestico alla vesti. In tal modo, vengono eliminati eventuali corpi estranei e acqua dal cestello rimasti in fase di fabbricazione dell'elettrodomestico.
1 Separare i vestiti e caricare i capi.
- Separare i vestiti in base al tipo di tessuto, al livello di sporcizia, al colore e alla quantità. Apire lo sportello e caricare i capi nell'elettrodomestico.
ATTENZIONE
- Prima di chiudere lo sportello, assicurarsi che tutti gli indumenti e gli oggetti siano all'interno del cestello e non sporgano sulla guarnizione di gomma dello sportello dove rimarranno intrappolati quando lo sportello viene chiuso. In caso contrario, si danneggeranno la guarnizione della porta e i vestiti.

- Rimuovere gli oggetti intrappolati nella guarnizione dello sportello flissibile per evitare danni ai capi e alla guarnizione.

2 Aggiungere il detersivo o l'ammorbidente.
- Aggiungere la quantità appropriata di detersivo all'erogatore del detersivo. Se occorre,aggiungere candeggina o ammonbidenti nelle vaschette apposite dell'erogatore.
3 Accendere l'elettrodomestico.
- Premere il tasto Accensione per accendere l'elettrodomestico.
4 Scegliere il ciclo desiderato.
-
Premere ripeturamente il tasto dei cicli o ruotare la manopola di selezione ciclo per selezionare il ciclo desiderato.
-
A quello punto selezionare temperatura di lavaggio e velocità di centrifuga. Prestare attenzione alle etichette per la cura del tessuto presenti sui vestiti.
-
Selezionare il pulsantavvio/Pausa senza selezionare un programma, il programma Koch-/Buntwäsche(Cotone) verrà avviato immediatamente,utilizzando le impostazioni predefinite.
5 Avvio del ciclo.
- Premere il tasting Avvio/Pausa per avviare il ciclo. L'elettrodomestico si attiva brevamente sens'acqua per misurare il peso del carico. Se non si preme il tasting Avvio/Pausa entro un determinato tempo, l'elettrodomestico si spegne annullando tutte le impostazioni.
6 Fine del ciclo.
- Al termine del ciclo viene emesso un segnale acustico. Togliere immediatamente la biancheria dall'elettrodomestico per evitare che si spiegazziccessivamente.Controllare la guarnizione dello sportello per rimuovere eventuali capi di piccole dimensioni rimasti intrappolati.
24 USO
Pannello di controllo
Il pannello di controllo effettivo potrebbe differire da modello a modello.
Caratteristica del pannello di controllo

| Descrizione | |
| 1 | Tasto Accensione Accensione/Spegnimento • Premere quello tasting di accensione per accendere la lavatrice. |
| 2 | Manopola dei programmi • Sono disponibili diversi programmi per i vari tipi di vestiti. • La spia si accende perindicare ilprogramma selezionato. NOTA • Waschen+Trocknen(Lava+Asciuga):()indica la capacité di asciugatura, che varia in base almodello. |
| 3 | Tasto Avvio/Pausa • Questo tasting viene utilizzato per avviare o sospendere il ciclo di lavaggio. • Se occorre interrompere temporaneamente il ciclo di lavaggio, premere quello tasting. |
| 4 | Opzioni e funzioni aggintivePer utilizzare funzioni aggintive, tenerem Premuto il tasto corrispondente per 3 secondi. Il simbolo corrispondente si illumina sul display.Consente di selezionare programmi aggintivi, illuminanandosi perindicare quello scelto.Fernstart(Avvio a Distanza)Con l'app LG ThinQ, è possibile utilizzato uno smartphone per controllare il proprio elettrodomestico a distance.Per utilizzato questa funzione,fare riferimento a FUNZIONI SMART.WLAN(Wi-Fi)Tenere premuto il tasto Zeitverzögerung(Timer)per 3 secondi per avviare il collegamento dell'elettrodomestico all'applicazione LG ThinQ. |
| 5 | Personalizzazione dei pulsanti dei programmi di lavaggioUtilizzato quostipulsanti per regolare la temperature dell'acqua o le impostazioni della velocità di centrifuga per il programma selezionato.Le impostazioni attuali vengono sostrate nel display.Premere l'apposito pulsante per selezionare altre impostazioni. |
| 6 | Pulsanti ezDispensePremere Erogatore 1 o Erogatore 2 per selezionare la funzione ezDispense.II LED si accende per indicare il tipo e la quantità di detersivo selezionato.Quando il detersivo o l'ammorbidente è insufficiente; -Se si preme il pulsante Accensione: il LED lampeggerà e il segnale acustico suonerà.-Se si utilizza l'elettrodomestico: il LED lampeggerà.ezDispense Systemreinigung(Pulizia ezDispense)Premere il pulsanSchleudern(Centrifuga)per 3 secondi per utilizzato la funzione ezDispense Systemreinigung(Pulizia ezDispense). Utilizzato quosta funzione per cancellare il tipo di detersivo o di ammorbidente. Questa funzione pulisce i residui di detersivo o ammorbidente nel tubo collegato all'ezDispense (quando si cambia il tipo di detersivo o ammorbidente). |
| 7 | DisplayIl display alla me le impostazioni, il tempo stimato rimanente, le opzioni e i messaggi di stato. Quando l'elettrodomestico viene accesso, il display alla me le impostazioni predefinite.Mentre il peso del carico viene rilevato automaticamente, il display sul pannello di controllo lampeggia. |

26 USO
Display del tempo e dello stato

| Descrizione | |
| 1 | Indicatori di stato del programma ·Quando un programma di lavaggio è in funzione, la spia LED lampeggerà per lo stadio attivo e le spie LED resteranno fisse per gli altri stadi. Una volta completato uno stadio, la spia LED si spegnerà. Se un ciclo è in pausa, la spia LED dello stadio attivo smetterà di lampeggiare. |
| 2 | AI DD ·AI DD Åfornisce le opportune azioni di rotazione del cestello al termine del rilevamento del carico. ·Ä è attività quando i programmi Koch-/Buntwäsche(Cotone), Mix(Misti) e Pflegeleicht(Sintetici) sono selezionati e in funzione. - Se si utilizza troppo detersivo, possono verificarsi troppe schiuma e ciò causa scarse prestazioni dell'AI DDAI DD. |
| 3 | Tempo stimato rimasto ·Quando viene selezionato un programma di lavaggio, viene mostrata la durata predefinita del programma selezionato. Tale durata cambia in base all'opzione selezionata. ·Se il display在哪stra --- , il tempo verrà visualizzatoismo after che il rilevamento del carico ha rilevato la dimensione del carico. Questo è normale. ·La durata在哪stra è solo una stima. La durata si basa sulle normali condizioni operative. Diversi fattori esterni (peso del carico, temperature della stanza, temperature dell'accqua in ingressso, ecc.) possono influire sulla durata effettiva. |
| 4 | si accende quando il segnale acustico è bloccato. |
| 5 | si accende quando l'opzione Vorwäsche(Prelavaggio) è attiva. |
| 6 | si accende quando il pannello di controllo è bloccato ad eccezione del pulsante Accensione. |
| 7 | si accende quando l'élettrodomestico è connesso alla rete Wi-Fi domestica. |
| 8 | si accende quando la funzione di controllo remoto è attiva. |
| 9 | si accende quando il programma inizia e lo sportello è bloccato. |
Preparazione del carico
Suddividere il carico in modo da otteneri migliorari risultati di lavaggio, quindi prepararlo in base ai symboli sulle etichette di manutenzione.
Suddividere gli indumenti
- Livello di sporco (pesante, normale, leggero):分开 the two parts of the text.
- Livello di sporco (pesante, normale, leggero): separate gli indumenti in base al livello di sporco. Se possibile, non lavare capi molto sporchi insieme a capi leggermente sporchi.
- Colore (bianco, bianro, scuro): lavare gli indumenti scuri o colorati dagli indumenti bianchi o chiari separatamente. Mischiare indumenti colorati con indumenti chiari può causare che i capi più scuri scoloriscano tingendo i capi più chiari.
- Lanugine (capi che producono, attirano lanugine): lavare i tessuti che producono lanugine separatamente da quelli che la attirano. I tessuti che producono lanugine possono creare pallini e lanugine su quelli che la attirano.
Verifica dell'etichetta dei vestiti
I symboli indicano la composizione del tessuto del capo da lavare e il lavaggio appropriato.
Simboli sulle etichette
| Simbolo | Lavaggio / Tipo di tessuto |
| • Lavaggio normale • Cotone, tessuti misti | |
| • Sintetici • Tessuti sintetici, misti | |
| • Lavaggio speciale delicato • Delicati | |
| • Solo lavaggio a mano • Lana, seta | |
| • Non lavare |
NOTA
- Per ottenere informazioni generali sui simboli di lavaggio sulle etichette di cura dei tessuti, visitare il site web Ginetex (www.ginetex.ch).

Verificare gli indumenti prima di caricarli
- Per aiutare a distribuire uniformamente il carico durante la centrifuga, combinare indumenti grande e piccoli in un carico.
Non lavare singoli capi piccoli. Aggiungere al carico 1-2 capi simili per evitare uno sbilanciamento. - Accertarsi che tutte le tasche siano vuote. Oggetti come chiodi, fermagli per capelli, fiammiferi, penne, monete e chiavi possono danneggiare l'elettrodomestico e i capi da lavare.

- Lavare i capi delicati (calze da donna, reggiseni con ferretto) in un sacco a rete.
- Chiudere le cerniere, i ganci e le stringhe per evitare che si impiglino in altri capi da lavare.
- Per facilitare l'eliminazione dello sporco, pretrattare sporco e macchie spazzolando le macchie con una lieve quantità di detersivo sciolto in acqua.
28 USO
Aggiunta di detersivi e ammorbidenti
Dosaggio del detersivo
-
Dosare il detersivo attenendosi alle istruzioni del produttore e scegliro in base al tipo, al colore, al livello di sporciazione del tessuto e alla temperatura di lavaggio. Utilizzato solo detergenti adatti per lavativici del tipo a tamburo (caricamento frontale).
-
Se si produce troppa schiuma, ridurre la quantità di detersivo.
-
Se si utilizes troppo detersivo, si produce troppa schiuma che pregiudica la qualità del lavaggio o causa sovracarico al motore.
-
Se si desidera utilizzare un detersivo liquido, attenersi alle istruzioni fornite dal produttore.
-
Se si intende avviare immediatamente il ciclo di lavaggio, è possible versare il detersivo direttamente nel cassetto principale.
Se si selezione l'opzione Vorwäsche(Prelavaggio) dopo aver aggiunto il detersivo direttamente nel cestello, il detersivo cui quod assere lavato via, riducendo le prestazioni di lavaggio. Per ottenere risultati ottimali,utilizzare l'opzione Vorwäsche(Prelavaggio) con la funzione ezDispense L'erogatore manuale non cui quod assere utilizzato per l'erogazione del detersivo prelavaggio.
-
La quantità di detersivo deve essere adeguata alla temperatura e alla durezza dell'acqua, al peso del carico e al livello di sporcizia dei capi. Per ottenere risultati ottimali, evitare il sovradosaggio del detergente. In caso contrario, si verificHERA un effesso di schiuma.
-
Controllare le etichette dei capi prima di aggiungere il detersivo e scegliere la temperatura dell'acqua.
-
Utilizzare solo detersivi adatti al rispetto tipo di indumento:
-
Il detersivo liquido è spesso inteso per applicazioni speciali, es. tessuti colorati, lana, abiti delicati o scuri.
-
Il detersivo in polvere è adatto a tutti i tipi di tessuto.
-
Per otteneri migliorari risultati di lavaggio di capi bianchi e chiari, utilizzare detersivo in polvere con candeggina.
-
Il detersivo viene emesso dall'erogatore all'inizio del ciclo di lavaggio.
NOTA
- Non lasciare indurire il detersivo, altrimenti si potrebbero formare blocchi di detersivo, il risciacquo potrebbe essere insufficiente o si potrebbero produrre odori sgradevoli.
- Piano carico: seguire le raccomandazioni del produttore.
- Carico parziale: 1/2 della quantità normale.
- Carico minimo: 1/3 rispetto al piano carico.
Utilizzo della funzione ezDispense
Quando la funzione ezDispense è attivata, il detersivo liquido e l'ammorbidente vengono erogati nelle quantità impostate, al momento opportuno durante il ciclo.
- Uno scomparto completo per il detersivo durera per circa 20 cicli standard, con il cestello caricato a meta con i vestiti.
Le impostazioni predefinite sono configurate per erogare 42 ml di detersivo e 30 ml di ammorbidente per 4-6 kg di biancheria normalmente sporca. Questa impostazione può essere modificata con il pulsante Erogatore 1 o Erogatore 2. Per ulteriori dettagli, consultare Opzioni e funzioni extra nel capitolo FUNZIONAMENTO.
1 Far scorrere lentamente il cassetto erogatore del detersivo fino all'arresto.

Scomparto del detersivo liquido
Scomparto per ammorbidente liquido o detersivi liquidi
2 Ruotare i coperchi degli scomparti ezDispense in senso antiorario per aprirli.


3 Versare il detersivo e l'ammorbidente nei rispetti scomparti, forn alla linea MAX.
- Il cassettoezDispense ha due scomparti. Mettere il detersivo liquido nello scomparto laterale destro e l'ammorbidente liquido o il detersivo liquido nello scomparto sinistro. Se il detersivo viene aggiunto nello scomparto 2 l'ammorbidente non può essere utilizzato.
Non mettere negli scomparti ezDispense detersivi liquidi o in polvere, ne detersivi in polvere, gel o in fogli. - Rimuovere eventuali residui di detersivo sulla parte esterna del cassetto ezDispense prima di inserirlo.
Non cercare di riempire gli scomparti troppo velocamente. Aggiungere il detersivo e l'ammorbidente lentamente per evitare traboccamenti.

4Dopo aver riempito gli scomparti, insere i coperchi e ruotarli in senso orario sino a quando non sono ben chiusi.
- Chiudere saldamente i coperchi ai scomparti ezDispense per ridurre al minimo il flusso d'aria che può indurire questi additivi e
impedirne il corretto dosaggio. Fare attenuationa non perdere i coperchi.
5 Chiudere lentamente il cassetto dell'elettrodomestico prima di iniziare il ciclo.
- Sbattere il cassetto chiuso può provocare la fuoriuscita del detergente in un'alto scomparto o l'erogazione nel cestello prima del previsto.
- Fare attentzione a non incastrare una mano nel cassetto durante la chiusura.
- Énormale che una piccola quantità di acqua rimanga negli scomparti manuali dell'erogatore alla fine del ciclo.
ATTENZIONE
- Chiudere saldamente la copertura e il coperchio del vano prima dell'uso. In caso contrario, il detersivo e l'ammorbidente si induriranno o traboccheranno.
- Far scorrere il cassetto erogatore del detersivo fuori o dentro lentamente e usare entrambé le mani per sicurezza. In caso contrario si può danneggiare la lavatrice o causare la fuoriuscita del detersivo o dell'amorbidente dai fori di ventilazione.
- Il detersivo o l'ammorbidente lasciato negli scomparti ezDispense per un periodo prolongato cui odurirsi e non essere erogato correttamente.
Non rimuovere il cassetto dell'erogatore nelle prodotto è in funzione. - Rimuovere il detersivo/ammorbidente negli scomparti ezDispense prima di spostare o spostare la lavatrice.
- Mantenere il vano ezDispense a livello per evitare che il contentuto fuoriesca.
Utilizzo della funzione di erogazione manuale
Aggiungere il detersivo all'erogatore manuale.

30 USO
1 Premere ripeturamente il tasto Erogatore 1 o Erogatore 2 per disattivare la funzione ezDispense.

Pulsante Erogatore 1
Pulsante Erogatore 2
2 Aprire il cassetto erogatore del detersivo.

3 Caricare i prodotti della lavanderia negli apposti scomparti del erogatore manuale.
- Utilizzare lo scomparto del detersivo principale per il detersivo in polvere o liquido nell'erogatore manuale.
Non collocare fogli, pastiglie o confezioni di detersivo nell'erogatore manuale. - Se si utilizzato confezioni di detersivo monouso, collocare la confezione nel cestello prima di caricare la biancheria. Non
collocare le confezioni di detersivo liquido o in polvere in nessuno degli erogatori.

Scomparto manuale di detersivo per lavaggio principale
4 Chiudere delicatamente il cassetto erogatore del detersivo prima di iniziare il ciclo.
- Sbattere il cassetto erogatore del detersivo cui provocare la fuoriuscita del detersivo in un'alto scomparto o l'erogazione nel cestello prima del previsto.
ATTENZIONE
Non mettere o conservare prodotti per il bucato, come detersivi, candeggina o ammorbidente liquido per tessuti, sopra la lavatrice. Questi prodotti possono danneggiare la finitura e i controli della lavatrice.
NOTA
L'erogatore manuale non cui estere utilizzato per l'erogazione di detersivo prelavaggio.
- Quando si aggiungono pastiglie di detersivo e addolcitore d'acqua, assicurarsi di disattivare la funzione ezDispense.
Scomparto manuale di detersivo per lavaggio principale
Questo scomparto contiene il detersivo per il ciclo di lavaggio principale. Si raccomanda l'uso di detersivo in polvere in quello scomparto.
- Nello scomparto del lavaggio principale manuale si può essere aggiungere del detersivo dello

32 USO
Tabella programmi
Programmi di lavaggio
| Koch-/Buntwäsche(Cotone) | 40 °C (Kalt(Freddo) a 95 °C) | Carico massimo: valutazione | |
| Descrizione Lava | il bucato mediamente sporco combinando vari movimenti del cestello. | ||
| Eco 40-60 40 °C (da 40 a 60 °C) Carico massimo: valutazione | |||
| Descrizione Lava | bucato di cotone mediamente sporco dichiarati lavabili a 40 °C o 60 °C. | ||
| TurboWash 59 40 °C (Kalt(Freddo) a 60 °C) Carico massimo 4 kg | |||
| Descrizione | Completa l'intero ciclo in 59 minuti perché compromettere la prestazione di lavaggio e la cura del tessuto. | ||
| Mix(Misti) 40 °C (Kalt(Freddo) a 60 °C) Carico massimo 4 kg | |||
| Descrizione Lava | contemporaneamente tessutiisti. • Utilizzato per tessuti di tipo diverso, eccetto capi particolari (seta/delicati, abbigliamento sportivo, capi scuri, lana, piumini, tende). | ||
| Pflegeleicht(Sintetici) | 40 °C (Kalt(Freddo) a 60 °C) | Carico massimo 4 kg | |
| Descrizione Lava | bucato che non necessita di essere stirato nel lavaggio. • Utilizzato per poliammide, acrilico, poliestere. | ||
| Allergy Care 60 °C Carico massimo 4 kg | |||
| Descrizione | Aiuta a ridurre al minimo le sostanze che causano reazioni allergiche. • Utilizzato per cotone, biancheria intima, federe, lenzuola, indumenti per neonati. | ||
| Babybekleidung(Vapore Baby Care) | 60 °C Carico massimo 4 kg | ||
| Descrizione Aiuta a lavare le macchie di cibo dai vestiti dei bambini. | |||
| Feinwäsche(Delicati) | 20 °C (Kalt(Freddo) a 40 °C) | Carico massimo 3 kg | |
| Descrizione Lava | lingerie, indumenti sottili e in pizzo lavabili in lavatrice. | ||

USO 33
| Schonend/Wolle(Lavaggio a mano/Lana) | 30 °C (Kalt(Freddo) a 40 °C) Carico massimo 2 kg | ||
| Descrizione Lava | vestiti delicati lavabili a mano e lavabili in lavatrice, come lana lavabile, lingerie, abiti ecc. • Usare un detergente per lana lavabile in lavatrice | ||
| Kurz 14(Rapido 14) | 20 °C (da 20 a 40 °C) | Carico massimo 2 kg | |
| Descrizione | Lava velocemente piccole quantità di indumenti leggermente sporchi per circa 14 minuti. | ||
| Nur Trocknen(Asciugatura) - No. | Veminale (Asciugatura) | |
| Descrizione Utilità per programmi automatici per asciugare la maggior parte dei carichi. · Per una migliorare asciugatura, accertarsi che tutti i capi siano simili per materiale e spessore. | ||
| Waschen+Trocknen(Lava+Asciuga) | 40 °C (Kalt(Freddo) a 95 °C) Nominale (Asciugatura) | ||
| Descrizione Lava e asciuga i vestiti nelle stesso programma. | |||
| Trommelreinigung(Pulizia Vasca) | - | - | |
| Descrizione | Questa funzione aiuta a pulire l'internalo del cestello dell'apparecchio | ||
| Download/Neu(Download Programmi) | - | - | |
| Descrizione Il programma permette di scaricare con uno smartphone un nuovo e speciale programmà di lavaggio per il tuo elettrodomestico. Il programma predefinito è Spülen+Schleudern(Risciacquo+Centrifuga). | |||
NOTA
- Selezionare la temperatura dell'acqua appropriata per il programma di lavaggio scelto. Seguire sempre l'etichetta o le istruzioni per la cura del produttore del capo durante il lavaggio per evitare danni ai vestiti.
- Selezionare la temperatura di lavaggio e la velocità di centrifuga adeguati per i programmi desiderati.
- La temperatura effettiva dell'acqua può differire nella temperatura dichiarata del ciclo.
- Si raccomanda un detersivo neutro.

34 USO
Opzioni aggintive
*1 Questa opzione è inclusa automaticamente nel programma e non più essere deselezionata.
NOTA
Le opzionZeitverzogerung(Timer) e Wäsche nachlagen(Aggiungi capo) possono essere selezionate per anni programma di lavaggio in questa tabella.
| Programma | Intensiv(Intensivo) | Vorwäsche(Prela vaggio) | Spüssen+(Risciacq uo+) | Trocknen(Asciug atura) |
| Koch-/Buntwäsche(Cotone) | ● | ● | ● | ● |
| Eco 40-60 | ● | ● | ● | ● |
| TurboWash 59 | ● | ● | ● | |
| Mix(Misti) | ● | ● | ● | ● |
| Pflegeleicht(Sint etici) | ● | ● | ● | ● |
| Allergy Care | ● | ● | ● | |
| Babybekleidung(Vapore Baby Care) | ● | ● | ● | |
| Feinwäsche(Deliciati) | ● | ● | ||
| Schonend/Wolle(Lavaggio a mano/Lana) | ● | ● | ||
| Kurz 14(Rapido 14) | ● | ● | ||
| Nur Trocknen(Asciug atura) | ●*1 | |||
| Waschen+Trocknen(Lava+Asciuga) | ● | ● | ● | ●*1 |
Velocità centrifuga massima selezionabile
| Programma | Velocità centrifuga | |
| Default Disponibile | ||
| Koch-/Buntwäsche(Cotone) | 1400 rpm Tutto | |
| Eco 40-60 | 1400 rpm Tutto | |
| TurboWash 59 | 1200 rpm 400 a 1400 rpm | |
| Mix(Misti) | 1000 rpm Tutto | |
| Pflegeleicht(Sintetici) | 1400 rpm Tutto | |
| Allergy Care | 1400 rpm Tutto | |
| Babybekleidung(Vapore Baby Care) | 1000 rpm Fino a 1000 rpm | |
| Feinwäsche(Delicati) | 800 rpm Fino a 800 rpm | |
| Schonend/Wolle(Lavaggio a mano/Lana) | 800 rpm Fino a 800 rpm | |
| Kurz 14(Rapido 14) | 400 rpm Tutto | |
| Nur Trocknen(Asciugatura) | - -/1000/1200/1400 rpm | |
| Waschen+Trocknen(Lava+Asciuga) | 1400 rpm 1000 a 1400 rpm | |
NOTA
- La velocità di centrifuga massima effettiva può variarare a seconda delle condizioni di carico. I valori sulla riportati sono arrotondati al centinaio più vicino.
Dati relativi al consumo
Descrizione dell'unità
kg: Carico di bucato
h:mm: Durata del programma
kWh: Consumo energetico
°C: Temperatura massa all'internalo dei tessuti trattati
Litri: Consumo di acqua
giri al minuto:: Velocità centrifuga massima
% : umidità residua al termine della fase di centrifuga. Maggiore è la velocità della centrifuga, maggiore è il rumore e minore l'umidità residua.
36 USO
Programmi comuni
| Programma | kg | h:mm | kWh | °C | Litri | giri al minuto | % |
| Koch-/Buntwäsche(Coton e) 20 °C | 9 1:51 | 0,177 31 55 | 0 1350 51,0 | ||||
| Koch-/Buntwäsche(Coton e) 60 °C | 9 3:21 | 1,362 51 57 | 0 1350 51,0 | ||||
| Eco 40-60 (Piano)*1 | 9 3:48 | 1,011 42 63 | 0 1360 50,0 | ||||
| Eco 40-60 (Metà)*1 | 4,5 2:50 | 0,500 33 48 | 0,1360 51,0 | ||||
| Eco 40-60 (Un quarto)*1 | 2,5 2:40 | 0,242 27 39 | 0,1360 54,0 | ||||
| Mix(Misti) | 4 1:21 | 0,458 35 54 | 0 1000 66,0 | ||||
| Kurz 14(Rapido 14) | 2 0:14 | 0,046 25 39 | 0 400 93,0 | ||||
| Eco 40-60 + Metà*2(Piano)*3 | 6 7:50 | 4,520 45 11 | 0,0 1360 - | ||||
| Eco 40-60 + Metà*2(Metà)*3 | 3 4:50 | 2,180 30 60 | 0 1360 - |
1 É possibile pulire il bucato di cotone normalmente sporco dichiarato lavabile a 40^ o 60^ , insieme dello stesso ciclo, e che questo programma può essere utilizzato per valutare la conformità alla legislazione UE sull'ecodesign (UE 2019/2023).
2 Opzione eco dry normale
*3 è possibile pulire il bucato di cotone normalmente sporco dichiarato lavabile a 40 °C o 60 °C, insieme dello stesso ciclo, e di asciugarlo in modo che possa essere immediatamente messo in un armadio, e che questo programma può essere utilizzato per valutare la conformità alla legislazione UE sull'ecodesign (UE 2019/2023).
NOTA
I ristutati del test dipendono alla pressione dell'acqua, alla durezza dell'acqua, alla temperatura dell'acqua in entrata, alla temperatura della stanza, dal tipo e alla quantità di carico, dal detersivo utilizzato in base al grado di sporco, delle variazioni della corrente elettrica e delle opzioni aggintive scelte.
I valori per i programmi comuni, con l'eccezione dei cicli Eco 40-60 e Eco 40-60 + , sono puramente indicativi.
- Regolamento EU 2019/2023, valido dal 1^ marzo 2021, è relativivo alle classi di efficienza energetica da Regolamento EU 2019/2014.
- Inquadrare il QR code sull'etichetta energetica fornita con l'elettrodomestico, che restituisce un collegamento web per le informazioni relative alle prestazioni dell'elettrodomestico nel database EU EPREL. Conservare l'etichetta energetica per riferimento insieme con il manuale del proprietario e tutti gli altri documenti forniti con l'elettrodomestico.
- Il nome del modello si può trovare sull'etichetta delle caratteristiche tecniche dell'elettrodomestico, après lo sportello che è vicino all'apertura del cestello.
- Per trovare le stesse informazioni in EPREL, visitare il site https://eprel.ec.europa.eu e fare una ricerca con il nome del modello. (Valido dal 1° novembre 2021)
38 USO
Programma di asciugatura
Consigli generali per l'asciugatura
Utilizzare i programmi automatici per asciugare la maggior parte dei carichi. I sensori elettronici misurano la temperature dello scarico per augmentare o diminuire le temperature di asciugatura, per accelerare il tempo di risposta e ottimizzare il controllo della temperature.
- Durante i cici di asciugatura, il rubinetto dell'acqua fredda deve rimanere aperto.
- É possibile selezionale confacilitye le operazioni automatiche dell'elettrodomestico, dal lavaggio all'asciugatura.
- Per una migliorie asciugatura, accertarsi che tutti i vestiti siano simili per materiale e spessore.
Non sovraccaricare I'elettrodomestico inserendo troppi indumenti nel cestello. Gli indumenti devono girare liberamente. - Se si après lo sportello e si rimuove il carico prima che I'elettrodomestico abbia completato il programma, ricordarsi di premere il pulsante Avvio/Pausa.
- Al termine dell'asciugatura, sul display appare End. Se i vestiti non vengono scaricati dal cestello per un dato periodo di tempo, sul display appare e l'elettrodomestico fa rotolare periodicamente i vestiti per circa 4 ore per ridurre le pieghe. Per interrompere esta funzione, premere un pulsante qualiasi e scaricare i vestiti dal cestello.
Capi di lana
Non far asciugare i capi di lana. Stenderli nella loro forma originaria e asciugarli in piano.
Materiali intrecciati o annodati
Alcuni capi lavorati a maglia potrebbero
restringersi a seconda della qualita.
Allungare quosti capi subito dopo l'asciugatura.
Antipiega e sintetici
Non sovraccaricare l'elettrodomestico. Per ridurre le pieghe, estrarre i capi in tessuto antipiega non appena l'elettrodomestico si ferma.
Capi per bambini e camicie da notte
Attenersi sempre alle istruzioni del produttore.
Coperte e piumoni
Controllare le etichette per la cura del tessuto su coperte e piumini prima di utilizzare il programma di asciugatura. Alcune coperte e piumoni sono restringersi a causa dell'aria calda.
Gomma e plastica
Non asciugare capi in gomma o plastica oppure capi contenti gomma o plastica, esempio:
Grembiuli, bavaglini, coprisedie
- Tende e tovaglie da ravolo
Tappetini da bagno
Vetroresina
Non asciugare capi in vetroresina nell'elettrodomestico. Le particelle di vetro che restano nell'elettrodomestico potrebbero rimanere impigliate nei capi e causare irritazioni cutanee.
NOTA
- Quando si spegne il ciclo di asciugatura dell'elettrodomestico, è possibile azionare la ventola di asciugatura per 60 secondi.
- Prestare attenzione quando si rimuovono i vestiti dall'elettrodomestico, perché i vestiti o l'elettrodomestico potrebbero essere molto caldi.
- Il tempo di asciugatura stimato è diverso da quello effettivo durante il ciclo automatico, in quanto dipende dal tipo di tessuto, dal carico e dal livello di asciugatura desiderato.
- Se si desidera solo l'asciugatura, la centrifugata gira automaticamente risparmiare energia.
Uso dei programmi di asciugatura
È possibile personalizzare quello programma utilizzato le funzioni di asciugatura riportate di seguito:
Normale (2)
Riduce i tempi di asciugatura e il consumo di energia elettrica durante il programma di asciugatura.
- Tipo di tessuto: tessuti in cotone o lino, come ad esempio asciugamani in cotone, t-shirt e indumenti in lino.
- Carico massimoValutazione
Tempo 30/60/120 minuti
Modificare la durata dell'asciugatura in base al carico massimo.
- Tipo di tessuto: cotone, asciugamani
- Carico massimo:1 kg (30 minuti), 2 kg (60 minuti), 4 kg (120 minuti)
Pronto Stiro (2)
Questa opzione è adatta alla stiratura di indumenti asciutti in modo semplice grazie alle condizioni leggera umidità.
- Tipo di tessuto: tessuti in cotone o lino pronti per la stiratura al termine del programma.
- Carico massimoValutazione
Bassa temperatura (
Questo opzione è adatta all'asciugatura a bassettemperature per ridurre eventuali danniagli indumenti.
- Tipo di tessuto: Per tessuti delicati
- Carico massimo3,5 kg
Normale Eco (
Adatto per il programma di asciugatura energetico.
- Tipo di tessuto: tessuti in cotone o lino, come ad esempio asciugamani in cotone, t-shirt e indumenti in lino.
- Carico massimoValutazione
NOTA
-
La capacité della macchina per il lavaggio dei capi è doppi rispetto a quella dell'asciugatura. Se è necessario utilizzato la macchina per l'asciugatura, il carico da sottoporre al lavaggio deve essere più piccolo per garantire un'asciugatura efficace. Se si esegue un lavaggio a piano carico, estrarre metà dei capi prima di avviare il programma di asciugatura.
-
Tutti i cicli di asciugatura hanno inizio con un breve ciclo di centrifuga per eliminare tutte l'umidità possibile dal carico prima dell'asciugatura.
Uso delle funzioni di lavaggio e asciugatura
1 Prepareari vestiti e caricare il cestello.
Per ottenere un'asciugatura uniforme, si consiglia di caricare tutti i capi simili per materiale e spessore.
- Non sovraccaricare il cestello. Si consiglia di dismantere uno spazio sufficiente per consentire un movimento dei capi alla problema.
2 Selezionare il pulsante Accensione.
3 Selezionare un programma di lavaggio.
4 Aggiungere il detersivo.
5 Selezionare il pulsante Trocknen(Asciugatura) ripeturamente per scorrere le diverse opzioni di selezione:
Normale -Per un'asciugatura generica
- Tempo 30/60/120 minuti - Per un'asciugatura temporizzata
- Pronto Stiro) - Per un'asciugatura leggermente umida dei capi da stirare
Bassa temperatura (R) - Per tessuti delicati
6 Selezionare il pulsante Avvio/Pausa.
Uso esclusivo delle funzioni di asciugatura
1 Preparare i vestiti e caricare il cestello.
- Per ottenere un'asciugatura uniforme, si consiglia di caricare tutti i capi simili per materiale e spessore.
- Non sovraccaricare il cestello. Si consiglia di dismantenero uno spazio sufficiente per
consentire un movimento dei capi sulla problemi.
2 Selezionare il pulsante Accensione.
Non selezionare i programmi di lavaggio e non aggungere detersivi.
3 Selezionare il pulsante Trocknen(Asciugatura) ripetutamente per scorrere le diverse opzioni di selezione:
Normale -Per un'asciugatura generica
- Tempo 30/60/120 minuti - Per un'asciugatura temporizzata
- Pronto Stiro (2) - Per un'asciugatura leggermente umida dei capi da stirare
Bassa temperatura (M) - Per tessuti delicati
- Normale Eco ( 50 ) - Per tessuti più pesanti
4 Selezionare il pulsante Avvio/Pausa.
NOTA
- Se si selezione il programma, non è possibile impostare solo un programma di asciugatura. In questo caso, selezionare due volte il pulsante Accensione per spegnere e riaccendere il ciclo della macchina.

Opzioni funzioni aggintive
É possibileutilizzareulterioriopzioni funzioni per personalizzareiprogrammi.
Personalizzazione di un programma di lavaggio
Ogni programma ha impostazioni predefinite che vengono selezionate automaticamente. Puoi sono personalizzare queste impostazioni usando quosti pulsanti.
Temp.
Questo pulsante selezione la temperatura di lavaggio per il programma selezionato.
- Premere ripeturamente il tasto Temp. finché non si accende l'impostazione desiderata.
- Selezionare la temperatura dell'acqua idonea al tipo di carico. Per ottenere risultati ottimali, atteneri alle istruzioni riportate sull'etichetta dell'indumento.
Schleudern(Centrifuga)
Il livello di intensità di centrifuga può essere selezionato premendo quello pulsante.
- Premere il tasto Schleudern(Centrifuga) per selezionare la velocità della centrifuga.
NOTA
- Se è selezionato @ (0) del livello della centrifuga, il cestello della lavatrice ruotera prima dello scarico.
Spulen+(Risciacquo+)
Questa funzione è consigliata per le persone con allergie ai detergenti.
- Premere il pulsante Spulen+ (Risciacquo+) per aggiungere il risciacquo una volta.
Intensiv(Intensivo)
Questa funzione viene utilizzata per lavare capi normali e molto sporchi.
- Selezionare il pulsante Intensiv(Intensivo).
Seguire i passaggi successivi per personalizzare un programma di lavaggio:
1 Prepare i vestiti e caricare il cestello.
2 Selezionare il pulsante Accensione.
3 Aggiungere il detersivo.
4 Selezionare un programma di lavaggio.
5 Personalizza il programma di lavaggio (Temp., Schleudern(Centrifuga), Spulen+(Risciacquo+e Intensiv(Intensivo)) secondo necessità.
6 Selezionare il pulsante Avvio/Pausa.
Uso esclusivo delle funzioni di centrifuga
1 Prepareare i vestiti e caricare il cestello.
2 Selezionare il pulsante Accensione.
Non selezionale i programmi di lavaggio e nonaggiungere detersivi.
3 Selezionare il pulsante Schleudern(Centrifuga).
4 Selezionare il pulsante Avvio/Pausa.
NOTA
- Se si selezione il programma di lavaggio, non è possibile impostare solo una centrifuga. In quello caso, selezionare due volte il pulsante Accensione per spagnere e riaccendere la macchina.
42 USO
Utilizzato delle opzioni di base
E possibile personalizzare i programmi grazie alle opzioni di base riportate di seguito:
Questa opzione è consigliata quando si lavano capi molto sporchi.
1 Selezionare il pulsante Accensione.
2 Selezionare un programma di lavaggio.
3 Tenere premuto il tasto Intensiv(Intensivo) per 3 secondi.
4 Selezionare il pulsante Avvio/Pausa.
Wäsche nachlegen(Aggiungi capo)
E possibile utilizzare questa opzione per aggiuungere o rimuovere i vestiti dopo che viene avviato il programma di lavaggio.
1 Selezionare il pulsante Accensione.
2 Selezionare un programma di lavaggio.
3 Selezionare il pulsante Avvio/Pausa.
4 Selezionare il pulsante Wäsche nachlegen(Aggiungi capo) a seconda delle necessità.
5 Apriere la porta dopo averlo sbloccato e aggiungere o rimuovere gli articol di abbigliamento necessari.
6 Chiudere lo sportello e premere il tasto Avvio/ Pausa.
NOTA
Per ragioni di sicurezza,lo sportello rimane bloccato quando il livello dell'acqua o la temperatura dentro il cestello è elevata.In questo periodo,non è possibile aggiungere vestiti.
Épossibleimpostarequestafunzioneinmodeche I'elettrodomestico siiavviautOMATICamentee si arrestiuponundeterminatoinervaldotempo.
1 Selezionare il pulsante Accensione.
2 Selezionare un programma di lavaggio.
3 Selezionare il pulsante Zeitverzogerung(Timer)a seconda delle necessita.
4 Selezionare il pulsante Avvio/Pausa.
NOTA
- Ad eccezione del LED del pulsante Zeitverzogerung(Timer), tutti i LEDs del pannello di controllo si spegneranno entro 20 minuti. Questa caratteristica può variare in base al modello acquistato.
- Il ritardo è il tempo fino alla fine del programma, non quello di avvio. Il tempo di esecuzione effettivo varia in base alla temperatura dell'acqua, dei vestiti e di altri fattori.
- Per cancellare la funzione, premere il tasto Accensione.
- Con esta funzione, evitare l'uso di detersivo.
Uso dell'ezDispense
Utilizzare i tasti Erogatore 1 e Erogatore 2 per impostare e controllare la funzione ezDispense.

Pulsante Erogatore 1
Pulsante Erogatore 2
3 Indicatore di pulsanti
4 Indicatore di detersivo liquido
Indicatore di collegamento (utilizzando solo detersivo liquido in entrambi i scomparti)
6 Indicatore di pulsanti
7 Indicatore di ammorbidente liquido
NOTA
L'indicatore del detersivo o dell'ammorbidente cui si sono l'amicmati, e la signale acustico cui si sono il signato. I am not a good candidate for the programmi di lavaggio;
- Se l'indicatore del detersivo liquido 4e l'indicatore dei pulsanti 5, 6 lampeggiano e sua ona il segnale acustico, versare il detersivo nelle scomparto, fino alla linea MAX.
- Se la spia dell'ammorbidente liquido e il pulsante indicatore lampeggiano e sua ona il segnale acustico, versare l'ammorbidente dello scomparto, sono alla linea MAX.
Le impostazioni predefinite sono configurate per erogare il detersivo del Erogatore 1 e l'ammorbidente del Erogatore 2.
Modifica del livello di erogazione per un singolo carico
1 Selezionare il pulsante Accensione.
2 Ruotare la manopola per selezionare il ciclo desiderato.
3 Premere il pulsante Erogatore 1 o Erogatore 2 per augmentare o diminuire la quantità erogata rispetto alle impostazioni predefinite.
| Indicatore di pulsanti | Quantità erogata*1 |
| Più (110%) | |
| Normale (100%) | |
| Meno (90%) | |
| Off (0%) |
*1 Le impostazioni predefinite sono configurate per erogare 42 ml di detersivo e 30 ml di ammorbidente per 4-6 kg di biancheria normalmente sporca.
4 Selezionare il pulsante Avvio/Pausa.
NOTA
- Utilizzare le raccomandazioni del produttore sulla confezione del detersivo o dell'ammorbidente per impostare le quantità di ezDispense per un carico standard di 4-6 kg.
44 USO
NOTA
- La maggior parte dei cicci utilizzera automaticamente le quantità predefinite impostate, indicate alla luce LED Normale sui tasti sui tasti Erogatore 1 e Erogatore 2.
I ciclFeinwäsche(Delicati) e Trommelreinigung(Pulizia Vasca) disattivano la funzione ezDispense per impostazione predefinita.
Modifica delle quantità erogate predefinita
Le impostazioni predefinite sono configurate per erogare 42 ml di detersivo e 30 ml di ammorbidente per 4-6 kg di biancheria normalmente sporca.
Dosare il detersivo attenendosi alle istruzioni del produttore e scegliro in base al tipo, al colore, al livello di sporcizia del tessuto e alla temperatura di lavaggio.
1 Selezionare il pulsante Accensione.
2 Modifica delle quantità erogate predefinite.
- Erogatore 1: Premere il pulsante Erogatore 1 per 3 secondi.
- Erogatore 2: Premere il pulsante Erogatore 2 per 3 secondi.
3 Ruotare la manopola per aumento o diminuire la quantità di detersivo o immorbidente. La quantità viene visualizzata sul display.
Le quantità predefinite possono essere增值ate o diminuite con incrementi di 1 ml, in un intervallo compreso tra 9 ml e 150 ml. La quantità erogata può variarereleggermente a seconda del modello.
4 Salvare le modifiche predefinite.
- Erogatore 1: Premere il pulsante Erogatore 1 per 3 secondi.
- Erogatore 2: Premere il pulsante Erogatore 2 per 3 secondi.
Utilizzato di entrambi gli erogatori per detersivi liquidi

NOTA
- Se si impostano entrambi i erogatori per detersivi liquidi, non è possible utilizzato l'erogatore per l'ammorbidente liquidi per l'ammorbidente liquido.
-
Se si vuole utilizzato un ammorbidente liquido:
-
Al terme del programma, selezionare Spulen+Schleudern(Risciacquo+Centrifuga) (Programma predefinito del ciclo di download) e aggiungere l'ammorbidente direttamente nel cestello o nel vano del detersivo per il lavaggio principale manuale.
- Se hai scaricato un ciclo di download, Spulen+Schleudern(Risciacquo+Centrifuga) non è disponibile.
Impostazione del Erogatore 2 per lo stesso erogatore di detersivi liquidi
1 Selezionare il pulsante Accensione.
2 Premere il pulsante Erogatore 1 ed Erogatore 2 contemporaneamente per 3 secondi.
3 Premere il tasto Erogatore 1 per accendere l'indicatore di collegamento 2.
L'indicatore di un detersivo liquido è sempre acceso.
- Quando I'indicatore del collegamento 2 è selezionato, il tasting Erogatore 2 non vuo essere azionato.
4 Premere i pulsanti Erogatore 1 ed Erogatore 2 contemporaneamente per 3 secondi per salvare le modifiche.
Impostazione del Erogatore 2 per erogatori di detersivi liquidi diversi
1 Selezionare il pulsante Accensione.
2 Premere il pulsante Erogatore 1 ed Erogatore 2 contemporaneamente per 3 secondi.
3 Premere il pulsante Erogatore 2 per accendere l'indicatore del detersivo liquido ③.
4 Premere i pulsanti Erogatore 1 ed Erogatore 2 contemporaneamente per 3 secondi per salvare le modifiche.
Pulizia del sistema di pompaggio ezDispense
Utilizzato questa funzione per cancellare il tipo di detersivo o di ammorbidente. Questa funzione pulisce i residui di detersivo o ammorbidente nel tubo collegato all'ezDispense (quando si cambia il tipo di detersivo o ammorbidente).

NOTA
- Eseguire esta funzione almeno una volta al mese per rimuovere l'accumulo di detersivo o altri residui.
- Se non si pulisce lo scomparto ezDispense, il detersivo o l'ammorbidente rimarrà nel tubo collegato.
L'uso di esta funzione cui cause un po di schiuma nel cestello.
1 Lavare lo scomparto ezDispenseche deveseissere pulito.Per ulteriori dettagli, consultare
Pulizia periodica dell'elettrodomestico nel capitolo MANUTENZIONE.
2 Riempire l'acqua nello scomparto da pulire fino alla linea MAX.
3 Selezionare il pulsante Accensione.
4 Premere il pulsante Schleudern(Centrifuga) per 3 secondi per pulire il tubo collegato. Quando l'opzione è selezionata,dlL appeare sul display.
5 Premere il pulsante Erogatore 1 o Erogatore 2 per selezionare lo scomparto da pulire.
- Entrambi gli scomparti possono essere puliti contemporaneamente.
6 Premere il pulsante Avvio/Pausa. Termina\ questa funzione entro 16 minuti.
Impostazioni
Kindersicherung(Sicurezza Bambini)
Utilizzare questa opzione per disabilitare i comandi. Questa funzione impedisce ai bambini di modificare i cicli o di azionare l'elettrodomestico.
NOTA
- Una volta impostata la funzione, tutti i pulsanti sono bloccati tranne il pulsante Accensione.
- Quando i comandi sono bloccati, durante il lavaggio il display在哪stra alternatamente [L e il tempo rimanente nelle questa funzione è attiva.
- Quando si spegne l'elettrodomestico, esta funzione non viene azzerata. Prima di accedere ad altri funzioni, è necessario disattivare esta funzione.
Blocco del pannello di controllo
1 Accenderere l'elettrodomestico.

46 USO
2 Per attivare esta funzione, tenere premuti per 3 secondi allo stesso tempo i tasti Zeitverzogerung(Timer) e Wäsche nachlegen(Aggiungi capo).
- Viene emesso un segnale acustico e sul display apparare L.
Sblocco del pannello di controllo
1 Accendere I'elettrodomestico.
2 Per disattivare esta funzione, tenere premuti per 3 secondi allo stesso tempo i tasti Zeitverzogerung(Timer) e Wäschenachlagen(Aggiungi capo).
Questo elettrodomestico riproduce una melodia all'avvio e all'arresto.
- Per disattivare/attivare questa funzione, tenere premuti contemporaneamente per 3 secondi tasti Spulen+(Risciacquo+) e Trocknen(Asciugatura).

FUNZIONI SMART
Applicazione LG ThinQ
L'applicazione LG ThinQ permette di comuncare con l'elettrodomestico tramite uno smartphone.
Caratteristiche dell'applicazione LG ThinQ
Épossiblecomunicarecon l'elettrodomestico da uno smartphoneusandolecomodefunzionismart.
Fernstart(Avvio a Distanza)
Consente di controllare l'elettrodomestico in remoto dall'applicazione LG ThinQ.
Download/Neu(Download Programmi)
É possibile scaricare nuovi e speciali cici non inclusi nei cici di base del dispositivo.
E possibile scaricare una varietà di ciclo speciali specifici per l'elettrodomestico negli elettrodomestici registrati correttamente.
Una volta che lo scaricamento del ciclo è completato nel disposietivo, l'elettrodomestico mantiene il ciclo scaricato fino a quando non ne viene scaricato uno nuovo.
NOTA
- É possible archiviare un solo ciclo scaricato per volta sull'elettrodomestico.
Istruzioni Pulizia Cestello
Questa funzione molto quanti cili restano prima di dover avviare la funzione
Trommelreinigung(Pulizia Vasca).
Monitoraggio energia
Questa funzione controlling il consumo di energia dei cici utilizzati recentamente e la media mensile.
Smart Diagnosis
Questa funzione fornisce informazioni utili per la diagnosi e la risoluzione dei problemi in base al modello di utilizzo.
Impostazioni
Consente di impostare varie opzioni sull'elettrodomestico e nell'applicazione.
Avvisi Push
Quando il ciclo è completato o l'elettrodomestico ha problemi, c'é la possibilità di ricevere notifiche push sullo smartphone. Le notifiche sono attivate although se l'applicazione LG ThinQ è spenta.
NOTA
- Se si cambia il router wireless, il fornitore di servizi internet o la password, eliminare l'elettrodomestico registrato dall'applicazione LG ThinQ e registrarlo nuovamente.
L'applicazione è soggetta a modifiche alla preavviso, a scopo di miglioramento del prodotto. - Le caratteristica posso n o variare in base al modello.
Installazione dell'App LG ThinQ e collegamento di un appearecchio LG
Modelli con codice QR
Eseguire la scansione del codice QR allegato al prodotto utilizzando la fotocamera o un'app dilettura dei codici QR sul proprio smartphone.

48 FUNZIONI SMART
Modellienza codice QR
1 Cercare e installare l'app LG ThinQ da Google Play Store o Apple App Store su uno smartphone.
2 Eseguire l'app LG ThinQ e accedere con I'account existente o create un account LG per accederere.
3 Toccare il pulsante Aggiungi (+) sull'app LG ThinQ per collegare l'apparecchio LG. Seguire le istruzioni dell'app per completare la procedura.
NOTA
- Per verificare il collegamento Wi-Fi, controllare che l'indicatore Wi-Fi sul pannello di controllo sua accesso.
LG ThinQ non è responsable di eventuali problemi relativi alla connessione di rete né di guasti, malfunzionamenti o errori causati alla connessione di rete. - L'ambiente wireless circostante potrebbe causare rallentamenti nel servizio di rete wireless.
- Se la distanza tra l'apparecchio e il router fosse eccessiva, il segnale diventa debole. La connessione potrebbe richiedere molto tempo o non riuscire a installare l'applicazione.
- In caso di problemi di connessione dell'elettrodomestico alla rete Wi-Fi, è possible che l'elettrodomestico sia troppo distante dal router. Acquistare un ripetitore Wi-Fi (range extender) per augmentare l'intensità del segnale Wi-Fi.
- La connessione di rete potrebbe non funzionare correttamente a seconda del fornitore del servizio Internet.
- La connessione Wi-Fi potrebbe non avenire o potrebbe interrompersi a causa dell'ambiente della rete domestica.
- Se non è possibile collegare l'apparecchio a causa di problemi di trasmissione del segnale wireless, disconnettere l'apparecchio e aspettare per circa un minuto prima di provare nuovamente.
Se il firewall sul router wireless è Attivo, disattivarlo o aggiungere una eccezione.
- Il nome della rete wireless (SSID) dovrebbe essere una combinazione di lettere inglesi e numeroi. (Non utilizzato caratteri speciali)
- L'interfaccia utente smartphone (IU) può variarare a seconda del systemapotervivo mobile (OS)e del produttore.
- Se il protocollo di sicurezza del router è impostato su WEP, la configurazione della rete potrebbe non riuscire. Cambiare il protocollo di sicurezza (si consiglia WPA2) e collegare nuovamente il prodotto.
Attivazione la connessione di rete
1 Eseguire I'applicazioneLG ThinQ.
2 Selezionare e toccare Lavatrice a carica frontale sull'applicazione.
3 Premere il tasto Accensione sul pannello di controllo.
4 Tenere premuto il tasto WLAN(Wi-Fi) per 3 secondi sul pannello di controllo.
- Il LED del Wi-Fi lampeggia durante il processo di connessione.
Utilizzato dell'elettrodomestico in remoto
Fernstart(Avvio a Distanza)
Utilizzare uno smartphone per controllare l'elettrodomestico in remoto. É possibleanche monitorare il programma per sapere quanto tempo è necessario per completarlo.
Utilizzo di但这a funzione
1 Introdurre i vestiti nel cestello.
- Se necessario,aggiungere candeggina o ammorbidente nelle aree appropriate del cassetto erogatore.
2 Selezionare il pulsante Accensione.
3 Tenere premuto il pulsante Fernstart(Avvio a Distanza) per 3 secondi per abilitare la funzione controlo remoto.
4 Avariare un ciclo dall'applicazione LG ThinQ sullo smartphone.
NOTA
- Una volta attivata questa funzione, è possibile avviare un ciclo dall'applicazione per smartphone LG ThinQ. Se il ciclo non viene avviato, l'elettrodomestico aspetterà ad avviare il ciclo fino a quando non sare disattivato in remoto dall'applicazione o fino a quando esta funzione non verrà disattivata.
- Se viene aperto lo sportello, non è possible avviare un ciclo in remoto.
Disattivare esta funzione manualmente
Quando si attiva esta funzione, tenere premuto il pulsante Fernstart(Avvio a Distanza) per 3 secondi.
Disattivare la connessione di rete
Disconnettere la rete Wi-Fi domestica sullo smartphone.
1 Eseguire l'applicazione LG ThinQ.
2 Selezionare e toccare Lavatrice a carica frontale sull'applicazione.
3 Selezionare e toccare Cancellare prodotto sul menu impostazioni per disconnetterla.
Consumo energetico standby
| Consumo energetico standby | 0,5 W |
| Consumo energetico standby rete | 2,0 W |
| Il lasso di tempo al termine del quale la funzione di gestione dell'energia, o una funzione analoga, imposta automaticamente l'apparecchio in modalità standby e/o spento e/o in condizione di standby rete | 20 minuti |
NOTA
L'attivazione della connessione di rete cui augmentare il consumo energetico dell'elettrodomestico.
Informazioni avviso software Open Source
Per ottener il codice sorgente sotto GPL, LGPL, MPL e altre licenze open source che prevedono l'obbligo di divulgare il codice sorgente, contentuto in quello prodotto, e per accederate a tutti i termini di licenza citati, alle note sul copyright e ad altri documenti pertinenti, visitare https:// opensource.lge.com.
LG Electronics forriràanche il codice open source su CD-ROM su richiesta tramite e-mail all'indirizzo opensource@lge.com addebitando il costo delle spese di distribuzione (ad esempio il costo di supporti, spedizione e gestione).
Questa offerta è valida per chiunque riceva queste informazioni per un periodo di tre anni alla nostra ultima spedizione di quello prodotto.
Smart Diagnosis
Utilizzare esta caratteristica aiuterà a diagnosticare e risolverve problemi con l'elettrodomestico.
NOTA
Per motivi non imputabili a negligenza da parte di LGE, il servizio potrebbe non funzionare per
50 FUNZIONI SMART
via di fattori esterni quali, ma non solo, Wi-Fi non disponibile, Wi-Fi non connessa, politica dell'app store locale o app non disponibile.
- La caratteristica potrebbe essere soggetta a cambiamenti nella preavviso e potrebbe ave una forma diversa in base alla posizione dell'utente.
Utilizzare LG ThinQ per diagnosticare problemi
Se si riscontra un problema con l'elettrodomestico dotato di Wi-Fi, è possible trasmettere ad uno smartphone i dati per la risoluzione del problema utilizzato l'applicazione LG ThinQ.
-
Lanciare l'applicazioni LG ThinQ e selezionate la caratteristica Smart Diagnosis nel menu. Seguire le istruzioni fornite nell'applicazione LG ThinQ.
-
Mantenere lo smartphone in posizione forn al termine deltrasferimento dati. Viene visualizzato il tempo di trasferimento dei dati rimanente.
4 Quando il trasferimento dei dati è stato completato, la diagnosi verrà visualizzata nelle'applicazione.
NOTA
- Per risultati ottimali, non spostare lo smartphone durante la trasmissione dei toni.

Utilizzare Audible Diagnosis per diagnosticare problemi
Seguire le istruzioni di seguito per usare il metododi diagnosi sonoro.
- Lanciare l'applicazione LG ThinQ e selezionate la caratteristica Smart Diagnosis nel menu. Seguire le istruzioni per audible diagnosis fornite nell'applicazione LG ThinQ.
1 Premere il tasto Accensione per accendere I'lettrodomestico.
Non premere nessun alto tasto.
2 Accostare il microfono dello smartphone al tasto Accensione.

3 Tenere premuto il pulsante Temp. per 3 o più secondi nelle si tiene il microfono dello smartphone sul tasting Accensione fino al completamento deltrasferimento dati.
MANUTENZIONE
AVERTENZA
- Per evitare il rischio di scosse elettriche, scollegare l'elettrodomestico prima di pulirlo. La mancata osservanza di但这a avventenza può provocare lesioni personali gravi, incendi, scosse elettriche o lesionianche fatali.
- Per pulire l'elettrodomestico non utilizzato sostanze chimiche, detergenti abrasivi o solventi, in quanto potrebbero danneggiare le finiture.
Pulire dopo agli lavaggio
Cosa pulire
Rimuovere sempre i capi alla lavatrice appena termina il ciclo. Se i capi umidi vengono lasciati all'interno della lavatrice, si producono pieghe,trasferimento di colore e cattivi odori.
- Al termine del ciclo di lavaggio, pulire lo sportello e la guarnizione per rimuovere eventuale umidità.
- Lasciare lo sportello leggermente aperto per far asciugare il cestello.
- Pulire I'elettrodomestico con un panno asciutto per rimuovere l'umidità.

AVERTENZA
- Lasciare aperto lo sportello per asciugare l'interno dell'elettrodomestico solo se i bambini in casa sono sotto sorveglianza.
Pulizia delle parti esterne
Un'adeguata cura dell'elettrodomestico cui prolongarne il ciclo di vita.
Esterno
- Asciugare immediatamente eventuali schizzi.
- Pulire con un panno umido, quando passare un panno asciutto assicurandosi che non ci sia umidità nei giunti o nelle fenditure del mobiletto.
Non premere sulla superficie o sul display con oggetti appuntiti.
Sportello
- Lavare con un panno umido l'esterno e l'interno,\ quindi asciugare con un panno morbido.
AVVERTENZA
Non togliere i pannelli e non smontare l'elettrodomestico. Non applicare oggetti taglienti al pannello di controllo per azionare l'elettrodomestico.
Pulire l'elettrodomestico periodicamente
Pulizia Vasca
Questo è un programma che aiuita a pulire l'internale dell'elettrodomestico immergendo, lavando, risciacquando e concentrificando.
52 MANUTENZIONE
Eseguire esta funzione una volta al mese (o più spesso se necessario) per rimuovere accumuli di detersivo e ammonbidente e altri residui.
- In caso di cattivo odore o muffa all'interno dell'elettrodomestico, esquire questa funzione una volta alla settimana per 3 settimaneoltreagli intervalli regolarmente richiesti.
NOTA
- Il messaggio cL verrà visualizzato per avvisare della raccomandazione di utilizzare但这a funzione.
1 Rimuovere indumento altri oggetti dall'elettrodomestico e chiudere lo sportello.
2 Apriere il cassetto erogatore eaggiungere anticalcare in polvere nel vano di lavaggio principale.
- Le pastiglie possono essere posizionate direttamente nel cestello in alternatively alla polvere.
3 Chiudere lentamente il cassetto erogatore.
4 Accendere I'elettrodomestico, quindi selezionare il Trommelreinigung(Pulizia Vasca).
5 Premere il tasto Avvio/Pausa per avviare.
6 Lasciare aperto la porta aperta per asciugare completeness l'internodelle elettrodomestico.
- Quando l'interno dell'elettrodomestico non viene completamente asciugato, cui causare un cattivo odore o muffa.
AVVERTENZA
- Lasciare aperto lo sportello per asciugare l'interno dell'elettrodomestico solo se i bambini in casa sono molto sorveglianza.
Pulizia del filtro di mandata dell'acqua
Il filtr di mandata dell'acqua raccoglie calcare o qualsi sedimento che puo essere presente nell'acqua alimentata nell'elettrodomestico. Pulire il filtr di mandata agli sei mesi, o più spesso se l'acqua è molto dura o contiene traccé di calcare.
- Chiudere i rubinetti di mandata dell'acqua se l'elettrodomestico deve essere lasciato inutilizzato per un dato periodo di tempo (ad es. quando si va in vacanza), soprattutto in assenza di scarichi a pavimento (pozzetti) nelle immediate vicinanze.
- Il messaggio è viene visualizzato sul pannello di controllo quando l'acqua non entra nel cassetto del detersivo.
1 Chiudere l'alimentazione e il rubinetto dell'acqua e svitare il tubo di mandata dell'acqua.

2 Rimuovere il filtro di mandata dell'acqua con una piccola pinza e quindi pulire il filtrto con uno spazzolino da denti a setole medie.

Pulizia del filtro della pompa di scarico ed esecuzione di un'evacuazione dell'acqua di emergenza
Il filtrò di scarico raccoglie lanugine e piccoli oggetti che potrebbero essere stati accidentalmente lasciati nei vestiti. Accertarsi che il filtrò sa pulito agli sei mesi per assicurare il corretto funzionamento dell'elettrodomestico.
Consentire il raffreddamento dell'acqua prima di pulire il filtrlo della pompa di scarico. Apriere lo sportello in caso di emergenza o eseguire un'evacuatione dell'acqua di emergenza.
1 Scollegare I'elettrodomestico.
2 Aprire il coperchio ed estrarre il tubo di scarico.

3 Rimuovere prima il tappo di scarico dal tubo di scarico 1, quindi scaricare l'acqua. Quindi svitare lentamente il filtrlo della pompa di scarico 2 per scaricare l'acqua rimanente e quando procedere alla rimozione di residui o oggetti dal filtrto.

4 Dop aver pulito il filtrlo della pompa di scarico, reinserire con cura il filtrto e riavvitare il tappo di scarico in senso orario per evitare inflature incrociate e perdite. Reinserire il tappo nel tubo di scarico e posizionarlo nel relativo supporto.
5 Chiudere il coperchio.
ATTENZIONE
- Scaricare l'accu con molta attenzione perché potrebbe essere bollente.
- Eseguire il programma di pulizia del cestello almeno una volta al mese per rimuovere detersivo inccesso ealtri residui.
Pulizia del cassetto ezDispense
Pulire gli scomparti ezDispense agli voltae si ricarica il detersivo/ammorbidente o si passa a un nuovo tipo di detersivo/ammorbidente.
Rimuovere e pulire il cassetto erogatore del detersivo una o due volte al mese. Lasciare il detersivo nel cassetto erogatore del detersivo per un periodo prolongato o utilizzato la lavatrice per un lungo periodo di tempo cui potà causare l'accumulo di residui nel cassetto erogatore del detersivo.
AVVERTENZA
Non spruzzare acqua all'interno della lavatrice. Ciò potrebbe causare incendi o scosse elettriche.
1 Spagnere la lavatrice e staccare il cavo di alimentazione.
2 Estrarre il cassetto dell'erogatore detersivo finché non si ferma.
54 MANUTENZIONE
3 Premere il pulsante di disinnesto 1 per rimuovere completeness il cassetto.

- Non usare sapone per pulire il cassetto e gli inserti.

4 Apriere icoperchi.

8 Chiudere saldamente i coperchi degli scomparti ezDispense.

5 Pulire gli inserti con acqua calda.
- Sciacquare il cassetto in acqua calda per sciogliere i residui di detersivo o la scaglia dell'amorbidente.
- Utilizzare un panno morbido o una spazzola per rimuovere eventuali residui.
Non usare sapone per pulire il cassetto e gli inserti.
9 Pulire l'umidità con un asciugamano o un panno asciutto dopo la pulizia.
6 Se il detersivo o l'ammorbidente è indurito all'interno dei vani ezDispense rimuovere i coperchi dal cassetto.

10 Reinserire il cassetto erogatore del detersivo.

7 Pulire l'interno dei vani con acqua tiepida.
- Utilizzare un panno morbido o una spazzola per pulire e rimuovere eventuali residui.
RISOLUZIONE DEI PROBLEMI
L'uso dell'elettrodomestico più portare a erre i malfunzionamenti. Le seguenti tabelle contengono possibili cause e note per risolverve messaggi di erre o malfunzionamenti. Si raccomanda di leggere attendamente la tabella di seguito per risparmiare tempo e denaro che sarebbero necessari nel caso si dovesse chiamare il centro assistenza LG Electronics.
Prima di chiamare l'assistenza
L'elettrodomestico è dotato di un sistema di monitoraggio automatico degli errorsi per il rilevamento e la diagnosi di problemi in fase iniziale. Se l'elettrodomestico non funziona correttamente o non funziona affatto, prima di chiamare l'assistenza verificare le tabelle seguenti.
Messaggi di erre
| Sintomi Causa & | Soluzione |
| IE ERRORE DI MANDATA | L'alimentazione d'acqua non è adeguata in quella posizione. L'acqua non entra o entra lentamente nell'elettrodomestico. ·Provare un altre rubinetto. |
| Il rubinetto dell'alimentazione d'acqua non è completamente aperto. L'acqua non entra o entra lentamente nell'elettrodomestico. ·Aprire il rubinetto completeness. | |
| I tubi di mandata dell'acqua sono piegati. ·Stringere il tubo o reinstallare il tubo di mandata dell'acqua. | |
| I filtri dei tubi di mandata sono intasati. ·Controllare e pulire il filtrlo della valvola di ingressso dopo aver chiuso i rubinetti e rimosso i collegamenti dei tubi flessibili alla lavatrice. | |
| Se si è verificata una perdita d'acqua nel tubo di mandata Aqua Stop, la spia diventa rossa. ·Sostituirlo con un nuovo tubo di mandata aqua stop. | |
| UE ERRORE DI BILANCIAMENTO | L'elettrodomestico ha unsystema che individua e corregge lo sbilanciamento dell'elettrodomestico. ·Se i vestiti sono troppo umidi alla fine del ciclo, risistemare il carico per consentire una centrifuga adeguata. Chiudere lo sportello e premere il tasto Avvio/Pausa. Potrebbe volerci un po' di tempo prima che l'elettrodomestico inizi la centrifuga. Lo sportello deve essere chiuso prima che inizi la centrifuga. |
56 RISOLUZIONE DEI PROBLEMI
| Sintomi Causa & | Soluzione |
| UE ERRORE DI BILANCIAMENTO | Il carico è troppo piccolo. Ilsystema potrebberfamare la centrifuga o persino interromperecompletamente il ciclo dicentrifuga se vengono caricati singoli capi pesanti (es. tappetino da bagno, accappatoio, ecc.).·Aggiungere 1 o 2 capi simili o più piccoli per aiutare a bilanciare il carico. Chiudere lo sportello e premere l tasting Avvio/Pausa. Potrebbe volerci un po'di tempo prima che l'elettrodomestico inizi la centrifuga. Lo sportello deve essere chiuso prima che inizi la centrifuga. |
| DE ERRORE DI USCITA DELL'ACQUA | Il tubo di scarico è piegato o intasato. L'acqua dell'elettrodomestico non viene scaricata o viene scaricata lentamente. ·Pulire e raddrizzare il tubo di scarico. |
| Il filtrodi scarico è intasato. ·Verificare e pulire il filtrodi di scarico. | |
| dE dE I dE2 dE4 ERRORE SPORTELLO | Malfunzionamenti del sensore dello sportello. ·Chiamare il centro assistenza LG. Per il numero di Telefono del centro assistenza LG, videere il certificato di garanzia. |
| E E ERRORE DI CONTROLLO | Si tratta di un erreore di controllo. ·Scollegare la spina elettrica e chiamare l'assistenza. |
| LE ERRORE BLOCCOMOTORE | Sovraccarico del motore. ·Attendere 30 minuti fino a quando il motore non si è raffreddato, quindi riaviate il ciclo. |
| FE ERRORE DI TRABOCAMENTO | Caricamento d'accqua eccessivo dovuto a causa di una possibile valvola dell'accqua difettosa. ·Chiudere il rubinetto dell'accqua. Scollegare la spina di alimentazione. Chiamare l'assistenza. |
| PE ERRORE DEL SENSORE DI PRESSIONE | Malfunzionamenti del sensore di livello dell'accqua. ·Chiudere il rubinetto dell'accqua. Scollegare la spina di alimentazione. Chiamare l'assistenza. |
| US ERRORE DEL SENSORE DELLE VIBRAZIONI | Malfunzionamenti del sensore delle vibrazioni. ·Chiamare l'assistenza. |
| FF ERRORE DI CONGELAMENTO | La pompa del tubo di mandata o di scarico è congelata? ·Inserire acqua calda nel cestello per scongelare il tubo di scarico e la pompa di scarico. Coprire il tubo di mandata con un ascugamano umido e caldo. |
| RE PERDITE D'ACQUA | Perdite d'accua. ·Chiamare l'assistenza. |
| PF ERRORE DI ALIMENTAZIONE | Un erreore di alimentazione o un servizio elettrico inadequato possono essersi verificati durante il funzionamento. ·Premere il tasting Avvio/Pausa per riaviate il ciclo. |
| dHE | Solo le funzioni di asciugatura non funzionano. |
| ERRORE DI ASCIUGATURA | • Chiamare l'assistenza. |
Messaggi di erre ezDispense
| Sintomi Causa & | Soluzione |
| EdI ERROR 1 ezDispense | La quantità di detersivo liquido nell'ecomparto del detersivo non è diminuita. Dopo averMESSo il detersivo nell'ecomparto del detersivo, è stato lasciato per lungo tempo e il detersivo si è indurito. •Pulire accuratamente lo scomparto del detersivo, riempirlo con detersivo liquido, installarlo nel cassetto ed eseguire un ciclo di lavaggio. Se viene visualizzato continuamente Ed i chiamare l'assistenza. |
| Ed2 ERROR 2 ezDispense | La quantità di detersivo liquido nell'ecomparto del detersivo non è diminuita. •Chiamare l'assistenza. |
| Ed3 ERROR 3 ezDispense | La quantità di immorbidente nell'ecomparto dell'ammorbidente liquido o del detersivo liquido non è diminuita. Dopo averMESSo l'ammorbidente nell'ecomparto dell'ammorbidente liquido o del detersivo liquido, l'ammorbidente è stato lasciato per lungo tempo e l'ammorbidente si è indurito. •Pulire accuratamente lo scomparto dell'ammorbidente liquido o del detersivo liquido, riempirlo con l'ammorbidente liquido, installarlo nel cassetto ed eseguire un ciclo di lavaggio. Se Ed3viene visualizzato continuamente, chiaremé l'assistenza. |
| Ed4 ERROR 4 ezDispense | La quantità di immorbidente liquido per tessuti nell'ecomparto dell'ammorbidente liquido o del detersivo liquido non è diminuita. •Chiamare l'assistenza. |
| Ed5 ERROR 5 ezDispense | La quantità di detersivo liquido o immorbidente nell'ecomparto dell'ammorbidente liquido o del detersivo liquido non è diminuita. •Chiamare l'assistenza. |
| IDn ERROR APERTO ezDispense | La lavatrice è stata azionata perché completamente il cassetto. Il cassetto è stato aperto durante il funzionamento della lavatrice. •Spingere completamente il cassetto sono alla chiusura. Se IDnviene visualizzato continuamente, chiaremé l'assistenza. |
58 RISOLUZIONE DEI PROBLEMI
Rumori che si potrebbero sentire
| Sintomi Causa & | Soluzione |
| Crepitii e rumori metallicii | Possibile presenza di oggetti (ad es. chiavi, monete o spilli) nel cestello.Fermare l'elettrodomestico e verificare la presenza di oggetti nel cestello.Se il rumore continua dopo il riavvio dell'elettrodomestico, chiamare l'assistenza. |
| Rumore sordo I vestiti pesanti potrebbero produire un rumore sordo, che in genere ènormale.Se il suono persistsiste, è probabile che l'elettrodomestico sia sbilanziato.Arrestare e ridistribuire i vestiti. | |
| I vestiti potrebbero essere sbilanziati.Interrompere il programma e ridistribuire i vestiti dopo che lo sportello si sblocca. | |
| Rumore vibrante I materiiali di imballaggio non sono stati rimossi.Rimuovere i materiali di imballaggio. | |
| I vestiti potrebbero essere distribuiti nel cestello in modo non equo.Interrompere il programma e ridistribuire i vestiti dopo che lo sportello si sblocca. | |
| Non tutti i piedini di livellamento sono poggiati ben saldi e uniformi sul pavimento.Vedere le istruzioni Livellamento dell'elettrodomestico per sistmare il livellamento dell'elettrodomestico. | |
| Il pavimento non è abbastanza rigido.Verificare che il pavimento sia solido e non flessibile.Vedere i Requisiti del luogo di installazione per scegliere la posizione adeguata. | |
Uso
| Sintomi Causa & | Soluzione |
| Ci sono perdite d'acqua. | I tubi di scarico domestici sono intasati.Sturare i tubi di scarico. Se necessario, rivolgersi a un idraulico. |
| Le perdite sono dovute a installazione non corretta o intasamento del tubo di scarico.Pulire e raddrizzare il tubo di scarico. Verificare e pulire regolarmente il filtrlo di scarico. | |
| Il tappo del filtrlo della pompa di scarico non è montato correttamente.Rimontare il filtrlo della pompa di scarico. | |
| L'élettrodomestico non funziona. | Il pannello di controllo si è spento a causa di inattività.Ciò rientra nel normale funzionamento del prodotto. Premere il tasting Accensione per accendere l'élettrodomestico. |
| L'élettrodomestico è scollegato.Assicurarsi che il cavo sa collegato saldamente a una presa funzionante. | |
| L'alimentazione idrica è chiusa.Apire completamente il rubinetto di mandata dell'acqua. | |
| I controli non sono impostati correttamente.Assicurarsi che il programma sa impostato correttamente. Chiodere lo sportello e premere il tasting Avvio/Pausa. | |
| Lo sportello è aperto.Chiodere lo sportello e assicurarsi che non vi sia niente impigliato在整个 lo sportello che gli impedisca di chiudersi completamente. | |
| Il salvavita/fusabile è scattato/fuso.Verifyicare i salvavita/fusibili del tubo. Sostituire i fusibili o ripristinare il salvavita. L'élettrodomestico dovrebbe trovarsi su un circuito derivato apposto. L'élettrodomestico riprenderà il programma dove si è fermato una volta che la corrente è stata ripristinata. | |
| Il controlio devese essere azzerato.Premere il tasting Accensione, poi selezionare nuovamente il programma desiderato e premere il tasting Avvio/Pausa. | |
| Il tasting Avvio/Pausa non è stato premuto dopo che è stato impostato un programma.Premere il tasting Accensione, poi selezionare nuovamente il programma desiderato e premere il tasting Avvio/Pausa. L'élettrodomestico si spegne se il tasting Avvio/Pausa noniene premuto per un ricerca tempo. | |
| Pressione dell'acqua estremamente bassa.Verifyicare un altro rubinetto della casa per assicurarsi che la pressione dell'acqua domestica sia adeguata.L'élettrodomestico sta riscaldando l'acqua o creando vapore. Il cestello potrebbe smettere di funzionare temporaneamente durante certi cici, quando l'acqua viene riscaldata in sicurezza a una determinata temperatura. | |
| L'élettrodomestico si farma per pochi minuti e poi si riavvia. | Un dispositivo di protezione del motore è stato attivato per evitare il surriscaldamento del motore.Qesso è normale. Se il dispositivo di protezione del motore si attiva, l'élettrodomestico si farma per pochi minuti e poi si avvia di nuovo. |
| I tasti potrebbero non funzionare correttamente. | L'opzione Kindersicherung(Sicurezza Bambini) èizzità.Disattivare l'opzioneKindersicherung(Sicurezza Bambini) se necessario. |
60 RISOLUZIONE DEI PROBLEMI
| Sintomi Causa & | Soluzione |
| Lo sportello non siCTL. | Per motivi di sicurezza non è possibile après lo sportello quando l'elettrodomestico si avvia.Qesso è normale. è possibile après lo sportello quando l'icona è sispogne. |
| L'elettrodomestico non si sta riempiendo adeguatamente. | Filtro di mandata intasato.Assicurarsi che i filtri di mandata sulle valvole di riempimento non siano intasati.I tubi di mandata potrebbero essere piegati.Verificare che i tubi di mandata non siano piegati o intasati.Mandata acqua insufficiente.Assicurarsi che i rubinetti dell'acqua calda e fredda siano aperti completamente.I tubi di mandata calda e fredda sono invertiti.Verificare le connessioni del tubo di mandata. |
| L'elettrodomestico non scarica l'acqua. | Tubo di scarico piegato.Assicurarsi che il tubo di scarico non sia piegato.Lo scarico si trova a più di 1 m dal pavimento.Assicurarsi che il tubo di scarico non si trovi a più di 1 m dal fondodell'elettrodomestico. |
| Il detersivo viene erogato in modo incompleto o noniene erogato affatto. | Si utilizza troppo detersivo.Attenersi alle istruzioni del produttore del detersivo.II filtrlo della pompa di scarico potrebbe essere bloccato.Pulire il filtrlo di scarico. |
| La durata del ciclo è più lunga del solito. | Il carico è troppo piccolo.Aggiungere più capi per consentire all'elettrodomestico di bilanciare i carichi.Capi pesanti sono mischiati con capi più leggeri.Cercare sempre di lavare capi di peso simile per permettere all'elettrodomestico di distribuire equamente il peso del carico per la centrifuga.II carico è squilibrato.Ridistribuire manually il carico se i capi si sono aggrovigliati. |
| La fine del ciclo èritardata | È stato individuato uno squilibrio oppure è attivo il programma di rimozione della schiuma.Ciò rientra nel normale funzionamento del prodotto. Il tempo rimanente visualizzato sul display rappresenta solo una stima. Il tempo effettivo può variarè. |
Prestazioni
| Sintomi Causa & | Soluzione |
| Scarsa rimozione delle macchie | Macchie fissate sul tessuto in precedenza.I capi che sono stati lavati in precedenza possono aver Macchie che si sono fissate sul tessuto. Tali macchie possono essere difficili da rimuovere e possono richiedere un lavaggio a mano o un pretrattamento per agevolare la rimozione delle macchie. |
| Macchie La candeggina | o l'ammorbidente vengono erogati troppo presto.Lo scomparto dell'erogatore è troppo pieno e quello fa s che la candeggina o l'ammorbidente vengano erogati rapidamente. Dosare sempre la candeggina o l'ammorbidente per impedire un'erogazione eccessiva.Chiudere lentamente l'erogatore del detersivo. |
| La candeggina o l'ammorbidente sono stati erogati direttamente sul vestiti nel cestello.• Utilizzato sempre l'erogatore del detersivo per garantire che i prodotti vengano erogati adeguatamente nel momento giusto durante il programma. | |
| Gli indumenti non sono stati separati adeguatamente.Lavare sempre separamente i colori scuri e i colori chiari e bianchi per evitare che soloriscano.Non lavare mai capi molto sporchi con capi leggermente sporchi. | |
| Pieghe Il bucato non è stato molto prontamente dall'elettrodomestico. | Rimuoverve sempre i capi dall'elettrodomestico non appena il programma è completato. |
| L'elettrodomestico è troppo carico.L'elettrodomestico più essere caricato completamente, ma i capi non dovrebbero essere ammassati nel cestello. Lo sportello dell'elettrodomestico si dovrebbe chiudere lavoramente. | |
| I tubi di mandata dell'acqua calda e fredda sono invertiti. Il risciacquo con acqua calda più creare pieghe negli indumenti. Verificare le connessioni del tubo di mandata. | |
| La velocità di centrifuga potrebbe essere troppo alta.Impostare la velocità di centrifuga in base al tipo di vestiti. |
62 RISOLUZIONE DEI PROBLEMI
Odore
| Sintomi Causa & | Soluzione |
| Odorestantio o di muffa nell'elettrodomestico | L'interno del cestello non è pulito adeguatamente.Eseguire regolarmente la funzione Trommelreinigung(Pulizia Vasca). |
| Un tubo di scarico non installato correttamente potrebbe causare travasi (acqua che ritorna nell'elettrodomestico),generando cattivi odori.Quando si installa il tubo di scarico,assicurarsi che non si pieghi né si intasi. | |
| Se l'erogatore del detersivo non viene pulito regolarmente,muffle o altre sostanze potrebbero generare cattivi odori.Rimuovere e pulire l'erogatore del detersivo, specialmente la parte superiore e inferiore dell'apertura dell'erogatore. |
ezDispense
| Sintomi Causa & | Soluzione |
| L'allarme di ricarica continua ad essere visualizzato quando viene aggiunto il detersivo/ammorbidente. | Il detersivo/ammorbidente si è accumulato sul sensore di livello del fluido.Apriere i coperchi degli scomparti e pulire gli interni degli scomparti ezDispense con acqua calda. Utilizzare una spazzola morbida per rimuovere eventuali residui. Se l'Allarme di ricarica viene visualizzata continuamente, chiamare l'assistenza. |
| La quantità di detersivo/ammorbidente non è sufficiente per essere rilevata dal sensore.Riempire il detersivo/ammorbidente fino alla linea MAX nel vano. | |
| Troppo/troppo molto detersivo oammorbidente dispensato. | Potrebbe essere necessario modificare l'impostazione predefinita delle quantità erogate.Controllore e modificare l'impostazione predefinita delle quantità erogate. |
| L'ezDispense non eroga detersivo/ammorbidente. | La funzione ezDispense è disattivata.Attrivare la funzionezDispense. |
| I fori di ventilazione sono bloccati.Pulire i fori di ventilazione per i coperchi degli scomparti con acqua calda. | |
| Il detersivo oammorbidente nei compartimenti ezDispense si è indurito.Pulire gli scomparti ezDispense eambiare il detersivo o l'ammorbidente. | |
| C'è schiuma durante il risciacquo e c'è del detersivo sui vestiti dopo il lavaggio. | Il detersivo è stato utilizzato durante il risciacquo. · Assicurarsi che il detersivo/ammorbidente sia conservato correttamente. (destra: detersivo / sinistra: ammorbidente) |
| Dopo il lavaggio, c'è una schiuma sui vestiti. | Bisogna pulire l'interno del systema ezDispense. · Quando si utilizzato entrambi gli erogatori per il detersivo liquido, assicurarsi di eseguire la ezDispense Systemreinigung(Pulizia ezDispense)in anticipo. |
| Il detersivo e l'ammorbidente fuoriescono dal coperchio dei vani ezDispense. | E' necessaria la manutenzione orizzontale del vano ezDispense. · Ci sono perdite quando il vano ezDispense è inclinato. Far scorrere il vano ezDispense verso l'esterno o verso l'interno lentamente e utilizzato entrambé le mani per sicurezza. |
| Il coperchio non è completamente chiuso. · Chiudere saldamente i coperchi dei vani ezDispense. Fare attenzione a non perdere i coperchi. |
Asciugatura
| Sintomi Causa & | Soluizione |
| Problema di asciugatura | Controllare il rubinetto di mandata dell'accua. ·Non sovraccaricare l'elettrodomestico. Controllare che la lavatrice scarichi correttamente per estrarre una quantità d'accua adeguata dal carico. Quando il carico di indumenti è troppo piccolo per ruotare adeguamente, aggiungere migliorare asciugamano. ·Chiudere il rubinetto di mandata dell'accua. |
| Il tempo di asciugatura èccessivo. | La temperature ambiente è Bassa. ·Assicurarsi che la temperature sia in un intervallo consentito. |
| Le prestazioni di asciugatura sono troppo basse o cattive. | Non c'è una sufficiente quantità d'accua. L'accua è utilizzata per l'auto-pulizia del filtrro della lanugine sul cestello durante l'asciugatura. ·Assicurarsi che il rubinetto dell'accua sia aperto. |
| L'accua non drena adeguatamente. ·Assicurarsi che il filtrro di scarico non sia otturato. | |
| L'elettrodomestico è sovraccarico. ·Verificare la capacité di carico per il programma selezionato. Se necessario, aggiungere un programma di asciugatura a tempo. | |
| La velocità della centrifuga è troppo Bassa. ·Selezionare la velocità di centrifuga massima consentita per il programma di lavaggio. |
64 RISOLUZIONE DEI PROBLEMI
| Sintomi Causa & | Soluzione |
| Dal retro dell'elettrodomestico esce aria calda. | L'elettrodomestico produce aria calda per asciugare i vestiti. • Quest'aria calda asciuga i vestiti ed esce dal retro dell'elettrodomestico. |
Wi-Fi
| Sintomi Causa & | Soluzione |
| Il dispositivo casalingo e lo smartphone non sono collegati alla rete Wi-Fi. | La password per il Wi-Fi con la quale si sta tentando di accedere non è corretta.Cercare la rete Wi-Fi collegata allo smartphone e rimuoverla, quando effettuire la registrazione dell'applicazione su LG ThinQ. |
| La Conn. Dati per lo smartphone è attiva.Disattivare laConn. Dati dello smartphone ed effettuire la registrazione del dispositivo utilizzando la rete Wi-Fi. | |
| Il nome della rete wireless (SSID) non è stato impostato correttamente. Il nome della rete wireless (SSID) dovrebbe essere una combinazione di letterere e numeroi (non utilizzato caratteri speciali). | |
| La Frequenza del router non è 2,4 GHz.E supportata solo la Frequenza del router a 2,4 GHz. Impostare il router wireless a 2,4 GHz e collegare l'applicatione al router wireless. è possibile controllare la Frequenza del routertramite il provider di servizi Internet o il produttore del router. | |
| La distance tra il dispositivo e il router èccessiva.Se la distance tra il dispositivo e il router fosseccessiva, la potenza del segnale si indebolirebbe e la connessione potrebbe non configurarsi correttamente. Spostare il router perché sia più vicino al dispositivo. |
Servizio di assistenza ai clienti
Contattare un centro informazioni clienti LG Electronics.
- Per trovare personale di centri di assistenza autorizzati LG Electronics, visitare il site web www.lg.com e seguire le istruzioni riportate al suo interno.
- Non tentare di riparare poiché si potrebbe danneggiare ulteriormente il dispositivo e annullare la garanzia.
- Sono disponibili parti di ricambio indicate nel Regolamento 2019/2023 per una durata minima di 10 anni.






Notice-Facile