LFZ 3384 A IX_HA - Lavastoviglie HOTPOINT - Manuale utente e istruzioni gratuiti
Trova gratuitamente il manuale del dispositivo LFZ 3384 A IX_HA HOTPOINT in formato PDF.
Domande degli utenti su LFZ 3384 A IX_HA HOTPOINT
0 domanda su questo apparecchio. Rispondi a quelle che conosci o fai la tua.
Fai una nuova domanda su questo apparecchio
Scarica le istruzioni per il tuo Lavastoviglie in formato PDF gratuitamente! Trova il tuo manuale LFZ 3384 A IX_HA - HOTPOINT e riprendi in mano il tuo dispositivo elettronico. In questa pagina sono pubblicati tutti i documenti necessari per l'utilizzo del tuo dispositivo. LFZ 3384 A IX_HA del marchio HOTPOINT.
MANUALE UTENTE LFZ 3384 A IX_HA HOTPOINT
Posizionamento e livellamento
Collegamenti idraulici ed elettrici
Avvertenze per il primo lavaggio
Dati tecnici
Descrizione dell'apparecchio, 4
Vista d'insieme
Pannello comandi
Caricare cestelli, 5
Cestello inferiore
Cestello delle posate
Cestello superiore
Avvioeutilizzato,6-7
Avviare la lavastoviglie
Caricare il detersivo
Opzioni di lavaggio
Programmi, 8
Tabella dei programmi
Brillantante e sale rigenerante, 9
Caricare il brillante
Caricare il sale rigenerante
Manutenzione e cura, 10
Escludere acqua e corrente elettrica
Pulire la lavastoviglie
Evitare i cattivi odori
Pulire gli irroratori
Pulizia filtrato entrata acqua
Pulire i filtri
Se ci si assenta per lunghi periodi
Precauzioni, consigli e Assistenza, 11
Sicurezza generale
Smaltimento
Risparmiare e rispettare l'ambiente
Assistenza
Anomalie erimedi, 12
IT
A è importante conservare quello libero per poterlo consultare in agli momento. In caso di vendita, di cessione o di trasloco, assicurarsi che resti insieme all'apparecchio.
Leggere attendamente le istruzioni: ci sono importanti informazioni sull'infallazione, sull'uso e sulla sicurezza.
In caso di trasloco tenere l'apparecchio in posizione verticale; se fosse necessario, inclinarlo sul lato posteriori.
A Questo appearecchio è progettato per l'uso domestico o per applicazioni simili, ad esempio:
- aree adibite a cucina per il personale in negozi, uffici ed altri ambienti di lavoro;
-case coloniche;
- utilizzato da parte di clienti in hotel, motel ed altri ambienti di tipo residenziale;
- bed and breakfast.
Posizionamento e livellamento
- Disimballare l'apparecchio e controllare che non abbia subito danni durante il trasporto. Se fosse danneggiato non collegarlo e contattare il rivenditore.
- Sistemare la lavastoviglie facendo adeire i bianchi o lo schienale ai mobili adiacenti o alla parete. L'apparecchio può essere incassato quello a un piano di lavoro continuo* (vedi foglio di Montaggio).
- Posizionare la lavastoviglie su un pavimento piano e rigido. Compensare le irregularità svitando o avvitando i piedini anteriors finché l'apparecchio non sia orizzontale. Un accurato livellamento da stabilità ed evita vibrazioni, rumori e spostamenti.
- Per regolare l'altezza del piedino posteriore, agire sulla boccola esagonale di colore rosso presente nella parte inferiore, frontale, centrale della lavastoviglie, con una chiave a bogca esagonale aperture 8mm . girando in senso orario per augmentare l'altezza e in senso antiorario per diminuirla. (vedere foglio istruzioni incasso allegato alla documentazione)
Collegamenti idraulici ed elettrici
L'adattamento degli impianti elettrici e idraulici per l'installazione deve essere eseguito solo da personale qualificato.
La lavastoviglie non deve appoggiare sui tubi o sul cavo di alimentazione elettrica.
A L'apparecchio deve essere collegato alla rete di distribuzione dell'acqua utilizzato tubi nuovi. Non riutilizzare i vecchi tubi.
I tubi di carico e di scarico dell'acqua e il cavo di alimentazione elettrica possono essere orientati verso destra o sinistra per consentire una migliorione installazione.
Collegamento del tubo di carico dell'accua
- A una presa d'acqua fredda: avvitare bene il tubo di carico a un rubinetto con bocca filettata da 3/4 gas; prima di avvitare, far scorrere l'acqua finché non sia limpida affinché le eventuali impurità non intasino l'apparecchio.
- A una presa d'acqua calda: nel caso di impianto centralizzato di termosifoni, la lavastoviglie cui quere alimentata con acqua calda di rete parché non superi la temperatura di 60^ .
Avvitre il tubo al rubinetto come descriotto per la presa d'acqua fredda.
A Se la lunghezza del tubo di carico non è sufficiente, rivolgersi a un negazio specializzato o a un technician autorizzato (vedi Assistenza).
La pressione dell'acqua deve essere compresa nei valori riportati alla tabella Dati tecnici (vedi a /ato).
A Fare attenuation che nel tubo non ci siano né pieghe né strozzature.
Collegamento del tubo di scarico dell'accua collagenare il tubo di scarico, alla piegarlo, a una conduttura di scarico con diametro minimo di 4 cm.

Il tubo di scarico deve essere ad un'altezza compresa tra 40 e 80 cm. dal pavimento o piano d'appoggio della lavastoviglie (A).
Prima di collegare il tubo di scarico dell'acqua al sifone del lavandino, rimuovere il tappo di plastica (B).
- Presente solo su alcuni modelli.
Sicurezza antiallagamento
Per garantire che non si generino allagamenti, la lavastoviglie:
- è dotata di un sistema che interrompe l'ingresso dell'acqua nel caso di anomalie o di perdite dall'interno.
Alcuni modelli sono dotati di un dispositivo supplementare di sicurezza New Acqua Stop*, che garantisce l'antiallagamentoanche in caso di rottura del tubo di alimentazione.

ATTENZIONE: TENSION PERICOLOSA!
Il tubo di carico dell'acqua, non delve in nessun caso,
essere tagliato in quanto contiene parti sotto tensione.
Collegamento elettrico
Prima di insere la spina nella presa della corrente, accertarsi che:
- la presa abbia la messa a terra e sua norma di legge;
- la presa sia in grado di sostortare il carico massimo di potenza della macchina,indicato nella targhetta caratteristiche sulla controporta (vedi capitolo Descrizione della lavastoviglie);
- la tensione di alimentazione sua compresa nei valori indicati nella targhetta caratteristiche sulla controporta;
- la presa sia compatibile con la spina dell'apparecchio. In caso contrario richiedere la sostituzione della spina a un technician autorizzato (vedi Assistenza); non usare prolonghe o prese multiple.
A Ad apparentecchio installato, il cavo di alimentazione elettrica e la presa della corrente devono essere facilemente raggiungibili.
A Il cavo non deve subire piegature o compressioni.
A Se il cavo di alimentazione è danneggiato, delve essere sostituito dal costruttore o dal suo Servizio di Assistenza Tecnica, in modo da prevenir agli rischio. (Vedi Assistenza)
A L'Azienda declina agli responsabilità qualoraQLaqueste norme non vengano rispettate.
Striscia anticondensa*
Dopo aver incassato la lavastoviglie aprire la porta e incollare la striscia adesiva trasparente fatto al ripiano in legno per proteggerlo alla eventuale condensa.
Avvertenze per il primo lavaggio
Dopo l'installazione, immediatamente prima del primo lavaggio, riempire completamente d'accua il serbatoio del sale e solo dopo aggiungere circa 1 Kg di sale (vedi capitolo Brillantante e sale rigenerante): è normale che l'accua trabocchi. Selezionare il grado di durezza dell'accua (vedi Tabella Durezza, capitolo Brillantante e sale rigenerante). Dop o il caricamento del sale la spia MANCANZA SALE* si spegne.
Il mancato riempimento del contentatore del sale, cui provocare il danneggiamento del dolcificatore dell'acqua e dell'elemento riscaldante.
| Dati Tecnici | |
| Dimensioni | Larghezza cm. 59,5 Altezza cm. 82 Profondità cm. 57 |
| Capacità 14 coperti standard | |
| Pressione acqua alimentazione | 0,05 ÷ 1MPa (0.5 ÷ 10 bar) 7,25 - 145 psi |
| Tensione di alimentazione | vedi targhetta caratteristiche |
| Potenza totale assorbita | vedi targhetta caratteristiche |
| Fusibile veditarghetta caratteristiche | |
| CE PG A B | Questa apparecchiatura è conformhe alle seguenti Direttive Comunitarie: -2006/95/EC (Bassa Tensione) -2004/108/EC (Compatibilità Elettromagnetica) -2005/32/EC (Comm. Reg. 1275/2008) (Ecodesign) -97/17/EC (Etichettatura) -2002/96/EC (Smaltimento) |
- Presente solo su alcuni modelli.
Descrizione dell'apparecchio
IT
Vista d'insieme

- Cestello superiore
- Irroratore superiore
- Ribaltine
- Regolatore altezza cestello
- Cestello inferiore
- Irroratore inferiore
- Cestello posate
- Filtro lavaggio
- Serbatoio sale
- Vaschette detersivo e serbatoio brillantante
- Targhetta caratteristica
- Pannello comandi***
Pannello comandi

*** Solo sui modelli ad incasso totale
- Presente solo su alcuni modelli.
Il numero e il tipo di programmi ed opzioni variano in base al modello di lavastoviglie.
Prima di caricare i cesti, eliminare delle stoviglie i residui di cibo e vuotare bicchieri e coppe dei liquidi rimasti. Dopo aver caricato, controllare che gli irroratori ruotino liberamente.
Cesto inferiore
Il cesto inferiore può contentere pentole, coperchi, piatti, insalatiere, posate ecc..secondo gli Esempi di caricamento. Piatti e coperchi grandi vanno sistemi di preferenza ai lati del cesto, facendo attenzione a non bloccare la rotazione dell'irroratore superiore.

Alcuni modelli di lavastoviglie, dispongono di settori reclinabili*, gli stessi si possono usare in
posizione verticale per la sistematicione dei pianioppure in posizione orizzontale per sistemare pentole e insalatiere.
Cestino delle posate
Il cestino delle posate cui è sere di tipo diverso a seconda dei modelli di lavastoviglie: non scomponibile, scomponibile, scorrevole. Il cestino non scomponibile delve essere positizzato solo nella parte anteriore del cesto inferiore.

Il cestino scomponibile
può essere separators in
due parte, soluzione
indicata quando si
esegue un lavaggio a
mezzo carico (sui mod. provisti di tale opzione), cui è sere scorrevolte,cioè posizionato in qualsiasti punto del cesto inferiore facendolo scorrere tra gli inserti fissi o reclinabili.
- Sono muniti di ribaltine scorrevoli che consentono una sistematicità migliorare delle posate.
I coltelli e gli utensili con punte taglienti devono essere sistemati nel cestino delle posate con le punte rivolte verso il basso o sistemati sulle ribaltine del cesto superiore in posizione orizzontale.
Esempi di posizionamento dei cestini posate

Cesto superiore
Caricarvi le stoviglie delicate e leggere: bicchieri, tazze da te e caffe, piattini, insalatiere basse, padelle, pentole basse poco sporche, secondo gli Esempi di caricamento.
- Tazze e tazzine, coltelli lunghi e acuminati, posate di servizio: posizionarli sulle ribaltine*
Ribaltine ad inclinazione variabile
-
L'inclinazione consente di acquiretare maggiore spazio nel cesto superiore, di posizionare calici con steli di lunghezza diversa e di migliorare le prestazioni di asciugatura.
-
Presente solo in alcuni modelli.
** Variabili per numero e posizione.
Inclinazione A
Inclinazione B
Inclinazione C



- Sollevare la ribaltina, farla scorrere leggermente e posizionarla nell'inclinazione desiderata.
Regolare l'altezza del cesto superiore
Per agevolare la sistematicione delle stoviglie, è possibile sistemare il cesto superiore in posizione alta o bassa. (per caricamenti Baby nei modelli provvisti di ciclo Baby, il cesto superiore deve essere regolato in posizione Bassa).
A E' preferibile regolare l'altezza del cesto superiore a CESTO VUOTO.
Non sollevare o abbassare MAI il cesto su un solo lato.

Aprire i fermi delle guide del cesto a destra e a sinistra ed estrarre il cesto; sistemarlo in alto o in basso, farlo scivolare lungo le guide fino a far entrareanche le rotelle anteriorie e chiudere i fermi (vedi figura).

Se il cesto è dotato di maniglie Dual Space* (vedi figura), estrarre il cesto superiore a fine corsa, impugnare le maniglie ai lati del cesto e muovere verso l'alto o verso il basso; lasciare ricadere il cesto accompagnandolo.
Esempi di caricamento cesto superiore/inferiore


Ribaltine Baby*

Nei modelli di lavastoviglie in cui è presente il Ciclo Baby vengono fornite in dotazione apposite ribaltine per il lavaggio di biberon, chiere e tettarelle.
(vedi foglio istruz. allegato alla
documentazione)
Stoviglie non adatte al lavaggio in lavastoviglie
- Oggetti di legno, con impugnatura in legno o in corno o con parti incollate.
- Oggetti di alluminio, rame, ottone, peltro o stagno.
- Stoviglie di plastica non termoresistente.
- Porcellane antiche o dipinte a mano.
- Argenteria antica. L'argenteria non antica può essere lavata con un programma delicato e accertandosi che non sia a contatto con altri metalli.
Si consiglia l'utilizzo di stoviglie idonee al lavaggio in lavastoviglie.
Avviare la lavastoviglie
- Aprire il rubinetto dell'acqua.
- Premere il tasting ON-OFF: si sente un breve bip, tutte le spiè
e il display si illuminano per alcuni secondi. - Aprière la porta e dosare il detersivo (vedi除去).
- Caricare i cestelli (vedi Caricare i cestelli) e chiudere la porta.
- Selezionare il programma, in base alle stoviglie e al loro grado di sporco (vedi tabella dei programmi) premendo il tasto P.
- Selezionare le opzioni di lavaggio (vedi a lato).
- Avviare premendo il tasto Avvio/Pausa: un lungo bip avvisa dell'inizio del programma, si illumina la spia del lavaggio e viene visualizzato sul display il tempo residuo alla fine del ciclo.
- Alla fine due bip brevi e uno lungo segnalano la fine del programma, la spia del programma appena terminato lampeggia e si illumina la spia FINE (luce fissa). Spagnere l'apparecchio premendo il tasto ON-OFF, chiudere il rubinetto dell'acqua e staccare la spina dalla presa di corrente.
- Aspettare alcuni minuti prima di togliere le stoviglie, per evitare di scottarsi. Scaricare i cesti iniziando da quello inferiore.
- Per ridurre il consumo di energia elettrica, in alcune condizioni di NON utilizzato, la macchina si spegne automaticamente.
PROGRAMMI AUTO:questo modello di lavastoviglie e dotato di un particolare sensore che cui valutare il grado di sporco e impostare il lavaggio più efficiente ed economico. La durata dei programmi auto potravariate per l'intervento del sensore.
A Se le stoviglie sono peu sporche o sono state sciacquate precedentamente quello l'acqua, ridurre sensibilmente la dose del detersivo.
Modificare un programma in corso
Se si è selezionato un programma sbagliato è possible modificarlo, perché appena iniziato: a lavaggio avviato, per cancellare ciclo di lavaggio spagnere la macchina con una pressione prolongata del tasting ON/OFF/Reset, riaccenderla con lo stesso tasting e selezionare nuovamente programma e opzioni desiderati.
Aggiungere alte stoviglie
Premere il tasto Avvio/Pausa, (la luce del tasto pulsa) Apire la porta facendo attenzione alla fuoriuscita di vapore e insereire le stoviglie. Premere il tasto Avvio/Pausa (luce fissa): il ciclo riprende dopo un bip prolongato.
Premendo il tasto Avvio/Pausa per mettere la macchina in
pausa, si interrompe sua il programma sua la Partenza
Ritardata se impostata.
In esta fase non si cui cambiare il programma.
Interruzioni accidentali
Se durante il lavaggio si après la porta o si verifica un'interruzione di corrente, il programma si interrompe. Riprende dal punto in cui si era interrotto quando si chiude la porta o torna la luce.
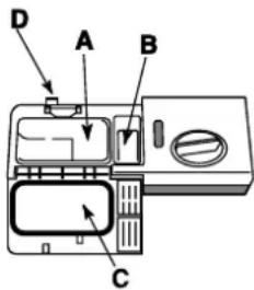
Caricare il detersivo
Il buon risultato del lavaggio dipendeanche dal corretto dosaggio del detersivo, eccedendo non si lava in modo più efficace e si inquina l'ambiente.
Utilizzare solo detersivo per lavastoviglie.
NON UTILIZZARE detersivi per lavaggio a mano.
Un utilizzo eccessivo di detersivo cui lasciare residui di schiuma a fine ciclo.
A L'utilizzo delle pastiglie è consigliato solo nei modelli dove è presente l'opzione PASTIGLIE MULTIFUNZIONE.
A1 Le migliorari prestazioni di lavaggio ed asciugatura, si ottengono solo con l'utilizzo di detersivo in polvere, brillantante liquido e sale.
vaschetta A: Detersivo per lavaggio
vaschetta B: Detersivo per prelimavaggio

- Apire il coperchio C premendo il pulsante D.
- Dosare il detersivo consultando la Tabella dei programmi.
- in polvere: vaschette A e B.
pastiglie: when oI programma ne richiede 1, metterla nella vaschetta A e
chiudere il coperchio; quando ne richiede 2, mettere la seconda sul fondo della vasca.
- Eliminare i residui di detersivo dai bordi della vaschetta e chiudere il coperchio fino allo scatto.
Opzioni di lavaggio*
Le OPZIONI possono essere impostate, modificare o azzerate solo dopo aver scelto il programma di lavaggio e prima di aver premuto il tasto Avvio/Pausa.
Possono essere selezionate solo le opzioni compatibili al tipo di programma scelto. Se un'opzione non è compatible con il programma selezionato, (vedi tabella programmi) il led relativo lampeggia velocemente 3 volte e si sentono 2 bip brevi.
Se viene selezionata un'opzione incompatibile con un'opzione precedentamente impostata, questa lampeggia 3 volte, emette 3 bip e si spegne, nelle rime rime accesa l'ultima impostazione scelta.
Per deselezionare un'opzione erroneamente impostata, premere di nuovo sul tasto corrispondente.
- Presente solo su alcuni modelli.
Mezzo carico cesto superiore*
Se le stoviglie sono poche, si cui effettuare il mezzo carico risparmiando acqua, energia e detersivo. Selezionare il programma, premere il tasto MEZZO CARICO: la spia si illumina e si attiva il lavaggio solo sul cesto superiore.
A Ricordarsi di caricare le stoviglie solo sul cesto superiore e di dimezzare la quantità di detersivo.
A E'preferabileutilizzaredetersivoipolvere.
A Questa opzione non è disponibile con il programma: Speed e Baby.
Partenza ritardata*
É possibile posticipare da 1 a 24 ore l'avvio del programma:
- D再也没有 selezionato il programma di lavaggio desiderato ed altre eventuali opzioni, premere il tasto PARTENZA RITARDATA: la relativa spia si illumina. Con il medesimo tasto selezionare quando si desidera far iniziare il ciclo di lavaggio (da 1 a 24 ore).
- Confermare la scelta con il tasting Avvio/Pausa ed avr a inizio il conto alla rovescia, il ritardo selezionato lampeggia ed il tasting Avvio/Pausa smette di pulsare (luce fissa).
- A tempo scaduto si sente un bip lungo, la spia della PARTENZA RITARDATA si spegne, e il programma si avvia.
Per deselezionare la PARTENZA RITARDATA, premere il tasto PARTENZA RITARDATA sino alla visualizzazione di OFF.
A Non è possibile impostare l'Avvio Ritardato a ciclo avviato.
Opzione Good Night*
Questa opzione augmente la silenziosità allungando la durata dei programmi, ed è ideale perché permette di usfuquire della tariffa energetica notturna.
Dopo aver selezionato il programma, premere il tasto Opzione Good Night, l'accensione della spia ed un bip breve segnalano l'avvenuta selezione.
Per deselezionare l'opzione, ripremere sullo stesso tasto.
A L'opzione Good Night, non è compatible con l'opzione MEZZO CARICO.
Pastiglie Multifunzione\* (Tabs)
Con esta opzioneiene ottimizzato il risultato di lavaggio ed asciugatura.
Quando si usano le pastiglie multifunzione premere il tasto PASTIGLIE MULTIFUNZIONE, la relativa spia si illumina.
L'opzione "Pastiglie Multifunzione", comprata l'allungamento del programma.
A L'opzione PASTIGLIE MULTIFUNZIONE rimane impostata alle successive accensioni della macchina se non deselezionata.
A L'utilizzo delle pastiglie è consigliato solo dove è presente l'opzione PASTIGLIE MULTIFUNZIONE.
A Questa opzione è sconsigliata con i programmi che non prevedono l'uso delle pastiglie multifunzione (vedi tabella delle opzioni).
D
| Tabella Opzioni | A | B | C | |
| Avvio Ritardato | Mezzo Carico | Pastiglie Multifunz. | Good Night | |
| Auto Super Wash | SI | SI | SI | No |
| Auto Normale | SI | SI | SI | SI |
| Quotidiano A 60 | SI | SI | SI | No |
| Ammollo | SI | SI | No | No |
| Eco 50°C | SI | SI | SI | SI |
| Speed 25' | SI | No | SI | No |
| Cristalli | SI | SI | SI | No |
| Ciclo Baby | SI | No | No | No |
- Presente solo su alcuni modelli.

Per le OPZIONI consultare la tabella Opzioni presente nella pagina dell'Avvio e Utilizzo.
Il numero e il tipo di programmi ed opzioni variano in base al modello di lavastoviglie.
| Indicazioni per la scelta dei programmi | Programma | Detersivo(A) = vaschetta A(B) = vaschetta B | Programmiche prevedono l'asciugatura | Opzioni | Durata delprogramma(toleranza ±10%)Hrs. Min. | ||
| polvere | liquido | pastiglie | |||||
| Stoviglia e pentole molto sporche (da non usare per pezzi delicati). | AutoSuper Wash | 35 g (A) | 35 ml (A) | 1 (A) | Si | A-B-C | 2:25' |
| Stoviglia e pentolenormallye sporche.Programma standardgiornaliero. | AutoNormale | 29 g (A)6 g (B) | 29 ml (A)6 ml (B) | 1 (A) | Si | A-B-C-D | 1:50' |
| Sporco quotidiano in quantitàlimitata. (4 coperti + 1pentola + 1 padella). | Daily A 60 | 25 g (A) | 25 ml (A) | 1 (A) | No | A-B-C | 1:00' |
| Lavaggio preliminare in attesa di completareil carico al pasto successivo. | Ammollo | No | No | No | No | A-B | 0:08' |
| Lavaggio ecologico a bassi consumi energetici, adatto a stoviglia e pentole. | Eco* | 29 g (A)6 g (B) | 29 ml (A)6 ml (B) | 1 (A) | Si | A-B-C-D | 2:45' |
| Ciclo economico e velocedetailizzare per stoviglia piùsporche, subito dopo l'uso. (2piatti +2 bicchieri +4 posate+1 pentola + 1 padellino) | podoo | 25 g (A) | 25 ml (A) | 1 (A) | No | A-C | 0:25' |
| Ciclo economico e velocedetailizzare perstoviglia delicate, più sensibilialle alto temperature, subitodopo l'uso. (calici nel cestosuperiore + piatti delicati, nelcesto inferiore). Cristalli | O | 35 g (A) | 35 ml (A) | 1 (A) | Si | A-B-C | 1:30' |
| Ciclo igienizzante per lavarebiberon,ghiere, tettarellesinieme a piatti, tazzine,bicchieri e posate. Caricare lestoviglia solo sul cesto superiore. | Ciclo | 20 g (A) | 20 ml (A)Baby | No | Si | A | 1:20' |
Note:
le miglior i prestazioni dei programmi "Daily e Speed", si ottengono preferibilmente rispetto il numero di coperti specificati.
* Il programma Eco, rispetta la norma EN-50242, dura più a lungo rispetto ad altri programmi ma presenta un minor consumo di energia ed in più è rispettoso con l'ambiente.
Not a per i laboratori di Prove: per informazioni sulle condizioni della prova comparativa EN, farne richiesta all'indirizzo ASSISTENZA_EN_LVS@indesitcompany.com
Per facilitare il dosaggio del detersivo è bene sapere che:
1 cucchiaio da cucina = 15 g. di polvere = 15 ml di liquido circa. - 1 cucchiaio da cucina = 5 g. di polvere = 5 ml di liquido circa
Brillante e sale rigenerante
Usare solo prodotti specifici per lavastoviglie.
Non usare sale alimentare o industriale nè detersivi per il lavaggio a mano.
Seguire leindicazioni riportate sulla confezione.
A Se si usa un prodotto multifunzione, non è necessario aggiuungere brillante, si consiglia invece di aggiuungere sale, specie se l'acqua è dura o molto dura.Seguire le indicazioni riportate sulla confezione.
Nonaggiungendo nésale nébrillante e normale che le spie MANCANZA SALE *e MANCANZA BRILLANTANTE* rimangano accese.
Caricare il brillantante
Il brillante facilita l'asciugatura delle stoviglie facendo scivolare l'acqua alla superficie, casi che non rimangano striature o macchie.
- quando sul pannello si accende la spia MANCANZA BRILLANTANTE*

- Aprire il serbatoio ruotando il tappo (G) in senso antiorario.
- Versare il brillantante evitando che fuoriesca. Se accade, pulire subito con un panno asciutto.
- Riavvitare il tappo.
Non versare MAI il brillantante
direttamente all'interno della vasca.
Regolare la dose di brillantante
Se non si è soddisfatti del risultato dell'asciugatura, è possibile regolare la dose di brillantante. Con un cacciavite girare il regolatore (F) scegliendo tra 6 positioni (la regolazione di fabbrica è sul 4):
- se sulle stoviglie ci sono striature, girare verso i numero bassi (1-3).
- se ci sono gobce d'acqua o macchie di calcare girare versusi numeri alto (4-6).
Impostazione durezza dell'acqua
Ogni lavastoviglie è corredata di un dolcificatore dell'acqua che, utilizzato del sale rigenerante specifico per lavastoviglie, fornisce acqua priva di calcare per il lavaggio delle stoviglie.
Questa lavastoviglia, consente una regolazione che riduce l'inquinamento ed ottimizza le prestazioni di lavaggio in funzione della durezza dell'acqua. Il dato è reperibile presso l'Ente erogatore dell'acqua potabile.
La regolazione della durezza può essere diversa secondo il modello di lavastoviglie:
A) - Accendere la macchina premendo il tasto ON/OFF.
-
Premere il tasto P per alcuni secondi; dopo un breve segnale acustico, il display visualizza il livello di durezza impostato dell'acqua, e la spia Start/Pausa pulsa (il decalcificatore è impostato alla fabbrica sul livello 3).
-
Premere il tasto P in successione fino al raggiungimento della durezza desiderata (1-2-3-4-5* Vedi tabella durezza acqua). Il display visualizzera il valore della durezza dell'acqua selezionata.
Es.: durezza livello 1 (visualizzazione display 1); durezza livello 2 (visualizzazione display 2);
durezza livello 3 (visualizzazione display 3); ecc... ecc.
fino ad un massimo di 5 livelli.
B) - Accendere la macchina premendo il tasto ON/OFF.
- Premere il tasto P per alcuni secondi; si sentono due beep brevi lampeggia lentamente la spia programma relativa al grado di durezza impostato (Il decalcificatore è impostato alla fabbrica sul n° 3).
- Premere il tasto P in successione fino al raggiungimento della durezza desiderata (1-2-3-4-5* Vedi tabella durezza acqua).
Es. durezza 1 (spia 1^ programma lampeggia)
durezza 2 (spia 1^ programma accesa, spia 2^ programma lampeggia)
durezza 3 (spia 1^ e 2^ programma accese, spia 3^ programma lampeggia ecc...ecc...) fino ad un massimo di livelli.
- Per uscire alla funzione attendere alcuni secondi o premere un tasto delle opzioni * o speggnere la macchina con il tasto ON/OFF.
Se siutilizzano le pastiglie multifunzione, riempire comunique il serbatoio del sale.
| Tabella Durezze Acqua | ||||||
| °dH °fH mmol/l l’iVello | ||||||
| 0 | 6 | 0 | 10 | 0 | 1 | |
| 6 | 11 | 11 | 20 | 1,1 | 2 2 | |
| 12 | 17 | 21 | 30 | 2,1 | 3 | 3 |
| 17 | 34 | 31 | 60 | 3,1 | 6 4 | |
| 34 | 50 | 61 | 90 | 6,1 | 9 5* | |
| Da 0°f a 10°f si consiglia di non utilizzato sale. * con但这a impostazione la durata dei cici li poto lievamente prolongarsi. | ||||||
(^ dH)= durezza in gradi tedeschi - ^ fH= durezza in gradi francesi - mmol/l = millimol/ litro)
Caricare il sale rigenerante
Per avere buoni risultati di lavaggio è indispensableere verificare che il serbatoio del sale non sia mai vuoto. Il sale rigenerante elimina il calcare dall'acqua, evitando che si depositi sulle sloviglia.
Il serbatoio del sale è posto nella parte inferiore della lavastoviglie (vedi Descrizione) e va riempito:
- quando il galleggiante verde * non èvisible osservando il tappo del sale;
- quando sul pannello si accende la spia MANCANZA SALE*;

- Estrarre il cesto inferiore e svitare il tappo del serbatoio in senso antiorario.
- Solo per il primo utilizzato: riempire il serbatoio di acqua fino al bordo.
- Posizione l'imbuto* (vedi figura) e
riempire il serbatoio di sale fino al bordo (circa 1 kg); è normale che trabocchi un po' d'acqua.
- Togliere l'imbulo, eliminare i residui di sale dall'imbocco; sciacquare il tappo sotto l'acqua corrente prima di avvitarlo, disponendolo a testa in giu e facendo defluire l'acqua dalle quattro fissure disposte a stella nella parte inferiore del tappo. (tappo con galleggiante verde)
E' consigilabile effettuare questa operazione ad agli caricamento del sale.
Chiudere bene il tappo, affinché nel serbatoio non entri detersivo durante il lavaggio (potrebbe danneggiarsi irrimediabilmente il dolificatore).
A. Quando si rende necessario, caricare il sale prima di un ciclo di lavaggio in modo da eliminare la soluzione saliva traboccata dal contentatore del sale.
IT
Escludere acqua e corrente elettrica
- Chiudere il rubinetto dell'acqua dopo agli lavaggio per eliminare il pericolo di perdite.
- Staccare la spina dalla presa di corrente quando si pulisce la macchina e durante i lavori di manutenzione.
Pulire la lavastoviglie
- La superficie esterna e il pannello di controllo possono essere puliti con un panno inumidito con acqua non abrasivo. Non usare solventi o abrasivi.
- La vasca interna può essere pulita da eventuali macchie con un panno imbevuto di acqua e poco aceto.
Evitare i cattivi odori
- Lasciare sempre socchiusa la porta per evitare il ristagno di umidità.
- Pulire regolarmente le guarnizioni perimetrali di tenuta della porta e delle vaschette detersivo con una spugnetta umida. Si eviterannoosi ristagni di cibo, principali responsabili del cattivo odore.
Pulire gli irroratori
Può sucedere che residui di cibo si attacchinoagli irroratori e ostruiscano i fori da cui esce l'accua: di tanto in tanto è bene controllarli e pulirli con uno spazzolino non metallico.
I due irroratori, sono entrambi smontabili.

Per smontare l'irroratore superiore, occorre svitare girando in senso antiorario la ghiera di plastica.L'irroratore superiore, va rimontato con la parte con il maggior numero di fori rivolta verso l'alto.

L'irroratore inferiore si smonta facendo pressione sulle linguette poste ai lati e tirandolo versuso l'alto.
Pulizia del filtro entrata acqua*
Se i tubi dellacqua sono nuovi o sono rimasti per lungo tempo inattivi, prima di fare lallacciamento, far scorrere lacqua fino a che diventi limpida e sua priva di impurit.
Senza esta precauzione, c il rischio che il punto doveenta lacqua si intasi, danneggiando la lavastoviglie.
Periodicamente, pulire il filtro entrata acqua posizionato all'uscita del rubinetto.
- Chiudere il rubinetto dell'acqua.
- Svitare l'estremità del tubo di carico acqua, togliere il filtrò e pulirlo delicatamente fatto un getto di acqua corrente.
- Inserire nuovamente il filtro e avvitare il tubo.
Pulire i filtri
Il gruppo filtrante è formato da tre filtri che puliscono l'acqua di lavaggio dai residui di cibo e la rimettono in circolo: per avere buoni risultati di lavaggio è necessario pulirli.
A Pulire i filtri con regolarità.
La lavastoviglie non deve essere usata alla sua filtri o con!.
futto sganciato.
- Dopo alcuni lavaggi, controllare il gruppo filtrante e se necessario pulirlo accuratamente sotto acqua corrente, aiutandosi con uno spazzolino non metallico, seguendo le istruzioni sotto riportate:
1. ruotare in senso antiorario il filtrolo cilindrico C ed estrarlo (fig. 1).
2. Estrarre il bicchierechio B facendo una leggera pressione sulle alette laterali (Fig. 2);
3. Sfilare il piatto filtrino inox A. (fig. 3).
4. Ispezionare il pozzetto ed eliminare eventuali residui di cibo. NON RIMUOVERE MAI la protezione della pompa di lavaggio (particolare di colore nero) (fig. 4).




Dopo la pulizia dei filtri, rimontare il gruppo filtrante e ricollocarlo correttamente nella sua sede; è fondamentale per un buon funzionamento della lavastoviglia.
Se ci si assenta per lunghi periodi
- Staccare i collegamenti elettrici e chiudere il rubinetto dell'acqua.
- Lasciare socchiusa la porta.
-
Al rientro, fare un lavaggio a vuoto.
-
Presente solo su alcuni modelli.
Precauzioni, consigli e
Assistenza
L'apparecchio è stato progettato e costruito in conformità alle norme internazionali di sicurezza. Queste avvertenze sono fornite per ragioni di sicurezza e devono essere lette attendamente.
Sicurezza generale
- Questo elettrodomestico non può venire usato da persona (bambini compresi) con ridotte capacità fisiche, sensoriali o mentali, o mancanza di esperienza e conoscenza, a meno che non venga loro fornita supervisione o istruzioni riguardanti l'uso da una persona responsable della loro sicurezza.
- É nécessaria la supervisione di un adulto per evitare che i bambini giochino con l'elettrodomestico.
L'apparecchio è stato concepito per un uso di tipo non professionale all'interno dell'abitazione. - L'apparecchio deve essere usato per il lavaggio delle stoviglie a uso domestico, solo da personne adulte e secondo le istruzioni riportate in quello librettlo.
- L'apparecchio non va installato all'aperto, nemmeno se lo spazio è riparato, perché è molto pericoloso lasciarlo esposto a pioggia e temporali.
Non toccare la lavastoviglie a piedi nudi. - Non staccare la spina alla presa della corrente tirando il cavo, bensi afferrando la spina.
- É necessario chiudere il rubinetto dell'acqua e staccare la spina alla presa della corrente prima di effettuare operazioni di pulizia e manutenzione.
- In caso di guasto, in nessun caso accedere ai meccanismi interni per tentare una riparazione.
Non toccare mai la resistenza.
Non appoggiarsi o sedersi sulla porta aperta: l'apparecchio potrebbe ribaltarsi. - La porta non deve essere tenuta nella posizione aperta perché può rappresentare il pericolo di inciampare.
- Tenere il detersivo e il brillantante fuori alla portata dei bambini.
Gli imballaggi non sono glacattoli per bambini.
Smaltimento
- Smaltimento del materiale di imballaggio: atteneri alle norme locali,osi gli imballaggi potranno essere riutilizzati.
- La direttiva Europea 2002/96/CE sui rifiuti di apparecchiature elettriche ed elettroniche (RAEE), prevede che gli elettrodomestici non debbano essere smaltiti nel normale flusso dei rifiuti solidi urbani. Gli apparecchi dismessi devono essere raccolti separatamente per ottimizzare il tasso di recupero e riciclaggio dei materiali che li compongono e impedire potenziali danni per la salute e l'ambiente. Il significolo del cestino barrato è riportato su tutti i prodotti per ricordare gli obblighi di raccolta separata. Per ulteriori informazioni, sulla corretta dismissione degli elettrodomestici, i detentori potranno rivolgersi al servizio pubblico preposto o ai rivenditori.
Risparmiare e rispettare l'ambiente
Risparmiare acqua ed energia
- Avviare la lavastoviglie solo a piano carico. In attesa che la macchina sia piena, prevenire i cattivi odori con il ciclo Ammollo (vedi Programmi).
-
Selezionare un programma adatto al tipo di stoviglie e al grado di sporco consultando la Tabella dei programmi. - per stoviglie normalmente sporche utilizzare il programma Eco, che garantisce bassi consumi energetici e di acqua. - se il carico è ridotto attivare l'opzione Mezzo carico (vedi Avvio e utilizzato).
-
Se il proprio contratto di erogazione dell'energia elettrica prevede fasce orarie di risparmio energetico, effettuare i lavaggi negli orari a tariffa ridotta. L'opzione Avvio ritardato* (vedi Avvio e utilizzato) cui autare a organizzare i lavaggi in tal senso.
Detersivi sanza fosfati, sanza cloro
e contententi enzimi
- Si consiglia vivamente di usare i detersivi sono fosfati e alla sua cloro che sono i più indicati per la tutela dell'ambiente.
Gli enzimi sviluppano un'azione particolarmente efficace con temperature prossime ai 50^ per cui con i detersivi con enzimi si possono impostare lavaggi aasse temperature e ottener gli stessi risultati che si avrebbero a 65^ . - Dosare bene il detersivo in base alleindicazioni del produttore, alla durezza dell'acqua, al grado di sporco e alla quantità di stoviglie per evitare sprechi. Pur biodegradabili, i detersivi contengono elementi che alterano l'equilibrio della natura.
Assistenza
Prima di contattare l'Assistenza:
- Verificare se l'anomalia può essere risolta da soli (vedi Anomalie e Rimedi).
- Riaviare il programma per controllare se l'inconveniente è stato oviato.
- In caso negativo, contattare il Servizio Assistenza Tecnica Autorizzato.
Non ricorrere mai a tecnici non autorizzati.
Comunicare:
- il tipo di anomalia;
- il modello della macchina (Mod.);
- il numero di serie (S/N).
Queste informazioni si trovano sulla targhetta caratteristiche posta sull'apparecchio (vedi Descrizione dell'apparecchio).
Assistenza Attiva 7 giorni su 7

Se nasce il bisogno di intervento chiamare ilNumero Unico Nazionale 199.199.199*
Un operatore sare a complete disposizione per fissare un appuntamento con Centro Assistenza Tecnico autorizzato più vicino al luogo da cui si chiama.
É Attivo 7 giorni su 7, sabato e domenica compresi, e non lascia mai inascoltata una richiesta.
* Al costo di 14,25 centesi di Euro al minuto (iva inclusa) dal Lun. al Ven. delle 08:00 alle 18:30, il Sab. delle 08:00 alle 13:00 e di 5,58 centesi di Euro al minuto (iva inclusa) dal Lun. al Ven. delle 18:30 alle 08:00, il Sab. delle 13:00 alle 08:00 e i giorni festivi, per chi chiama dal Telefono fisso. Per chi chiama da radiomobile le tariffe sono legate al piano tariffario dell'operaore Telefonico utilizzato. Le sudette tariffe potrebbero essere soggette a variazione da parte dell'operaore Telefonico; per maggiori informazioni consultare il site www.aristonchannel.com.
IT
Qualora l'apparecchio presenti delle anomalie di funzionamento, controllare i seguenti punti prima di rivolgersi all'Assistenza.
| Anomalie: | Possibili cause / |
| La lavastoviglie non parte o non risponde ai comandi | • Spagnere la macchina con il tasting ON/OFF, riaccendere dopo un minuto circa e reimpostare il programma. • La spina non è ben inserita nella presa di corrente. • La porta della lavastoviglie non è ben chiusa. |
| La porta non si chiude | • La serratura è scattata; spingere energeticamente la porta fino a sentire il "clack". |
| La lavastoviglie non scarica acqua. | • Il programma non è ancora terminato. • Il tubo di scarico dell'acqua è piegato (vedi Installazione). • Lo scarico del lavello è ostruito. • Il filtrò è intasato da residui di cibo. |
| La lavastoviglie fa rumore. | • Le stoviglie sbattono tra loro o contro gli irroratori. • Eccessiva presenza di schiuma: il detersivo non è dosato adeguamente o non è idoneo al lavaggio in lavastoviglie. (vedi Avvio e utilizzato). |
| Su stoviglie e bicchieri ci sono depositi calcarei o una patina biancastra. | • Manca il sale rigenerante o la sua regolazione non è adeguata alla durezza dell'acqua (vedi Brilliantante e sale). • Il tappo del serbatoio del sale non è chiuso bene. • Il brillantante è esaurito o il dosaggio è insufficiente. |
| Su stoviglie e bicchieri ci sono striature o sfumature bluastre. | • Il dosaggio del brillantante èccessivo. |
| Le stoviglie sono meno asciutte. | • è stato selezionato un programmaenza ascugatura. • Il brillantante è esaurito o il dosaggio è insufficiente (vedi Brilliantante e sale). • La regolazione del brillantante non è adeguata. • Le stoviglie sono in materia antiaderente o in plastica. |
| Le stoviglie non sono pulite. | • I cestelli sono troppo carichi (vedi Caricare i cestelli). • Le stoviglie non sono sistmate bene. • Gli irroratori non sono liberi di ruotare. • Il programma di lavaggio è troppo bando (vedi Programmi). • Eccessiva presenza di schiuma: il detersivo non è dosato adeguamente o non è idoneo al lavaggio in lavastoviglie. (vedi Avvio e utilizzato). • Il tappo delibrantante non è stato chiuso correttamente. • Il filtrò è sporco o intasato (vedi Manutenzione e cura). • Manca il sale rigenerante (vedi Brilliantante e sale). |
| La lavastoviglie non carica acqua - Allarme rubinetto chiuso. (si sentono dei brevi bip)* (lampeggia la spia ON/OFF e il display visualità A-6). | • Manca l'acqua nella rete idrica. • Il tubo di carico dell'acqua è piegato (vedi Installazione). • Aprire il rubinetto e l'apparecchio si avvia dopo pochi minuti. • L'apparecchio si è bloccato perché non si è intervenuti al suono dei bip. Spagnere la macchina con il tasting ON/OFF, aprire il rubinetto e dopo 20 secondi riaccendere premendo lo stesso tasting. Riprogrammare la macchina e riavviare. |
| Allarme al tubo di carico dell'acqua/Fitrino entrata acqua intasato. (lampeggia la spia ON/OFF e il display visualità A-7) | • Spagnere la macchina premendo il tasting ON/OFF. Chiudere il rubinetto dell'acqua per evitare allagamenti, staccare la spina della corrente. Controllare che il filtrò entrata acqua non sua intasato da impurità. (vedere capitolo "Manutenzione e Cura") |
Sol
EN
English,13
ManualeFacile