OD-KICK-S12-EU-PKD - Monopattino elettrico OCEAN DRIVE - Manuale utente e istruzioni gratuiti
Trova gratuitamente il manuale del dispositivo OD-KICK-S12-EU-PKD OCEAN DRIVE in formato PDF.
Scarica le istruzioni per il tuo Monopattino elettrico in formato PDF gratuitamente! Trova il tuo manuale OD-KICK-S12-EU-PKD - OCEAN DRIVE e riprendi in mano il tuo dispositivo elettronico. In questa pagina sono pubblicati tutti i documenti necessari per l'utilizzo del tuo dispositivo. OD-KICK-S12-EU-PKD del marchio OCEAN DRIVE.
MANUALE UTENTE OD-KICK-S12-EU-PKD OCEAN DRIVE
Istruzioni per l'uso e la manutenzione
(Istruzioni originali)
- Il presente manuale è stato realizzato allo scopo di fornire tutte le informazioni necessarie per utilizzare il monopattino in maniera corretta e sicura per se e per gli altri.

ATTENERSI CON SCRUPOLO ALLE ISTRUZIONI CONTENUTE IN QUESTO MANUALE ! LEGGERE E COMPRENDERE QUESTO MANUALE PRIMA DI UTILIZZARE IL MONOPATTINO.
2. NORME GENERALI DI SICUREZZA
- Definizioni dei symboli presenti nel manuale.

NOTA
Evidenzia particolari informazioni che meritano di essere messe in risalto rispetto al testo come ad esempio consigli e suggerimenti.

AVVERTENZA
Compare nel corso dialcune procedure che se non vengono rispetto o eseguite correttamente, possono causare danni al monopattino o problemi all'utilizzatore.

ATTENZIONE!
COMPARE PRIMA DI ALCUNE PROCEDURE, CHE SE NON VENGONO RISPETTATE O ESEGUIDE CORRETTAMENTE, POTREBBERO CAUSARE ALL'OPERatore INFORTUNI, ANCHE GRAVI O ADDIRITTURA LA MORTE.
3. DESTINAZIONE D'USO
- Il monopattino elettrico, oggetto del presente manuale è un mezzo di trasporto ecologico progettato e realizzato per il trasporto di una persona alla volta.

L'uso IMPROPRIO DEL MONOPATTINO RENDE L'UTILIZZATORE UNICO RESPONSABILE IN CASO DI DANNI A SE STESSO E/O A PERSONE, COSE O ANIMALI.
4. AVVERTENZE GENERALI DI SICUREZZA
- Leggere attendamente il presente manuale di istruzioni prima di utilizzato il monopattino e conservarlo con cura eventuali utilizzi futuri.
- Verificare prima di anni utilizzato l'integrità meccanica del monopattino. In caso si riscontrino anomalie, cricche o altri segni di deterioramento, non utilizzato il monopattino e farlo verificare dal rivenditore o da personale qualificato e autorizzato.
Il mancato rispetto di quanto riportato nel presente manuale di istruzioni espone l'utilizzatore al rischio di cadere o di investire altre persono o cose con consequences che potrebbero essereanchese gravi. - Per prevenir infortuni, nel manuale sono presenti dei symboli (descritti nel paragrafo "2") utilizzati per contrassegnare le precauzioni di sicurezza. Le avvertenze che arrivagnano questi symboli devono essere sempre seguite attendamente.
L'utilizzo del monopattino da parte di persona con età compresa tra 14 e 18 anni precede l'uso obligatorio di un casco omologato e indossato correttamente (verificare il limite di età previsto per legge nel luogo di utilizzato). Tuttavia si consiglia di utilizzato SEMPRE il casco e altri strumenti di protezione individuale quali ginocchiere, gomitiere e guanti. Si consiglia di indossare calzature piatte. - Questo apparecchio può essere utilizzato da bambini di età pari o superiore a 8 anni e da persona con ridot-
te facoltà fisiche, sensoriali o mentali nonché da persone privile di sufficiente esperienza o conoscenza dello stesso SOLO se sorvegliate da una persona responsabile della loro sicurezza o se istruite in merito all'utilizzo sicuro dell'apparecchio e consapevoli degli eventuali rischi derivanti da un utilizzo improprio. I bambini non devono giocare con il dispositivo. La pulizia e la manutenzione non devono essere eseguite da bambini sulla supervisione.
- Eventuali riparazioni devono essere eseguite SOLO dal personale qualificato edabilitato. Ripare da se il monopattino può essere pericoloso!
- Prima di utilizzato il monopattino, soprattutto in zone affollate o sulla strada, si consiglia di prenderne dimestichezza.
- Controllare che non ci siano normative di legge che proibiscano l'uso del monopattino elettrico, rispetto la segnaletica stradale.
- Quando si accede a spazi pubblici, rispettoare sempre le leggi e le normative locali.
- Come con altri veicoli, velocità maggiori richiedono una distance di frenata maggiore. Una frenata improvisa soprattutto in presenza di superfici bagnate o non omogenee (per esempio in presenza di terriccio o sabbia) potrebbe portare a scivolare e/o cadere.
-
Prestare attenzione e mantenere sempre una distance sicura tra se stessi e le altre persone o veicoli quando si guida; rallentare quando si entra in aree sconosciute.
Rispettare i pedoni, dando loro sempre la precedenza. -
Sorpassare a sinistra SOLO quando possible.
- Quando ci si avvicina a un pedone alla parte anteriore, rimanere a destra e rallentare. Evitare i pedoni insicuri nella loro marcia.
-
Quando ci si avvicina da detro, farsi notare con il campanello presente sul manubrio e rallentare portandosi alla velocità di marcia normale quando si sorpassa; il monopattino è particolaremente silenzioso quindi evitare di spaventare i pedoni.
-
Quando si accede a luoghi non presidiati alla legge, rispetto le linee guida di sicurezza descripte in quello manuale e guidare con attenzione e prudenza.
Per guidare in modo sicuro, è necessario essere chiaramente visibileagli altri ed essere in grado di vedere chiaramente ciò che sta davanti a sé; una buona visibilità è la prima condizione di sicurezza.
-
Alcune persone NON devono guidare il monopattino:
-
Chiunque sua ricerca l'influenza di alcohol o droghe.
Chi soffre di malattie che lo mettono a rischio se esercita in una faticosa attività fisica. - Chiunque abbia problemi di equilibrio o dificoltà motorie che possono interferire con la sua capacité di mantenere l'equilibrio.
- Chiunque abbia un peso al di fuori dei limiti indicati (vedere Specifiche).
- Le donne in stato di gravidanza.
Non prestare il monopattino a chi non è stato addestrato al suo utilizzo e che non indossi l'equipaggiamento protettivo appropriato.
- Evitare di utilizzato il monopattino在整个 pioggia.
- Rallentare su strade dissestate, marciapiedi o un altro rivestimento stradale particolare e non omogeneo. Su strade molto dissestate si consiglia di Maintainere una velocità Bassa (tra 5 e 10 km/h al massimo). Rimanendo flessibili sulle ginocchia è più semplice adattarsi alle strade dissestate.
- Prestare attenzione alle porto o ad altri ostacoli in altezza.
Non accelerometer in discesa.
Non accelerare quando si cammina di fianco al veicolo.
- Prestare attenzioneagli eventuali ostacoli che possono presentarsi durante l'uso del monopattino.
Guidare SEMPRE in maniera calma e concentrata, non fare acrobazie con il monopattino.
Nonambiare bruscamente direzione ad alta velocità.
Non guidare su acqua, fango o neve o su chiazze d'olio o superfici ghiacciate.
Non salire sul monopattino con un bambino.
- É vietato posizionarsi e concentrare il peso sul parafango posteriore.
Non toccare il freno a disco; pericolo di scottatura!
Non lasciare andare il manubrio nelle si guida; impugnare saldamente le manopole.
Non saltare ostacoli e non percorrere scale con il monopattino; si rischiano incidenti e danni al veicolo.
Il monopattino è dotato di cavalletto; quando si parcheggia assicurarsi che il monopattino sia stabile e non possa accidentallymente cadere. Potrebbe danneggiarsi o procurare danni a cose o personne.
- Temperatura ottimale di utilizzato del monopattino: -10 ÷ +45^ C
- Temperatura di conservazione del monopattino: -10 ÷ +25^ C
Il monopattino non è adatto per essere utilizzato ad altitudini superiori a 2000 m sul livello del mare.
L'esposizione prolungata del monopattino ai raggi UV, alla pioggia eagli agenti atmosferici cui danneggiare i materiali dell'involucro. Conservare il monopattino al chiuso o in luogo protetto quando non in uso.
- Prima di anni utilizzato del monopattino accertarsi che non ci siano componenti allentati.
Il monopattino non può essere utilizzato da persone il cui peso complessivo sia inferiore a 45kg o superiore a 120kg .
- Nessuna parte del monopattino è riparabile dall'utente. Rischio di incendio e di shock elettrico.
5. AVVERTENZE PER L'USO DELLA BATTERIA
Non utilizzato il monopattino se la batteria è in una delle seguenti condizioni:
La batteria è danneggiata.
- La batteria rilascia un odore e/o un calore anomalo.
Dalla batteria furiesce liquido.
Non avviare il monopattino durante la ricarica della batteria.
- Se l'indicazione della carica della batteria在哪的一角,se consiglia di rallentare e interrompere la guida.
- Utilizzare SOLO il caricabatteria fornito in dotazione per ricaricare la batteria; un caricabatterie diverso potrebbe danneggiarla irreparabilmente o causare un incendio.
Non toccare i contatti della batteria e non aprire il vano batteria. Non porre oggetti metallici a contatto con la batteria: ciò potrebbe causare cortocircuiti e danneggiare la batteria o persino ferire,anche gravamente l'utente.
In caso di dismissione del monopattino o sostituzione della batteria, non smaltire quest'ultima con i rifiuti domestici.Seguire le norme ambientali locali sul riciclaggio.
Non usare batterie di modello diverso da quello originale; l'uso di un caricabatterie diverso potrebbe danneggiare il dispositorio o causare un incendio.
- Ricaricare la batteria dopo anni utilizzato del monopattino ne prolunghera la resistenza e la prestazione.
Non utilizzato la batteria in ambienti estremi (-20^; +50^) , ciò potrebbe causare malfunzionamenti o persino rischio di incendio.
Non esporre la batteria al sole troppo a lungo (ad esempio, nel bagagliazio dell'auto) e non gettarla nel fuoco, potrebbe causare un'esplosione.
- E necessario ricaricare completeness la batteria agli mese per evitare di danneggiarla. In caso contrario, la batteria potrebbe entra in stato di auto-protezione e non può essere ricaricata. In quello caso, contattare il proprio rivenditore.
- Tempi troppo lunghi tra una ricarica e quella successiva potrebbero danneggiare la batteria in maniera irreversibile.
- Procedere con la carica della batteria in ambienti asciutti, lontano da combustibili ed elementi infiammabili.
La sostuzione della batteria deve essere effettuata SOLO da riparatori autorizzati.
Non lasciare che bambini o animali tocchino la batteria o il caricabatteria durante la fase di ricarica.
- Temperatura di ricarica della batteria: +10 ÷ +40^ C .
- Quando il caricabatterie è collegato al monopattino tutte le funzioni elettriche e il motore vengono inibite per evitare surriscaldamenti o danneggiamento dei componenti.
Il cavo esterno del caricabatterie non può essere sostituito. Sostituire il caricabatterie se il cavo è danneggiato.
La batteria delve essere rimossa dall'apparecchio prima della rottamazione di quest'sultimo.
Scollegare l'apparecchio alla rete di alimentazione prima della rimozione della batteria.
- Eliminare la batteria in maniera sicura.
Utilizzato SOLO il caricabatterie (FCA136-546020) fornito insieme all'apparecchio per la carica della batteria.
Qualsiasi manomissione o modifica del monopattino solleva il produttore e/o il rivenditore da agli responsabilità e rende l'utilizzatore stesso unico responsable verso gli organi competenti.
6. DICHiarazione DI CONFORMITA CE
CE
- Si dichiera che il prodotto oggetto del presente manuale è conforme alle seguenti Direttive Europee (certificato fornito in allegato):
2006/42/CE
2014/30/EU
EN17128:2020
7. CORRETTO SMALTIMENO DI QUESTO PRODOTTO

Attuazione della Direttiva 2006/66/UE
Il monopattino funzione con batterie che rientrano nella Direttiva Europea 2006/66/CE e che non possono essere smaltite con i normali rifiuti domestici. Informarsi sulle normative locali relative alla raccolta differenziate delle batterie: un corretto smaltimento permette di evitare seguenze negative per l'ambiente e la salute. La batteria è da smaltire al termine della vita utile del prodotto. I centri di recupero e riciclaggio sono eseguire lo smontaggio del prodotto e la rimozione della batteria.

Attuazione della Direttiva Europea 2012/19/UE sui rifiuti di apparecchiature elettriche ed elettroniche (RAEE)
Il simbolo del cassetto barrato riportato sull'apparecchiatura indica che il prodotto alla fine della propria vita utile deve essere raccolto separamente dagli altri rifiuti. L'utente dovrā, pertanto, conferire l'apparecchiatura integra dei componenti essenziali giunta a fine vitaagli idonei centri di raccolta differenziata dei rifiuti elettronici ed elettrotecnici, oppure riconsegnarla al rivenditore al momento dell'acquisto di nuova apparecchiatura di tipo equivalente, in ragione di uno a uno, oppure uno a zero per le apparecchiature aventi lato maggiore inferiore a 25 cm. L'adeguata raccolta differenziata per l'avvio successivo dell'apparecchiatura dimessa al riciclaggio, al trattamento e allo smaltimento ambientale compatible contribuisce ad evitare possibili effetti negativi sull'ambiente e sulla salute e favorisce il riciclo dei materiali di cui è composta l'apparecchiatura. Lo smaltimento abusivo del prodotto da parte dell'utente comporta l'applicazione delle sanzioni amministrative previste per legge.
8. RIMOZIONE IMBALLO
- Il monopattino è contentuto in un imballo in cartone con apposite protezioni per salvaguardarlo da eventuali urti o danneggiamenti.
- Una volta aperto l'imballo, procedere all'estrazione del monopatti-no e degli altri componenti.

Considerato il peso del monopattino (kg 31), si consiglia di eseguire l'opération in due persona.
- Contenuto della confezione
a Monopattino
b Carica batteria
Cavodialimentazionecaricabatterie
d Viti (4 pz.)
e Chiave a brugola da 6 mm
f Libretto di istruzioni

Se all'interno della scatola manca qualcuno dei componenti sopra elencati, rivolgersi al rivenditore.

Gli elementi dell'imballaggio (sacchetti in plastica, polistirolo espanso, ecc.) NON devono essere lasciati alla portata dei bambini in quanto potenziali fonti di pericolo.

9. DESCrizIONE MONOPATTINO
- Telao/ Pedana
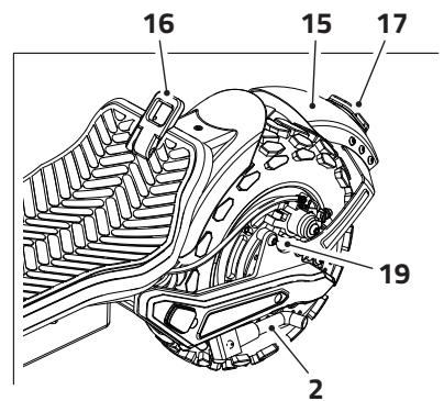
- Cavalletto
- Ruota anteriore
4: Parafango anteriore
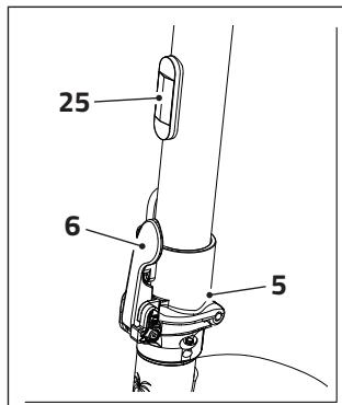
5 Snodo ripiegamento
6: Leva di aggancio -
Barra manubrio
-
Gancio
-
Manubrio
10 Luce anteriore
11a-Leva freno anteriore
11b-Leva freno posteriori
12-Leva acceleratore
13 Campanello -
Display
15- Parafango posteriore
16 Chiusura di ripiegamento
17 Luce posteriori - Ruota posteriore / Motore
- Freni a disco
- Battery
21 Presa per caricabatteria
22. Manopole
23. Inditori di direzione
24. Tasto indicatori di direzione
25-Catarifrangenti
26Sospensioni





10. DISPLAY E TASTI FUNZIONI
26 Tasto ON/OFF - Scelta funzione
- Pressione lunga: ON/OFF accensione display
-
Pressione breve: scelta funzione
-ODO: Contachilometri totale
TRIP: Contachilometri parziale -
Tasto luci / selezione velocità
-
Pressione lunga: ON/OFF luci anteriore e posteriori (si accendeanche l'icona sul display)
- Pressione breve: selezione velocità
1: velocità minima | 0 ÷ 6 km/h
2: velocità media | 7÷15 km/h
- 3: velocità massima | 16 ÷ 25 km/h
- Presa di ricarica usb
- Tachimetro (km/h - mph)
- Contachilometri (km/h - mph) (totali - parziali)
- Velocità selezionata (1/2/3)
- Indicatore livello batteria
33Bluetooth attivo - Luci accese
- Malfunzionamento freni
- Funzione "cruise control" attivata
-
Funzione "walking mode" attivata
-
Funzione "cruise control"
Il monopattino è dotato della funzione "cruise control". Per attivarla, raggiungere la velocità di crociera desiderata e tenere premuta la leva dell'acceleratore per 9 secondi. L'insertimento della funzione "cruise control" viene segnalata da un segnale acustico e dall'accensione dell'icona. Per disattivare la funzione, agire su uno dei due fremi.

11. ASSEMBLAGGIO MONOPATTINO
- Dopo aver rimioso il monopattino dall'imballo e verificato che tutto è conforme a quanto riportato nel paragrafo "8", occorre assemblare le parti smontate.
a- Aprire il cavalletto (2) e posizionare il monopattino su una superficie pianà.
b- Premere la chiusura di ripiegamento (16) per sganciare la barra manubrio (7).
c-Sollevare la barra manubrio (7).
d- Sollevare la leva di aggancio (6) e spingerla contro la barra manubrio (7) sino a sentire il "click" di aggancio.

e- Posizione are il manubrio (9) sulla barra manubrio (7) facendo attenzione a non danneggiare i cavi presenti.
f- Tramite la chiave a brugola da 6 mm fornita in dotazione, avvi-tare le 4 viti che fissano il manubrio (9) alla barra manubrio (7).

Primadiutilizzareilmonopattino,assicurarsi chele4vitisiano benserrate.Inoltreverificare periodicamente il corretto serraggio delle 4 viti.


12. RICARICA DELLA BATTERIA
- Il monopattino è dotato di una batteria ricaricabileagli Ioni di Litio e di un caricabatteria idoneo alla corretta ricarica.

Utilizzare SOLO il caricabatteria (FCA136-546020) fornito in dotazione per ricaricare la batteria.
- Al primo utilizzato si consiglia di caricare completamente la batteria (tempo massimo di ricarica 6/8 ore).
- Quando è necessario ricaricare la batteria (il livello di carica residua è indicata dai led sul display (vedere paragrafo "10"), operare come segue:
a- Aprire il cavalletto (2) e posizionare il monopattino su una superficie pianà.
b: Rimuovere il tappino alla presa di ricarica (21) della batteria.
C-Inserire lo spinotto (38) nella presa di ricarica (21) della batteria.
d· Collegare il cavo di alimentazione elettrica (39) al carica batteria (20).
e: Inserire la spina (40) del carica batteria (20) nella presa di corrente. Il led sul carica batterie si accende di "rosso" perindicare che è in corso la ricarica.
A carica ultima t il led diventa di colore "verde".


Assicurarsi che la tensione direte corrisponda con quanto indicate sul carica batteria (100-240V~ 50/60Hz).
f. A carica ultimata scollegare i cavi e richiudere il tappino nella presa di ricarica (21) della batteria.

12.1 - CURA DELLA BATTERIA
- La batteria delve essere ricaricata dopo agli utilizzato.
-
Se il monopattino non viene utilizzato per molto tempo, si raccomanda di caricare la batteria almeno una volta al mese. In caso contrario, la batteria entra in stato di auto-protezione e non può essere ricaricata. In questo caso, contattare il proprio rivenditore.
-
Il caricabatterie è dotato della funzione di auto-protezione da sovraccarico, la batteria smette automaticamente di caricarsi una volta raggiunto il 100% di carica.
- Nonutilizzare il caricabatteria in luoghi bagnati o umidi.
- Non ricaricare la batteria se la presa (21), i cavi di ricarica o il caricabatteria sono bagnati o umidi.
- Caricare la batteria quando sul display resta accesa solo l'ultima tacco.
- Non ricaricare la batteria se presenta segni di danneggiamento o perdite di liquido.
- I danni causati da un insufficiente carica di mantenimento non sono coperti alla garanzia.
13. UTILIZZO DEL MONOPATTINO

Prima di utilizzato il monopattino assicurarsi di aver letto e compreso tutto quando è riportato nel presente documento. Eventuali infortuni o danni causati da un utilizzo non corretto del monopattino solleva il produttore e il rivenditore da agli responsabilità e rende l'utilizzatore"Thiso unico responsable adverso gli organi competenti.

Indossare correttamente il casco è altri strumenti di protezione individuale quali ginocchiere, gomitiere e quanti. Si consiglia di indossare calzature piatte.
- Impugnare correttamente le manopole (22) e sollevare il cavalletto (2).
- Tenere premuto il tasto di accensione ON/OFF (26) per accendere il display.
- Assicurarsi che la batteria sia sufficientemente carica.
- Premere brevamente il tasto (27) per selezione il livello di velocità desiderato (da "1" a "3")
$$ 1 ^ {\prime \prime} = 0 \div 6 \mathrm {k m / h} | ^ {\prime \prime} 2 ^ {\prime \prime} = 7 \div 1 5 \mathrm {k m / h} | ^ {\prime \prime} 3 ^ {\prime \prime} = 1 6 \div 2 5 \mathrm {k m / h} $$

- Posizione are un piede sulla pedana e con l'altro spingersi in avanti mantenendo l'equilibrio.
- Contemporaneously premere la leva dell'acceleratore (12); quando la velocità supera i 4 km/h il motore si collega.

- Posizione areanche l'altro piede sulla pedana e guidare con prudenza e attenzione.
- Durante l'utilizzo è possible modificare la velocità premendo o ri-lasciando la leva acceleratore (12) o modificando il livello di velocità desiderato.
-
Per rallentare:
-
rilasciare la leva acceleratore (12);
- oppure tirare la leva freno anteriore (11a); in esta condizione il motore si disattiva;
- oppure tirare la leva freno posteriore (11b); in questa condizione il motore si disattiva.
- É possibile utilizzatoanche tutte le opzioni contemporaneamente.
- Per una frenata più decisa, tirare entrambé le leve freno (11a) (11b).

Frenando con decisione ci si espone a possibili scivolamenti o cadute;mantene una velocità moderata e fare attenzione ai rischi potenziali.

13.1 - CONSIGLI PER IL CORRETTO UTILIZZO
a. Per svoltare, spostare il peso del corpo e girare leggermente il manubrio.
b- Prestare attenzione alla testa quando si passa molto ad un ostacolo.
C- Controllare la velocità se si va in discesa; utilizzare entrambi i freni quando si viaggio ad alta velocità.
d. NONutilizzare il monopattino sotto la pioggia.
e. Non guidare il monopattinoattraverso pozzanghere o altri ostacoli (con acqua). In tali casi, ridurre la velocità e aggirare l'ostacolo.
f. NONutilizzare il monopattino in due,ne trasportare alcun passeggero.Nontrasportare un bambino.
g. Mantenere la velocità moderata (tra i 5 e i 10 km/h) durante la guida su rallentatori di velocità, strade accidentate o altre superfici irregulari. Piegare leggermente le ginocchia per adattarsi meglio a tali superfici.

a

b

C

d

f
g

Max. 5-10 km/h
h. NON trasportare oggetti pesanti o ingombranti sul manubrio.
i. NON guidare il monopattino con un solo piede.
j. NON togliere le mani dal manubrio durante la guida. Non guidare con una sola mano.
k. NON salire su e giù per le scale o saltare sugli ostacoli.
1. NON ruotare bruscamente il manubrio soprattutto se si procede ad alta velocità.
m· Adeguare la velocità al tipo di strada ed alle condizioni del fondo stradale.
n. Dare la precedenza ai pedoni.


14. RICHIUDERE E TRASPORTARE IL MONOPATTINO
a. Aprire il cavalletto (2) e posizionare il monopattino su una superficie pianà.
b- Spagnere l'apparecchio tenendo premuto il tasto di accensione ON/OFF (26).

Cimpugnare la barra manubrio (7) con una mano.
d- Con l'altra mano tirare la leva di aggancio (6).
e. Piegare la barra manubrio (7) sulla chiusura di ripiegamento (16) quando spingerla verso il basso per agganciarla (sino a sentire il "click" di aggancio).

Assicurarsi che la barra manubrio si sa correttamente agganciata alla chiusura di ripiegamento.

f. Per sollevare il monopattino, impugnare la barra manubrio (7) equilibrandone il peso.
g Se necessario, svitare le viti erimuovere il manubrio (9).
h: Riporre il monopattino in un luogo asciutto e lontano da umidi-tà.
Non ripore il monopattino all'aperto.
L'ecccessiva esposizione al sole, al caldo o al freddo può dan-neggiare il monopattino e accelerare l'usura delle gomme e della batteria.
Eventually ripore il monopattino nella scatola originale.


15. MANUTENZIONE
- In generale, quando si pulisce il monopattino, assicurarsi che sia spento e che il cavo di ricarica della batteria sia scollegato e il tappino della presa di ricarica sull'apparecchio sua chiuso (vedere paragrafo "12" - punto "f").
- Per pulire il monopattino utilizzato un panno morbido e leggermente umido. Se la pulizia risulta più difficile del previsto, si consiglia di utilizzato uno spazzolino da denti eventualmente aggiungendo del dentificchio per rimuovere lo sporco più ostinato. Rimuovere il dentificchio e i residui con un panno morbido e leggermente umido.

NONutilizzarealcool,benzina oaltrisolventi, prodotti chimici corrosiviondeevitaredannegliare il monopattino sa nell'aspetto estetico che nella struttura interna. NONusare pistole adalta pressione per pulire il monopattino.
- Quando non si utilizza il monopattino, conservarlo in un luogo asciutto e lontano da umidità.
- Non ripore il monopattino all'aperto. L'ecessiva esposizione al sole, al caldo o al freddo può danneggiare il monopattino e accelerare l'usura delle gomme e della batteria.
15.1 - REGOLAZIONE DEI FRENI A DISCO

Nontoccareidischifrenosubitodopoll'utilizzo del monopattino.Pericolo di scottatura!
- Se il freno risulta troppo stretto, utilizzare la chiave a brugola in do-tazione per svitare la vite di fermo (41) quando rilasciare la pressione del cavo del freno. Accorciare il cavo e serrare la vite di fermo (41). Se il freno è troppo lento, eseguire l'operazione opposta e prolongare il cavo del freno.
- Per la regolazione fine della frenata, intervenire sulla vite di registro (42) della leva freno (11a)(11b) e/o sulla vite di registrar (43) del gruppo freno a disco.
- A regolazione ultimata serrare la ghiera (44).

16. INCONVENIENTI E RIMEDI
- Il monopattino non si muove dopo l'avvio.
- Il freno non è completamente ripristinato.
Questo interrompe l'alimentazione. -
Riportare il freno in posizione.
-
Il monopattino si muove a bassa velocità o non si muove affatto.
-
La batteria è scarica.
-
Ricaricare la batteria.
Sostituire la batteria(1).
Il motore si avvia e si spegne di nuovo.
- La batteria è scarica.
Sostituire la batteria (1). - Il controller è danneggiato.
- Sostituire il controller ^(1) .
-
Il collegamento della batteria è lento.
Regolare connettori della batteria (1). -
La batteria non può essere caricata o si è caricata lentamente.
-
La tensione non è corretta.
-
Eseguire la manutenzione della batteria o cancellare la batteria ^(1) .
-
La batteria non si carica.
-
Il ciclo di vita della batteria è giunto al termine.
Sostituire la batteria(1). - Il caricabatteria non emette potenza.
Sostituire il caricabatteria (1). - La presa di ricarica è danneggiata.
- Sostituire la presa di ricarica ^(1)
Codici di erreore
- É possibile che vengano visualizzati i seguenti codici errore. Il monopattino smetterà di funzionare in queste condizioni.
EO = Errore di comunicazione
E1 = Corrente anomala
E2 = Guasto dell'acceleratore
E3 = Guasto del freno
E4 = Guasto MOS / Guasto per sovracorrente
E5 = Hall / Guasto motore
E6 = Guasto al motore
E7 = Errore di bassa tensione - In caso di problemi non risolvibili, contattare il rivenditore.
17. GARANZIA
- Leggere attendamente le istruzioni del manuale prima di utilizzato il monopattino elettrico.
- Non usare il monopattino elettrico quando vietato alla legge. Non usare il monopattino elettrico quando può causare pericolato al conducente e alle persona/cose limitrofe.
- Il prodotto è garantito per un periodo di 2 anni alla data di acquisito con scontrino, o di 1 anno alla data di acquisito con fattura. La garanzia ha validità solamente se è comprovata alla prova d'acquisito valida (scontrino fiscale per il Consumatore), che deve essere presentata all'atto della richiesta di intervento. Il prodotto non conforme dovrè essere riconsegnato nell'imballo originale, completo di tutti gli accessori.
- Terminate di garanzia della batteria: mesi 6.
- La garanzia non si applica in caso di danni provocati da incuria, uso o installmente non conformi alle istruzioni fornite, manomissione, modifiche del prodotto o del numero di matricola, danni dovuti a cause accidentali o a negligenza dell'acquirente con particolare riferimento alle parti esterne. Sono esclude dalla garanzia le parti soggette a usura in seguito all'utilizzo: cavi, connettori, parti esterne e supporti in plastica, che non presentino difetti di fabbricazione.
- Per l'assistenza tecnica dei prodotti in garanzia rivolgersi al Rivenditore presso cui è stato acquistato il prodotto, che si occupera della verificata preliminare del difetto e provvedera all'invio al centro di assistenza.
- La garanzia non copre la corrosione del prodotto.
18. DATI TECNICI
| Dimensioni | Dimensione monopattino aperto | 1295 x 470 x 1340 mm |
| Dimensione monopattino richiuso | 1295 x 470 x 580 mm | |
| Dimensione imballo | 1340 x 250 x 630 mm | |
| Peso | Peso massimo utilizzato | 120 kg |
| Peso minimo utilizzato | 45 kg | |
| Peso netto monopattino | 31 kg | |
| Peso monopattino imballato | 37,5 kg | |
| Requisiti di guida | Altezza utilizzato | 130 ÷ 200 cm |
| Specifiche | Velocità massima | 25 km/h (può variare in base al suolo e al peso) |
| Autonomia massima | 55 km (può variare in base al peso) | |
| Angolo di arrampicata | 15% | |
| Presa USB | 5V - 0.5A | |
| Temperatura operativa | -10°C ÷ +45°C | |
| Temperatura di stoccaggio | -10°C ÷ +25°C | |
| Umidità relativiva | ≤ 75% RH | |
| Livello di impermeabilità | IPX4 |
| Batteria | Tipo | Batteria al Litio tipo 18650 |
| Capacità | 48 V / 15 Ah | |
| Autonomia massima | 55 km | |
| Tempo di ricarica | 6 ÷ 8 ore | |
| Input | 100 - 240 V AC 50 / 60 Hz 1.8 A (max.) | |
| Output | 54.6 V DC - 2.0 A | |
| Alimentatore elettrico | FCA136-546020 | |
| Motore | Tipo | Brushless a risparmio energetico |
| Potenza nominale | 48 V - 500 W | |
| Ruote | Tipo | Pneumatico ad aria |
| Diametro | 11" | |
| Caratteristica | Ampio battistrada tassellato |
ManualeFacile