OD-KICK-S12-EU-PKD - Trottinette électrique OCEAN DRIVE - Notice d'utilisation et mode d'emploi gratuit
Retrouvez gratuitement la notice de l'appareil OD-KICK-S12-EU-PKD OCEAN DRIVE au format PDF.
| Type d'appareil | Trottinette électrique |
| Modèle | Non précisé |
| Utilisation | Tout-terrain |
| Vitesse maximale | Non précisé |
| Autonomie | Non précisé |
| Temps de charge | Non précisé |
| Poids | Non précisé |
| Capacité de charge | Non précisé |
| Type de pneus | Tout-terrain |
| Suspension | Non précisé |
| Freins | Non précisé |
| Éclairage | Non précisé |
| Affichage | Non précisé |
| Connectivité | Non précisé |
| Dimensions pliée | Non précisé |
| Dimensions dépliée | Non précisé |
| Matériau du cadre | Non précisé |
FOIRE AUX QUESTIONS - OD-KICK-S12-EU-PKD OCEAN DRIVE
Téléchargez la notice de votre Trottinette électrique au format PDF gratuitement ! Retrouvez votre notice OD-KICK-S12-EU-PKD - OCEAN DRIVE et reprennez votre appareil électronique en main. Sur cette page sont publiés tous les documents nécessaires à l'utilisation de votre appareil OD-KICK-S12-EU-PKD de la marque OCEAN DRIVE.
MODE D'EMPLOI OD-KICK-S12-EU-PKD OCEAN DRIVE
Instructions d'utilisation et d'entretien
(Traduction des instructions d'origine)
- Ce manuel a été créé afin de fournir toutes les informations nécessaires pour utiliser la trottinette correctement et en toute sécurité, pour vous-même et pour les autres.

SUIVRE ATTENTIVEMENT LES INSTRUCTIONS FIGURANT DANS CE MANUEL! LIRE ET COMPRENDRE CE MANUEL AVANT D'UTILISER LA TROTTINETTE.
2. NORMES GÉNÉRALES DE SECURITÉ
- Définitions des symboles présents dans le manuel.

NOTE
Met en evidence des informations particulieres qui mériment d'être sou lignées dans le texte telles que des trucs et astuces.

AVERTISSEMENT
Apparait lors de certaines procedures qui, si elles ne sont pas suivies ou exécutées correctement, peuvent cause des dommages à la trottinette ou des problèmes pour l'utilisateur.

ATTENTION!
APPARAIT AVANT CERTAINES PROCÉDURES QUI, SI ELLES NE SONT PAS SUIVIES OU EXECUTÉES CORRECTEMENT, PEUVENT ENTRAIÑER DES BLESSURES, VOIRE LA MORT.
3. DESTINATION D'USAGE
- La trottinette électrique, objet de ce manuel, est un moyen de transport écologique conçu et construit pour le transport d'une personne à la fois.

UNE MAUVAISE UTILISATION DE LATROTTINETTE FAIT DE L'UTILISATEURLE SEUL RESPONSABLE EN CAS DE DOMMAGES À LUI-MÉME ET/OU AUX PERSONNES, AUX CHOSES OU AUX ANIMAUX.
4. AVERTISSEMENTS GENÉRAUX DE SECURITÉ
-
Lire attentivement ce manuel d'instructions avant d'utiliser la trottinette et le conserver en lieu sur pour une utilisation future.
Vérifier l'intégrité mécanique de la trottinette avant chaque utilisation. En cas d'anomalies, de fissures ou autres signes de déterioration, ne pas utiliser la trottinette et la faire vérifier par le concessionnaire ou par du personnel qualifié et autorisé.
Le non-respect des instructions figurant dans ce manuel d'instructions expose l'utilisateur au risque de chute ou de heures vis-à-vis d'autres personnes ou objets, avec des conséquences qui pourrait également être graves.
Pour éviter les blessures, ce manuel contient des symboles (décrits au paragraphe « 2 ») utilisés pourmettre les mesures de sécurité en évidence. Les averissements accompagnant ces symboles doivent toujours être attentivement suivis.
L'utilisation de la trottinette par des personnes âgées de 14 à 18 ans nécessite l'utilisation obligatoire d'un casque homologué correctement porté (verifier la limite d'âge légal du lieu d'utilisation). Toutefois, il est recommandé de TOUJOURS utiliser un casque et autres équipements de protection individuelle tels que des genouillères, des coudières et des gants. Il est recommandé de porter des chaussures plates. -
Cet apparéil peut être utilisé par des enfants âgés d'au moins 8 ans et par des personnes ayant des capacité physiques, sensorielles ou mentales réduites ou dénuées d'expérience ou de connaissance, s'ils (si elles) sont correctement surveillée(e)s ou si des instructions relatives à l'utilisation de l' apparéil en toute sécurité leur ont été données et si les risques encourus ont été appréhendés. Les enfants ne doivent pas jouer avec l' apparéil. Le nettoyage et l'entretien par l'usager ne doivent pas être effectuels par des enfants sans surveillance.
-
Toute réparation doit être effectuee UNIQUEMENT par du personnel qualifie et autorisé. Réparer soi-même une trottinette peut être dangereux!
Avant d'utiliser la trottinette, notamment dans les zones bondées ou sur la route, il est conseilé de commencer par s'y familiariser. - Vérifier qu'aucune réglementation légale n'interdise l'utilisation de la trottinette électrique et respecter les panneaux de signalisation.
Lorsque you entrez dans des espaces publics, respecter tous les lois et reglementations locales. - Comme pour les autres vehicules, des vitesses plus élevées nécessitent une distance de freinage plus longue. Un freinage brusque, surtout en présence de surfaces mouillées ou irrégulières (ex : en présence de saleté ou de sable), peut entraîner des glissades et/ou des chutes.
- Faire attention et toujours garder une distance de sécurité entre vous et les autres personnes ou vehicules durant la conduite. Ralentir lorsque vous entrez dans des zones inconnues.
-
Respecter les piétons, en leur donnant toujours la priorité.
-
Doubler à gauche UNIQUEMENT lorsque cela est possible.
Lorsqu'un pieton se rapproche de la partie avant de la trottinette, tener la droite et ralentir. Éviter de croiser des piétons ne marchant pas de façon sure.
Lorsque la trottinette arrive derrière des piétons, indiquer votre présence en utilisant la sonnette présente sur le guidon et ralentir à une vitesse normale de dépassement. La trottinette est particulièrement silencieuse afin d'éviter d'effrayer les piétons. -
En cas de conduite dans des lieux non habités, observer les consignes de sécurité décrites dans ce manuel et conduire avec attention et prudence.
Pour conduire en toute sécurité, il est nécessaire d'être clairment visible par les autres autres etre en mesure de voir clairment ce qui se trouve devant soi. Une bonne visibilité est la première condition de sécurité.
Certaines personnes ne devraient PAS conduire la trottinette :
Toute personne sous l'influence de l'alcool ou de drogues;
- Quiconque souffre de maladies susceptibles d'impliquer un danger en cas de pratique d'une activité physique intense;
- Toute personne ayant des problèmes d'équilibre ou des difficultés à marcher susceptibles de nuire à sa capacité àmaintenir l'équilibre;
Toute personne dont le poids depasse les limites indiquees (voir Spécifications) ;
- Les femmes enceintes.
- Ne pas préter la trottinette à une personne non formée à son utilisation et ne disposant pas de l'équipement de protection approprié.
- Éviter de conduire la trottinette sous la pluie.
- Ralentir sur les routes en mauvais état, les trottoirs ou autre surface particulière et non homogène. Sur les routes très cahoteuses, il est conseilé deMAINER une faible vitesse (entre 5 et 10km / h maximum). Maintenir la flexibilité au niveau des genoux permet de s'adapter plus facilement aux mauvaises routes.
Faire attention aux portes ou autres obstacles en hauteur. - Ne pas accélérer en descente.
- Ne pas accélérer lorsque vous marchez à côté du vehicule.
Faire attention à tous les obstacles pouvant survenir lors de l'utilisation de la trottinette.
TOUJOURS rouler calmement et avec concentration, et ne pas faire de cascades avec la trottinette. - Ne pas changer brusquement de direction à grande vitesse.
Ne pas conduire sur l'eau, la boue ou la neige ou sur des taches d'huile ou surfaces gelées. - Ne pas conduire la trottinette avec un enfant.
Il est interdit de se positionner et de concentrer son poids sur le garde-boue arriere. -
Ne pas toucher le frein à disque. Risque de brûlures!
-
Ne pas lâcher le guidon durant la conduite. Tenir fermement les poignées.
- Ne pas sauter par-dessus des obstacles et ne pas descendre les escaliers avec la trottinette. Risque d'accidents et de dommages au vehicule.
La trottinette est équipée d'une béquille. Lors du stationnement, s'assurer que la trottinette soit stable et ne puisse pas tomber accidentellement. Elle pourrait s'endommager ou cause des dommages aux choses ou aux personnes. - Température optime d'utilisation de la trottinette : -10 ÷ +45°C
- Température de stockage de la trottinette: -10 ÷ +25°C
- La trottinette n'est pas adaptée à une utilisation à des altitudes supérieures à 2000 m au-dessus du niveau de la mer.
- Une exposition prolongée de la trottinette aux rayons UV, à la pluie et aux éléments, peut endommager les matériaux de la carcasse. Ranger la trottinette en interieur ou dans un endroit protégé lorsqu'elle n'est pas utilisée.
Avant chaque utilisation de la trottinette, s'assurer qu'aucun composant ne soit desserré.
La trottinette ne peut pas etre utilise par des personnes dont le poids total est inférieur a 45kg ou supérieur a 120kg - Aucune partie de la trottinette ne peut être réparée directement par l'utilisateur. Risque d'incendie et d'électrocution.
5. AVENTISSEMENTS SUR L'UTILISATION DE LA BATTERIE
- Ne pas utiliser la trottinette si la batterie se trouve dans l'une des conditions suivantes :
La batterie est abimée.
- La batterie dégage une odeur et/ou une chaleur anormales.
- Du liquide sort de la batterie.
- Ne pas démarrer la trottinette durant le chargement de la batterie.
- Si l'indicateur de charge de la batterie s'allume en rouge, il est recommendé de ralentir et d'arrêté la trottinette.
Pour recharger la batterie, utiliser UNIQUEMENT le chargeur de la batterie fourni avec la trottinette. Un chargeur différent pourrait l'endommager irrémédiablement ou provoquer un incendie. - Ne pas toucher les contacts de la batterie et ne pas ouvrir le compartment de la batterie. Ne pasmettre
d'objets métalliques en contact avec la batterie : cela pourrait provoquer des courts-circuits et endommager la batterie ou même blesser, gravement, l'utilisateur.
- En cas de mise au rebut de la trottinette ou de remplacement de la batterie, ne pas jeter la batterie parmi les ordures menagères. Respecter les réglementations environnementales locales en matière de recyclage.
- Ne pas utiliser de batteries d'un modele différent de celui d'origine. L'utilisation d'un chargeur de batterie différent de celui fourni avec la trottinette pourrait endommager cette dernière ou provoquer un incendie.
- Charger la batterie après chaque utilisation de la trottinette permettra de prolonger son endurance et ses performances.
- Ne pas utiliser la batterie dans des environnements extrêmes (-20°C; + 50°C). Cela pourrait entraîner un dysfonctionnement, voir un risque d'incendie.
- Ne pas exposer la batterie au soleil trop longtemps (ex : dans le coffre de la voiture) et ne pas la jeter au feu, cela pourrait provoquer une explosion.
Il est nécessaire de recharger complètement la batterie tous les mois pour éviter de l'endommager. Dans le cas contraire, la batterie pourrait entrer en état d'autoprotection et ne plus se recharger. Dans ce cas, contacter votre revendeur. - Des temps trop longs entre une recharge et la suivante pourraient endommager la batterie de manière irréversible
- Proceder au chargement de la batterie dans des environnementes secs, loin de combustibles et autres éléments inflammables.
Le remplacement de la batterie doit etre effectue UNIQUEMENT par des reparateurs agreees. - Ne pas laisser les enfants ou les animaux toucher la batterie ou le chargeur pendant le chargement.
- Température de chargement de la batterie: +10 ÷ +40°C.
Lorsque le chargeur est connecté à la trottinette, toutes les fonctions électriques et le moteur sont inhibés afin d'éviter la surchauffe ou l'endommagement des composants.
Le cable externe du chargeur de batterie ne peut pas etre remplacement. Remplacer le chargeur de batterie si le cable est endommagé.
La batterie doit être retiree de l'appareil avant la mise au rebut de celui-ci. - Débrancher l'appareil du secteur avant desterolir la batterie.
Jeter la batterie de façon sécurisée.
- Nous déclarons que le produit objet de ce manuel est conforme aux directives européennes suivantes (certificat fourni en piece jointe) :
2006/42/CE
2014/30/UE
EN17128:2020
La trottinette fonctionne avec des batteries relevant de la directive europeenne 2006/66/CE et qui ne peuvent pas etre jetees parmi les ordures ménagères normales. Veuillez vous informer sur les reglementations locales concernant le tri selectif en matière de batteries : une mise au rebut correcte permet d'eviter des conséquences négatives pour l'environnement et la santé. La batterie doit etre mise au rebut à la fin de la vie utile du produit. Les centres de récepération et de recyclage peuvent effectuer le demontage du produit et le retrait de la batterie.

Application de la directive européenne 2012/19/UE sur les déchets d'équipements électriques et électroniques (DEEE)
Le symbole de poubelle barrée sur l'opération indique que le produit en fin de vie utile doit être collecté séparément des autres déchets. L'utilisateur doit donc consigner le matériel complét avec les composants essentiels en fin de vie utile aux centres de collecte des déchets électroniques et techniques, ou le restituer au détaillant lors de l'achat d'un nouvel équipement de type équivalent, au taux de un à un, ou un à zéro pour les équipements dont le côte le plus long est inférieur à 25 cm. Un tri sélectif ajustat pour l'envoi successif des équipements consignés à des fins de recyclage, de traitement et d'élimination respectue de l'environnement permet d'éviter d'eventuels effets négatifs sur l'environnement et la santé autre favoriser le recyclage des matériaux composant l'opération. La mise au rebut abusive du produit de la part de l'utilisateur compte l'application des sanctions administratives prévues par la règlementation en vigueur.
8. RETRAIT DE L'EMBALLAGE
La trottinette est contenue dans un emballage en carton avec protections spéciales visant à la protégger de tout impact ou dommage.
- Une fois l'emballage ouvert, procéder à l'extraction de la trottinette et des autres composants.

Compte tenu du poids de la trottinette (31kg) , il est conseilé d'effectuer cette opération a deux.
- Contenu de l'emballage
aTrottinette
b- Chargeur de batterie
Cäble d'alimentation du chargeur de batterie
d:Vis (4 pieces)
e Clé Allen de 6 mm
F Livret d'instructions

Si l'un des éléments ci-dessus manque à l'intérieur de la boîte, contacter votre revendeur.

Les éléments de l'emballage (sacs en plastique, polystyrene, boites, etc.) NE doit PAS être laissés à la portée des enfants en raison de leur caractère potentiellement dangereux.


d


f
9. DESCRIPTION DE LA TROTTINETTE
- Chassin / Plateforme
- Béquille
- Roue avant
- Garde-boue avant
5 Articulation pliante
6: Levier à crochet -
Barre de guidon
-
Crochet
- Guidon
10 Phare avant
11a-Levier de frein avant
11b-Levier de frein arriere
12-Levier d'accelerateur -
Sonnette
-
Écran d'affichage
- Garde-boue arriere
16: Fermetre de piage - Phare arrière
- Roue arrête / Moteur
- Freins à disque
- Batterie
21- Prise du chargeur de batterie
22: Poignées
23 Indicateurs de direction
24. Bouton indicateur de direction
25. Rereflecteurs
26 Suspension





10. ÉCRAN D'AFFICHAGE ET TOUCHES DE FONCTION
-
Touche ON/OFF - Sélection de fonction
-
Pression longue : ON/OFF allumage de l'écran
-
Pression courte : sélection de la fonction
-
ODO : Odomètre total
-
TRIP: Odomètre partiel
-
Touche lumière / selection de vitesse
-
Pression longue : ON/OFF phares avant et arrêté (l'icône bleue ≅D s'allume également sur l'écran
- Pression courte : sélection de la vitesse
1: vitesse minimum | 0 ÷ 6 km/h
- 2 : vitesse moyenne | 7 ÷ 15 km/h
- 3 : vitesse maximum | 16 ÷ 25 km/h
- Prise de charge USB
- Compteur de vitesse (km/h - mph)
- Odométre (km/h - mph) (total - partiel)
31: Vitesse selectionnee (1/2/3) - Indicateur du niveau de la batterie
33Bluetooth actif - Lumieres allumées
- Mauvais fonctionnement des freins
- Fonction "cruise control" activée
- Fonction "walking mode" activée
- Fonction "Cruise control"
Le trottinette est équipé d'une fonction "cruise control". Pour l'activer, il faut atteindre la vitesse de croisière souhaïée et maintainir la levier d'accéléateur enforcée pendant 9 secondes. L'activation de la fonction "cruise control" est signalée par un signal sonore et l'allumage de l'icone Pour désactiver la fonction, appuyez sur l'un des deux freins.

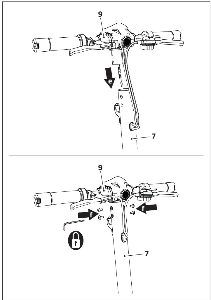
11. MONTAGE DE LA TROTTINETTE
- ÀpRES avoir sorti la trottinette de son emballage et vérifie la conformité des éléments comme indiqué au paragraphe « 8 », il s'agitMAINANT de monter la trottinette.
a. Ouvrir la béquille (2) et placer la trottinette sur une surface plate.
b- Appuyer sur le fermetre de piage (16) pour libérer le barre de guidon (7).
C-Soulever le barre de guidon (7).
d- Soulever le levier d'accrochage (6) et le pousser contre le barre de guidon (7) jusqu'à entendre le « clic » d'accrochage.

e- Positionnéz le guidon (9) sur le barre de guidon (7) en veillant à ne pas endommager les câbles prêsent.
f. A l'aide de la clé Allen de 6 mm fournie, serrez les 4 vis qui fixent le guidon (9) à la barre de guidon (7).

Avant d'utiliser le trottinette, assurez-vous que les 4 vis sont bien serrées. Verifiez également périodiquement que les 4 vis sont correctement serrées.

12. CHARGEMENT DE LA BATTERIE
- La trottinette est équipée d'une batterie lithium-ion rechargeable et d'un chargeur de batterie adapté à un chargement correct.

Utiliser UNIQUEMENT le chargeur (FCA136-546020) fourni en notation pour recharger la batterie.
- Lors de la première utilisation, il est recommandé de charger complètement la batterie (temps de charge maximum 6/8 heures).
- Lorsqu'il est nécessaire de recharger la batterie (le niveau de charge résiduelle est indiqué par les voyants sur l'écran (voir paragraphe « 10 »), procéder comme suit :
a. Ouvrir la béquille (2) et placer la trottinette sur une surface plane.
b Retirer le capuchon de la prise de chargement (21) de la batterie.
c. Insérer la fiche (38) dans la prise de chargement (21) de la batterie.
d- Brancher le cable d'alimentation électrique (39) au chargeur de batterie (20).
e- Insérer la fiche (40) du chargeur de batterie (20) dans la prise de courant. Levoyant du chargeur de batterie s'allume en « rouge» pour indiquer que le chargement est en cours.
Lorsque la batterie est complètement chargée, levoyant devient « vert »


S'assurer que la tension secteur corresponde à celle indiquée sur le chargeur de batterie (100-240V ~ 50/60Hz).
f. Une fois le chargement terminé, débrancher les cables et fermer le capuchon de la prise de chargement de la batterie (21).

12.1 - ENTRETIEN DE LA BATTERIE
- La batterie doit être rechargée après chaque utilisation.
-
Si la trottinette n'est pas utilisée pendant une longue période, il est recommandé de charger la batterie au moins une fois par mois. Dans le cas contraire, la batterie pourrait entrer en état d'autoprotection et ne plus se recharger. Dans ce cas, contacter votre revendeur.
-
Le chargeur est équipé de la fonction de protection automatique contre les surcharges, la batterie arrêté automatiquement de se charger une fois qu'elle atteint 100% de charge.
- Ne pas utiliser le chargeur dans des endroits mouillés ou humides.
- Ne pas recharger la batterie si la prise (21), les câbles de charge ou le chargeur sont mouillés ou humides.
- Charger la batterie lorsque seule la dernière encoche est allumée sur l'écran.
- Ne pas recharger la batterie si elle présente des signes de dommages ou de fuite de liquide.
- Les dommages causés par une charge d'entretien insuffisante ne sont pas couverts par la garantie.
13. UTILISATION DE LA TROTTINETTE

Avant d'utiliser la trottinette, s'assurer d'avoir lu et compris l'intégrality de ce document. Tout accident ou dommages résultat d'une mauvaise utilisation de la trottinette dégage le fabricant et/ou le revendeur de toute responsabilité et rend l'utiliseur seul responsable devant les organismes compétents.

Utiliser un casque et les autres équipements de protection individuelle tels que des genouillères, des coudlères et des gants. Il est recommendé de porter des chaussures plates.
- Saisir correctement les poignées (22) et soulever la béquille (2).
- Maintenir le bouton ON / OFF (26) enforcé pour allumer l'écran d'affichage.
- S'assurer que la batterie soit suffisamment chargée.
- Appuyer brievement sur le bouton (27) pour selectionner le niveau de vitesse souhaite (de « 1 » à « 3 »).
1 = 0 ÷ 6 ~km / h 2 = 7 ÷ 15 ~km / h 3 = 16 ÷ 25 ~km / h

- Placer un pied sur la plateforme et, avec l'autre, pousser vers l'avant tout en maintainant l'équilibre.
- Simultanément, appuyer sur le levier d'accélérateur (12). Lorsque la vitesse dépasse 4 km/h, le moteur se connecte.

- Placer également l'autre pied sur la plateforme et conduire avec attention et prudèment.
- Durant l'utilisation, il est possible de modifier la vitesse en appuyant ou en relachant le levier d'accéléateur (12) ou en modifiant le niveau de vitesse souhaïte.
-
Pour ralentir :
-
relâcher le levier d'accélérateur (12);
- ou tirer le levier de frein avant (11a); ceci implique la désactiva-tion du moteur;
-
ou tirer le levier de frein arrière (11b); ceci implique la désactivation du moteur.
-
Il est également possible d'utiliser toutes les options en même temps.
- Pour un freinage plus décisif, tirer les deux leviers de frein (11a) (11b).

Freiner fermement expose l'utilisateur à d'éventuels glissades ou chutes. Maintenir une vitesse moderée et garder à l'esprit la présence de dangers potentiels.

13.1 - CONSEILS POUR UNE UTILISATION CORRECTE
a- Pour tournier, déplacer votre poids et tournier légèrement le guidon.
b- Faire attention à la tête lorsque vous passez sous un obstacle.
c- Verifier votre vitesse en descente; utiliser les deux freins en cas de conduite à grande vitesse.
d- NE PAS utiliser la trottinette sous la pluie.
e. NE PAS conduire la trottinette à travers des flaques d'eau ou autres obstacles (avec de l'eau). Le cas échéant, réduire la vitesse et contourner l'obstacle.
f. NE PAS conduire la trottinette à deux et ne transporter aucun passager. Ne pas transporter d'enfant.
g. Maintenir une vitesse modérée (entre 5 et 10 km/h) en cas de passage sur des ralentisseurs, sur des routes accidentées ou autres surfaces non homogènes. Plier légèrement les genoux pour mieux adapter le corps à ce type de surfaces.

a

b

C

d

f
g

Max. 5-10 km/h
h. NE PAS transporter d'objets lourds ou encombrants sur le guidon.
i. NE PAS conduire la trottinette avec un seul pied.
j- NE PAS retirer les mains du guidon durant la conduite. Ne pas conduire avec une seule main.
k. NE PAS monter et descendre les escaliers ni sauter par-dessus des obstacles.
1. NE PAS tournier le guidon brusquement, surtout à grande vitesse.
m- Adapter la vitesse au type de route et aux conditions de la chaussée.
n- Donnez la priorite aux piétons.


14. FERMER ET TRANSPORTER LA TROTTINETTE
a. Ouvrir la béquille (2) et placer la trottinette sur une surface plane.
b- Éteindre l'appareil en maintainant le bouton d'allumage ON/OFF (26) enforcé.

C. Saisir le barre de guidon (7) d'une main.
d- De l'autre tirer sur le levier a crochet (6).
e: Plier le barre de guidon (7) sur le fermeture de piage (16) puis le pousser vers le bas pour l'accrocher (jusqu'ā entendre un « clic »).

S'assurer que le guidon soit correctement accroché au fermetre de piage.

f. Pour soulever la trottinette, tener le barre de guidon (7) en équilibrant le poids.
gSi nécessaire, dévissez les vis et retirez le guidon (9).
h: Ranger la trottinette dans un endroit sec à l'abri de l'humidité.
Ne pas ranger la trottinette en extérieur.
Une exposition excessive au soleil, à la chaleur ou au froid peut endommager la trottinette et accélérer l'usure des pneus et de la batterie.
Si nécessaire, replacer la trottinette dans son emballage d'origine.

15. ENTRETIEN
- De façon générale, lors du nettoyage de la trottinette, s'assurer que celle-ci soit éteinte, que le cable de charge de la batterie soit débranché et que la fiche de la prise de chargement soit fermée (voir paragraphe « 12 » - point « f »).
- Pour nettoyer la trottinette, utiliser un chiffon doux légèrement humide. Si le nettoyage est plus difficile que prévu, il est recommendé d'utiliser une Brosse à dents, en ajoutant évientuelles du dentifrice, pour éliminer la saleté tenace. Retirer le dentifrice et les résidus avec un chiffon doux légèrement humide.

NE PAS utiliser d'alcool, d'essence ou autres solvants et produits chimiques corrosifs afin d'éviter d'endommager la trottinette tant dans du point de vue esthétique que de la structure interne.
NE PAS utiliser de pistolets à haute pression pour nettoyer la trottinette.
- Lorsque la trottinette n'est pas utilisée, la ranger dans un endroit sec à l'abri de l'humidité.
- Ne pas ranger la trottinette en extérieur. Une exposition excessive au soleil, à la chaleur ou au froid peut endommager la trottinette et accélérer l'usure des pneus et de la batterie.
15.1 - RÉGLAGE DES FREINS À DISQUE

Ne pas toucher le disque des freins immédiatement après avoir utilisé la trottinette. Risque de brûlure!
- Si le frein est trop serré, utiliser la clé Allen fournie en dotation pour dévisser la vis de blocage (41) et relâcher la pression du cable de frein. Raccourcir le cable et serrer la vis de blocage (41). Si le frein est trop lâche, effectuer l'opération inverse et allonger le cable de frein.
- Pour un réglage fin, agir sur la vis de réglage (42) du levier de frein (11a) (11b) et/ou sur la vis de réglage (43) du bloc de frein à disque (16).
- Une fois le réglage terminé, serrer la douille (44).

- La trottinette ne rouge pas une fois démarrée.
- Le frein n'est pas complètement réinitialisé. Ceci implique une coupure de l'alimentation.
- Remetre le frein en position.
La trottinette se déplace à vitesse lente ou ne rouge pas du tout.
-
La batterie est décharge.
-
Recharger la batterie.
- Remplacer la batterie (1).
Le moteur démarre et s'arrête à nouveau.
- La batterie est décharge.
- Remplacer la batterie(1).
- Le contrôleur est endommagé.
- Remplacer le contrôleur (1).
- La connexion de la batterie est lente.
-
Régler les connecteurs de batterie (1).
-
La batterie n'a pas pu être chargée ou s'est chargée lentement.
-
La tension est incorrecte.
- Proceder à la maintenance de la batterie ou changer la batterie (1).
La batterie ne se charge pas.
- Le cycle de vie de la batterie est terminé.
- Remplacer la batterie (1).
- Le chargeur de batterie n'émet pas d'énergie.
- Remplacer le chargeur de batterie (1).
- La prise de chargement est endommagée.
- Remetre la prise de chargement en place(1).
Codes d'erreur
- Des codes d'erreur peuvent s'afficher. La trottinette cesser de fonctionner dans ces conditions.
E0 = Erreur de communication
E1 = Courant anomalous
E2 = Panne d'accélérateur
E3 = Panne de frein
E4 = Défaut MOS / Défaut de surintensité
E5 = Hall / Défaut moteur
E6 = Panne moteur
E7 = Erreur de basse tension - S'il y a un problème qui ne peut pas etre résolu,contactez leur revendeur.
17. GARANTIE
- Lire attentivement les instructions du manuel avant d'utiliser la trottinette électrique.
- Ne pas utiliser la trottinette électrique lorsque la loi l'interdit. Ne pas utiliser la trottinette électrique si celle-ci peutmettre en danger le conducteur et les personnes/objets àproximé.
- Le produit est garanti pour une durée de 2 ans à compter de la date d'achat avec reçu, ou 1 an à compter de la date d'achat avec facture. La garantie n'est valable que si elle est prouvée par un justificatif d'achat valide (reçu de paiement pour le Consommateur), lequel doit êtreprésenté au moment de la demande d'intervention. Le produit non conforme doit être returné dans son emballage d'origine, avec tous les accessoires.
- Durée de la garantie de la batterie : 6 mois.
- La garantie ne s'applique pas en cas de dommage causé suite à une négligence, une utilisation ou une installation non conforme aux instructions fournies, l'alteration, la modification du produit ou du numéro de série, tout dommage dû à des causes accidentelles ou négligence de la part de l'acheteur avec reférence particulière aux pieces externes. Les pieces sujettes à l'usure due à l'utilisation sont exclues de la garantie : câbles, connecteurs, pieces externes et supports plastiques, lorsqu'elles neprésentent pas de défauts de fabrication.
- Pour une assistance technique sur les produits sous garantie, contacter le revendeur auprès duquel le produit a ete achete afin qu'il proce de la verification preliminaire du defaut et a l'envoi au centre de réparation.
-
La garantie ne couvre pas la corrosion du produit.
-
CARACTERISTIQUES TECHNIQUES
| Dimensions | Dimensions de la trottinette ouverte | 1295 x 470 x 1340 mm |
| Dimensions de la trottinette plée | 1295 x 470 x 580 mm | |
| Dimensions de l'emballage | 1340 x 250 x 630 mm | |
| Poids | Poids maximum de l'utilisateur | 120 kg |
| Poids minimum de l'utilisateur | 45 kg | |
| Poids net de la trottinette | 31 kg | |
| Poids de la trottinette emballée | 37,5 kg | |
| Requis pour la conduite | Taille de l'utilisateur | 130 ÷ 200 cm |
| Spécificités | Vitesse maximum | 25 km/h (peut varier en fonction du sol et du poids) |
| Autonomie maximale | 55 km (peut varier en fonction du poids) | |
| Angle de montée | 15% | |
| Prise USB | 5V - 0.5A | |
| Température de fonctionnement | -10°C + +45°C | |
| Température de stockage | -10°C + +25°C | |
| Humidité relative | ≤ 75% RH | |
| Niveau d'imperméabilité | IPX4 |
| Batterie | Type | Batterie au lithium de type 18650 |
| Capacité | 48 V / 15 Ah | |
| Autonomie maximale | 55 km | |
| Durée de chargement | 6 ÷ 8 heures | |
| Input | 100 - 240 V AC 50 / 60 Hz 1.8 A (max.) | |
| Output | 54.6 V DC - 2.0 A | |
| Unité d'alimentation | FCA136-546020 | |
| Moteur | Type | Brushless à economie d'énergie |
| Puisance nominale | 48 V - 500 W | |
| Roues | Type | Pneu à air |
| Diamètre | 11" | |
| Caracteristique | Bande de roulement large et crénelée |
Notice Facile