OD-KICK-S12-EU-PKD - Elektroroller OCEAN DRIVE - Kostenlose Bedienungsanleitung
Finden Sie kostenlos die Bedienungsanleitung des Geräts OD-KICK-S12-EU-PKD OCEAN DRIVE als PDF.
Laden Sie die Anleitung für Ihr Elektroroller kostenlos im PDF-Format! Finden Sie Ihr Handbuch OD-KICK-S12-EU-PKD - OCEAN DRIVE und nehmen Sie Ihr elektronisches Gerät wieder in die Hand. Auf dieser Seite sind alle Dokumente veröffentlicht, die für die Verwendung Ihres Geräts notwendig sind. OD-KICK-S12-EU-PKD von der Marke OCEAN DRIVE.
BEDIENUNGSANLEITUNG OD-KICK-S12-EU-PKD OCEAN DRIVE
FR Manuel d'utilisation
DE Gebrauchsanleitung
IT Libretto istruzioni d'uso
EN Instruction manual

OCEAN DRIVE

E-SCOOTER S12
(PLEV)
All Road

Gebrauchs- und Wartungsanleitungen
(Übersetzung der Originalanleitung)
1 EINLEITUNG. DE-1
2 ALLGEMEINE SICHERHEITSVORSCHRIFTEN DE-1
3 GEBRAUCHSBESTIMMUNG. DE-2
4 ALLGEMEINE SICHERHEITSHINWEISE DE-2
5 HINWEISE FÜR DIE VERWENDUNG DES AKKUS. DE-5
6 CE-KONFORMITÄTSERKLÄRUNG DE-7
7 ORDNUNGGEMÄSSE ENTSORGUNG DIESES PRODUKTS DE-7
8ENTFERNUNG DER VERPACKUNG. DE-8
9 BESCHREIBUNG DES ROLLERS. DE-9
10 DISPLAY UND FUNKTIONSTASTEN. DE-10
11 MONTAGE DES ROLLERS. DE-12
12 LADEN DES AKKUS. DE-14
13 VERWENDUNG DER ROLLERS. DE-15
14 DEN ROLLER ZUSAMMENLEGEN UND TRANSPORTIEREN...DE-20
15 WARTUNG. DE-22
16 STÖRUNGEN UND ABHILFEN DE-23
17 GARANTIE DE-24
18 TECHNISCHE DATEN. DE-25
EN-INDEX
1 INTRODUCTION. EN-1
2 GENERAL SAFETY RULES. EN-1
3 INTENDED USE. EN-2
4 GENERAL SAFETY WARNINGS. EN-2
5 WARNINGS FOR USE OF THE BATTERY EN-5
6 EC DECLARATION OF CONFORMITY EN-7
7 CORRECT DISPOSAL OF THIS PRODUCT EN-7
8 REMOVAL OF THE PACKAGING EN-8
9 DESCRIPTION OF THE E-SCOOTER. EN-9
10 DISPLAY AND FUNCTION KEYS EN-10
11 ASSEMBLING THE E-SCOOTER EN-12
12 CHARGE OF THE BATTERY EN-14
13 USE OF THE E-SCOOTER. EN-15
14 CLOSING AND TRANSPORTING THE E-SCOOTER EN-20
15 MAINTENANCE. EN-22
16 INCONVENIENCES AND SOLUTIONS EN-23
17 WARRANTY. EN-24
18 TECHNICAL DATA. EN-25
1. INTRODUCTION
16. PROBLEMES ET SOLUTIONS
- Das vorliegende Handbuch wurde erstellt, um sãmtliche für die ordnungsgemäß Benutzung in Sicherheit für sich und andere des E-Rollers erforderlichen Informationen zu liefern.

SICH GEWISSENHAFT AN DIE IN DIESEM HANDBUCH ENTHALTENEN ANWEISUNGEN HALTEN! VOR GEBRAUCH DES E-ROLLERS DIESES HANDBUCH LESEN UND VERSTEHEN.
2. ALLGEMEINE SICHERHEITSVORSCHRIFTEN
- Erläuterungen der in thism Handbuch enthaltenen Symbole.

ANMERKUNG
Stellt besondere Informationen Heraus, die gegenüber dem Text hervorgoben werden sollen, wie zum Beispiel Ratschläge und Empfehlungen.

WARNHINWEIS
Erscheint im Verlauf einiger Vorgehensweisen, die, falls nicht befolgt oder richtig vorgenommen, Schaden am E-Roller oder Probleme beim Benutzer verursachen können.

ACHTUNG!
ERSCHEINT VOR EINIGEN VORGEHENSWEISEN, DIE, FALS Nicht BEFOLGT ODER RICHTIG VORGENOMMEN, ZU, AUCH SCHWEREN UNFÄllen DES BENUTZERS ODER SOGAR ZU SEinem TOD FÜR HREN KÖNNTEN.
3. GEBRAUCHSBESTIMMUNG
- Der E-Roller, Gegenstand des vorliegenden Handbuchs, ist ein umweltfreundliches Verkehrsmittel, das für die Beförderung einer einzelnen Person entwickelt und gebaut wurde.

DER UNSACHGEMÄSSE GEBRAUCH DES E-ROLLERS Macht DEN BENUTZER IM FALL VON SICH SELFBST ODER ANDEREN PERSONEN, SACHEN ODER TIEREN Zugeführten SCHADEN ZUM ALLEINIGEN VERANTWORTLICHEN.
4. ALLGEMEINE SICHERHEITSHINWEISE
Das vorliegende Handbuch vor dem Gebrauch des E-Rollers aufmerksamlesen und these sorgfältig für eine etwaige zukünftige Verwendung aufbewahren.
- Vor jedem Gebrauch die mechanische Universehrheit des Rollers prufen. Sollte man Unregelmäßigkeiten, Sprünge oder andere Abnutzungsanzeichen feststellen, den Roller nicht benutzen und diesen vom Handler oder von befugtem Fachpersonal überprüfen setzen.
Die mangelnde Befolgung der in dieser Gebrauchsanweisung Anweisungen setzt den Benutzer der Gefahr aus, zu stürzen oder andere Personen oder Sache zu überfahren, mit Folgen, die auch sehr schwerwiegend sein konneten.
- Um Unfällen vorzubeugen, gibt es im Handbuch Symbole (in Absatz 2 beschreiben), die zur Kennzeichnung der Sicherheitsvorkehrungen verwendet werden. Die Hinweise, die diese Symbole begleiten, sind stets aufmerksam zu befolgen.
- Der Gebrauch des Rollers seitens Personen, die zwischen 14 und 18 Jahre alt sind, sieht den Gebrauch eines zugelassenen und ordnungsgemäß getragenen Helms zwingend vor (die gesetzlich vorgesehene Altersgrenze am Verwendungsourt überprüfen). Gleichwohl wird geraten, den Helm und andere persönliche Schutzausrüstung, wie Knie-, Ellbogenschützer und Handschuhe IMMER zu verwenden. Es wird geraten, flache Schuhe zu(TRagen.
- Dieses Gerätarf von Kindern ab 8 Jahren und von Personen mit eingeschränkten körperlichen, sensorischen oder geistigen Fähigkeiten sowie von Personen ohne ausreichende Erfahrung oder Kenntnis des Geräts NUR DANN benutzt werden, wenn sie von einer für ihre Sicherheit verantwortlichen Person beaufsichtigt werden oder wenn sie in Bezug auf den sicheren Gebrauch des Geräts unterwiesen wurden und sich der Risiken, die durch unsachgemäßen Gebrauch eintreten können, bewusst sind. Kinder dürfen das Gerät nicht als Spielzeug verwenden. Reinigung und Wartung sollenn nicht von Kindern ohne Aufsicht durchgeführt werden.
- Etwaige Reparaturen dürfen NUR von qualifiziertem und befugtem Fachpersonal vorgenommen werden. Den Roller selbst reparieren, kann gefährlich sein!
Vor der Benutzung des Rollers, insbesonder in belebten Bereichen oder auf der Straße, wird geraten, sich mit thisem vertraut gemacht zu haben. - Kontrollieren, dass keine Gesetzesvorschriften die Benutzung des E-Rollers verbieten, die Verkehrsschilder beachten.
- Betritt man öffentliches Gelände, stets die lokalen Gesetze und Vorschriften befolgen.
-
Wie bei anderen Fahrzeugen, erfordern höhere Geschwindigkeiten einen längeren Bremsweg. Ein plötzliches Bremsmanöver, insbesondere bei Vorliegen von nassen oder unregelmäßigen Oberflächen (wie zum Beispiel im Fall von Erdreich oder Sand) können zum Rutschen und /oder zu einen Sturz führen.
Vorsichtig sein und während der Fahrt stets einen sicheren Abstand zwischen sich und den anderen Personen oder Fahrzeugen bewahren; die Fahrt verlangsamen, wenn man in unbekannten Gelände gelamt.
Die Fußgänger respektieren und ihren stets die Vorfahrt einräumen. -
Links überholen, NUR wenn dies möglich ist.
- Nähert man sich einem Fußgänger frontal, auf der rechten Seite bleiben und verlangsamen. In ihrem Gang unsicheren Fußgängern ausweichen.
-
Nähert man sich diesen von hinten, sich mit der Klingel am Lenker bemerkbar machen und während des Überholvorgangs auf normale Gehgeschwindigkeit verlangsamen; der Roller ist entsprechenden gerauscharm, davon vermeiden, die Fußgänger zu erschrecken.
-
Begibt man sich auf nicht gesetzlich überwachtes Gelände, die in dieser Handbuch beschrieben Leitlinien befolgen und aufmerksam und vorsichtig fahren.
Um sicher zu fahren, muss man für die anderen klar sightbar sein und selbst in der Lage sein, klar das vor einem Liegende zu sehen; eine gute Sicht ist die erstesicherheitsvoraussetzung.
- Einige Personen dürfen den Roller NICHT fahren:
Jeder, der unter Alkohol- oder Drogeneinfluss steht.
- Wer unter Krankheiten leidet, die fürihn ein Risiko darstellen, wenn er eine anstrengende körperliche Tätigkeit ausübt.
- Jeder, der unter Gleichgewichtsstörungen oder Bewegungsschwierigkeiten leidet, die sich auf seine Fähigkeit auswirken, das Gleichgewicht zu halten.
Jeder, dessen Gewicht die angegebenen Gewichtsgrenzen übersteigt (siehe Vorgaben).
Schwangere Frauen.
- Den Roller nicht an Personen ausleihen, die nicht für dessen Gebrauch geschult worden sind und nicht die angemessene Schutzausrüstung/TRagen.
- Vermeiden, den Roller bei Regen zu benutzen.
- Auf zerrutteten Straßen, Bürgersteigen oder anderen besonderen und ungleichmäßigen Straßenbelag langsam fahren. Auf sehr zerrutteten Straßen wird empfohlen, eine niedrige Geschwindigkeit (zwischen 5 und max. 10km / h ) einzuhalten. Mit federnden Knien passt man sich leichter an unebene Straßen an.
Auf Turen und andere Hindernisse in der Höhe achten
Bei Gefällen nicht beschleunigen - Nicht beschleunigen, wenn maniben dem Fahrzeug gehen.
Auf die etwaigen Hindernisse achten, die während der Benutzung des Rollers auftauchen konnten.
STETS ruhig und konzentriert fahren, mit dem Roller keine Kunststücke vollführren. - Bei hoher Geschwindigkeit, nicht plötzlich die Richtung ändern.
- Nicht auf Wasser, Schlamm oder Schnee oder auf Olpfützen oder vereisten Flächen fahren.
-
Nicht mit einem Kind auf den Roller steigen.
Esistundersagt,sichaufdashintereSchutzblechzustellenodersinGewichtdaraufzukonzentrieren.
Die Scheibenbremse nicht berühren; Verbrennungsgefahr! -
Den Lenker während der Fahrt nicht loslassen; die Handgriffe fest umschlieben.
Keine Hindernisse überspringen und keine Treppen mit dem Roller fahren; es drohen Unfälle und Schäden am Fahrzeug. - Der Roller ist mit einem Ständer versehen; wenn man parkt, sicherstellen, dass der Roller stabil ist und nicht zufällig umfallen konnte. Er könnte sich beschädigen oder Schäden an Sachen oder Personen verursachen.
Optimale Verwendungstemperatur des Rollers: -10 ÷ +45^ C
Aufbewahrungstemperatur des Rollers: -10 ÷ +25^ C
Der Roller ist für einen Gebrauch oberhalb von 2000 m ü.d.M. nicht geeignet.
Die anhaltende UV-Bestrahlung, der Regen und die Witterungseinfüsse konnten das Gehäusematerial beschädigen. Den Roller in geschlossenen Räumen oder an einem geschützten Ort aufbewahren, wenn wer nicht gebraucht wird.
Sich vor jedem Gebrauch des Rollers vergewissern, dass keine gelockerten Bauteile vorliegen. - Der Rollerarf nicht von Personen benutzt werden, deren Gesamtgewicht weniger als 45kg oder mehr als 120kg beträgt.
- Kein Teil des Rollers kann vom Benutzer repariert werden. Brand- und Stromschlaggefahr.
5. HINWEISE FÜR DIE VERWENDUNG DES AKKUS
-
Den Roller nicht benutzen, wenn der Akku sich in folgenden Bedingungen befindet:
-
Der Akku ist beschädigt.
-
Der Akku strömmt einen ungewöhnlichen Geruch und/oder Wärme aus.
Aus dem Akku lauft Flüssigkeit aus. -
Wahlend des Ladevorgangs des Akkus, den Roller nicht starten.
- Wenn die Ladezustandsanzeige eine rote Leuchte zeigt, wird geraten, zu verlangsamen und die Fahrt zu unterbrechen.
- NUR das mitgelieferte Ladegerät verwenden, um den Akku zu laden; ein anderes Ladegerät könnte diesen unwiderruflich beschädigen oder einen Brand verursichen.
Die Kontakte des Akkus nicht berühren und das Akkufach nicht öffnen. Keine metallischen Gegenstände mit dem Akku in Berührung bringen; dies konnte Kurzschlüsse verursachen und den Akku beschädigen und sogar den Benutzer, auch schwer verletzen.
- Im Fall der Aufgabe des Rollers oder des Austauschs des Akkus, diesen nicht zusammen mit dem Hausmüll entsorgen. Die lokalen Recycling-Vorschriften befolgen.
- Keine anderen Akku-Modelle als den Original-Akku verwenden; die Verwendung eines anderen Ladegerats könnte diesen beschädigen oder einen Brand verursachen.
Das Laden des Akkus nach jedem Gebrauch des Rollers verlangert dessen Ausdauer und Leistung.
- Den Akku nicht in extremer Umgebung (-20^; +50^) benutzten, dies konnte Störungen oder sogar eine Brandgefahr verursachen.
- Den Akku nicht allzu lange der Sonne aussetzen (zum Beispiel im Kofferraum des autos) undihn nicht ins Feuer werfen, dies konnte eine Explosion verursachen.
- Der Akku ist jeder Monat vollständig zu laden, um dessen Beschädigung zu vermeiden. Andernfalls konnte sich der Akku in einen Zustand des Selfschutzes versetzen und kann nicht mehr geladen werden. Sich in thisem Fall an den Handler wenden.
Zu lange Zeitintervalle zwischen einem Ladevorgang und dem nachsten konnten den Akku unwiderruflich beschädigen
Den Ladevorgang des Akkus in trockenen Räumen, fern von Brennstoffen und brenbaren Elementen vornehmen.
- Der Austausch des Akkus darf NUR von zugelassenen Reparateuren vorgenommen werden.
- Nicht gestatten, dass Kinder oder Tiere den Akku oder das Ladegerät während des Ladevorgangs berühren.
Ladetemperatur des Akkus: +10 ÷ +40^ C .
- Wenn das Ladegerät an den Roller angeschlossen ist, werden sámttliche elektrischen Funktionen und der Motor unterbunden, um Überhitzungen oder Beschädigungen der Bauteile zu vermeiden.
Das Außenkabel des Ladegerats darf nicht ersetzt werden. Das Ladegerat ersetzen, wenn das Kabel beschadigt ist.
- Der Akku muss vor der Verschrottung des Geräts aus diesen entfernt werden.
Das Gerät vom Netz trennen, bevor der Akku entfernt wird.
Den Akku sicher entsorgen.
6. CE-KONFORMITÄTSERKLÄRUNG
CE
- Es wird erklart, dass das Produkt, das Gegenstand des vorliegenden Handbuchsist, folgenden europäischen Richtlinien entspricht (Erklärung in der Anlage):
2006/42/EG
2014/30/EU
EN17128:2020
7. ORDNUNGGEMÄSSE ENTSORGUNG DIESES PRODUKTS

Durchführung der Richtlinie 2006/66/EU
Der Roller Funktioniert mit Akkus, die unter die europäische Richtlinie 2006/66/EU fallen und die nicht mit den gewöhnlichen Hausabflänen entsorgt werden)dufen. Sich über die lokalen Vorschriften uber die getrennte Sammlung der Akkus informieren: Eine korrekte Entsorgung erlaubt, negative Auswirkungen auf die Umwelt und die Gesundheit zu vermeiden. Der Akku ist am Lebensende des Produkts zu entsorgen. Die Wiederverwertungs- und Recycling-Center konnen die Demontage des Produkts und die Entfernung des Akkus vornehmen.

Durchführung der europäischen Richtlinie 2012/19/EU zu den elektrischen und elektronischen Altgeräten (RAEE)
Das Symbol des durchkreuzten Mülleimers auf dem Gerät zeigt an, dass das Produkt am Ende seines Lebens getrennt von anderen Abfallen zu entsorgen ist. Der Benutzer muss daher das vollständige Gerät mit seinen wesentlichen Bauteilen nach seinem Lebensende an die geeigneten Sammelstellen für elektrische und elektronische Altgeräte übergeben oder es dem Handler im Gegenzug zum Erwerb eines neuen gleichartigen Geräts oder, falls das die größte Seite des Geräts kleiner als 25 cm beträgt, ohne Gegenzug zurückgeben. Die angemessene Mültrennung zur folgenden Verbringung des entsorgten Geräts zur Wiederverwertung, der Behandlung und der umweltgerechten Entsorgungträgt dazu bei, mögliche negative Auswirkungen auf die Umwelt und die Gesundheit zu vermeiden und begunstigt das Recycling der Werkstoffe, aus denen das Gerät besteht. Die wilde Entsorgung des Produkts seitens des Benutzters führt zur Verhängung der von den gesetzlich vorgesehenen Verwaltungsstraße.
8. ENTFERNUNG DER VERPACKUNG
- Der Roller ist in einer Kartonverpackung mit entsprechenden Schutzelementen enthalten, umihn vor etwaigen Stößen oder Beschädigungen zu schützen.
- Sobald die Verpackung geöffnet ist, den Roller und die anderen Bestandteile Herausziehen.

Angesichts des Gewichts des Rollers (31kg) , wird geraten, diesen Vorgang zu -zweit vorzunehmen.
- Verpackungsinhalt
a- Roller
b-Akku-Ladegerat
C-Netzkabel Ladegerät
d Scharuben (4 Stick)
e Inbus-Schlussel zu 6 mm
f- Gebrauchsanweisung

Sollte im Inneren der Verpackung eines der oben aufgeführten Bestandteile fehlen, sich an den Handler wenden.

Bestandteile der Verpackung (Kunststoffbeutel, Styropor usw.) müssen als potentielle Gefahrenquellen für Kinder unzugänglich aufbewahrt werden.


d


f
9. BESCHREIBUNG DES ROLLERS
- Fahrgestell bzw. Trittbrett
- Ständer
- Vorderrad
- Vorderes Schutzblech
- Klappgelenk
6: Klapphebel -
Lenksäule
-
Aufhänger
- Lenker
- Scheinwerfer
11a-Vorderradbremshebel
11b. Bremshebel hinten
12-Gashebel -
Klingel
-
Display
- Hinteres Schutzblech
16: Klappverschluss - Rücklicht
- Hinterrad bzw. Motor
- Scheibenbremsen
- Akku
21 Anschluss fur Ladegerät
22- Lenkergriffe
23 Richtungsanzeiger
24. Fahrrichtungsanzeiger-Taste
25. Reflektoren
26 Aufhängung

10. DISPLAY UND FUNKTIONSTASTEN
-
Taste EIN/AUS - Funktionswahl
-
Langer Druck: EIN/AUS Einsatz den Displays
-
Kurzer Druck: Funktionswahl
-ODO: Gesamtkilometerzahler
TRIP: Tageskilometerzahler -
Licht-/Geschwindigkeitswahltaste
-
Langer Druck: EIN/AUS Scheinwerfer und Rücklicht (es leuchtet auch ein blaes Icon auf dem Display auf)
- Kurzer Druck: Geschwindigkeitswahl
1: Mindestgeschwindigkeit |0 ÷ 6 ~km / h
2: Mittlere Geschwindigkeit | 7 ÷ 15 km/h
3: Höchstgeschwindigkeit | 16 ÷ 25 km/h
- USB-Ladebuchse
- Geschwindigkeitsmesser (km/h - mph)
- Kilometerzahler (km/h - mph) (gesamt - teilweise)
- Gewährte Geschwindigkeit (1/2/3)
- Batteriestandsanzeige
33Bluetooth aktiv - Lichter an
35 Fehlfungtion der Bremse
36: "Cruise contol" aktiviert - Funktion "walking mode" aktiviert
-Cruise control"-Funktion
Der Roller ist mit einer "cruise control"-Funktion ausgestattet. Umihn zu aktivieren, erreichen Sie die gewünschte Reisegeschwindigkeit und halten den Gashebel 9 Sekunden lang gedrückt. Die Aktivierung der "cruise control"-Funktion wird durch ein akustisches Signal und das Aufleuchten des Symbols signalisiert.
Um die Funktion zu deaktivieren, drücken Sie eine der beiden Bremsen.

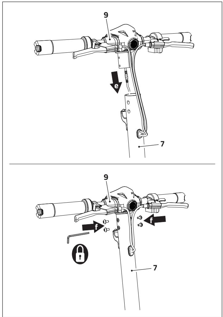
11. MONTAGE DES ROLLERS
- Nach Entnahme des Rollers aus der Verpackung und der Kontrolle, dass alles dem Verzeichnis in Absatz "8" entspricht, sind die demontierten Teile zusammenzusetzen.
a. Den Ständer (2) ausklappen und den Roller auf eine ebene Flüche stellen.
b. Drücken Sie den Klappriegel (16) niederrücken, um die Lenksäule (7) auszuklienk.
Die Lenksäule (7) anheben.
d- Den Klapphebel (6) anheiten und gegen die Lenksäule (7) drucken, bis er hörbar einrastet.

e- Setzen Sie den Lenker (9) auf den Lenksäule (7) undchten Sie daraufuf, dass die vorhandenen Kabel nicht beschädigt werden.
f. Ziehen Sie die 4 Schrauben, mit denen der Lenker (9) an der Lenksäule (7) befestigt ist, mit dem mitgelieferten 6-mm-In-busschlüssel fest.

Bevor Sie den Roller benutzen, vergewissern Sie sich, dass die 4 Schrauben gut angezogen sind. Prufen Sie auch regelmäßig, ob die 4 Schrauben richtig angezogen sind.

12. LADEN DES AKKUS
- Der Roller ist mit einem aufladbaren Lithium-lonen-Akku und einem für das ordnungsgemäß Laden geeigneten Ladegerät ausgestattet.

NUR das mitgelieferte Ladegerät (FCA136-546020) für das Laden des Akkus verwenden.
- Bei der ersten Benutzung wird geraten, den Akku vollständig aufzuladen (max. Ladedauer 6/8 Stunden)
- Wenn es erforderlich ist, den Akku erneut laden (die verbliebene Ladung wird von den Led auf dem Display angezeigt (siehe Absatz „10“); darauf wie folgt vorgehen:
a. Den Ständer (2) ausklappen und den Roller auf eine ebene Fläche stellen.
b- Den Stöpsel von der Ladebuchse des Akkus (21) entfernen.
c. Den Stecker (38) in die Ladebuchse des Akkus (21) einführen.
D Das Netzkabel (39) and das Ladegerät (20) anschließen.
e Den Stecker (40) des Netzkabels (20) in die Steckdose einstecken. Die Led auf dem Ladegerät leuchtet „rot“, um anzuzeigen, dass der Ladevorgang in Gang ist. Nach abgeschlossener Ladung wechselt die Led auf „grün".


Sich vergewissern, dass die Netzspannung mit der Angabe auf dem Ladegerät übereinstimmt (100-240V ~ 50/60Hz).
f. Nach erfolgter Ladung, die Kabel abnehmer und den Stöpsel erneut auf der Ladebuchse des Akkus (21) anbringen.

12.1 - PFLEGE DES AKKUS
- Der Akku ist nach jedem Gebrauch neu zu laden.
-
Wird der Roller für einen längeren Zeitraum nicht benutzt, wird empfohlen, den Akku mindestens ein Mal im Monat aufzuladen. Andernfalls versetzt sich der Akku in einen Zustand des Selfbstschutzes und kann nicht mehr geladen werden. Sich in thisem Fall an den Handler wenden.
-
Das Ladegerät ist mit der Funktion des Selfbstschutzes vor Überladung versehen; der Akku hört automatisch auf, sich aufzuladen, sobald er 100% der Ladung erreicht hat.
- Das Ladegerät nicht in nassen oder feuchten Räumen benutzen.
- Den Akku nicht laden, wenn die Ladebuchse (21), die Ladekabel oder das Ladegerät Nass oder feucht sind.
- Den Akku laden, wenn auf dem Display nur noch ein Leuchtfleck leuchtet.
- Den Akku nicht laden, wenn er Zeichen von Beschädigung oder Flüssigkeitsverluste aufweist.
- Schäden, die durch unzureichende Wartungsgebühr verursacht werden, wird nicht durch die Garantie abgedeckt.
13. VERWENDUNG DER ROLLERS

Vor der Benutzung des Rollers, sich vergewissern, alles, was in thisem Dokument enthalten ist, gelesen und verstanden zu haben. Etwaige Unfälle oder durch einen unsachgemäßigen Gebrauch des Rollers verursache Schäden enthebenden Hersteller und/oder den Handler von jeglicher Haftung und macht den Benutzer zum einzigen Verantwortlichen gegenüber den zuständigen Behörden.

Den Helm und andere personliche Schutzausrüstung, wie Knie-, Ellbogenschützer und Handschuhe ordnungsgemäß tragen. Es wird geraten, flache Schuhe zu tragen.
- Die Lenkergriffe (22) ordnungsgemäß ergreifen und den Ständer (2) anheben.
- Die Einschalttaste EIN/AUS (26) gedrückt halten, um das Display einzuschalten.
- Sich vergewissern, dass der Akku ausreichend geladen ist.
- Die Taste (27) kurz drücken, um die gewünschte Geschwindigkeitsstufe (von „1" bis „3") auszuwahlen.
$$ 1 ^ {\prime \prime} = 0 \div 6 \mathrm {k m / h} | ^ {\prime \prime} 2 ^ {\prime \prime} = 7 \div 1 5 \mathrm {k m / h} | ^ {\prime \prime} 3 ^ {\prime \prime} = 1 6 \div 2 5 \mathrm {k m / h} $$

- Einen Fuß auf das Trittbrett stellen und sich mit dem anderen abstoßen, ohne das Gleichgewicht zu verlieren.
- Gleichzeitig den Gashebel (12) drücken, wenn die Geschwindigkeit 4 km/h übersteigt, schaltet sich der Motor ein.

- Auch den anderen Fuß auf das Trittbrett stellen und vorsichtig und aufmerksam fahren.
- Wahlend der Fahrt kann die Geschwindigkeit verändert werden, indem der Gashebel (12) gedrückt oder losgelassen wird oder durch Veränderung der gewünschten Geschwindigkeitsstufe.
-
Um zu verlangsamen:
-
Den Gashebel (12) loslassen;
- oderziehen Sie den Hebel der Vorderadrbremse (11a); in dieser Fall stellt sich der Motor ab;
-
oderziehen Sie den hinteren Bremshebel (11b); in dieser Fall stellt sich der Motor ab.
-
Es ist möglich, auch alle Optionen gleichzeitig zu verwenden.
- Für eine kräftigere Bremsung, beiden Bremshebelziehen (11a) (11b).

Bremst man energisch, setzen man sich der Gefahr des Ausrutschens oder Stürzen aus; eine gemäßige Geschwindigkeit beibehalten und auf die potentiellen Gefahren achten.

13.1 - RATSCHLAGE FÜR EINEN ORDNUNGSGEMÄSSEN GEBRAUCH
a. Um abzubiegen, das Gewicht des Körpers verlagern und den Lenker leicht drehen.
b. Auf den Kopf achten, wenn man unter einem Hindernis durchfährt.
c- Bei Gefälle, die Geschwindigkeit kontrollieren; beiden Bremsen benutzen, wenn man mit hoher Geschwindigkeit unterwegs ist.
d. Den Roller NICHT bei Regen benutzen.
e. Den Roller nicht durch Pfützen oder andere Hindernisse (mit Wasser) lenken. In diesen Fällen, die Geschwindigkeit herabsetzen und das Hindernis umfahren.
f. Den Roller NICTZ zu zweit benutzen, noch einen Passagier befindern. Kein Kind befindern.
g. Wahlrend der Fahrt über Bodenschwellen, auf schlechten Straßen oder anderen unregelmäßigen Oberflächen eine gemäßige Geschwindigkeit (zwischen 5 und 10km / h ) einhalten. Die Knie leicht durchbiegen, um diese Oberflächen better abzufedern.

a

b

C

d

f
g

Max. 5-10 km/h
h. KEINE schweren oder sperrigen Gegenstände auf dem Lenker transportieren.
i. Den Roller NICHT mit einem einzigen Fuß fahren.
j- Den Lenker während der Fahrt NICHT loslassen. Nicht mit einer einzigen Hand fahren.
k. KEINE Treppen hereauf- oder herunterfahren oder auf Hindernisse aufspringen.
1. Den Lenker nicht abrupt drehen, insbesondere nicht bei hoher Geschwindigkeit.
m. Die Geschwindigkeit an die Art der Straße und den Zustand des Straßenbelags anpassen.
n. Den Fußgängern den Vorrang setzen.


14. DEN ROLLER ZUSAMMENLEGEN UND TRANSPORTIEREN
a. Den Ständer (2) ausklappen und den Roller auf eine ebene Flüche stellen.
b. Den Roller ausschalten, indem die Taste EIN/AUS (26) gedrück gehalten wird.

C. Die Lenksäule (7) mit einer Hand ergreifen.
d-Ziehen Sie mit der anderen Hand den Einhangehebel (6).
e Klappen Sie den Lenksäule (7) über den Klapphebel (16) und drücken Sieihn nach unten, umihn einzurasten (bis Sie das „Klicken" des Einrastens horen).

Vergewissern Sie sich, dass der Lenker richtig in die Klappverschluss eingerastet ist.

f. Um den Roller anzuheiten, die Lenksäule (7) ergreifen, damit das Gewicht ausbalancieren.
g. Falls erforderlich, die Schrauben offen und den Lenker (9) abnehmer.
h. Den Roller an einem trockenen Ort, fern von Feuchtigkeit, weglegen.
Den Roller nicht im Freien aufbewahren.
Die übermäßige Sonnenbelastung, Kälte oder Hitze kann den Roller beschädigen und den Verschleiß der Reifen und des Akkus beschleunigen.
Den Roller eventuell in die ursprüngliche Schachtel zurücklegen.

15. WARTUNG
- Im Allgemeinen, wenn man den Roller reinigt, sicherstellen, dass er ausgescheltet und das Ladekabel des Akkus herausgezogen und der Stöpsel der Ladebuchse auf dem Gerät verschlüssen ist (siehe Absatz „12“, Punkt „f").
- Zur Reinigung des Rollers ein weiches und keinlich feuchtes Tuch verwenden. Sollte die Reinigung schwieriger als vorgesehen sein, wird geraten, eine Zahnbürste unter etwaiger Zugabe von Zahn pasta zu verwenden, um den hartnäckigsten Schmutz zu beseitigen.
Die Zahnpasta und die Rückstände mit einem weichen und leicht feuchten Tuch entfern.

KEINEN Alkohol, Benzin oder andere Lösungsmittel, ätzende chemische Erzeugnisse benutzen, um zu vermeiden, sowohl das Aussehen als den Aufbau des Rollers zu beschädigen.
KEINE Hochdruckpistolen verwenden, um den Roller zu reinigen.
- Wird der Roller nicht benutzt, diesen an einem trockenen Ort, fern von Feuchtigkeit, aufbewahren.
- Den Roller nicht im Freien aufbewahren. Die übermäßige Sonnenbelastung, Kälte oder Hitze kann den Roller beschädigen und den Verschleiß der Reifen und des Akkus beschleunigen.
15.1 - EINSTELLUNG DER SCHEIBENBREMSEN

Die Bremsscheiben nicht unmittelbar nach der Benutzung des Rollers berühren. Verbrennungsgefahr!
- Sollte die Bremse sich als zu straff erweisen, den mitgelieferten Inbus-Schlüssel verwenden, um die Klemmschraube (41) zu lösen und den Druck des Bremskabels lockern. Das Kabel verkurzen und die Klemmschraube (41) festziehen. Ist die Bremse zu locker, umgekehrt vorgehen und das Bremskabel verlangern.
- Für die Feineinstellung der Bremse, auf die Einstellschraube (42) des Bremshebels (11a)(11b) und/oder auf die Einstellschraube (43) der Baugruppe Scheibenbremse einwirken.
- Nach Abschluss der Einstellung den Gewindering (44) anziehen.

16. STÖRUNGEN UND ABHILFEN
- Der Roller bewegt sich nach dem Start nicht.
-
Die Bremse ist nicht vollständig zurückgesetzt.
Dies unterbricht die Versorgung.
Die Bremse erneut in Stellung bringen. -
Der Roller bewegt sich nur langsam oder überhaupt nicht.
-
Der Akku ist leer.
Den Akku erneut laden.
Den Akku ersetzen (1).
-
Der Motor springt an und schaltet sich wieder ab.
-
Der Akku ist leer.
Den Akku ersetzen(1). -
Der Controller ist defekt.
Den Controller(1) auswechseln.
Die Verbindung des Akkus ist locker.
Die Anschlüsse des Akkus(1) einstellen. -
Der Akku kann nicht geladen werden oder hat sich langsam aufgeladen.
-
Die Spannung ist nicht die richtige.
Die Wartung des Akkus vornehmen oder den Akku austauschen(1). -
Der Akku ländt nicht auf.
-
Der Lebenszyklus des Akkus ist beendet.
Den Akku ersetzen (1). - Das Ladegerät gibt keine Leistung ab.
Das Ladegerät auswechseln(1). - Die Ladebuchse ist beschädigt.
Die Ladebuchse austauschen(1).
Fehlercodes
- Eventuell werden Fehlercodes angezeigt. des Rollers Funktioniert unter diesen Bedingungen nicht mehr.
E0 = Kommunikationsfehler
E1 = Anormaler Strom
E2 = Beschleunigerfehler
E3 = Bremsausfall
E4 = MOS-Fehler / Überstromfehler
E5 = Hall / Motorfehler
E6 = Motorfehler
E7 = Unterspannungsfehler - Wenn ein Problem nicht gelöst werden kann, wenden Sie sich an ihren Handl.
17. GARANTIE
- Die Anweisungen des Handbuches sorgfältig lesen, bevor der E-Roller benutzt wird.
- Den E-Roller nicht benutzen, wenn dies gesetzlich untersagt ist. Den E-Roller nicht benutzen, wenn er eine Gefahr für den Lenker und den Personen bzw. Sachen in der Nähe verursachen kann.
- Das Produkt ist für einen Zeitraum von 2 Jahren ab dem Datum des Erwerbs mit Kassenzettel oder von 1 Jahr ab dem Datum des Erwerbs mit Rechnung garantiert. Die Garantie ist nur gültig, sofern durch einen Kaufbeweis belegt (Kassenzettel für den Verbraucher), der anlässlich der Anforderung des Eingriffs vorzulegen ist. Das nicht entsprechende Produkt muss in seiner Originalverpackung, komplett mit allen Zubehör, zurückgegeben werden.
- Garantiedauer des Akkus: 6 Monate.
- Die Garantie greift nicht im Fall von Schäden, die durch Nachlüssigkeit, nicht den gelieferten Anweisungen entsprechenden Gebrauch oder Installation, Verletzung, Veränderung des Produkts oder der Seriennummer verursacht werden, von Schäden aufgrund von Zufallsumständen oder Fahrlösigkeit des Käufers, mit besonderem Augenmerk auf die Außenteile. Von der Garantie ausgeschlossen sind die durch Benutzung dem Verschleiß ausgesetzten Teile: Kabel, Anschlüsse, Außenteile und Halterungen aus Kunststoff, die keine Fertigungsmängel aufweisen.
- Sich für den technischen Kundendienst unter Garantie an den Handlender wenden, bei dem das Produkt erworben wurde, der die Voruntersuchung des Mangels vornimmt und das Produkt an den Kundendienst weiterleitet.
-
Die Garantie deckt keine Korrosion des Produkts ab.
-
TECHNISCHE DATEN
| Abmessungen | Abmessungen Roller geöffnet | 1295 x 470 x 1340 mm |
| Abmessungen Roller zusammengelegt | 1295 x 470 x 580 mm | |
| Verpackungsabmessungen | 1340 x 250 x 630 mm | |
| Gewicht | Höchstgewicht Benutzer | 120 kg |
| Mindestgewicht Benutzer | 45 kg | |
| Nettogewicht Roller | 31 kg | |
| Gewicht mit Verpackung | 37,5 kg | |
| Fahranforderungen | Körperhöhe Benutzer | 130 ÷ 200 cm |
| Leistungsbeschreibung | Höchstgeschwindigkeit | 25 km/h (kann je nach Untergrund und Gewicht schwanken) |
| Maximale Autonomie | 55 km (kann je nach Gewicht schwanken) | |
| Steigungswinkel | 15% | |
| USB-Buchse | 5V - 0.5A | |
| Betriebstemperatur | -10°C ÷ +45°C | |
| Lagertemperatur | -10°C ÷ +25°C | |
| Relative Luftfeuchtigkeit | ≤ 75% RH | |
| Wasserdichtigkeit | IPX4 |
| Akku | Typ | Lithium-Akku Typ 18650 |
| Kapazität | 48 V / 15 Ah | |
| Maximale Autonomie | 55 km | |
| Ladedauer | 6 ÷ 8 Stunden | |
| Input | 100 - 240 V AC 50 / 60 Hz 1.8 A (max.) | |
| Output | 54.6 V DC - 2.0 A | |
| Stromversorgung | FCA136-546020 | |
| Motor | Typ | Bürstenloser Energiesparmotor |
| Nennleistung | 48 V - 500 W | |
| Räder | Typ | Luftreifen |
| Durchmesser | 11" | |
| Merkmal | Breite genoppte Lauffläche |
EinfachAnleitung