SONY Bravia KD75XG8588 - Televízió

Bravia KD75XG8588 - Televízió SONY - Ingyenes használati útmutató

Találja meg az eszköz kézikönyvét ingyenesen Bravia KD75XG8588 SONY PDF formátumban.

📄 496 oldal PDF ⬇️ Magyar HU 💬 AI kérdés 🖨️ Nyomtatás
Notice SONY Bravia KD75XG8588 - page 241
Kézikönyv-asszisztens
A ChatGPT működteti
Várakozás az üzenetére
Termékinformáció

Márka : SONY

Modell : Bravia KD75XG8588

Kategória : Televízió

Töltse le az útmutatót a következőhöz Televízió PDF formátumban ingyenesen! Találja meg kézikönyvét Bravia KD75XG8588 - SONY és vegye vissza elektronikus eszközét a kezébe. Ezen az oldalon közzé van téve az eszköze használatához szükséges összes dokumentum. Bravia KD75XG8588 márka SONY.

HASZNÁLATI ÚTMUTATÓ Bravia KD75XG8588 SONY

Szerelési információk

  • Az adott típusnévben szereplő „” a típusra jellemző számokat és/vagy karaktereket jelöli. Vásárlóink figyelmébe Termék- és baleset-biztonsági okokból a Sony azt tanácsolja, hogy a tv-készülék üzembe helyezését Sony viszonteladó vagy alvállalkozó hajtsa végre. Ne kísérelje meg a termék önálló felszerelését. Sony viszonteladók és alvállalkozók figyelmébe A termék üzembe helyezésekor, rendszeres karbantartásakor és vizsgálatakor maradéktalanul tartson be minden biztonsági óvintézkedést. A készülék felszerelése megfelelő szaktudást igényel, különösen a tv-készülék súlyát tartó fal teherbírásának megállapítását illetően. A készülék falra rögzítését mindig bízza Sony viszonteladóra vagy alvállalkozóra, és szereléskor ügyeljen a biztonságra. A Sony nem vállal felelősséget a gondatlan vagy szakszerűtlen szerelésből eredő személyi sérülésekért vagy anyagi károkért. A biztonság és a megfelelő felszerelés érdekében kövesse a fali konzol kezelési útmutatóját, a TV-beállítási útmutatót és a jelen kézikönyv utasításait.− 3 (HU) −

Biztonság Köszönjük, hogy ezt a készüléket vásárolta meg. Vásárlóink figyelmébe A termék felszereléséhez megfelelő tapasztalat szükséges. A szerelést a Sony viszonteladója vagy szerződött alvállalkozója végezze, különös tekintettel a szerelés biztonságára. A Sony nem tehető felelőssé a helytelen kezelésből vagy a helytelen szerelésből, illetve a megadott terméktől eltérő termék felszereléséből adódó semmilyen anyagi kárért vagy személyi sérülésért. Az Ön törvényes jogait (ha vannak) ez nem érinti. Sony viszonteladók számára A termék felszereléséhez megfelelő tapasztalat szükséges. A biztonságos munkavégzés érdekében alaposan olvassa el ezt az útmutatót. A Sony nem tehető felelőssé a helytelen kezelés és szerelés miatt bekövetkezett semmilyen kárért vagy sérülésért. Kérjük, a szerelés befejezése után ezt az útmutatót adja át a fogyasztónak. Ez a használati útmutató a termék helyes kezelését, illetve a fontos balesetvédelmi intézkedéseket mutatja be. Alaposan olvassa el ezt az útmutatót, és használja megfelelően a terméket. A későbbi használat céljára őrizze meg ezt az útmutatót. A Sony termékeinek tervezése a biztonság szem előtt tartásával történik. A termékek helytelen használata azonban súlyos égési sérülést, áramütést okozhat, a termék feldőlhet vagy leeshet. Az ilyen balesetek elkerülése érdekében tartsa be a biztonsági előírásokat. VIGYÁZAT Meghatározott termékek Ez a fali konzol a megadott tv-készülékekhez használható. Tv-készülékek esetében a használható fali konzol típusát a készülék Referencia útmutatója tartalmazza. Vásárlóink figyelmébe FIGYELMEZTETÉS A következő biztonsági előírások be nem tartása súlyos égési sérülést, halált, áramütést okozhat, a termék pedig leeshet. A szerelést erre felhatalmazott vállalkozó végezze, és a gyerekeket tartsa távol a szerelés helyszínétől. A fali konzol vagy a tv-készülék helytelen felszerelése esetén a következő balesetek következhetnek be. A szerelést felhatalmazott vállalkozónak kell végeznie.

A tv-készülék leeshet, és súlyos sérülést, zúzódást vagy törést okozhat.

Ha a fal, amelyre a fali konzolt felszerelik, nem stabil, egyenetlen, vagy nem merőleges a padlózatra, akkor a készülék leeshet, és személyi sérülést vagy anyagi kárt okozhat. A falnak legalább a tv-készülék súlyának négyszeresét kell elbírnia. (A tv-készülék súlyát lásd a készülék Referencia útmutatójában.)

Ha a fali konzol felerősítése nem eléggé erős, akkor a készülék leeshet, és személyi sérülést vagy anyagi kárt okozhat. A tv-készülék szállítását és levételét erre felhatalmazott vállalkozó végezze. Ha a tv-készülék szállítását vagy levételét nem felhatalmazott vállalkozó végzi, a készülék leeshet, és személyi sérülést vagy anyagi kárt okozhat. Ügyeljen rá, hogy kettő, vagy több személy (75 hüvelykes, vagy annál nagyobb televízió esetén három vagy több személy) szállítsa vagy szerelje le a televíziót. A tv-készülék felerősítése után ne távolítsa el a csavarokat stb. Ellenkező esetben a tv-készülék leeshet, és személyi sérülést vagy anyagi kárt okozhat. A fali konzolt ne szerelje szét, és az alkatrészeit ne változtassa meg. Ekkor a fali konzol leeshet, és személyi sérülést vagy anyagi kárt okozhat. A fali konzolra csak a megadott készüléket erősítse fel. Ez a fali konzol csak a megadott készülékekhez használható. Más készülék felerősítése esetén a készülék leeshet, eltörhet, és személyi sérülést vagy anyagi kárt okozhat. A fali konzolra csak a tv-készüléket erősítse fel. E Ne rázza a tv-t jobbra/ balra, felfelé/lefelé. llenkező esetben a tv-készülék leeshet, és személyi sérülést vagy anyagi kárt okozhat. Ne támaszkodjon a tv-készülékre, és ne kapaszkodjon bele. Ne támaszkodjon a tv-készülékre, és ne kapaszkodjon bele, mert a tv-készülék Önre eshet, és súlyos sérülést okozhat. VIGYÁZAT Az alábbi biztonsági előírások be nem tartása személyi sérülést vagy anyagi kárt okozhat. A készülék tisztítása vagy karbantartása során ne alkalmazzon túl nagy erőt. Ne nyomja meg nagy erővel a tv-készülék felső részét. Ellenkező esetben a tv-készülék leeshet, és személyi sérülést vagy anyagi kárt okozhat. Biztonsági előírások

Ha a fali konzolra erősített tv-készüléket hosszú ideig használja, akkor a fal anyagától függően a tv-készülék mögött vagy felett elszíneződhet a falfelület, a tapéta leválhat.

Ha a fali konzolt leszereli, a csavarfuratok megmaradnak.

Ne használja a fali konzolt olyan helyen, ahol mechanikai rezgésnek lehet kitéve. A fali konzol felszerelése Sony viszonteladók számára FIGYELMEZTETÉS A következő útmutatások csak a Sony viszonteladók számára szólnak. Feltétlenül olvassa el a fenti biztonsági előírásokat, és a készülék felszerelése, karbantartása és ellenőrzése során fokozottan ügyeljen a biztonságra.− 4 (HU) − A fali konzolt ne szerelje fel olyan helyen, ahol a tv-készülék sarkai vagy oldalai kilóghatnak a fal síkjából. A falra függesztő konzolt ne szerelje fel olyan falfelületre, például oszlopra, ahol a tv-készülék sarkai vagy oldalai kilóghatnak a fal síkjából. Ha egy személy vagy tárgy a tv-készülék kiálló sarkába vagy oldalába ütközik, az személyi sérülést vagy anyagi kárt okozhat. A tv-készüléket ne szerelje légkondicionáló alá vagy fölé. Ha a tv-készüléket hosszú ideig éri a légkondicionálóból csepegő víz vagy a levegőáram, az áramütést okozhat, vagy a tv-készülék helytelenül működhet. Ügyeljen a fali konzol ennek a használati útmutatónak megfelelő, biztonságos falra rögzítésére. Ha bármelyik csavar laza, vagy kiesik, akkor a fali konzol leeshet, és személyi sérülést vagy anyagi kárt okozhat. A fal anyagának megfelelő csavart használja, és az egységet négy vagy több 8 mm átmérőjű (vagy azzal egyenértékű) csavarral biztonságosan rögzítse a falra. A mellékelt csavarokat és csatlakozóelemeket használja, és tartsa be a használati útmutató utasításait. Ha más alkatrészeket használ, akkor a tv-készülék leeshet, és személyi sérülést okozhat, vagy a tv-készülék megsérülhet. A fali konzolt a használati útmutató utasításainak szigorú betartásával, helyesen szerelje össze. Ha valamelyik csavar laza, vagy kiesik, akkor a tv-készülék leeshet, és személyi sérülést okozhat, vagy megsérülhet. A megfelelő pozíciókban erősen húzza meg a csavarokat. Ennek elmulasztása esetén a tv-készülék leeshet, és személyi sérülést okozhat, vagy megsérülhet. Ügyeljen arra, hogy felszerelés közben ne érje ütés a tv-készüléket. Ha a tv-készüléket ütés éri, akkor leeshet vagy eltörhet. Ez személyi sérülést okozhat. A tv-készüléket olyan sík falra szerelje fel, amely merőleges a padlózatra. Ellenkező esetben a tv-készülék leeshet, és személyi sérülést okozhat. A tv-készülék helyes felerősítése után megfelelően rögzítse a kábeleket. Ha a kábelek emberbe vagy tárgyakba gabalyodnak, az személyi sérülést okozhat, és a tv-készülék megrongálódhat. Ügyeljen arra, hogy a hálózati kábel vagy a csatlakozókábelek ne csípődjenek be. Ha a hálózati kábel vagy az összekötő kábelek a készülék és a fal közé csípődnek, illetve erőszakosan meghajlítják vagy megcsavarják őket, akkor a belső vezetékek szabaddá válhatnak, és rövidzárlat vagy szakadás következhet be. Ez tüzet vagy áramütést okozhat. A fali konzol falra erősítéséhez szükséges csavarok nincsenek mellékelve. A fali konzol falra erősítéséhez használja a fal anyagának és szerkezetének megfelelő csavarokat.− 5 (HU) −

A televíziókészülék falra szerelése A szerelési utasítások televíziókészülékenként eltérnek. A tv-készülék falra szereléséhez használja az SU-WL450 fali konzolt. Megjegyzés

Az eltávolított csavarokat biztos helyen, gyermekek elől elzárva tárolja. A felszerelés előkészületei

A felszerelés előtt készítse elő a TV referencia útmutatóját és a beállítási útmutatóját.

A szerelés megkezdése előtt készítsen elő olyan kereszthornyos (Philips) csavarhúzót, amely illik a csavarokba.

Döntse el, hol helyezkedjen el a tv-készülék.

Készítsen elő négy vagy több 8 mm átmérőjű, és egy 5 mm átmérőjű vagy annak megfelelő csavart (nincs mellékelve). A fal anyagának megfelelő csavarokat válasszon. Az alkatrészek ellenőrzése A SU-WL450 modellhez mellékelve

  • Ellenőrizze, hogy minden alkatrész megtalálható-e. Alap (20) (1) Tárcsa (2) PSW 6x20 (4) PSW 4x20 hüvellyel (2) Távtartó (20) (2) Pánt (1) Hüvely (20) (M4) (2) PSW 4x20 (2) Alap illesztőkeret (2) PSW 4x10 (8) Távtartó (60) (2) PSW 6x50 (2) Hüvely (M4) (2) PSW 4x50 (2) Tartalomjegyzék A felszerelés előkészületei p. 5
  • Az alkatrészek ellenőrzése p. 5
  • A felszereléshez megfelelő hely kiválasztása p. 6
  • Az alap falra szerelése p. 8
  • A televíziókészülék felszerelésének előkészítése p. 9
  • KD-85/75XG85, KD-75XG87 p. 9
  • KD-65/55XG87, KD-65/55XG85 p. 11
  • A tv-készülék felszerelése a falra p. 13
  • KD-85/75XG85, KD-75XG87 p. 13
  • KD-65/55XG87, KD-65/55XG85 p. 15
  • A felszerelés megfelelőségének ellenőrzése p. 18
  • Egyéb információk p. 18
  • Műszaki adatok − 6 (HU) − A felszereléshez megfelelő hely kiválasztása 1 Határozza meg a felszerelés helyét. Győződjön meg arról, hogy a falon elegendő hely van a tv-készüléknek, illetve hogy a fal legalább a televíziókészülék súlyának négyszeresét képes megtartani. A következő táblázat alapján szerelje fel a tv-készüléket a falra. A tv-készülék súlyát lásd a készülék Referencia útmutatójában. A képernyő középpontja Normál rögzítés Falhoz közeli rögzítés Mértékegység: mm Típusnév A képernyő méretei A képernyő középpontjának helyét meghatározó méret A felszereléshez tartozó hosszérték Normál rögzítés Falhoz közeli rögzítés KD-85XG85 p. 18

MegjegyzésA felszereléstől függően a táblázat adataihoz képest kisebb eltérés mutatkozhat.Ha a tv-készüléket falra szereli, a tv felső oldala enyhén előre dől.− 7 (HU) −

Ügyeljen arra, hogy a televíziókészülék és a plafon, valamint a fal kiálló részei között legalább az alábbi ábrán látható hely maradjon. Mértékegység: mm

A megfelelő szellőzés biztosítása, és por vagy szennyeződés felhalmozódásának megelőzése érdekében:ˋ Ne üzemeltesse a tv-készüléket fektetve, fejjel lefelé felszerelve, a hátára vagy az oldalára fordítva.ˋ Ne üzemeltesse a tv-készüléket polcon, ágyra vagy takaróra helyezve, illetve szekrényben.ˋ Ne takarja le a tv-készüléket függönnyel vagy hasonló textíliával, illetve újsággal vagy hasonló anyaggal.ˋ Ne szerelje fel a tv-készüléket az alábbi módon. Gátolt levegőáramlás. Fal Megjegyzés

Ha a kábeleket a falban kívánja elvezetni, akkor még a szerelés megkezdése előtt fúrja ki a szükséges lyukat a falon. Készítsen egy lyukat a falban valahol az alap (20) , alap illesztőkeret és a távtartó (20) , a távtartó (60) területén kívül ahhoz, hogy elkerülje a kábelek becsípődését. 2 Válassza ki a falra való felszerelés stílusát. A tv hátulja és a fal közötti távolság az alábbiak szerint választható ki. 2-a Normál rögzítés 2-b Falhoz közeli rögzítés Tekintse meg az 1. lépésben látható táblázatot. FIGYELMEZTETÉS

A 2-b lehetőség választása esetén a hátulsó csatlakozókhoz való hozzáférés korlátozott. 2-a 2-b 3 Az alap illesztőkeret elhelyezésével kapcsolatban tekintse meg az alábbi táblázatot. A 2-b lehetőség választása esetén hagyja ki ezt a lépést. Típusnév Kampók helye KD-85XG85 KD-75XG87 KD-75XG85

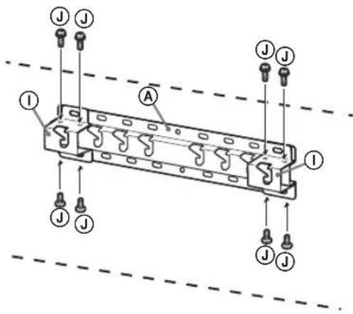
c− 8 (HU) − Illessze fel az alap illesztőkeretet a csavar (PSW 4x10) használatával az (20) alapra, ha a 2-a lehetőséget választotta.

4 Határozza meg a csavarok helyét az alap (20) felszereléséhez. Tekintse meg a műszaki adatokat az 18. oldalon. A 2-a lehetőség választása esetén használja az alap illesztőkeret furathelyeit. FIGYELMEZTETÉS A tévékészüléket tartó fal teherbírásának akkorának kell lennie, hogy legalább a készülék tömegének négyszeresét elbírja (A tv-készülék súlyát lásd a készülék Referencia útmutatójában.). Derítse ki, mekkora a teherbírása a falnak, amelyre a televíziókészüléket szerelni kívánja. Szükség esetén megfelelően erősítse meg a falat. Az alap falra szerelése

Használjon négy vagy több 8 mm átmérőjű vagy annak megfelelő csavart (nincs mellékelve).

Illesszen négy csavart az alap illesztőkeret furataihoz és az (20) alaphoz (csak 2-a).

Vízszintesen szerelje fel az (20) alapot a falra. 2-a

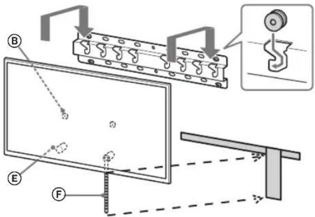
2 Távolítsa el a csavarokat a tv-készülék hátuljáról. 3 Csatlakoztassa a fali konzol csatlakozóelemeit. Ellenőrizze a csatlakozóelemeket a 5. oldalon található, „Az alkatrészek ellenőrzése” című szakasz „A SU-WL450 modellhez mellékelve” részének segítségével. Megjegyzés A csavarok használatával szorosan rögzítse a csatlakozóelemeket. Elektromos csavarbehajtó használata esetén kb. 1,5 N·m {15 kgf·cm} meghúzási nyomatékot kell beállítani. A felhasznált, vagy fel nem használt alkatrészeket biztos helyen tárolja a későbbi felhasználáshoz. Őrizze meg ezt a kézikönyvet későbbi használatra. Normál rögzítés (2-a) Pánt Távtartó (60 mm) Csavar (+PSW 6 x 50) Tárcsa Csavar (+PSW 6 x 20) A televíziókészülék felszerelésének előkészítése Az állvány felszereléséről lásd a beállítási útmutatót. KD-85/75XG85, KD-75XG87 1 A felszerelés tervezett helyét jelölje meg a falon.

Használjon maszkolószalagot, vagy egyéb eszközt (nincs mellékelve) ahhoz, hogy a televízió helyét bejelölje az alap vagy az alap illesztőkeret közelében. Tájékoztatásul használja a következő táblázatot. A képernyő középpontja Maszkolószalag (1 000) (300) Mértékegység: mm Típusnév Megjelölt hossz A képernyő középpontjának helyét meghatározó méret KD-85XG85

KD-75XG87 KD-75XG85 1 673 468 200 107− 10 (HU) − 5 Válassza le az asztali állványt a tv-készülékről.

Egyszerre csak az asztali állvány egyik oldalát távolítsa el. Fogja meg erősen és tartsa meg biztonságosan az asztali állványt mindkét kezével, miközben a többiek felemelik a televíziót. KD-85XG85ÿÿ Falhoz közeli rögzítés (2-b) Megjegyzés

A televízió hátulján található terminálok közül néhányat nem lehet használni, ha ezt a rögzítési stílust használja. Pánt ʲ Csavar (+PSW 6 x 20) ʯ Tárcsa ʮ Távtartó (20 mm) ʱ 4 Csatlakoztassa a szükséges kábel(eke)t a tv-készülékhez. Mindenképpen csatlakoztassa a kábeleket, mielőtt felszereli a televíziókészüléket a falra. A televíziókészülék felszerelése után már nem tudja csatlakoztatni a kábeleket. További részletek a tv-készülékről annak Referencia útmutatójában találhatók. Megjegyzés

A kábelek falban való elvezetését bízza jóváhagyással rendelkező alvállalkozóra. Kötegelje a csatlakozókábeleket annak érdekében, hogy ne lépjen rájuk a falra történő felszerelés előtt.− 11 (HU) −

KD-65/55XG87, KD-65/55XG85 1 Távolítsa el a csavarokat a tv-készülék hátuljáról. 2 Csatlakoztassa a fali konzol csatlakozóelemeit. Ellenőrizze a csatlakozóelemeket a 5. oldalon található, „Az alkatrészek ellenőrzése” című szakasz „A SU-WL450 modellhez mellékelve” részének segítségével. Megjegyzés A csavarok használatával szorosan rögzítse a csatlakozóelemeket. Elektromos csavarbehajtó használata esetén kb. 1,5 N·m {15 kgf·cm} meghúzási nyomatékot kell beállítani. A felhasznált, vagy fel nem használt alkatrészeket biztos helyen tárolja a későbbi felhasználáshoz. Őrizze meg ezt a kézikönyvet későbbi használatra. KD-75XG87, KD-75XG85

Ismételje meg az előző lépést, és távolítsa el az asztali állvány másik oldalát. Megjegyzés Az asztali állvány leválasztásához három vagy több személy szükséges. Ügyeljen arra, hogy az asztali állvány televízióról történő leválasztásakor ne alkalmazzon túl nagy erőt, mert az a televízió leeséséhez vezethet, ami személyi sérülést vagy a televízió fizikai károsodását eredményezheti. Az asztali állvány kezelésekor legyen óvatos annak érdekében, hogy elkerülje a televízió sérülését. A televízió megemelésekor legyen óvatos, mivel az asztali állvány leválasztása után az asztali állvány felborulhat és személyi sérülést okozhat. Legyen óvatos, amikor az asztali állványt leválasztja a televízióról, nehogy az felboruljon és kárt tegyen abban a felületben, amin a televízió áll.− 12 (HU) − Normál rögzítés (2-a) Pánt ʲ Távtartó (60 mm) ʷ Csavar (+PSW 6 x 50) ʸ Tárcsa ʮ Csavar (+PSW 6 x 20) ʯ Falhoz közeli rögzítés (2-b) Megjegyzés

A televízió hátulján található terminálok közül néhányat nem lehet használni, ha ezt a rögzítési stílust használja. Pánt ʲ Csavar (+PSW 6 x 20) ʯ Tárcsa ʮ Távtartó (20 mm) ʱ 3 Csatlakoztassa a szükséges kábel(eke)t a tv-készülékhez. Mindenképpen csatlakoztassa a kábeleket, mielőtt felszereli a televíziókészüléket a falra. A televíziókészülék felszerelése után már nem tudja csatlakoztatni a kábeleket. További részletek a tv-készülékről annak Referencia útmutatójában találhatók. Megjegyzés

A kábelek falban való elvezetését bízza jóváhagyással rendelkező alvállalkozóra. Kötegelje a csatlakozókábeleket annak érdekében, hogy ne lépjen rájuk a falra történő felszerelés előtt. 4 Válassza le az asztali állványt a tv-készülékről.

Egyszerre csak az asztali állvány egyik oldalát távolítsa el. Fogja meg erősen és tartsa meg biztonságosan az asztali állványt mindkét kezével, miközben a többiek felemelik a televíziót.

Ismételje meg az előző lépést, és távolítsa el az asztali állvány másik oldalát. Megjegyzés

Az asztali állvány leválasztásához három vagy több személy szükséges. Ügyeljen arra, hogy az asztali állvány televízióról történő leválasztásakor ne alkalmazzon túl nagy erőt, mert az a televízió leeséséhez vezethet, ami személyi sérülést vagy a televízió fizikai károsodását eredményezheti. Az asztali állvány kezelésekor legyen óvatos annak érdekében, hogy elkerülje a televízió sérülését. A televízió megemelésekor legyen óvatos, mivel az asztali állvány leválasztása után az asztali állvány felborulhat és személyi sérülést okozhat. Legyen óvatos, amikor az asztali állványt leválasztja a televízióról, nehogy az felboruljon és kárt tegyen abban a felületben, amin a televízió áll.− 13 (HU) −

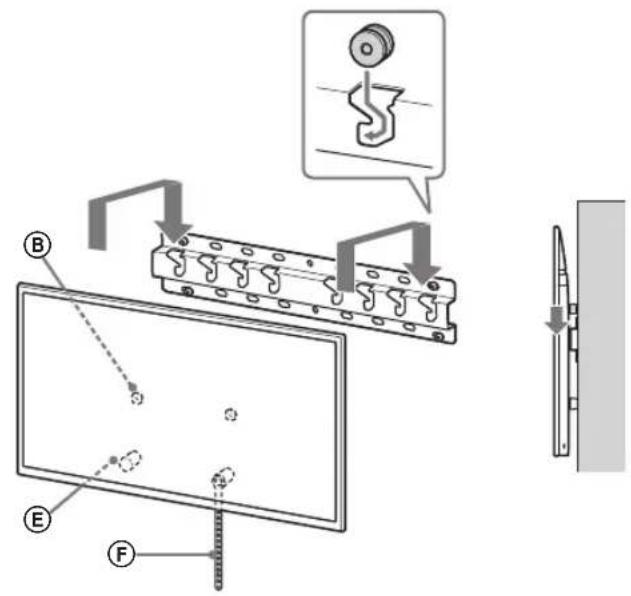
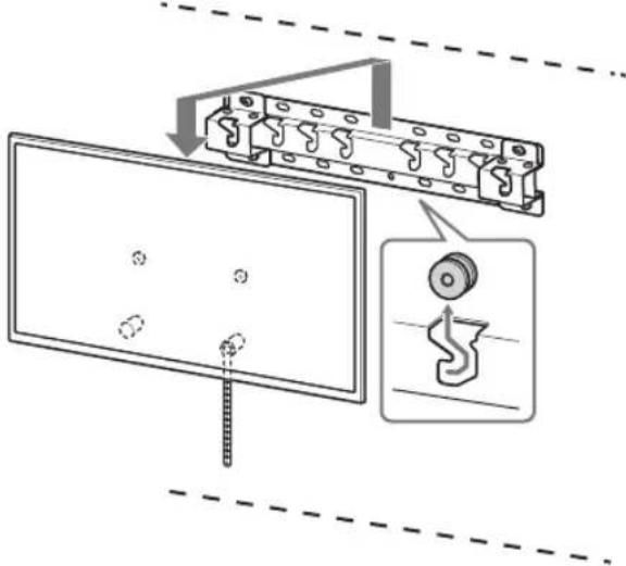
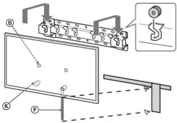
A tv-készülék felszerelése a falra KD-85/75XG85, KD-75XG87 1 Emelje meg a televíziót.

Annak a megválasztásához, hogy a tárcsák hol csatlakozzanak az alap, vagy az alap illesztőkeret tartójához, tekintse át „A felszereléshez megfelelő hely kiválasztása” 3. lépésében szereplő táblázatot, a(z) 7. oldalon.

Győződjön meg róla, hogy a televízió hátsó része hozzáért az alaphoz vagy az alap illesztőkerethez, amikor a televíziót tartja. Megjegyzés Tartsa mindkét kézzel biztosan a televíziót és győződjön meg róla, hogy a pánt és a televízió alsó része egy vonalban vannak a maszkolószalaggal. A televíziót három ember szállítsa és a televízióval szemben álló személy irányítsa a többieket a pozíció beállítása közben. Kiemelt óvatosságra van szükség a televízió felszerelése közben, különösen annak a személynek a részéről, aki alulról támasztja meg a televíziót, mert a készülék leborulhat, és ez súlyos testi sérülést, akár halált is okozhat.

2 Szerelje fel a televíziót az alapra vagy alap illesztőkeretre.

Finoman csúsztassa le a televíziót, és a televízió hátulján lévő tárcsákat akassza az alapba vagy az alap illesztőkeretbe, miután megbizonyosodott a furatok megfelelő alakjáról.

A televíziókészülék falra való felszerelése után ellenőrizze, hogy a tárcsák szorosan illeszkednek-e az alapba vagy az alap illesztőkeretbe.

Óvatosan engedje el mindkét kézzel, ügyelve arra, hogy a televízió nem esik le.

Miután a televíziót felszerelte a falra, távolítsa el a maszkolószalagot, vagy egyéb eszközöket a falról.− 14 (HU) − 2-a

FIGYELMEZTETÉS Ügyeljen rá, hogy kettő, vagy több személy (75 hüvelykes, vagy annál nagyobb televízió esetén három vagy több személy) fogja a televíziót szállítás közben. 3 Teendők a tv-készülék aljának elmozdulása ellen.

A laza pántot rögzítse feszesen a falhoz. 2-a 2-b

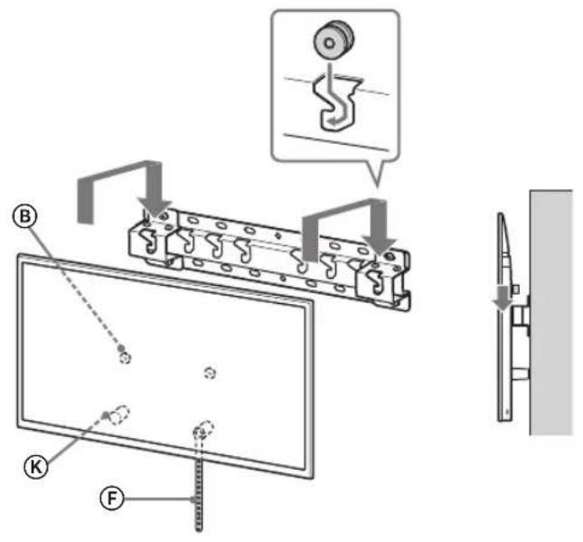
Használjon egy 5 mm átmérőjű vagy annak megfelelő csavart (nincs mellékelve). Megjegyzés Próbálja a tv-készülék alját enyhén maga felé húzni annak ellenőrzéséhez, hogy az biztosan nem mozog-e előre. Ha mozgást tapasztal, akkor a rögzítés nem megfelelő, és a pántot újra szorosan fel kell erősíteni. KD-65/55XG87, KD-65/55XG85 1 Emelje meg a televíziót.

Annak a megválasztásához, hogy a tárcsák hol csatlakozzanak az alap, vagy az alap illesztőkeret tartójához, tekintse át „A felszereléshez megfelelő hely kiválasztása” 3. lépésében szereplő táblázatot, a(z) 7. oldalon.

Győződjön meg róla, hogy a televízió hátsó része hozzáért az alaphoz vagy az alap illesztőkerethez, amikor a televíziót tartja.

Megjegyzés Tartsa meg két kézzel biztonságosan a televíziót. 2 Szerelje fel a televíziót az alapra vagy alap illesztőkeretre.

Finoman csúsztassa le a televíziót, és a televízió hátulján lévő tárcsákat akassza az alapba vagy az alap illesztőkeretbe, miután megbizonyosodott a furatok megfelelő alakjáról.

A televíziókészülék falra való felszerelése után ellenőrizze, hogy a tárcsák szorosan illeszkednek-e az alapba vagy az alap illesztőkeretbe.

Óvatosan engedje el mindkét kézzel, ügyelve arra, hogy a televízió nem esik le.− 16 (HU) − 2-a

Ügyeljen rá, hogy kettő, vagy több személy (75 hüvelykes, vagy annál nagyobb televízió esetén három vagy több személy) fogja a televíziót szállítás közben. 3 Teendők a tv-készülék aljának elmozdulása ellen.

A laza pántot rögzítse feszesen a falhoz. 2-a 2-b

Használjon egy 5 mm átmérőjű vagy annak megfelelő csavart (nincs mellékelve). Megjegyzés

Próbálja a tv-készülék alját enyhén maga felé húzni annak ellenőrzéséhez, hogy az biztosan nem mozog-e előre. Ha mozgást tapasztal, akkor a rögzítés nem megfelelő, és a pántot újra szorosan fel kell erősíteni.− 18 (HU) − A felszerelés megfelelőségének ellenőrzése Ellenőrizze a következőket.

A tárcsák szorosan illeszkednek az alapba vagy az alap illesztőkeretbe.

A hálózati kábel és az összekötő kábelek nem csavarodtak meg vagy csípődtek be.

A pánt feszes és nem laza. FIGYELMEZTETÉS

A hálózati kábel stb. nem megfelelő elhelyezése rövidzárlat miatt tüzet vagy áramütést okozhat. Ellenőrizze a felszerelés megfelelőségét. Egyéb információk A televíziókészülék eltávolításakor visszafelé hajtsa végre az eljárást. FIGYELMEZTETÉS

Ügyeljen rá, hogy kettő, vagy több személy (75 hüvelykes, vagy annál nagyobb televízió esetén három vagy több személy) fogja a televíziót leszerelés közben. Műszaki adatok

h2h1 Méretek: (kb.) [mm] a : 400 b : 300 c : 200 d : 100 e : 80 f : 480 g : 100 h1 : 20 (2-b esetén) h2 : 60 (2-a esetén) Súly (csak az alap): (kb.) [kg] 0,8 A forma és a műszaki adatok előzetes bejelentés nélkül megváltozhatnak.− 2 (CZ) − Instalační informace k používání nástěnného držáku Sony (SU-WL450) Podporované modely: KD-85XG85* / 75XG87* / 75XG85* / 65XG87* / 65XG85* / 55XG87* / 55XG85*