WMI 71241 - Beépíthető mosógép BEKO - Ingyenes használati útmutató
Találja meg az eszköz kézikönyvét ingyenesen WMI 71241 BEKO PDF formátumban.
Töltse le az útmutatót a következőhöz Beépíthető mosógép PDF formátumban ingyenesen! Találja meg kézikönyvét WMI 71241 - BEKO és vegye vissza elektronikus eszközét a kezébe. Ezen az oldalon közzé van téve az eszköze használatához szükséges összes dokumentum. WMI 71241 márka BEKO.
HASZNÁLATI ÚTMUTATÓ WMI 71241 BEKO
- Eco Clean (Oikoloyikó)
Mnpoeite va xpnoiomoinoTe auto to npoypauma nou eivai nio euaiothnoT nooc to nepiiaalov kai touc paoukoic npouc, ia av nleveTe elambdaopa aepwEvbaapakepa pouxa xomega kekedec (ewc3,5kla) oEvvtuo xpov kai oeikovojko tpno. suviotatai va xpnoiomoine t anoppunavtka uypa n tuou Tzελ.
ÁltalánosBiztonsági kerdések
- Soha ne helyezze a gépet szönyegre. A szükséges légáramlás nélkül ugyanis tülhevülhet a gép. Ez pedig problémákat okozhat.
A gép gezetékeinek meghibásodása esétén kérjen szakszerú segitéséget!
A tomlotBiztonsagosan illessze bele az elvezetobehogy megakadalyozza az eseteleges szivargst, es hogy a gep el tutja gezetni avizet.Fontos,hogy az uzembe helyezest vagy tisztitast kovetoen, amikor a gep a helyere kerul a viz be- es kivezeto csovek nem lehetnek meghajolva, osszetekeredve vagy megtorve. - A mosógép úgy van megtervezve, hogy áramszünet esetén is tovabb muködhessen. Ebben az esetben is folytatódik majd a mosási program. A beallitott program törléséhz nyomja meg a „Start/Pause/Cancel" gombot, és tartsa nyomva 3 ésodperci (bövebben a Program törlése alatt).
Elképzelheto, hogy a gép átvételekor már lesz nemi viz a gépben. Tekintve, hogy ez a minósegellenörzési folyamatból maradt vissza, normálismak tekinthetö. A gépre nim káros. - Bizonyos lehetségés problémkért a gép elhelysezé lehet felelós. Nyomja meg a „Start/ Pause/Cancel" gombot, és tartsa nyomva 3 másodpercig a beálított program törleséhz, mielött szerelőt hivna.
Else hasznalat
Az elso mosást mosószerrel, de ruhák nélkül folytassa le a „Pamut 90^ " programmal.
- Üzembe helyezéskor gyözödjön meg róla, hogy a hideg- és melegvizes csatlakoztatások megfeleleőek.
Amennyiben a jelenlegi arammegszakitó 16 amperes teljesitménynel gyengébb, kérjuk, szereltessen be egy szakertövel egy 16 ampereset.
- Atalakítoval vagy anélkül történõ használat közben ne feledkezzen meg a fódelés üzembehelyezéséról sem. A fódelés nélkül használatból eredō károkérć cégünk nem vällal felelosséget.
- A csomagolóanyagokat tartsa távol a gyerektól és a hulladékhasznosítás előirásoknak megfeleloen selejtzeze le öket.
Rendeltetesszerhatszalat
A terméket otthoni használatra tervezték.
- A gép csak a megfelelo jelzésell ellatott dolgok mosására alkalmas.
Biztonsági elóirások
A gépē megfelelo kapacitásu földelt csatlakozáshoz kell kötni.
- A gezetékek és tomlök mindig legyenek sértetlenek, valamint megfeleloen megerositettek.
Kösse a kifolyó tomlôtBiztonságosan egy mosdóhoz vagy kádhoz, mielott hasznalni kezdene a gépet. A magas hörmsékletu mosóviz forražast okozhat!
A betöltöajtó soha ne nyissa ki, illetve ne vegye
ki a szúrot, ha a dob besejében meg viz van.
Ha epp nincs hasznalatban a gep, aramtalanitsa!
Vizes tomlövel soha ne mossa le a gépet! Ezzel áramütésnek teszi ki magát!
Nedves kézzel ne érintse meg a gezetéket! Nemûködtesse a gépet, ha a gezetékek sérültek!
Olyan meghibásodások esétén, melyek nem orvosolhatoák a használatiutasításban foggaltak alapján, tegye a kovetkezöket:
Kapcsolja ki a gépet, húzza ki a csatlakozót, fordísa el a vizes csapot, majd forduljon szakemberhez. A gép leselejtzeşekor további információkt forduljon a megfelelo helyi hatóságokhoz vagy a szilardhulladék-gyüjtöhöz!
Amennyiben gyerekek lennének a házban...
Ha gép mûködik, a gyermekeket ne engedje a közelébe! Ne hagyja, hogy jatszanak a géppel!
Amennyiben elhagyja azt a helyet, ahol a mosogep van, csukja be a betolttoajt!
2 Üzembe helyezés
Acsomagolás eltávolítasa
Billentse féRé a csomagot a csomagolóanyag eltávolitásához. A csomagolást az szalag meghúzásával tutja leválasztani.
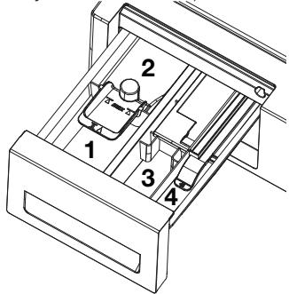
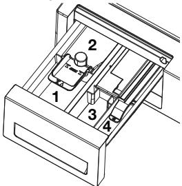
A szallitashoz hasznalt zarak kinyitasa.
A szállításhoz használtBiztonsági csavarokat meg a használat megkezdésé elott el kell távolitani! Enelkül károsodás érheti a gépet!
1. Lazītsa meg öket egy csavarhúzóval addig, amíg már kézzel is csavarhatoak („C”).
2. Övatos csavarásokkal távolítsa el öket!
3. A fedoket (a hasznalati utmutatóval együtt a csomagban talalható) erösítse a panel hátulján levő csövekhez. ("P")

ABiztonsagi csavarokat tartsa biztonsagos helyen arra az esetre,ha ujra koltztetni kellene a gépet.
A megfeleloen rogztitetBiztonsagi csavarok nélkül soha ne kezdjen bele a gép szallításaba!
A labak beallitasa:
Ne használjon semmilyen egyé eszközt a csaverok meglazításához! Ez ugyanis sérülést okozhat.
1. Kézzel lazítsa meg a csavarokat a gép talpán.

- Állítsa be öket úgy, hogy a gép egyenletesen alljona talajon.
- Fontos: Erősítse meg ismét az összes csavart.
A lefolyóhoz történō csatlakoztatás.
Fontos:
A gép mûködtéséhz szükséges viznyomásnak 1-10 bar érték kozottinek kell lennie (0,1 - 1 Mpa).
- A csomagban talalható specialis tomloket erősítse a gépen talalható vizbeömlő szelepekhez.

- A szivárgás megelözese érdekében (amely a csatlakozási pontokon jelentkezhet) gumitōmītěseket is talál a csomagban (4 darabot a dupla vizbeömlós 2 darabot az egyéb modelek esétén). Ezeket a csapnál és a gép csatlakozásainál kell felhasznální. A cso sima, szúrovel felszerelt vége a csaphoz kapcsolando, a masik pedig a gépvez. Kézzel jól húzza meg a csavarokat, de soha ne használjon csavarkulcsot.
- Sima vizbeömlövel rendelkező modelelek nem csatlakoztathatók a melegvizes csaphoz.
Azt kovetoen, hogy a szerkezet et a karbantartasi vagy tiszitasi munka utan visszahelyezte a helyere, figyeljen oda arra, hogy a csovek ne tekeredjenek meg, es ne gatolodjanak el.
Vízlevezetō csatornához valócsatlakoztatás
A vizkivezeto cso egy mosdo vagy egy kád széléhez csatlakoztathato. A tomlonek szilárdan kell csatlakoznia a kivezetohöz, hogy Nehogy kijöjjön belöle.
Fontos:
A tomlo vegét kozvetlenül a lefolyóhoz vagy a kádhoz kell csatlakoztatni.
A tomlot legalabbb 40, maximum 100 cm magasan kell csatlakoztatni.
- Amennyiben a tomlot kevesebb, mint 40 centi valiasztja el padlotol, akkor a vizelvezetes nehézzé valik, a mosott ruhák pedig vizesek maradhatnak.

- A csövet több mint 15 centi mélyen kellcsatlakoztatni. Ha tül hosszú, meg kell röviditeni.
- A kombinhalt tomlok maximum hossza nem lehet hosszabb 3,2 méternél.
Elektromos csatlakozás
A szerkezetet megfelelo kapacitásu foldelt csatlakozáshoz kell kôtni.
Fontos:
A csatlakozónak kell feelnie az adott ország nemzeti elóirásainak.
A megfelelo feszültsegröl a „Technikai specifikáciek" fejezetben olvashat bövebben.
A feszültsegnek kell egyeznie a halózati feszültseggel.
- A hosszabbitókkal létrehozott kapcsolat nem ajánlott.
Ha a keszülk serult tapvezeték ti kell cserelni, aztCsak szakember végezze.
A keszülk a javitas elvégzésieig nem üzemeltethetó! Ezzel aramütésnek teszi ki magát!
3 Mosás elótti elokészületek
A mosnivalo szetvalogatasa
- Válogassa ki a ruḥákat az anyag, szín, és a megengedett vizhórmérséklet értékek alapján, amikor programot vásaszt.
Mindig kövesse a ruḥák címkein találhatóutasításokat.
Mosnivalok összekésztése
A fém részeket is tartalmazo ruhadarabok (pédául övcsattok és fémgombok) károsīthatják a gépet.
Távolítsa el a fém részeket vagy tegye azokat bele egy párnahuzatba, illetve ahhoz hasonlába.
- Ürítse ki a zsebeket és távolítsa el az esetleg ott felejtét tárgyakat, pl. pénzéméket, tollat vagy papírdarobot. Ha lehetségés, fordítsa ki a zsebeket és kefelje ki azokat.
-
A kisebb darabokat, mint pl. a gyerek zoknik és nylonharisnyák, helyezze bele egy párnahuzatba, illetve ahhoz hasonlóba. Ez az esetleges elveszéstól is megvédi ruháit.
A fuggonyoket ovatosan helyezbe be a gepbe. Tavolitsa el a fuggony sinét es elhuzojat.
Húzza fel a zipzárakat, varra fel a meglazult gombokat és javitsa meg a szakadásokat. -
A „gépben moshato“ vagy a „kézzel moshato“ termékeketCsakamegfeleloprogrammalmossa.
- Ne mossa együt a színes és fehér ruḥákat. Az új, sötét ruḥák suk festéket kiereszthetnek magukból. Ezér fontos, hogy azokat külön mossa.
- A makacs foltokat mosás elött megfeleloen kezelni kell. AmennyibenBizonytalan, erdeklödn a szaraztiszítónal.
Hasznaljon gépi mosáshoz megfelól mosószereket. Mindig kövesse a csomagoláson láthato utasításokat. - A nadragokat és a finom ruhákat kifordítva mossa.
- Az angóra gyapjúból keszült ruḥakat mosás elött pár orára tegye a hütőbe. Ez csökkenti a bolyhosodást.
- Az olyan szennyest, melyen liszt, mészkopor, tejpor, stb. talaihato, a mosogépe történő behelyezés elott alaposan rázza ki. Az ilyen porok idövel összegyülhetnek a mosogép belső alkatrészeiben, és kart tehetnek agépen.
Helyes ruhamennyiség
A maximálan moshtó ruhamennyiség a szennyes jellegétól, a szennyezettség fokától és a használni kivist mosásí programtól fugg.
A gép a belehelyezett ruha mennyiségénék megfelelo vizet tolt be.
Kérjuk kovesse a "Programválasztási tablázat" -ban leíratak. A gép tultöltése esétén a mosásieredmények romolhatnak.
Betöltőajtó
A program kozben a betoltaojto nem nyithato. Az ajtocsak a program befejeztevel nyithato.
Nyissa ki az ajtót.
A ruhanemut lazán helyezze be a gépbe.
- Nyomja be a betöltóajtó, amig az szorosan rázáródk. Győzódjön meg rola, hogy semmi sem csipódött be az ajtónal.
Mosószerek és lágyítok
Mosószer-adagoló fiók
A mosógep mosószer-adagoló fiókjá négy kūlónálló rekeszból all: fó mosáshoz használt mosópor, fó mosáshoz használt folyékony mosószer, folyékony öblitó es elmosáshoz használt mosópor. A mosógep a program során ezeket a mosószereket megfelelo idoközönként, automatikusan adagolja a mosáshoz.
A mosószereket soha ne helyeze közvetlenül a dobba. Mindig használa a mosószer-adagoló fiokot. A mosószerek betölitése után soha ne zárja be tül gyorsan a fiokot. Ennek következtében előfordulhat, hogy a mosószerek elöbb kerülnek a rendszerbe, ami nem megfelelo mosást vagy a szöveg sérülését okozhatja.
A mosási program ideje alatt soha ne nyissa ki a fiókot.
A mosószer-adagoló fiók rekeszei a következók:
1) "II"-es számmal ellátott bal oldali rekesz (Fó mosórekesz a mosópor vagy a por alapú
fehéritó/folteltávolitó szármára)
2) "Il ♦" jellel ellátott bal oldali rekesz (Fó mosórekesz a mosószer vagy a folyékony fehérítő/folteltávolító számára)
3) "I"-es számmal ellátott kópéso rekesz (elómosásí rekesz a mosópor, folteltávolító por vagy folyékony fehérító számára - a folyékony fehérítót az elómosás során vagy a mosóprogram elő öblítese során kell hozzaáadni). A folyékony fehérítót manuálisan kell hozzaáadni, miközbén a gép vizet szivattyúzik.
4) Jobb oldali rekesz a "szimbólummal (folyékony öblitószer rekesz)

(II) Fó mosószertartórekész
A mosási program megkezdéselott, helyezzen mosóport a "ill"-es szàmmal jelzett rekeszbe, Használaja motoszergyartó által biztosított adagoló kupakot és kovesse a csomagoláson talalható utmutató. A fehéritó port/folteltávolitósztén ebbe a rekeszbe kell betenni.
A program megkezdéselott ontse a folyékony mosószert "Il" jelle ellatott fósaszertartó rekesze. A folyékony folteltávolítot szintén ebbe a rekesze belli onteni.
Öntse a javasolt mennyiségü folyékony mosószert a "II ⋆" jellel ellatott, bal oldali rekeszbe, majd öntse fel meleg vizzzel a maximum jelig (max. II ⋆).
Külonösen a koncentrátumokat kell felhigitani meleg vizzel; ellenkező esetben a szívócső idővel eldugulhat.
Soha ne tõltse a mosószert a maximális tõltési szint fõle; ellenkező esetben a tulzott mennyiségu mosószer kifolyhat, és viz nélkül erintkezik a szennyessel, melynek következtében a ruhanemük foltosan lesznek. Ebben az esetben üjra kell tõltenie a rekeszt. Soha ne öntse az mosószert kõzvetlenül a ruháakra, mert azok foltosak lesznek.
Folyékony öblíto rekesz
Öntse a javasolt mennyiségú folyékony öblitó t a “ ” jelle ellatott, bal oldali rekesze, majd öntse fel meleg vizzel a maximum jelig (max. ).
Külonösen a koncentrált öblitóket kell felhigítani meleg vizzel; ellenkező esetben a szívócSz idővel eldugulhat.
Soha ne tõltse az öblitõt a maximális szint fõle;
ellenkező esetben a felesleges mennyiségu öblitõ
összekeveredik a mosóvizzel, és üjra kell toltenie
a rekeszt. Soha ne öntse az öblitõt kõzvetlenül a
ruhákra, mert foltosak lesznek tõle.
A mosógép a folyékony öblitôt a program utolso öblitési fázisa során automatikusan adagolja.
(I) Elomosó rekesz
Öntse az elomosáshoz használt mosószert és a folttiszító port az "I" jellel ellatott kozépső rekeszbe. Miközben a mosogép az elomosásí folyamat vagy az elő öblités során vizet szivattuyüzik, folyékony fehérétő isönthet ebbe a rekeszbe. Ha a folyékony fehérétő a szivattyuzás közben önti be a gépbe, lehetővé valík, hogy a fehérétő felhigítva érjen a szennyeshez.
Amennyiben a mosás kozben folyékony fehérítǒt használ, az extra öblītesi funkciót kell kivalasztania. A fehérítǒt az öblītes során el kell távolítani; ellenkező esetben bórirritácíot okozhat.
A folyékony fehérítószer használá teta elòtt mindig olvassa el a ruha címkéjén feltüntetét adagolásiutasításokat.
Keményitő
A folyékony, illetve por allagú keményító, vagy a festékes anyagot a csomagolási utmutató szerint helyezze az öblíto adagolójába.
- Ugyanazon mosási programon belül soha ne használjon együtt textillágyítós keményítót.
- A keményítő használatát kővétően törölje ki a dob besejét.
Fehérítószerek
Amennyiben hagyományos fehérít-osztert kivan hasznalni, javasoljuk, hogy elmosással rendelkező programot valasszon ki, és afehérfósztert az elmosás álottönstbe a rekeszebe, anélkül, hogy mosósztert ontene az elmosásírekesze. Az
is lehetséges, hogy extra öblitétessel rendelkezó programot vlaszt ki, és a fehértőt akkor önti be a mosogépbe, amikor az vizet szivattyúzik A fehértószert nem szabad összekeverni a mosószerrel. Mivel a fehértószer bőirritació okozhat, csak kis mennyiségben szabad haszn (pl. fêascsésze), és alaposan ki kell öbliteni. fehértőt soha ne öntse közvetlenül a ruhára, és használaj színes ruhákhoz.
Oxigén alapú fehéritó használata esétén, kövesse a csomagoláson felTÜntetét utasításokat, és valasszon alacsony hómér sékletú programot. A oxigén alapú fehéritó t a mosóporral együtt is használatja.
Ennek ellenere, ha a mososzer es a feherritoszer szemcsemerete nem azonos, a feherrit a "ll jellel ellatott rekesze bok ontienie, miutan a mososzer osszekeveredett a vizzel.
A vizko kialakulásanak megelózese
Ha szükséges,Csak mosógepekhez kifejlesztett vizkooldot hasznaljon es kovesse a csomagoláson talalhato utmutató.
4 A program kivalasztása és a gép működtétése

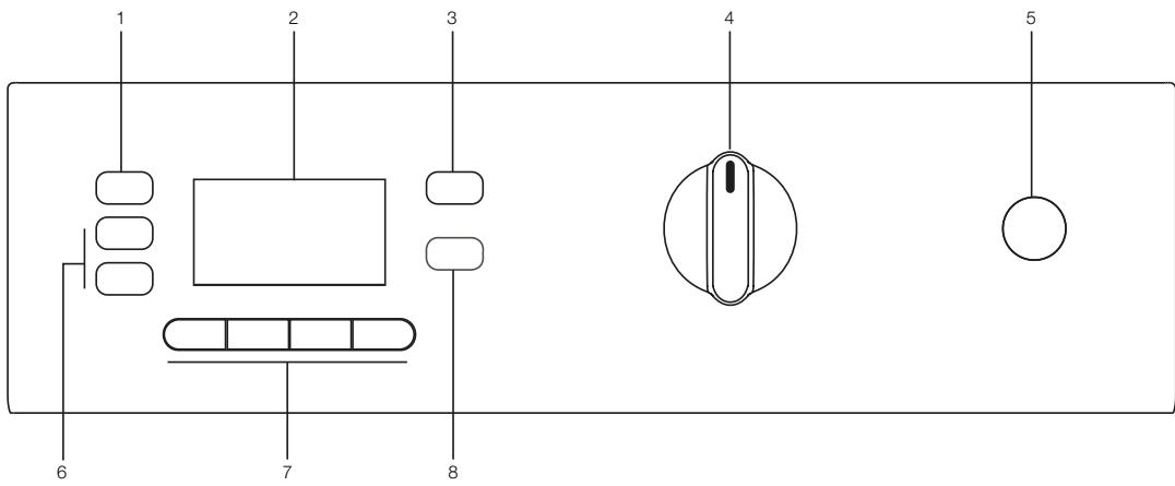
Kezelópult
1 - Centrifugalási sebesség beallitó gomb
2 - Kijelzó
3 - Hómerséklet beallitasi gomb
4 - Programvasztó kapcsoló
5 - Be/Ki kapcsoló
6 - Időeltolásigomb(+/-)
7 - Kiegészőfunkciogombok
8 - Start/Szūnet/Törlés gomb
Kijelzó szimbólumai
a - Centrifugalás szimbóluma
b - Centrifugálás sebességjelző
c - Víz elzarása szimbólum (A gép modelljenek megfeleloen)
d - Gazdaságossági szimbóolum
e - Hómér séklet jelző
f - Hómér séklet szimbólum
g-Ajtozariaszimboluma
h - Keszelnét szimbóluma
i- Inditás szimbóluma
j - Kiegészító funkciók szimbólumai
k - Hátralevo és halasztott idő kijelzó
I - Programjelzó szimbólumok (előmosás/főmosás/öblítés/lágyítás/centrifugázás)
m - Idóeltolás szimbóluma

A gép bekapcsolása
Dugja be a gép csatlakozózsínórját. Forditsa el teljesen a sapkát. Ellenörzüze, hogy a tomlók megfelelo szorosan csatlakoztatva vannak-e. Helyezze a gépbe a ruhákat. Adjon hozza mosószer és lágyító. Nyomja meg a „Be/Ki" gombat.
Programválasztás
Válassza ki a megfelelo programot a program tablázatból azsennyes típusa, mennyisege és szennyezettsége és mosásí hómr sékelete szempontjából.
Forditsa a programválasztó gombot ahhoz a programhoz, mellyel a szennyest mosni szeretné. A képernyón feltúnik az ajánlott hómér sékleti és concentrifugázásí erték. A program elindításához nyomja meg a „Start/Szünet/Törles" gombot.
Fóbb programok
A textilia típusátol fuggöen a következo programok érhetőek el:
Pamut
Ezzel a programmala tartos ruhakat moshatja. Hosszabb mosasi ciklus alatt ruhait a gep eroteljesen mossa. Pamut anyagokhoz ajnlott (pl. lepedo, paplan es parnahuzat, kontos, fehernemu, stb.)
- Szintetikus
Ezzel a programmaI a kevesbe tartos ruhakat moshatja. Ez a programa „Pamut" programhoz képest finomabb mosasi mozdulatok, és rrovidebb
mosási ciklus segitségevel mos. A szintetikus ruhákat (pédául polók, bluzok, szintetikus/gyapjú anyagok stb.) ajanlatos ezzel a programmatic szártani. Fuggönyök és csipék eseten a „Szintetikus 40" programot ajánljuk elmosással és gyüródegatló funkcióval. Az elmosási rekeszbe ne tegyen masóport. A fó mosörészbe kevesebb masóport tegyen, mivel a különáló szalak (csipke) tól suk habot képeznek halós kialakitásuk réyen.
Gyapjú
A gépben is moshato gyapju ruḥakat ezzel a programmatic moshatja. Valassza ki a megfelelo hórméskletet a ruḥai száráma az azokon talalhato címék alapaj. Ajänlott, hogy gyapju anyagok esétuben ügyeljen rá, milyen mosószer használ.
További programok
Különleges esetakben további specialis programokat is választhat.
A további programok kūlönbozhetnek a modellenként.
Pamut Eco
Lehetosege van ra, hogy ruhait a hosszabb pamut programma mossa ki, kivalo mosasi teljesitmenytBiztositva igy.
A gazdasagos pamut programa tobbi pamut programnál kevesebb energiaţ használ fel.
- Babycare
A fokozt higiéniát a hosszabb vizmelegitési periodus é egy további öblités funkcióbiztositja. A csecsemóruhákat é az allergiások ruháit ajánlatos ezzel a programmatic mosni.
- Kézi mosás
Ezzel a programmal moshtoak a "gépben nem moshto" címékével ellatott gyapju-és finom ruhák. A program finoman mossa ki a ruhákat, anélkül hogy azokat barmilyen mádon károsítana.
Daily Express
Ezzel a programmatic kis mennyiségü enyhén szennyezett es nem foltos pamut öltözekeket. Pl. egyszer hordott furdokopenyeket, paplanhuzatokat, sportszerelest, hétköznapi ruhat, stb.
expressz 14
Ezzel a programmatic kis mennyiségü enyhén szennyezett es nem foltos pamut öltözekeket. Pl. egyszer hordott furdokopenyeket, paplanhuzatokat, sportszerelest, hétköznapi ruhat, stb.
Sotét mosás
Ezzel a programmal mossa a sötét ruḥakat, és azokat a színes ruḥakat, amelyeket meg akar övni a kifakulástól. A program kis mechanikai MOZgással, alacsony hòmér sékleton mossa a ruḥakat. A sötét szinú ruḥakhoz folyékony mosószer vagy gyapjúmosószer hasznalatát javasoljuk.
- Mix
Ezzel a programmal pamut és szintetikus ruḥakat egyszerre moshat. Nincs szükség a szétvalogatásukra.
- Ing
Ezzel a programmal pamutingeket moshat, szintetikus és szintetikus jelzésüeket.
Felfrissités
A "Fefrissito" programot az olyan ruhakhoz szagtalanitasyahoz hasznalhatja, amelyeketCsak egyszer viselt, es amelyek nem koszosak.
- Eco Clean
Ez a program sukkal környezetbaratabb, és kevesebb természeti erőforrást használ fel, minta többi mosásí program, ezér a kismértékben szennyezett pamut ruhák (max. 3,5 kg) mosásához hasznalható. Ezzel a programmá róvid idó alattés gazdaságos módon moshat. A program használatához a folyékony vagy gél allagú mosószer javasolt.
- Dob mosás (Öntisztítás)
Ezt a programot a gép öntiszítása érdekébenBizonyos idökòznként jarassa vegig (pl. havonta vagy kéthavonta egyszer). Ezt a programot ruhanemuk behelyzese nélkül kehl használnia.A program inditasa elott gyrozójdön meg rola, hogy a gép valóban üres-e. A halékonyabb tiszítás érdekében helyezzen a "II"-es szàmmal jelötmosószer-adagoló fiokba vizköldó. A program befejeztevel hagyja nyitva a mosogép ajtajat,és hagyja megszaradni a gép belsejét.
Ez a program nem hasznalható a szennyes mosásához. Ez a gép egyik karbantartási programja.
Soha ne használa a programot, ha van valami a gépben.
A program inditásakor a mosógép automatikusan érzékeli a mosógépben lévo ruḥákat, és megszakitja a programot.
Gazdaságossági szimbólum
Mutatja az energiaatakarekos programokat és a hórmárskleti vázasztásí lehtöségeket.
Mivel az "intenzív" és a "higiénia" programok hosszú programok, a magasabb homér séktena a higiénia eléreséhez, a "Gazdaságos" szimbólum nem kezd el világítani.
Specialis programok
Részletes beallitásokhoz valassza a következő programok valamelyikét:
- Oblétés
Ezt a programot akkor használá, amikor kūlön szeretne Öbliteni és keményíteni.
- Centrifugálás + Szivattyúzás
A viznek a gépból történó leeresztését követően ez a program a maximális alapértelmezett rpm sebességgel centrifugal.
A finomabb szennyesekhez alacsonyabb centrifuga fokozatot használjón.
Hömerseklet kivalasztása
Valahányszor uy programot víasztkn ki, a program varhato hómér séklete megjelenik a hómér sékletjelzón (7b).
A hómér séklet megváltoztatásaHOZ nyomja meg a hómér séklet gombot. A hómér séklet igy 10^ -kal csokken.
A hideg viz kivasztasat a " - szimbolum jerol.
| 90°C | Normál szennyezett ségū, fehér pamut anyagok és fehérneműk es-etében. (Pl.: asztalteritők, törülközők, lepedők) |
| 60°C | Átlagosan piszkos, nem fakuló színes fehérneműk, pamut anyagok és sz-intetikus ruhák esetében (Pl.: ingek, pizsamák és enyhén piszkos fehér vászon anyagok (Pl.: fehérnemű) |
| 40°C | Kevertszálas ruhák, beleertve a szintetikus és gyapjú, illetve a finom anyagokat. |
| 30°C hideg |
Centrifugalasi sebesseg kivalasztasa
Egy uy program kivalasztásakor az adott programhoztartozó maximalis sebesség feltünik a kijelzón.
A sebesség csökkentéséhez nyomja meg a "Spin" gombot. Igy a sebesség fokozatosan csökken. Ezt kōvetōen kūlönbožo öblītesi funkciók érhetőek el.
Ezeket az, "es, " Funktionkal jelilik.
Ha a program végeztevel nem uriti ki a ruḥakat,
akkor vālaszthatja az oblités tartasa funkciôt annak
erdekében, hogy a ruḥak ne gyūrödjenek meg mikor
nincs viz a gépben. Ezzel a funkcióval a gép az
utolso öblitövizben tartja ruḥakat. Amennyiben az
oblités-meghosszabbifasi funkciôt kōvetōen ki akarja
centrifugalni a mosást, akkor:
- Állítsa be a centrifuga sebességot.
- Nyomja meg a Start/Szūnet/Törlés gombat. A program folytatódik. A gép kiszivattyúzza a vizét és kicentrifugázza a ruḥakat.
A centrifugamente funkcioarra valo, hogy a program végén a gép centrifugálas nélkül szivattyüzza le a vizet.
Programés fogyasztási tablázat
| HU | Kiegészítő funkció | |||||||||||
| Programok (°C) | Max betöltés (kg) | Vizfogasyztás (l) | Energiafogasyztás (kWh) | Max. sebesség*** | Előmosás | Gyors mosás | Öblítes plusz | Gyürödésgatlás | Ölítés tartás | Áltaször elévolfiása | Választható hősér séklet-tartomány °C | |
| Pamut | 90 | 7 | 74 | 2.30 | 1600 | • | • | • | • | • | • | 90-Hideg |
| Pamut | 60 | 7 | 72 | 1.50 | 1600 | • | • | • | • | • | • | 90-Hideg |
| Pamut | 40 | 7 | 72 | 0.85 | 1600 | • | • | • | • | • | • | 90-Hideg |
| Babycare | 90 | 7 | 66 | 2.70 | 1600 | * | • | 90-30 | ||||
| Pamut Eco | 60** | 7 | 52 | 1.19 | 1600 | • | • | • | • | • | • | 60-Hideg |
| Pamut Eco | 40 | 7 | 64 | 0.72 | 1600 | • | • | • | • | • | • | 60-Hideg |
| Szintetikus | 60 | 3 | 45 | 1.00 | 1000 | • | • | • | • | • | • | 60-Hideg |
| Szintetikus | 40 | 3 | 45 | 0.45 | 1000 | • | • | • | • | • | • | 60-Hideg |
| Eco Clean | 20 | 3.5 | 39 | 0.16 | 1600 | • | 20 | |||||
| Mix | 40 | 3.5 | 45 | 0.55 | 1000 | • | • | • | • | • | • | 40-Hideg |
| Ing | 40 | 3.5 | 45 | 0.55 | 800 | • | • | • | * | • | 60-Hideg | |
| expressz 14 | 30 | 2 | 35 | 0.10 | 1400 | • | • | 30-Hideg | ||||
| Daily Express | 90 | 7 | 60 | 2.00 | 1400 | • | • | 90-Hideg | ||||
| Daily Express | 60 | 7 | 60 | 1.15 | 1400 | • | • | 90-Hideg | ||||
| Daily Express | 30 | 7 | 70 | 0.20 | 1400 | • | • | 90-Hideg | ||||
| Gyapjú | 40 | 1.5 | 56 | 0.30 | 1000 | • | • | 40-Hideg | ||||
| Kézi mosás | 30 | 1 | 40 | 0.25 | 1000 | 30-Hideg | ||||||
| Sötét mosás | 40 | 3 | 82 | 0.55 | 1000 | * | • | 40-Hideg | ||||
| Dob mosás | 70 | - | 100 | 1.70 | 800 | * | 70 | |||||
| Felfrissités | - | 2 | 20 | 0.03 | 1000 | • | - | |||||
: Valiasztható
: Automatikusan vlasztott, nem torolhetó.
: Energiacimke program(EN 60456)
**: Amennyiben a mosógp maximális centrifugálási sebessége alacsonyabb, valassza ki a leghosszabb centrifugálási idót.
: Tekintse meg a programleirast a legmagasabb tolteshez.
A tablazatban szerepl' kiegészítő funciok különbözhetnek a gép modelljétól.
A viz és aramfogyasztás és a program ideje különbőzik a tablázatban a viznyomás, vizkeménység és hórmésklet, környezeti hórmésklet, szennyes típusa és mennyisége, kivalasztott kiegészítő funkciok és a tápfeszültseg tekintetében.
i A gép képernyójén megjelenik program hossza a választásanak megfeleően.
Kiegészítő funkciók
Segedfunkcio valasztás
Amennyiben két egymással nem összeválaszthato segédfunckció kerül kivalasztára, akkor az elóször kivalasztott trolödk, mig a masodik aktív marad.
Pl.: Amennyiben elszor az elmosas, majd a gyorsmosas funkciot valasztja ki, akkor az elmosas funkció trolodik, a gyorsmosas pedig aktiv marad.
Nem program-kompatibilis segédfunkciok nem választhatoak. (bóvebben a „Programválasztási Táblázat" alapján)
Elomosas
Amikor kivalasztja ezt a funkció, a kijelző egy "F1" szimbólumot mutat.
- Elómosás csak erősen szennyezett anyagok esétén ajánlott. Elómosás nélkül energiaít, vizet, mosószert és időt spórolhat.
A mosószer nélküli elómosást ajánljuk fuggonyok esétében.
- Gyors mosás
Ezzel a funkcióval a mosási idó lerövidül. "F2" szimbólum látható a kijelzón.
Ezt a funkciot kevésbe szennyezett ruhákhoz hasznáhatja.
- Oblités plusz
Amikor ezt a funkcioti vlasztjuk, akkor a mosás és öblítés bó vizzel történik. "F3" szimbólum láthato a kijelzón.
Gyurodsegatlas
A gyūrōdés megelözése érdekében e funkció segitsegével a dozmgása merséklódk, a centrifugálas sebesege pedig csökken. A mosásra tovabbá magasabb vizallas mellett kerül sor. "F4" szimbólum lathato a kijelzon.
Ezt a funkciot konnyen gyurod, finom ruhak esetuben hasznalja.
i Valahanyszor kivalasztja ezt a kiegeszitofunkciot, a gepet a program tablazatban meghatarozott maximum szennyes fevel toltse meg.
Idokijelzés
A kijelzó a programból meg hátralévo idôt mutatja.
Az idó ora-perc formátumban jelenitódik meg, a kovetkezóképpen: „01:30".
Idoeltolás
Az „Idöeltolas" funkció segítsegével a program elindulása akár 24 orával is kitolhato. Az erteke 30 perces idoközönkent definiálhato.
Nyissa ki a mosogép ajtajat, tegye be a ruḥakat, majd tõltse meg a mosószer-tartó. Àlítsa be a mosási programot, a homér sékletet, a centrifugálasi sebeseget es szükseg eseten valassza ki a segédfunckciókat. Nyomja meg az „Idöeltolò" gombokat (+/-) az idöeltolás kivistertékenk kivalasztaśhoz. Az idó késlettêtes szimbólum felvillan. Nyomja meg a Start/Szūnet/Torlés gombot. Ekkor az idöeltolódás elkezd visszaféle szamolni. Az idó késlettêtes szimbólum kigyúl. Az inditás szimbólum kigyúl.
A kijelzett ido kozepén talalhato ":" elkezd villogni.
A fennmaradó idó alatt további ruhák adhatoák
a már gépben levóhöz, vagy távolithatoak el abból. A késlettetési visszaszmolás folyamat végén az idő késlettetés szimbólum elhalványul, és ahogy a program idöartama megjelenik, a mosás megkezdódk.
Az idōeltolódás értékének megváltoztatása
Amennyiben a visszaszámlálas alatt szerétrne megvaltoztatni az idóeltolódás értékét, akkor: Nyomja meg a Start/Szūnet/Törles gombot. : " a képernyǒ kōzepén nem villog tovabb. A készenlét szimbólum kigyúl. Az idó késlettetés szimbólum felvillan. Az inditas szimbólum elhalványul. Nyomja meg a "+" és "-" "idó késlettetés" gombokat a kívant késlettetési idó beallitáshoz. Nyomja meg a Start/ Szūnet/Törles gombot. Az idó késlettetés szimbólum kigyúl. A készenlét szimbólum elhalványul. Megjelenik az inditas szimbólum. A ." elkezd villogni.
Idoeltolasi ertek törlese
Amennyiben az idoeltolast trolni szeretné, és azonnal el szeretné linditani agépet.
Nyomja meg a Start/Szūnet/Törlés gombot. A kijelzett idö közepén talalhato “:” abbahagyja a vilgóst. Az indītās szimbólum elhalványul. A készenlét és idö késletetés szimbólumok vilgognak. A kivistás késletetési idöCsökkentésehzey nyomja meg a“"késletetési gombot. 30 percet követően kijelzestre kerül a program idótartama. Nyomja meg az indītās/leallitás/visszavonás gombokat a program indītásához.
A program elindítása
Nyomja meg az inditás/leállítás/visszavonás gombokat a program inditásához. Az inditás szimbólum, mely a program indulasát jelzi, kigyúl. Az ajtó zárak és az ajtó lezárva szimbólum kigyúl. Az érvényes lésés szimbóluma (elómosás, fósosás, öblítés, lágítás és centrifuga), melytól a program elindult, kigyúl.
A kivaliasztás megváltoztatása program elindulását követően
A kivalasztott sebesség és program-hómérseklet értéke eltünik. A kijelzo üresre valt.
A „program kiválasztás“ gomb megfelelo pozíóba kerülèse esétén a hòmér sékleti és sebesség-adatok feltfünnek.
A gép készenléti üzemmodba állítasa
A gép készenléti modba kapcsol az "inditás/leallitás/ visszavonás" gombokkal. A készenlétí szimbóolum, mely a gép készenlétét jelzi kigyúl, és az inditás szimbóolum, mely a program indulásat és folytatásat jelzi, elhalványul.
Kiegészto funkciók kivalasztása vagy visszavonása leallitott modban
A segédfunckciók annak fuggvényében vlaszthatoak ujra, vagy trolhetoek, hogy a program eppen melyik lépésben van.
Szennyes hozzáadása/eltávolítása leállitott modban
Ha a vizszint megfelelo, akkor az ajto kinyithato.
Az ajto lezarva szimbolum eg mindaddig, amig az ajto nem nyithato ki. Amit az ajto kinyithato ez a szimbolum eltunik. Az ajtonyitast kovetoen tovabbi ruha adhato hozzza, vagy vehetoi.
Az ajtó becsukása
Az ajto lezarva szimbólum kigyúl amint a toltés ajtó lezárul. Ez a szimbólum fog vilagftani, amig az ajtó nyitva van. Ebben a fázisban ne rángassa az ajtó. Amint az ajtó kinyithato ez a szimbólum eltünik. Az ajtó kinyithato, amint már nem lathato a kijelzön a szimbólum.
Gyerekzár
Védje meg a készülékét attól, hogy gyermekek megbolygathassák, azzal, hogy gyermekbiztos zárat használ. Ebben az esetben azonban nem valtoztatható meg a program, ha az már elkezdódött.
A gépet a Be-/Kikapcsolás gombbal
kapcsolhatja be és ki amig a ygermekbiztos
zár aktív. Ebben az esetben a gép visszatér
a programjához a ygermekbiztos zár
bekapcsolásával.
A gépetúgy kapcsolhatjuk gyermekbiztosra, hogy megnyomjuk a masodik és negyedik kiegészítő gombot 3 masodpercig. "C : on" (a gyermekbiztos zár aktív) ki;rás jelenik meg a kijelzón.
Ugyanezen szimbólum túnik fel, ha a gyerekzár aktivalásat követően barmely gomb megnyomásra kerül.
Ugyanezen gombok 3 mp-ig történő nyomva tartásával a gyerekzár feloldható.
"C:OFF" (a gerymekbiztos zár kikapcsolva) kiirás jelenik meg a kijelzón.
Program befejezese trollesel
A "Start/Szūnet/Törlés" gomb (2-10. ábra) 3 másodpercig történő megnyomásával a program torölhető. Az inditási szimbólum (3-7i szám) villan fel a törlés alatt. A torlěst kovetöen a megfelelo programrész szimbóluma (amely alatt a torlésre sor került) továbbra is villoggí fog, az „End“ felirat pedig feltúnik a kijelzón.
Programnége
A program befejezesét kovetoen a megfelelo programrész szimbóluma továbbra is vilagitani fog, a program elejen beallitott segédfunkció (hömerséklet és centrifugálas) adatok pedig továbbra is ki lesznek valasztva. A képernyón feltünik az "End" felirat.
5 Karbantartás és tiszítías
Mososzer-adagolofiok
A fiókból távolítsa el az esetlegesen felhalmozódott mosószer maradványokat. Ehhez;

- A mosószer-adagoló fiokot úgy távolithatja el, ha azt maga felé erősen meghúzza.
Amennyiben az öblitó és a folyékony mosószer a normalisnal nagyobb mertékben kezd
összegyúnlzä Öblitó tartorekeszében, akkor a szívocsovet ki kell tisztitani.
- Mossa ki a fiokot majd a szivocsovet bó, langyos vizzel a kádban. Tiszitás kózben viseljen védokesztyúvag hasznaljon megfelelo kefét, hagy védje a kezét a visszamaradt mosószer-maradványoktól.
- Helyezze vissza a fiokot a helyere a tiszitasi folyamatot kovetoen. Ellenorizze, hogy a szifon rendben vissakerult-e az eredeti helyere.
A betóltóajto és a dob
Minden mosást kōvetōen:
Ellenorizze, nem maradt-e idegen anyag a dobban.

- Fogpiszkáló segitségevel tiszíttsa meg a leni nyilást, ha az eltömódott.
A gépben maradt idegen fémdarabok rozsdaftot okozhatnak. Ilyen esetben: Tiszíttsa meg a dobot rozsdamentes acélohz hasznáhlato tiszítószerrel. Soha ne használjon acélforgácsot vagy huzaldarabot.
A gép és az irányító panel
Ha szükséges:
Szappanos vagy enyhén mosószeres vizzel törölje át a gép külso panelrészeit. Törölje szárazra puha törlokendóvel.
Az irányító panel tisztításához csak puha, nedves törlót használjon.
Ne hasznaljon szivacsj vagy surolaszert. Ezek ugyanis a festett m'anyag részek serelesét okozhatjak.
Beömlóvizszürők
Az egyes vizbeömló szelepek végéin (a gép hatulso részén) és az egyes bemeneti viztömlök végén (ahol azok a csaphoz vannak kapcsolva) szürők talalhatoak. Ezek a szürők megakadályozzák, hogy idegen anyagok és piszok kerülhessen a vizbe, és azon keresztül a gépbe. A piszkos szürőket meg kelli tisztitani.

Zárja le a csapokat!
Távolítsa el a bemeneti viztǒmlo csavarait a szelepszúrók kefével való megtiszításához.
Amennyiben a szurok nagyon piszkosak
lennének, harapófogóval is kihúzhatja ǒket, hogy megtiszítsa ǒket.
Vegye ki a bemeneti viztömlök lapos végén talalható szúroket a tòmitésekkel együtt, majd alaposan tiszítlsa meg ǒket folyóvizben.
- A tomtéseket és a szúróket ovatosan illessze vissza a helyere, majd kézzel húzza meg a tomlóanyákat.
Az esetlegesen ottmaradt viz leszivattyuzasa és a szivattyu tisztitása.
A gép szúrórendszere megakadályozza, hogy a mosóviz leeresztése kozben gombok, penzermék, szövetfoszlanyok és más szilard anyagok eltömitsék a szivattyu propellerét. Ezzel elerhetó a viz megfelelo leengedésé, illette a szivattyu élettartama is meghosszabbodik.
- Amennyiból a gép nem szivattyúzná le a vizet, akkor a szivattyú szurõje elömitódhetét. Elképszelheto, hagy 2 évente, ha el vömódve, ki kell tiszítani a gēpet. A szivattyú szurõjének kitisztításához a vizet le kell szivattyúzni.
Továbbá a vizet az alábbi esetakben is teljesen le kell szivattyúzni:
mielótt szállitani szeretné a gépet (pl. koltözsénél).
ha fagy varható
A piszkos szuro megtisztatasahoz és a viz leszivattyasahoz:
1-Huzza ki a gépet az aramtalanitashoz.
! Elképzelhétô, hogy 90^ -os viz van a gépben, ezert a szúrot azt kōvetóen kell kitisztfiñani, hogy a belso viz már lehl't.
2-Nyissa fel a szurósapkát. A szurósapka egy vagy két részból allhat, attol fuggöen, hogy önnek milyen típusú gépe van.
Amennyiben két résból all, akkor nyomja le a szúrósapka fülét, majd húzza ki azt maga felé.
Amennyiben a készülék be van épîte, abban az esetben nem tartalmaz szúrófedelet.

Amennyiben egy részból all, fogja meg mindkét oldalon, és húzza ki.
A szúró fedelének eltávolitásához a szúrófedélen taláható nyiláson keresztól egy csavarhúzóval ovatosan nyomja lefele a bukólemezt.

3-Egyes modelelekhez vesztomlo is jar.Mas modelelekhez nem jar ilyen tomlo.
Amennyiben az ongépehez tartozik ilyen, a kovetkezok szerint járjon el (lásd az abrát):

Húzza ki a szivattyu kimeneti tomlójét a helyéról.
- Helyezzen egy nagyobb tartalyt a tomló vegère. Szivattyúzza le a vizet a tartáyból, uyg, hogy kihúzza a tomló vegén található dugó. Amennyiben a leszivattyuzandó mennyiségu viz nem fer el a tartályban, akkor helyezze vissza a dugó, öntse ki a vizet, majd kezdje üjból a polyamatot.
- A leszivattyuzasi polyamat befejeztével helyeze vissza a dugó t a helyere és illlessze vissza a tomlót.
Amennyiben az on termékehez nem tartozik ilyen tomló, akkor a kovetkezok szerint járjon el (lásd az abrát):

Helyezzen egy nagyobb tartalyt a szur'ele, amely képes felfogni a szur'oból kiöml'o vizet.
Lazitson a szivattyu szurojén (az oramutato jarasaval ellenkez o iranyban), amig a viz el nem kezd kiomleni beloile. Iranyitsa a kiomlo vizet az szuro el e helyezett tartalyba. Egy rongy segtségével felitathatja az esetlegesen kiomlott vizet.
Mikor már nem maradt tobb viz, forditsa el a szivattyuszurot addig, amig az teljesen ki nem lazul, majd tavolitsa el.
Tisztitsa ki a maradványokat és az esetleges szövetszálakat a szúróboł.
- Amennyiben a gépen van vizugsár funkció, bizonyosodjón meg róla, hogy a szúrö beleilleszkedik a helyére. Soha ne eróltesse a szúrö visszahelyezését. Teljesen illesse azt visssa a helyére, mert ha nem, akkor a viz kiszivároghat a sapkából.
4-Zárja le a szúrósapkát.
Zárja le a két részból álló szúróśapkát a terméken azzal, hogy megnyomja rajta a fulet.
Zárja le az egy részból allyszurósapkát, ugy, hogy a gép aljan talalhato fuleket a helyükre illeszt, a felso részt pedig megnyomja.
6 Megoldási javaslatok a problémákra
| Oka | Magyarázat/Jvaslat |
| A program nem indítható vagy választható ki. | |
| • Elképszhelhotó, hagy a gép önvédelmi modestra Kapcsolta magát valamely infrastrukturális probléma miatt (például feszült ség, viznyomás stb. kõvetkeztében). | • Indītsa üjra a gépet a "Start/Szünet/Törlés" gomb 3 másodperciç történő lenyomásával. (bõvebben a Program törlése résznél) |
| Víz szivárog a gép aljábló. | |
| • Elképszhelhotó, hagy a tömlökkel vagy a szürókkel van probléma. | • Bizonyosodjón meg róla, hagy a vizbeömló tömlók tömítései megfeleloen oda vannak erősîte. • Szorosan csatlakoztassa a csaphoz a tömló. • Bizonyosodjón meg róla, hagy a szivattyú szüróje teljesen rá van zárva. |
| A gép röviddel a program kezdete után megállt. | |
| • A gép az alacsony feszült ség kõvetkeztében is megállhat. | • A feszült ség normális szintre való visszaïlltát kõvetönen a gép ismét mühködni fog. |
| Folyamatosan centrifugál. A hátralévő időt nem kezdi el visszaszámlalódni. (Kijelzővel ellatott modelleknól) | |
| • A gépben aránytalanul lettek elhelyezve a ruhák. | • Lehet, hogy az automatikus centrifugálas-korrektó aktivalódott a ruhák aránytalan elosztása kõvetkeztében. • Lehet, hogy a ruhák össegabalyodtak. Ajánlatos a ruhák utjarendezni. • Ha a ruhák nincsenek arányosan elosztva a gépben, a gép és annak környezete védelme érdekében a centrifugálas folytatódik. |
| Folyamatosan mos. A hátralévő időt nem kezdi el visszaszámlalódni. (Kijelzővel ellatott modelleknól) | |
| • Leallitott visszaszámlalás esetén vizvétel kőzben: • Az időzütő nem kezd visszaszámlalásba addig, amig a gépben nem kerül betölítésre a megfelelővizmennyiség. | • A gép egészen addig vár, amig elegendő mennyiségűviz kerül bele, hagy ezzel elkerültó legyen a rosszmosásí eredmény. Ekkor az időzütő elkezd visszafelészámolni. |
| • Szüneteltetett visszaszámlalás esetén: • A visszaszámlalás nem kezdódk meg, amig a programhoz rendelt hörmsékleti értek nem kerül elérésre. | |
| • Szüneteltetett visszaszámlalás esetén a centrifugálas alatt: • A gépben aránytalanul lettek elhelyezve a ruhák. | • Lehet, hogy az automatikus centrifugálas-korrektó aktivalódott a ruhák aránytalan elosztása kõvetkeztében. • Lehet, hogy a ruhák össegabalyodtak. Ajánlatos a ruhák utjarend ezni. • Ha a ruhák nincsenek arányosan elosztva a gépben, a gép és annak környezete védelme érdekében a centrifugálas folytatódik. |
| Hab jön ki a mosószer-tartoból | |
| • Túl suk mosószer törtöbt be. | • Tegyen 1 evőkanál lágyítőfét fel liter vizbe, és öntse EZT a mosószer-tartó fó mosórsébe. |
| Modellek | WMI 71241 |
| Maximális ruhaszárítási kapacitás (kg.) | 7 |
| Magasság (cm) | 84 |
| Szelesseg (cm) | 60 |
| Mélysseg (cm) | 54 |
| Netto tõmeg (±4 kg.) | 69 |
| Elektromosság (V/Hz.) | 230 V / 50Hz |
| Total áram (A) | 10 |
| Total teljesitmény (W) | 2200 |
| Forgási ciklus (max cikl/perc) | 1200 |
A gép jellemzöi elózetes értesités nélkūl megváltozhatnak a minõség fejlesztése érdekében. A jelen hasznalatiutasitásban talāhato értekekCsak sematikus adatok, igy elképszelhto, hogy nem egyznek száz százalekban az ongépének értekeivel.
A gép címkéin vagy a Dokumentumokon feltüntetét érékek laboratoriesi körülmények között kerültek meghatározásra a vonaquate szabványok szem elött tartása mellett. A mukódési körülményektól fuggöen az érékek eltőeket lehetnek.

A készülék a az elektros készülékek vonatkoź szelektiv hulladékgyüjto szimbólummal van ellátv. (WEEE).
Ez azt jelenti, hogy a keszüléket a 2002/96/EC europai direktivánek megfeleloen kell eltávolitani, kidobnla, a környezet megóvasa érdekében. További információrt keresse fel a helyi illetékes szerveket.
Azok a keszülékek, amelyeket nem a szelektiv hulladékyüjtésnek megfeleloen távolit el, dob ki, szennyezi a környezetet, valamint az embari egészsègre is ártalmas lehet.

Sotét mosás

Söét mosás

Szintetikus anyagok

Pamut

Elomosas

Fó mosás

Öblétés

Mosás

Centrifugalias

Finom textiliak

Leeresztés

Gyurodesgatlas

Vattapaplan

Gyerekzár

Kézi mosás

Csecsemoruhak

Pamut Eco

Gyapjuk

expresss 14 Szuper rovid expresss

Napi expressz

Oblétestás

Inditas / szunet

Centrifugalas nélkül

Gyorsmosas

Kesz

Hideg

Hömerseklet

Dob mosás

Alsonemu

Vegyes 40

Szuper 40

Extra öblités

Felfrissités

Pólok

Farmerek

Sport

Idoeltolás

Intenzív
KönnyűKézikönyv