WMI 71241 - Lavatrice da incasso BEKO - Manuale utente e istruzioni gratuiti
Trova gratuitamente il manuale del dispositivo WMI 71241 BEKO in formato PDF.
Scarica le istruzioni per il tuo Lavatrice da incasso in formato PDF gratuitamente! Trova il tuo manuale WMI 71241 - BEKO e riprendi in mano il tuo dispositivo elettronico. In questa pagina sono pubblicati tutti i documenti necessari per l'utilizzo del tuo dispositivo. WMI 71241 del marchio BEKO.
MANUALE UTENTE WMI 71241 BEKO
Non posizionare mai la lavatrice su pavimenti con tappeti. La mancanza di aria dal basso potrebbe provocare il surriscaldamento delle parti elettriche. Ciò più provocare malfunzionamenti della lavatrice.
Se il cavo di alimentazione o la spina sono danneggiati, chiamare un technician autorizzato.
- Inserire il flessibile di scarico all'apposto bocchettone per evitare perdite e consentire alla lavatrice di caricare e scarcare l'acqua secondo quando richiesto. è importantissimo che l'ingresso dell'acqua e i flessibili di scarico non siano piegati, compressi o rotti quando la lavatrice viene posizionata dopo l'installazione o a seguito di interventi di pulizia.
- La lavatrice è stata progettata per continuare a funzionareanche in caso di interruzione. Quando la corrente elettrica viene ripristinata, la lavatrice non riprenderà il suo programma. Premere i pulsante "Avvio/Pausa/Cancella" per 3 secondi per annullare il programma (vedi, Cancellazione di un programma)
- Potrebbe esserci dell'acqua all'interno della lavatrice al momento della segna. Si tratta di acqua derivante dal processo di controllo ed è assolutamente: non danneggia la vostra lavatrice.
- Alcuni dei problemi che potreste incontrare sonoesserecausati dall'infrastruttura. Premere i pulsante "Avvio/Pausa/Cancella"per 3 secondi per annullare il programma prima di chiamare il servizio di assistenza.
Primoutilizzato
- Effettuate il primo lavaggio a lavatrice vuota, utilizzato del detersivo e scegliendo il programma "Cotone 90^ ".
- Quando si installa la lavatrice, assicurarsi che i rubinetti di acqua calda e fredda siano collegati in modo corretto.
Se il valore corrente del fusibile in casa è minore di 16 ampere, consultare un elettricista qualificato e far installare un fusibile da 16 ampere. - Quando si usa con oswana un trasformatore, assicurarsi che l'installazione di messa a terra sia effettuata da un elettricista qualificato. La nostra Società non sare responsabile di danni provocati dall'utilizzo della lavatrice perché messa a terra.
- Conservare gli imballaggi fuori alla portata dei bambini o smaltiri secondo quando previsto dalle normative vigenti.
Uso designato
- Questo prodotto è progettato per un uso domestico.
L'elettrodomestico più essere utilizzato esclusivamente per il lavaggio e il risciacquo di tessuti che in etichetta prevedano tale tipo di lavaggio.
Istruzioni di sicurezza
- Collegare l'elettrodomestico a una presa di terra appropriata, protetta da un fusibile di capacité adeguata.
- I flessibili di carico e scarico devono essere fissati in maniera corretta e presentarsi non danneggiati.
- Prima di avviare la lavatrice, disporre il flessibile di scarico in un catino per la raccolta dell'acqua o nella vasca da bagno. Attenzione: vi è il rischio di uszione a causa della temperatura elevata dell'acqua di lavaggio!
Non après mai lo sportello né togliere il filtramentoentre vi è ancorta dell'accua nel cestello. - Scollegare la lavatrice alla presa elettrica quando non è in uso.
Non lavare mai l'elettrodomestico con un flessibile per l'acqua! C'è il rischio di shock elettrico!
Non toccare mai la spina con le mani bagnate. Non utilizzato la lavatrice se il cavo di alimentazione o la spina sono danneggiati. - Per malfunzionamenti che non possono essere risolti utilizzando le informazioni contenate nel manuale di funzionamento:
- Spagnere la lavatrice, scollegarla, chiudere il rubinetto dell'acqua e contattare il centro di assistenza clienti. Fate riferimento al vostro agente locale o a un centro per lo smaltimento dei rifiuti per averire informazioni sullo smaltimento della lavatrice.
Se ci sono bambini...
- Tenere i bambini lontani alla lavatrice quando è in funzione. Non lasciarli giocare con la lavatrice.
Chiudere lo sportello quando si lascia il locale in cui si trovava la lavatrice.
2 Montaggio
Rimozione dei rinforzi dell'imballaggio
Ribaltare la lavatrice per rimuovere i rinforzi dell'imballaggio. Tirare il nastro per rimuovere i rinforzi dell'imballaggio.
Apertura dei blocchi di trasporto
Prima di azionare la lavatrice, è necessario rimuovere rimossi i bulloni di sicurezza per il trasporto. In caso contrario la lavatrice subirà dei danni!
- Allentare tutti i bulloni con un'apposita chiave, sino a quando ruoteranno liberamente ("C").
- Rimuovere i bulloni di sicurezza di trasporto ruotandoli.
- Inserire i coperchietti nei fori del pannello posteriore (contenuti nel sacchetto allegato al Manuale di Funzionamento). ("P")

i Conservare i bulloni di sicurezza in un postosicuro per riutilizzarli in caso di ulteriori trasporti.
i Non spostare mai l'elettrodomestico sanza
avere dapprima ripristinato i bulloni di sicurezza.
Regolazione dei piedini
Nonutilizzare alcun utensile per allentare i controdadi, in quanto potrebbero subire dei danni.
- Allentare manualmente (senza alcun utensile) i controdadi posti sui piedini.

- Regolare i piedini finché l'elettrodomestico non raggiunge una posizione orizzontale e salda.
- Importante: Serrare nuovamente tutti i controdadi.
Collegamento della rete idrica.
Important:
Per consentire il funzionamento della lavatrice, la pressione della rete deve essere compresa tra 1 e 10 bar (0,1 - 1 MPa).
- I flessibili specifici in dotazione con la lavatrice sono collegati alle valvole di ingresso dell'acqua sulla lavatrice.

- Per evitare perdite di acqua che potrebbero verificarsi nel punti di collegamento, sono presenti dei sigillini in gomma sul flessibile o nella confezione (4 pezzi per i modelli con ingresso doppio dell'acqua e 2 pezzi per gli altri modelli). Questi sigillii devono essere usati sul rubinetto e sui terminali di collegamento alla lavatrice. Il lato piano del flessibile dotato di filtrlo devese essere collegato al rubinetto dell'acqua, cioè il lato a gomito deveve essere collegato alla lavatrice. Serrare accuratamente i dati del flessibile a mano; non utilizzato chiavi per serrare i dati.
I modelli con ingresso singolo dell'acqua non devono essere collegati al rubinetto dell'acqua calda.
Quando si riposizione l'elettrodomestico a seguito di manutenzione o di pulizia, fare attenzione a non piegare, comprere o bloccare i flessibili.
Collegamento dello scarico
Il flessibile per lo scarico dell'acqua può essere collegato al muro laterale di un lavandin o di una vasca. Il flessibile di scarico deve essere collegato in maniera adeguata, per evitare che fuoriesca dal suo alloggiamento.
Important:
L'estremità del flessibile delve essere collegata direttamente alla fognatura o al lavandino.
Il flessibile delve essere installato ad un'altezza minima di 40 cm e massima di 100 cm.
- Nel caso in cui il cavo venga sollevato dopo essere stata a livello o in prossimità del pavimento (a meno di 40 cm dal suolo), lo scarico dell'acqua risulta più difficultoso e la biancheria potrebbe uscire ancora bagnata.

Il flessibile deve essere inserto nella scarico per più di 15 cm. Se è troppo lungo, potrebene necessario accorciarlo.
- La lunghezza massima dei flessibili combinati non deve superare 3,2 mt.
Collegamento elettrico
Collegare l'elettrodomestico a una presa di terra appropriata, protetta da un fusibile di capacité adeguata.
Important:
Il collegamento delve essere effettuato in ottemperanza ai regolamenti vigenti.
- La tensione e la protezione dei fusibili consentita sono precisati nella sezione "Specifiche tecniche".
Il voltaggio dell'apparecchio deve corrispondere al proprio voltaggio.
Non è auspicabile effettuare un collegamentotramite prolonghe o multuplicatori.
Un cavo danneggiato delve essere sostituito da un elettristica qualificato autorizzato.
L'elettrodomestico delve essere utilizzato solo dopo essere stata riparato! C'è il rischio di shock elettrico!
3 Preparativ per il lavaggio
Selezione del bucato
- Selezionare il bucato in base al tipo di tessuto, al colore, al livello di sporco e alla temperatura di lavaggio consentita.
Seguire sempre le istruzioni sull'etichetta dell'indumento.
Preparazione dei capi da lavare
Gli indumenti con accessori in metallo, quali reggiseno, cinture e bottoni metallici possono danneggiare la lavatrice. Eliminare gli accessori metallici oppure disporre l'indumento in un sacchetto, in una federa o in un ausilio analogo.
- Svuotare le tasche e rimuovere tutti gli oggetti estranei, comme monetete, penne e graffette. Se possible, rivolture le tasche e spazzolarle.
- Inserire i capi più piccoli, quali calze da bambini e collant di nylon, in un apposto sacchetto, in una federa o in un ausilio analogo. In quello modo eviterete che i vostri capi vadano smarriti.
- Mettere con cura le tende nella lavatrice.
Togliere le aste e i tiratoi dalle tende. - Chiudere le cerniere, cucire i bottoni allentati e
sistemare strappie lacerazioni.
Scegliere il programma corretto per i capi che recano scritto in etichetta "lavare in lavatrice" o "lavare a mano".
Non lavare insieme capi bianchi e colorati. I capi in cotone nuovi o di colori scuri perdono molto colore. Lavarli separamente.
Macchie resistenti devono essere trattate correttamente prima del lavaggio. Se non si è sicuri, provare un pulitore a secco.
Utilizzare solo coloranti e smacchiatori adatti per l'utilizzo con la lavatrice.Seguire sempre le istruzioni indicate sulla confezione.
- Lavare pantaloni e capi delicati girandoli al rovescio.
- Tenere i capi fatti in lana d'angora nel congelatore per quale ora prima del lavaggio. Questo ridurra la perdita del pelo.
Il bucato molto sporco di materiale come farina, polvere di calcare, polvere di latte, ecc. delve essere scosso prima di metterlo in lavatrice. Tali tipi di polvere sul bucato sono raccogliersi nelle parti interne della lavatrice nel tempo e possono provocare danni.
Corretta capacità di carico
La capacité massima di carico dipende dal tipo di bucato, dal grado di sporco e dal programma di lavaggio che si desidera usare.
La macchina regola la quantità di acqua secondo la quantità di bucato che viene posta dentro.
Vedere per cortesia le informazioni fornite nelle "Tabella Programma". Il lavaggio risulterà meno accurato se la lavatrice è troppo carica.
Sportello di carico
Lo sportello di carico è bloccato durante il funzionamento del programma. Lo sportello più essere aperto solo dopo un periodo di tempo alla fine del programma.
- Aprire lo sportello di carico.
- Mettere il bucato sciolto dentro alla macchina.
- Spingere lo sportello di carico sono a che si blocca saldamente in posizione. Fare attenzione a che non vi siano capi impigliati nella sportello.
Detersivie ammorbidenti
Cassetto del detersivo
Il cassetto del detersivo della lavatrice è composto da quello diversi scomparti per detersivo in polvere per il lavaggio principale, detersivo liquido per il lavaggio principale, ammorbidente liquido e detersivo in povere pre-lavaggio. Ciacuno di questi additivi per il bucato è distribuito automaticamente al momento giusto durante il programma di lavaggio. Non mettere gli additivi per il bucato direttamente nel cestello. Usare sempre il cassetto per il detersivo. Non chiudere il cassetto in modo troppo rapido dopo averMESSO gli additivi per il bucato. Questo potrebbe far distribuire gli additivi presto, con risultati di lavaggio non soddisfacenti e danni ai tessuti.
Non aprir il cassetto durante il programma di lavaggio.
Gli scomparti del cassetto detersivo sono indicati di seguito:
1) Comparto sinistro con il numero "II" (comparto lavaggio principale per detersivo in polvere o candeggina/smacchiente in polvere)
2) Comparto sinistro con il numero "Il" (comparto lavaggio principale per detersivo liquido o smacchiante liquido)
3) Comparto centrale con numero "I" (comparto pre-lavaggio con detersivo in polvere, smacchiante in polvere o candeggina liquida - la candeggina liquida deve essere aggiunta via durante il pre-lavaggio che durante la prima fase di risciacquo del programma di lavaggio). La candeggina liquida deve essere aggiunta manualmente quando la lavatrice prende l'acqua.
4) Comparto destro con il symbolo "..." (companto ammonbidente liquido)

(II) Comparto lavaggio principale
Prima di avviare il programma di lavaggio, mettere il detersivo in polvere nel comparto di sinistra con il numero "Il". Usare solo il misurino del produttore per il detersivo e seguire le istruzioni sulla confazione. Anche candeggina/smacchiante in polvere devono essere messi in quello comparto.
Mettere il detersivo liquido nel comparto di lavaggio principale con il numero "Il". prima di avviare il programma di lavaggio. Anche lo smacchiante liquido deve essere messo in quello comparto.
Mettere la quantità suggerita di detersivo liquido nel comparto di sinistra con il significo "Il e diluiro al massimo fino alla linea del livello di riempimento (max. Il ) con acqua calda.
In particolare i detersivi concentrati devono essere diluiti in acqua calda; altrimenti il sifone potrebbe bloccarsi nel tempo.
Non rabboccare il detersivo或者其他 linea massima di riempimento; altrimenti la quantità inccesso di detersivo raggiunge il bucato perché acqua e quello potrebbe provocare macchie sul bucato stesso. In quello caso sare necessario riempire nuovamente il comparto. Non versare il detersivo direttamente sul bucato poiché quello potrebbe provocare macchie sul bucato stesso.
Comparto ammorbidente liquido
Mettere la quantità suggerita di ammonbidente liquido
nel comparto di sinistra con il significo "e diluiro al massimo fino alla linea del livello di riempimento (max. ) con acqua calda.
In particolare gli ammorbidenti concentrati devono essere diluiti in acqua calda; altrimenti il sifone potrebbe bloccarsi nel tempo.
Non rabboccare l'ammorbidente più la linea di riempimento massima; altrimenti la quantità in excesso di ammorbidente si mescola con l'acqua di lavaggio e sera necessario riempire nuovamente il comparto. Non versare l'ammorbidente direttamente sul bucato poiché quello potrebbe provocare macchie sul bucato stesso.
L'ammorbidente liquido sare distribuito automaticamente alla fase finale di risciacquo del programma di lavaggio.
(I) Comparto pre-lavaggio
Mettere il detersivo per il pre-lavaggio in polvere o lo smacchiante in polvere nel comparto centrale con il numero "I".
Si puòanche versare candeggina liquida in quello comparto quando la lavatrice prende l'accua.
durante il pre-lavaggio o la prima fase di risciacquo.
L'aggiunta di candeggina liquida quando la lavatrice
prende l'accua consente di diluirla prima di versarla sul bucato.
Bisogna selezionale l'opzione risciacquo extra se si usa candeggina liquida in un programma di lavaggio.
La candeggina delve essere rimossa dal bucato con il risciacquo, altrimenti cui provocare prurito sulla pelle.

Leggere le instruzioni per il dosaggio e l'etichetta del bucato con attenzione prima di usare la candeggina liquida.
Appretto
- Aggiungere apprettlo liquido, in polvere o colorante nello scomparto ammorbidente se viene indicato sulla confezione.
Non usare mai insieme ammonbidente e appretto dello stesso ciclo di lavaggio. - Asciugare l'interno del cestello après aver usato l'appretto.
Candeggina
Se si usa candeggina normale nella lavatrice, si consiglia di selezionare un programma con la fase di pre-lavaggio e aggiungere la candeggina all'inizio del pre-lavaggio penza mettere il detersivo nel compatto di pre-lavaggio. In alternatively, si consiglia di selezionare un programma con risciacquo extra e aggiungere la candeggina nelle lavatrice prende l'acqua dal cassetto detersivo nella prima fase di risciacquo. La candeggina non si deve mescolare con il detersivo. Poiché la candeggina può causare irritazioni alla pelle, bisogna usare piccole quantità (per es. 1/2 tazza da te) e sciacquare bene. Non versare la candeggina direttamente sul bucato e non usarla con bucato colorato.
Quando si usa candeggina a base di ossigeno, seguire le istruzioni sulla confazione e selezionare un programma a bassa temperatura. La candeggina a base di ossigeno più essere usata insieme al detersivo. Se non è allo stesso livello del detersivo, perché ève essere aggiunta dal companto numero "Il" subito dopo che il detersivo ha formato la schiuma aicontatto con l'acqua.
Eliminare la formazione di calcare
- Se necessario, utilizzato solo smacchiatori adatti creati specificamente per l'utilizzo con la lavatrice e seguire sempre le istruzioni indicate sulla confezione.
4 Scelta del programma e funzionamento dell'asciugatrice

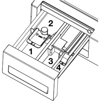
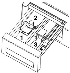
Quadro di lavoro
1 - Manopola di selezione velocità della centrifuga
2 - Display
3 - Pulsante di regolazione della temperatura
4 - Manopola di selezione del programma

5 - Pulsante accensione/spegnimento
6 - Pulsante ritardo di tempo (+ / - )
7 - Pulsanti funzioni ausiliarie
8 - Pulsante Avvio/Pausa/Annulla
Simboli del display
a - Simbolo Centrifuga
b - Indicatore Velocità centrifuga
c - Simbolo assenza acqua (secondo il modello della lavatrice)
d - Simbolo Economia
e - Indicatore Temperatura
f - Simbolo Temperatura
g - Simbolo Chiusura Sportello
h - Simbolo Standby
i - Simbolo Avvio
j - Simboli Funzioni Ausiliarie
k - Indicatore Tempo Rimanente e Partenza Ritardata
I - Simboli Indicatore Programma (prelavaggio/ lavaggio principale/risciacquo/ammorbidente/ centrifuga)
m - Simbolo Partenza Ritardata

Accensione della lavatrice
Collegare la lavatrice alla presa di corrente. Girare completeness il rubinetto. Controllare che i flessibili siano collegati correttamente. Mettere il bucato nell'asciugatrice: Aggiungere detersivo e ammonbidente. Premere il tasto "On/Off".
Selezione del programma
Selezione are il programma appropriato alla tabella di selezione dei programmi in base al tipo, alla quantità e al grado di sporcizia del bucato e la temperatura di lavaggio i.
Ruotare la Manopola di Selezione del Programma sulla modalità che si desidera usare per lavare il bucato.
Appaioni sono la temperatura e la velocità di centrifuga consigliate per quel programma. Premere il pulsante Awvio/Pausa Cancella, per avviare il programma.
Programmi principali
In base al tipo di tessuto sono disponibili i seguenti programmi principali:
Cotone
Con quello programma è possibile lavare capi in cotone resistenti. Il bucato sarelvato con movimenti vigorosi per un lungo ciclo. Consigliato per gli articioli in cotone (come lenzuola, federe e set da fatto, asciugamani e accappatoi, ecc.).
Sintetici
Con Anything programma è possible lavare capi in
cotone resistenti. Lavaggi con movimenti più delicati e un ciclo di lavaggio più breve del programma di lavaggio del "Cotone". É consigliato per indumenti sinteti (come gonne, camicette, e indumenti misti cotone/sinteti, ecc.). Per tende e pizzi si consiglia il programma "Sinteti 40" con prelavaggio e funzione antigrinze. Senza mettere detersivo.nello scomparto pre-lavaggio.Nello scomparto principale devere essere meno meno detersivo, poiché troppa schiuma potrebbe danneggiare la struttura dei tessuti (pizzo).
Lana
Con quello programma è possibile lavare capi in lana. Selezionare la temperatura appropriata secondo l'etichetta dell'indumento. Si raccomanda di usare detersivo per lana.
Programmi addizzionali
E inoltre disponibile una quantita di programmi speciali per casi speciali:
I programmi addizzionali possono differire in funzione del modello della lavatrice.
Cotone Eco
Si possono lavare i capi col programma cotone più a lungo il che assicurà un ottimo lavaggio.
Il programma economico cotone consuma un quantitativo di energia inferiore rispettoagli altri programmi cotone.
- Babycare
Una durata di riscaldamento più lunga e un ciclo di risciacquo addizionale forniscono maggiore igiene. Consigliata per indumenti di neonati e indumenti indossati da persone allergiche.
- Lavaggio a mano
Con quello programma sare possibile lavare indumenti in lana/delicati che portano I'etichetta "non lavare in lavatrice" per i quali si raccomanda il lavaggio a mano. Esso lava con movimenti molto leggeri perché danneggiare gli indumenti..
Daily Express
Questo programma è usato per lavare velocemente una piccola quantità di indumenti in cotone poco sporchi e senza macchie Ad es.: Accappatoi, copripiumoni, abiti sportivi, capi di uso quotidiano, ec. usati una sola volta.
- expres 14
Questo programma è usato per lavare velocemente una piccola quantità di indumenti in cotone poco sporchi e essere macchie Ad es.: accappatoi, copripiumoni, abiti sportivi, capi di uso quotidianio, ecc. usati una sola volta.
Lavaggio bucato scuro
Usare quello programma per lavare il bucato di colore scuro o il bucato colorato che non si vuol far scolorire. Questo programmata lava il bucato con lenti movimenti meccanici e a bassa temperatura. Consigliamo di usare detersivo liquido o per lana per il bucato di colore scuro.
- Mix
Questa programma cui sono essere utilizzato per lavare cotone e sintetici insieme. Senza doverli suddividere.
- Maglie
É possible usare quello programma per lavare
camice in cotone, sintetici e capi in misto sintetico.
Rinfrescare
Si può usare il programma "Rinfresco" per rimuovere gli odori dal bucato usato solo una volta, che non presente macchie o sporco.
- Eco Clean (Eco Lavaggio)
Si più usare quello programma che è più sensibile all'ambiente e alle risorse naturali per lavare il bucato in cotone meno sporco e alla macchie (max 3.5 kg) in breve tempo e in modo economico. Si consiglia di usare detersivi liquidi o gel.
Pulizia tamburo (Pulizia automatica)
Si suggerisce di utilizzato quello programma con determinati intervalli (per es. una volta ongi mese o 2 mesi) per la pulizia automatica della lavatrice. Questo programmata deve essere certamente eseguito senza bucato nella lavatrice. Assicurarsi che la lavatrice via vuota prima di avviare il programmata. Per una pulizia più efficace, si può avviare il programmata aggiungendo un agente di rimozione del calcare per lavatrici nel comparto Il del cassetto detersivo. Dopo il completeness del programmata, lasciare lo sportello accostato per consentire all'interno della lavatrice di ascugarsi.
Qesto non è un programma per il lavaggio di bucato. Si tratta di un programma per la manutenzione della lavatrice.
Non usare mai quello programma se c'è qualcosa nella lavatrice.
Quando esta funzione è avviata, la lavatrice ne avverte il carico automaticamente e, se è presente un carico, interrompe il programma.
Simbolo Economia
Mostra i programmi a risparmio energetico e le impostazioni di temperatura.
Dal momento che i programmi "Intensivo" e "Igiene" sono caratterizzati da una lunga durata e da temperature elevate, in modo da garantire l'igiene, il Simbolo "Economia" non si illuminerà.
Programmi speciali
Per applicazioni specifiche, selezionare uno dei seguenti programmi.
Risciacquo
Questo programma è usato quando si deve risciacquare o inamidare separamente.
- Centrifuga + Pompa
Questo programma centrifuga con i massimi giri possibili nell'impostazione di default dopo che l'acqua è scarcata alla lavatrice
Per il bucato delicato usare una velocità di centrifuga inferiore.
Selezione della temperatura
Quando viene selezionato un nuovo programma, la temperature preimpostata per quel programma viene visualizzata sull'indicatore della temperature (7b).
Per cancellare la temperatura, premere il tasto della temperatura. La temperatura scende a intervalli di 10^ .
La selezione della temperatura fredda viene indicata con il significo " - ".
| 90°C | Capi in cotone bianchi di medio sporco e teli (es: Tovaglie, asciugamani, lenzuola) |
| 60°C | Capi e teli in cotone bianchi/colorati di medio sporco o indumenti sintetici (es. Gonne, camicie da notte, pigiamà e teli e indumenti bianchi poco sporchi (es. Biancheria intima) |
| 40°C30°C Freddo | indumenti che possono spiegazzarsi inclusi i sintetici e i capi in lana e delicati. |
Selezione velocità centrifuga
Quando si selezione un nuovo programma, la massima velocità di centrifuga del programma selezionato è visualizzata sull'indicatore di velocità di centrifuga.
Diminuire la velocità di centrifuga, premere il tasto "Centrifuga". La velocità di centrifuga diminuisce in modo graduale. Poi saranno molto strati rispettovamente le opzioni attesa e risciacquo, assenza di centrifuga Attesa risciacquo è molto con i symboli"l-J", e
nessuna centrifuga con " , .
se non si tolgoni i capi alla lavatrice immeditatamente dopo il ciclo, è possibile usare la funzione trattieni risciacquo per evitare che si riempiano di grinze quando non c'è acqua nella macchina. Con esta funzione, il bucato sare conservato nell'accqua di risciacquo. Se si desidera centrifugare il bucato durante la funzione di attesa risciacquo:
Regolare la velocità della centrifuga
Premere il tasto "Avvio/Pausa/Annulla". Riepilogo del programma. La lavatrice scarica l'acqua e centrifuga il bucato.
E' possibile usare la funzione centrifuga per scaricare l'acquaenza centrifugare alla fine del programma
Tabella di programma e consumo.
| IT | Funzione ausiliaria | ||||||||||
| Programma (°C) | Carico max. (Kg) | Consumo d'acqua (L) | Consumo energia (KWh) | Velocità max. *** | Prelavaggio | Rapidò | Extra risciacquo | Anti-grinze | Risciacquo Aggiuntivo | °C gamma temperatura selezionabile | |
| Cotone | 90 | 7 | 74 | 2.30 | 1600 | • | • | • | • | • | 90-Freddo |
| Cotone | 60 | 7 | 72 | 1.50 | 1600 | • | • | • | • | • | 90-Freddo |
| Cotone | 40 | 7 | 72 | 0.85 | 1600 | • | • | • | • | • | 90-Freddo |
| Babycare | 90 | 7 | 66 | 2.70 | 1600 | * | • | ||||
| Cotone Eco | 60** | 7 | 52 | 1.19 | 1600 | • | • | • | • | • | 60-Freddo |
| Cotone Eco | 40 | 7 | 64 | 0.72 | 1600 | • | • | • | • | • | 60-Freddo |
| Sinteticci | 60 | 3 | 45 | 1.00 | 1000 | • | • | • | • | • | 60-Freddo |
| Sinteticci | 40 | 3 | 45 | 0.45 | 1000 | • | • | • | • | • | 60-Freddo |
| Eco Clean | 20 | 3.5 | 39 | 0.16 | 1600 | • | |||||
| Mix | 40 | 3.5 | 45 | 0.55 | 1000 | • | • | • | • | • | 40-Freddo |
| Maglie | 40 | 3.5 | 45 | 0.55 | 800 | • | • | • | * | • | |
| expres 14 | 30 | 2 | 35 | 0.10 | 1400 | • | • | ||||
| Daily Express | 90 | 7 | 60 | 2.00 | 1400 | • | • | ||||
| Daily Express | 60 | 7 | 60 | 1.15 | 1400 | • | • | ||||
| Daily Express | 30 | 7 | 70 | 0.20 | 1400 | • | • | ||||
| Lana | 40 | 1.5 | 56 | 0.30 | 1000 | • | • | ||||
| Lavaggio a mano | 30 | 1 | 40 | 0.25 | 1000 | 30-Freddo | |||||
| Lavaggio bucato scuro | 40 | 3 | 82 | 0.55 | 1000 | * | • | ||||
| Pulizia tamburo | 70 | - | 100 | 1.70 | 800 | * | 70 | ||||
| Rinfrescare | - | 2 | 20 | 0.03 | 1000 | • | |||||
:Selezionabile
: Selezionato automaticamente, non annullabile.
: Etichetta Energia programma (EN 60456)
Se la velocità massima di centrifuga della lavatrice è inferiore, la scelta deve essere fattà fino alla velocità di centrifuga massima.
- : Vedere la descrizione del programma per il carico massimo.
i Le funzioni ausiliarie nella tabella variano in funzione del modello della lavatrice.
Il consumo di acqua ed energia potrebbe differiscono alla suddetta tabella in base alla pressione, alla durezza e alla temperatura dell'acqua, alla temperatura ambiente, al tipo e alla quantità di bucato, alla scelta di funzioni ausiliarie e a modifiche di voltaggio elettrico.
i La durata del programma sare visualizzata sullo schermo della lavatrice secondo la propria scelta.
Funzioni ausiliarie
Selezione funzione ausiliaria
Se viene scelta una funzione ausiliaria che non deve essere selezionata insieme a un funzione precedentamente selezionata, la funzione selezionata per prima sera annullata e l'ultima funzione ausiliaria rimarra attiva.
Es.: Se si desidera selezionare prima il prelimavaggio e poi il lavaggio veloce, il prelimavaggio sare a annullato e il lavaggio veloce restera attivo.
Una funzione ausiliaria che non è compatibile con il programma non può essere selezionato. (Vedere "Tabella di selezione programmata")
- Prelavaggio
Quando si sceglique.thisa funzione, il display mostrera il simbolo "F1".
- Conviene effettuare il prelimavaggio solo con bucato molto sporco. Senza prelimavaggio, si risparmia energia, acqua, detersivo e tempo.
Il prelavaggio sono detersivo è consigliato per pizzi e tende.
Rapido
Con esta funzione, la durata del lavaggio viene ridotto. Il symbolo "F2" compare sul display.
- Usare esta funzione per quantità ridotte o per bucati molto sporchi.
- Extra risciacquo
Quando si seleziona esta funzione, lavaggio e risciacquo avvengono con acqua abbondante. Il simbolo "F3" compare sul display.
- Anti-grinze
Con esta funzione, il movimento del cestello e la velocità di centrifuga saranno diminui per evitare grinze. Inoltre, il lavaggio è portato ad un livello di acqua superiore. Il symbolo "F4" compare sul display.
- Usare esta funzione per I delicate che raggrinziscono lavorente.
Quando si selezione esta funzione ausiliaria, caricare la macchina con metà del carico massimo specificato nella tabella del programma.
Display tempo
Una volta selezionato il programma, il display elettronico alla il tempo rimanente. Il tempo è molto in ore e minuti come "01:30".
Tempo di ritardo
Con la funzione "Partenza riddata" l'avvio del programma cui si èsso posticipato fino ad un massimo di 24 ore. L'impostazione cui si èssere fattà ad intervalli di 30 minuti.
Aprire lo sportello, posizionare la biancheria e introdurre il detersivo nel cassetto. Selezionare il programma di lavaggio, la temperatura, la velocità di centrifuga e se necessario selezionare le funzioni ausiliarie. Premere i pulsanti "partenza ritardata" "+" e - per impostare il tempo desiderato. Il symbolo Ritardo lampeggia. Premere il tasto "Avvio/Pausa/ Annulla". A quel punto il timer della partenza ritardata inizIERA il conto alla rovescia. Il symbolo Ritardo si accende. Il symbolo Avvio si accende.
Il segno":"" nel mezzo del tempo a display accenderà la spia.
- Durante il tempo precedente alla partenza ridatdata, potra essere caricata alla biancheria. Alla fine del conto alla rovescia del ritardo, il simbolo relativo si spegne e il lavaggio inizi secondo la durata del programma visualizzato.
Modifica del tempo di partenza ridardata
Per cancellare il tempo durante il conto alla rovescia: Premere il tasto "Avvio/Pausa/Annulla". : " al centro del display smette di lampeggiare. Il simbolo Standby si accende. Il simbolo Ritardo lampeggia. Il simbolo Avvio si spegne. Premere i pulsanti "Partenza ritardata", "+" e "- per impostare il tempo desiderato. Premere il tasto "Avvio/Pausa/Annulla". Il simbolo Ritardo si accende. Il simbolo Standby si spegne. Il simbolo Avvio si accende. : " nel mezzo del tempo a display accenderà la spia.
Annullamento della partenza ritardata
Per annullare il tempo durante il conto alla rovescia e avviare il programma:
Premere il tasto "Avvio/Pausa/Annulla". Il segno:" nel mezzo del tempo a display smetterà di lampeggiare. Il significato Avvio si spegne. Il simbolo standby e quello del ritardo lampeggiano. Premere il pulsante di "ritardo di tempo" per diminuire il ritardo desiderato. La durata del programma verrà visualizzata durante 30 minuti.
Premere il pulsante Avvio/Pausa/Cancella per avviare il programma.
Avviare il programma
Premere il pulsante Avvio/Pausa/Cancella, per avviare il programma. Il symbolo di avvio si accenderà per indicare che il programma è iniziato. La porta si chiuderà e il symbolo di chiusura porta si illuminerà. Il Simbolo corrispondente alla relativa fase (prelavaggio, lavaggio principale, risciacquo, ammorbidente e centrifuga) iniziata dal programma si illuminerà.
Cambiare le selezioni dopo che il programma è iniziato
Selezionare la velocità di centrifuga in base al programma desiderato. Compare una cornice vuota. Quando il tasto "Selezione programmà"iene portato sulla posizione corretta, ricompaimono i dati relativi ai giri per minuto e alla temperatura.
Accendere la lavatrice in modalità standby
Premere momentaneamente il tasto "Avvio/Pausa/ Annulla" perMETTE la lavatrice in modalita standby. Il symbolo Standby, che indica che la macchina e in modalità standby, si accende e il symbolo avvio che indica che il programma è iniziato e sta più continuando s spagne.
Selezionare o annullare una funzione ausiliaria in modalità pausa
Le funzioni ausiliarie sono essere annulate o selezionare secondo la fase del programma
Aggiungere/rimuovere la biancheria in modalità pausa
Lo sportello pourrait essere aperto solo quando il livello dell'acqua è conveniente. Il significato sportello bloccato restà accesso fino a che non è possibile aprire lo sportello. Questo significato si spegnerà appena sarebbe possibile aprire lo sportello. La biancheria può essere immessa/rimossa'aprendlo lo sportello.
Blocco di sicurezza dello sportello:
Il Simbolo Sportello Chiuso si accende quando lo sportello di carico viene chiuso. Questo simbolo lampeggerà finché non sare possibile aprirlo sportello. In questa fase non tentare di forzare lo sportello. Questo simbolo si spegnerà appena sare possibile aprirlo sportello. Lo sportello potrè essere aperto solo quando il simbolo si spegne.
Blocco bambini
Si può evitare che il bambino danneggi la lavatrice con il blocco bambini. In quello caso, nessuna modificà sare èseguita nel programma in funzione.
i
La macchina può essere accesa e spenta con il pulsante On/Off quando è attiva la chiusura a prova di bambino. In tal caso la macchina riprende il programma con la chiusura a prova di bambino attenuata.
La lavatrice viene impostata sul blocco bambini premendo le funzioni ausiliare 2 e 4 per 3 secondi. Sul display compare la dicitura "C:on" (Blocco anti bambino attenuato).
Lo stesso significo sare visualizzato a display alla pressione di un pulsante qualsiasi quando la lavatrice è in modalità chiusura con blocco bambini.
Per disattivare il blocco bambini, premere i pulsanti delle funzioni ausiliarie 2 e 4 per 3 secondi.
Sul display compare la dicitura "C:OFF" (Blocco bambini disattivato).
Fine del programma attraverso l'annullamento.
Premere il pulsante "Avvio/Pausa/Annulla" (Figura 2-10) per 3 secondi per annullare il programma. Il symbolo di avvio (Figura 3-7j) lampeggerà durante l'annullamento. Terminato l'annullamento, il symbolo della fase corrispondente al momento in cui è stato effettuito l'annullamento rimarra acceso e sul display apparirà la scritta « End »
Fine del programma
Quando il programma sare terminate, i symboli delle relative fasi rimarranno accesi e i dati sulla funzione ausiliaria, sulla centrifuga e sulla temperatura scelti all'avvio del programma rimarranno selezionati. La scritta "End" apparirà sul display.
5 Manutenzione e pulizia
Cassetto del detersivo
Elimare eventuali accumuli di polvere all'interno del cassetto. Per farlo:

- Si più rimuovere il cassetto del detersivo tirandolo versus di sé con forza.
i
Se una miscela con una quantità superiore
alnormale di ammorbidente e detersivo liquido inizia ad accumularsi nel comparto dell'ammorbidente, è necessario pulire il sifone.
- Lavare il cassetto e il sifone con abbondante acqua tiepida in un lavandino. Indossare quanti di protezione o usare una spazzola adatta per evitare di toccare i residui nel cassetto durante la pulizia.
- Ripristinare il cassetto fatto averlo lavato e verificare che il sifone sa stato riposizionato correttamente.
Sportello di carico e cestello
Dopo agli lavaggio:
- Verificare che non vi siano sostanje estranee all'interno del cestello.

- Aprire un foro nel soffietto con l'aiuto di uno stuzzicadenti se è intasato.
Sostenze estranee in metallo nella macchina possono provovare macchie di ruggine. In questi casi:
Pulire il cestello con un agente per la pulizia dell'acciaio inox. Non usare mai lana di acciaio o cavi in acciaio.
Corpo e pannello di controllo
Se necessario:
- Pulire il pannello esterno della lavatrice con acqua saponata o un detersivo delicato. Asciugare con un panno morbido.
- Usare solo un panno morbido e umido per pulire il pannello di controllo.
Non usare mai una spugna o materiali che graffiano. Questi danneggerebbero le parti in plastica e smaltate.
Filtri ingresso dell'acqua
Vi è un Filtering nella parte terminale di ciascuna valvola di immissione dell'acqua sul dato posteriori della lavatrice e sono alla fine di ciascun flessibile di immissione dell'acqua, nel punto di collegamento al rubinetto. Questi filtri evitano che le sostanze estranee e lo sporco dell'acqua entrino nella lavatrice. I filtri devono essere puliti quando si sporcano.

-
Chiudere i rubinetti.
-
Togliere i dadi dei flessibili per pulire le superfici dei filtri sulle valvole di immissione dell'acqua con un'apposita spazzola.
Se i filtri sono molto sporchi, è possibile estrarli con le pinze e pulirli.
I filtri sull'estremità piatta dei flessibili di ingresso dell'acqua devono essere estratti a mano con le relative guarnizioni e puliti quello l'acqua corrente. - Sostituire guarnizioni e filtri correttamente e quindi serrare manually i dadi.
Elimare eventuale acqua residua e pulire il filtrlo della pompa
Ilsystemafiltro della lavatrice evita che gli oggetti solidi come bottoni,monete e fibre si blocchino nella pompa durante lo scarico dell'acqua di lavaggio. Quindi,si ottiene uno scarico per I'acqua buono e sprolunga la vita della pompa.
Se la lavatrice non scarica l'acqua, il filtro della pompa potrebbe essere intasato. Pulirlo agli 2 anni o agli volta che risulti bloccato. Per pulire il filtrò è necessario scaricare l'acqua.
Inoltre l'acqua dovrè essere scaricata completamente nei seguenti casi:
- prima di trasportare la lavatrice (per esempio di traslocare in una nuova casa);
- quando c'é il rischio di congelamento Per pulire il filtro sporco e scaricare l'acqua;
1 - Scollegare la lavatrice per interrompere l'alimentazione.
! Ci più essere acqua a 90^ nella lavatrice. Il filtro deve essere pulito solo après che l'accua interna è diventata fredda per evitare il rischio di usioni.
2 - Apire il filtrio. Il filtrio può essere composto da due elementi, in funzione del modello della lavatrice.
Se è composto da due elementi, premere verso il basso la linguetta sul coperchio del filtrò e tirare l'elemento verso di sé.
Se l'elettrodomestico è incassato, non contiene una copertura duro.

Se è composto da un solo pezzo, trattenerlo sui due lati e aprire tirando.
Si cui rimuovere la copertura del filtro spingendo leggermente l'etichetta informatica versus il basso con un cacciavite,attraverso l'apertura posta sopra la copertura stessa del filtrto.

3-In taluni modelli è previsto un flessibile d'emergenza.Tale flessibile non è previsto in altri
modelli.
Se la lavatrice è dotata di un flessibile di emergenza, operare come illustrato in figura:

- Estrarre il flessibile di scarico della pompa dal suo alloggiamento.
- Disporre un ampio contentatore all'estremità del flessibile. Scaricare l'acqua del contentitore, tirando la presa alla fine del flessibile. Se l'acqua da scaricare è superiore alla capacité del contentitore, sostituire la spina, svuotare l'acqua, quindi riprenderè il processo di svuotamento.
- Una volta completato il processo di scarico, sostituire la presa alla fine del tubo e riposizione are l fissibile.
Se la lavatrice è dotata di un flessibile di emergenza, operare come illustrato in figura:

Collocare un ampio contentatore davanti al filtro per raccogliere l'acqua in uscita dal filtrto.
- Allentare il filtro della pompa (in senso antiorario), sino a quando l'acqua inizIERÀ a uscire. Dirigere il flusso d'acqua nel contentitore davanti al filtrto. Utilizzato un panno per assorbire l'acqua fuoriuscita.
- Quando non esce più acqua, ruotare il filtro sino a che non è completamente libero e rimuoverlo.
- Eliminare eventuali residui nel filtro, o eventuali fibre, attorno all'elica.
Se il prodotto è dotato di un getto d'acqua, assicurarsi che il filtrlo sia correttamente alloggiato. Non forzare mai il filtrato quando lo si sostituisce nel suo alloggiamento. Inserire il filtrlo nell'alloggiamento; in senso contrario potrebbero esserci perdite dal coperchio del filtrlo.
4 - Chiudere il coperchio del filtr.
Chiudere il filtro a due elementi, premendo la linguetta.
Chiudere il filtering a un elemento, premendo le linguette in posizione e facendo pressione sulla parte superiore.
6 Suggerimenti per la soluzione dei problemi
| Causa | Spiegazione / Suggerimento |
| Impossibile avviare o selezionale il programma. | |
| La lavatrice potrebbe essere in modalità protezione automatica a causa di problemi alla sottostruttura (tensione della griglia, pressione dell'accu, ecc.) | Per ripristinare la lavatrice, premere il tasto "Avvia/ Pausa/Annulla" per 3 secondi. (Vedi, Annullamento di un programma) |
| Se esce acqua dal fondo della macchina. | |
| Potrebbero esseri problemi ai flessibili o al filtrlo della pompa. | Assicurarsi che i sigilli dei flessibili siano correttamente positatori. Collegare il flessibile di scarico allo scarico. Assicurarsi che il filtrlo della pompa si Completely chiuso. |
| La lavatrice si è fermata subito dopo l'avvio del programma. | |
| La macchina più fermarsi occasionally a causa di bassa tensione. | Riprenderà a funzionare quando la tensione sarebbe stata riportata a livelli normali. |
| La centrifuga non si interrompe. Non viene conteggiato il tempo residuo. (Per i modelli con display) | |
| Potrebbe esseri uno aquilibrio del carico all'interno della lavatrice. | Potrebbe esseri attenuato il systematico automatico di correzione della centrifuga a Cause di una distribuzione non corretta del carico nel cestello. La biancheria all'interno del cestello potrebbe esseri appallotolata (all'interno di un sacchetto, per esempio). Ridisperre la biancheria ed eseguire una nuova centrifuga. Se la biancheria non è disposta in maniera uniforme nel cestello, la centrifuga non partirà, per evitare danni alla lavatrice e al suo ambiente. |
| Il lavaggio non si interrompe. Non viene conteggiato il tempo residuo. (Per i modelli con display) | |
| In caso diiconto alla rovescia in pausa durante la fase di prelievo dell'accua. Il timer comincia iliconto alla rovescia solo quando nella lavatrice è presente una corretta quantità d'accua. | La lavatrice resterà in attesa sino a quando ci sarebbe una quantità di acqua sufficiente per evitare risultati di lavaggio inadequati a Cause della mancanza d'accua. Solo a quel punto il timer inizIERà iliconto alla rovescia. |
| In caso diiconto alla rovescia in pausa durante la fase di riscaldamento. Il timer inizIERà iliconto alla rovescia solo quando sare raggiunta la temperature selezionata per il lavaggio | |
| In caso diiconto alla rovescia in pausa durante la fase di centrifuga: Potrebbe esseri uno aquilibrio del carico all'interno della lavatrice. | Potrebbe esseri attenuato il systematico automatico di correzione della centrifuga a Cause di una distribuzione non corretta del carico nel cestello. La biancheria all'interno del cestello potrebbe esseri appallotolata (all'interno di un sacchetto, per esempio). Ridisperre la bianchera ed eseguire una nuova centrifuga. Se la biancheria non è disposta in maniera uniforme nel cestello, la centrifuga non partirà, per evitare danni alla lavatrice e al suo ambiente. |
| Dal cassetto del detersivo esce schiuma | |
| È stato usato troppo detersivo. | Mescolare un cucchio di ammonbidente e mezzo litro di acqua e versare nell'scomparto principale del cassetto per il detersivo. |
| Modelli | WMI 71241 |
| Capacità massima di biancheria (kg) | 7 |
| Altezza (cm) | 84 |
| Larghezza (cm) | 60 |
| Profondità (cm) | 54 |
| Peso netto (±4 kg) | 69 |
| Elettricità (V/Hz.) | 230 V / 50Hz |
| Corrente totale (A) | 10 |
| Energia totale (W) | 2200 |
| Ciclo centrifugazione (max cicl/min) | 1200 |
Le caratteristiche tecniche di quello elettrodomestico possono variaro nella preavviso al fine di migliorare la qualità del prodotto. Le illustrazioni cont∉ne in questa guida sono schematiche e potrebbero non corrispondere esattamente al prodotto in uso.
I valori indicate sulle etichette della macchina o nella documentazione di accompagnamento sono ottenuti in lavoratorio, in conformità con gli standardi riferimento. I valori possono cancellare in funzione delle condizioni operative e ambientali dell'elettrodomestico.

Questo appeareccchio è contrassegnato dal symbolo della raccolta differenziata relativiva allo smaltimento di materiale elettrico ed elettronico. Ciò significà que"This prodotto delve essere portato presso un centro di raccolta differenziata conformmente alla direttiva europea 2002/96/CE, in modo tale da potere essere riciclato o smantellato così da ridurre l'eventuale impatto su l'ambiente
Per ulteriori informazioni in proposo si consiglia di rivolgersi alla propria amministrazione locale o regionale.
I prodotti elettronici che non sono oggettò di una raccolta differenziate sono potenzialmente nocivi per l'ambiente e la salute umana a causa della presenza di sostanze pericolose.

Notice-Facile