BROOM 9659973-01 - Puutarhalasta HUSQVARNA - Ilmainen käyttöohje ja opas
Löydä laitteen käyttöohje ilmaiseksi BROOM 9659973-01 HUSQVARNA PDF-muodossa.
Käyttäjien kysymyksiä aiheesta BROOM 9659973-01 HUSQVARNA
0 kysymys tästä laitteesta. Vastaa tuntemiisi tai esitä omasi.
Esitä uusi kysymys tästä laitteesta
Lataa ohjeet laitteellesi Puutarhalasta PDF-muodossa ilmaiseksi! Löydä käyttöohjeesi BROOM 9659973-01 - HUSQVARNA ja ota elektroninen laitteesi takaisin hallintaan. Tällä sivulla julkaistaan kaikki laitteidesi käyttöön tarvittavat asiakirjat. BROOM 9659973-01 merkiltä HUSQVARNA.
KÄYTTÖOHJE BROOM 9659973-01 HUSQVARNA
Käyttoohje, p. 12-21
Lue käyttoohje lapi huolellisesti ennen kuin aloitat koneen käytön.
Lue ohjekirkjaakunnes ymmarratsiina olevat ohjeet.

Sommuta moottori ja poista avain ennen huoltoa, puhdistusta tai korjausta.

Oleskelu on kielletty lakaisukoneen työskentelyalueella, jonka säde on 10 metriä.
Älä käytä
harjakonetta
luistelijoiden,
elänten tai lasten
läheisyydessä.

Pidä kädet ja jalat poissa liikkuvien osien luota.

Alä koskaan käytä pyörivää harja, jos ketjunsuojukset ovat vialiset.

Puristuksiinjäämisvaara! Pidä kädet ja jalat poissa liikkuvien osien luota lakaisukoneen käytön aikana.
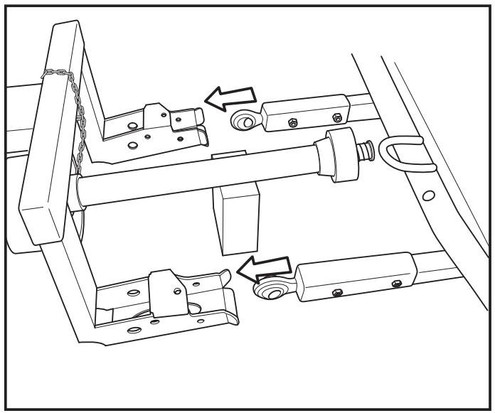
Sovita kiinnike ja kardaaniaksieli paikoilleen. Aseta kardaaniaksiel in alle tuki, niin etta se asettuu vaakasuoraan.

Säädä lakaisukonetta tarvittaessa niin,
etta se toimii vaaka-asennossa, vetämällä
ohjaussauvasta eteen tai taakse.

Varmista, etta kaikki Sokat ovat kunnolla lukitut, kun lakaisukone asennetaan PT 26D:hen.
Molempien ketjuen suojukset on asennettava huolellisesti.

Hydrauliletkut ja kardaaniakseli liitetään lattialevyssä olevan luukun alle.

Liitä letkut ja kiinnitta kardaaniakseli. Kiinnitta ketju, ettei se paäse pyörimään.

Kiinnityksen ja irrottamisen mahdollistamiseksi hahlon on oltava tassä asennossa.

Sylinterin asento
Sylinterin tulee aina olla ainakin 50 mmulkona.

Paineenlasku
Käennä avain ON-asentoon muutamaksi sekunniki, ja vedä samanaikaisesti ohjaussauvaa muutamia kertoja oikealle ja vasemmalle laskeaksesi poinetta lakaisukoneen sylinterissä.

Vedä ohjaussauva oikealle tai vasemmalle säätäksesi lakaisukonetta sivusuunnassa.





Voidlaan sitkeällä voiteluaineella

Voidlaan kuulalaakerirasvalla.

Tarkistetaan. Jos laitteesta vuotaa öljä, ota yhteyttä huoltolikkeeseen
Koneen voideltavat kohdat ovat nivelet, voitelunipat ja ketjut. Tarkista voitelukohdat aina ennen käytöväää Voitele tarvittaessa. Kone on voideltu ennen toimitusta.
Irrotus:
Löysää ja irrota laakeripidikkeet koneen oikealta puolelta.

Irrota laakerintappi ytimen ulkoreunasta.

Irrota vanhat pyöröharjat ja välilevyt.

Asennus:
Asenna uudet pyöröharjat ja välilevyt. Varmista, etteivät pyöröharjojen ohjaustapit tule samalle puolle ydintä.

Asenna laakerintapit ja kiristä ruuvit.

Asenna laakeripidike ja kierrä loput ruuvit kiinni.

Vaihteiden välinen ketju
Ensisijaisesti ketjua kiristetaan kiertamalla ketjunkiristinta.

Kun ketjunkiristimellä ei saa kirstettyä enempää, ulommaista vaihdetta voi liikuttaa sivusuunnassa ketjun ja ketjunkiristimen kiristämiseksi entisestään.
HOUM!
Lakaisukoneissa, joiden sarjanumero on enintaan 0016348, on 1 / 2 ” ketju.
Numerosta 0023349 lahtien käytetään 5 / 8 ” ketjua.

- Irrota ketjunsuojuksen kansi.
- Löysää laakeria paikallaan pitäviä neljää pulttia 0,5-1 kierrosta.

- Säädä sisäkuusioruuvia lyhyestä päästä.
- Ketju on tarpeeksi kireällä, kun sitä voi liikuttaa pystysuunnassa noin cm:n verran.

- Kiristä pultit laakeriin.
- Asenna kansi ketjunsuojukseen.


HelppoOhje