MSP 2012 - Invertteri DOMETIC - Ilmainen käyttöohje ja opas
Löydä laitteen käyttöohje ilmaiseksi MSP 2012 DOMETIC PDF-muodossa.
Käyttäjien kysymyksiä aiheesta MSP 2012 DOMETIC
0 kysymys tästä laitteesta. Vastaa tuntemiisi tai esitä omasi.
Esitä uusi kysymys tästä laitteesta
Lataa ohjeet laitteellesi Invertteri PDF-muodossa ilmaiseksi! Löydä käyttöohjeesi MSP 2012 - DOMETIC ja ota elektroninen laitteesi takaisin hallintaan. Tällä sivulla julkaistaan kaikki laitteidesi käyttöön tarvittavat asiakirjat. MSP 2012 merkiltä DOMETIC.
KÄYTTÖOHJE MSP 2012 DOMETIC
Pyytää lisä tietoja Domatic WAECOn kattavista tuotevalikoimista. Tilatkaa tuoteku-vastomme maksutta ja sitoumuksetta internet-osoitteesta: www.domatic-waeco.com

1





2

3
SinePower

4

5





10

SinePower

11

12

13

14
Lue tämä ohje huolellisesti lapi ennen laitteen asennusta ja käyttoönontoa ja säilytä ohje hyvin. Jos myyt laitteen eteenpän, anna ohje tällöin edelleen uudelle käytäjälle.
Sisallysluettelo
1 Neuvoja kayttöohjeen kayttamiseen 218
2 Yleisiä turvallisuusohjeita. 218
3 Toimituskokonaisuus 221
4 Lisavarusteet 221
5 Taman kayttoohjeen kohderyhma 222
6 Määräystenmukainen käytto 222
7 Tekninen kuvaus 222
8 Vaihtosuntaajan kiinnitys 226
9 Vaihtosuntaajan liittäminen poistoilmajärestelmän 228
10 Vaihtosuuntaajan liittäminen 228
11 Vaihtosuntaajan kayttaminen. 232
12 Vaihtosuuntaajan hoitjo pauhdistaminen 235
13 Vianetsintä 235
14 Tuotevastuu 236
15 Havittaminen 236
16 Tekniset tiedot 236
Neuvoja käyttoohjeen käytämiseen
SinePower
1 Neuvoja käyttoohjeen käytämseen

Huomio!
Turvallisuusohje: Noudattamatta jättäminen voi johtaa materiaa-livaurioihin ja Haitata laitteen toimintaa.

Huomio!
Turvallisuushej, joka viittaa sahkovirrasta ja -jannitteestä johtuviin vaaroihin: Noudattamatta jattäminen voi johtaa henkilö- ja materiaialivaurioihin ja Haitata laitteen toimintaa.

Ohje
Laitteen käytöä koskevia lisātietoja.
Menettely: Tämä symboli ilmaisee, että sinun tulee tehdä jotakin. Tarvittava menettely kuvataan askel askeleelta.
Tämä symboli kuvailee menettelyn tuloksen.
Noudata myös seuraavia turvallisuusohjeita.
2 Yleisiä turvallisuusohjeita
Valmistaja ei ota mitään vastuuta seuraavista syistä johtuvista vauroiosta:
- asennus- tai liitäntävirheet
- laitteeseen mekaanisen vaikutuksen tai ylijännitteen takia syntyneet vauriot,
- laitteeseen ilman valmistajan nimenomaista lupaa tehdyt muutokset,
- käytö muuhun kuin käytöohjeessa ilmoitettuun tarkoitukseen.
Noudata seuraavia periaatteellisia turvatoimenpiteita kayttäessäsi sahköllä toimivia laitteita. Tämä suojeele sinua:
- sähköiskulta
palovaaralta
loukkaantumiselta
2.1 Yleinen turvallisuus
- Asennettaessa 230 - V_AC n pistorasiaverkkoa, tulee ehdottomasti pitäa huolta siitä, että ammatilainen asentaa suojakytkimen (FI-kytkimen) ja maadoitusliitokset, katso kappale "Useampien sahkölaitteiden liittämi-nen" sivulla 231.
Sahkolaitteet eivat ole lasten eluja!
Lapset eivät osaa arvioida sahkölaitteista aiheutuvia vaaroja oikein. Alkäantako lasten käyttaa sahkölaitteita ilman valvontaa.
- Henkilöiden, jotka eivät voi käytä kylmälaukkua turvallisesti fyysisten, sensoristen tai psyykkisten taitojensa vuoksi, tai kokemattomuuden tai tietämättomydyden vuoksi, ei tulisi käytä laitetta ilman valvontaa tai vastuullisen henkilön ohjeita.
- Käytä laitetta ainoastaan sen käytötarkoitukseen.
- Älä kaytä laitetta kosteassaa tai marssa ymparistossa.
- Älä käytä laitetta palavien materiaialien lahellä.
- Älä käytä laitetta paikoissa, joissa olemassa on räjähdysvaara.
- Laitetta saa huoltaa ja korjata vain ammattimies, joka tuntee toihin liittyvät vaarat sekä vastaavat märäykset.
2.2 Turvallisuus laitteen asentamisen yhteydessä
- Ota huomioon tukeva alusta!
Laite taytyy sijoittaa ja kiinnittäa niin vakaasti, etta se ei voi kaatua tai pudota. - Varmista laite siten, etta lapset eivat voi päästä siihen käsiki.
Voi syntyä vaaroja, joita lapset eivät havaitse! - Älä aseta laitetta altiiksi millekään lampölahteelle (auringonpaiste, lammitys jne.). Välta nain laitteen lisälampenemistä.
Veneasennuksessa
Sähkölaitteiden asentaminen värärin voi aiheuttaa veneisiin korroosiovaurioita. Anna vaihtosuuntaajan asentaminen asiantuntevan (vene-) sähkömiehen tehtäväksi.
Sahköiset johtimet
- Käytä putkitusta tai l⁺pivientikappaleita, jos johtimet t⁺yty viedä peltiseinen tai muiden ter⁺vareunaisten seinien l⁺pi.
- Älä aseta johtimia liian lóysälle, tai teräville taitteille sahköä johtavien materiaalien (metalli) päälle.
- Älä kisko johtimista.
- Älä aseta 230 V -verkkjojhtoa ja 12/24 V -tasavirtajohdinta samaan joh-dinkanavaan (putkitus).
Kiinnitä johtimet hyvin. - Veda johtimet siten, etta nihin ei voi kompastua ja etta johdon vaurioitumisen mahdollisuus on pois suljettu.
2.3 Laitteen käytöturvallisuus
- Käytä laitetta vain, kun laitteen kotelossa ja johtimissa ei ole vaurioita.
- Huolehdi siitä, etta laitteen ilmantulo- ja -poistoaukkjoja ei peitetä.
Huolehdi hyvästä tuuletuksesta. - Älä yhdistä vaihtosuuntaajan 230 V -lähtöä (kuva 2 4, sivulla 4) toiseen 230 V -lähteeseen.
- Vaihtosuntaajan osat ovat jannitteisiä myös suojalaitteiston (sulakteen) lauettua.
- Katkaise virransyöttö aina laitetta koskevien toiden ajaksi.
3 Toimituskokonaisuus
| Kohta kuva 1, sivulla 3 | Nimitys |
| 1 | Vaihtosuuntaaja |
| 2 | Pidikettä |
| MSP 702, MSP 704, MSP 1012, MSP 1024, MSP 1512, MSP 1524: 4 pidikettä | |
| MSP 2012, MSP 2024, MSP 2512, MSP 2524: 6 pidikettä | |
| 3 | Liitäntäjohto schuko-pistokkeella (230-VC-syöttöän) |
| 4 | Liitäntäjohto schuko-kytkimellä (230-VC-lähtöän) |
| 5 | Poistoilma-adapteri |
| MSP 702, MSP 704, MSP 1012, MSP 1024, MSP 1512, MSP 1524: aina yksi poistoilma-adapteri | |
| MSP 2012, MSP 2024, MSP 2512, MSP 2524: aina 2 poistoilma-adapteria | |
| 6 | Johtopidike |
| 7 | Kuusiokoloavain |
| - | Kiinnitysmateriaali |
| - | Käytöohje |
4 Lisävarusteet
| Nimitys | Tuotenro |
| Kaukosäädin | MCR-7 |
| Kaukosäädin | MCR-9 |
5 Tämän käytöohjeen kohderyhma
Kappale „Vaihtosuuntaajan liittäminen" auf Seite 228 on suunnattu ainoastaan ammattilaisille, jotka tuntevat vastaavat VDE-directiivit. Kaikki muut kappaleet suunnataan laitteen käytäjille.
6 Määräystenmukainen käytto
SinePower -vaihtosuuntaajaa käytetään 12 V:n tai 24 V:n tasajännitteen muuntamiseen 230 V -vaihtojännitteeksī, Jonka taajuus on 50 Hz.
12V:
SinePower MSP 702, Tuotenro. MSP700-012
SinePower MSP 1012, Tuotenro. MSP1000-012
SinePower MSP 1512, Tuotenro. MSP1500-012
SinePower MSP 2012, Tuotenro. MSP2000-012
SinePower MSP 2512, Tuotenro. MSP2500-012
24V:
SinePower MSP 704, Tuotenro. MSP700-024
SinePower MSP 1024, Tuotenro. MSP1000-024
SinePower MSP 1524, Tuotenro. MSP1500-024
SinePower MSP 2024, Tuotenro. MSP2000-024
SinePower MSP 2524, Tuotenro. MSP2500-024

Varoitus!
Vaihtosuntaajaa ei saa käyttaa ajoneuvoissa, joiden akun plusnapa on yhdistetty runkoon.
7 Tekninen kuvaus
Vaihtosuntaajia voidaan käyttaa kaikkialla, missä
on 12-V-DC-liitantä
(SinePower MSP 702, MSP 1012, MSP 1512, MSP 2012, MSP 2512)
on 24-V-DC-liitäntä
(SinePower MSP 704, MSP 1024, MSP 1524, MSP 2024, MSP 2524)
Laitteen keveyden ja kompaktin rakenteen ansiosta se voidaan asentaa ongelmitta matkailuautoihin, hyötyajoneuvoihin sekä moottori- tai purjevenesiin.
Lähtöjannite vastaa kotitalouksien pistorasian jännitettä (puhdas sinimuotoinen jännite).
SinePower
Tekninen kuvaus
Vaihtosuntaajassa on 230-V-AC-jännitteenvalitsin. Jos saatavilla on ulkoinen 230-V-AC-jännite, käytetään tätä ensisijaisesti. Jos saatavilla ei ole ulkoista 230-V-AC-jännitetta, käytetään virransyöttöön liitetyä akkau.
Noudata lahtötehoa ja huiippulähtötehoa koskevia arvoja, jotka kappale "Tekniset tiedot" sivulla 236 ilmoittaa. Laitteeseen ei saa liittäa laitteita, joiden tehontarve on tata suurempi.

Ohje
Huomaa moottorisoituja sähkölaitteita liittäessäsi (esim. porakone, jäkaappi jne.), etta nämä tarvitsevat käynnistyväkseen usein suuREMman tehon kuin mitä typpikilvessa ilmoitetaan.
Vaihtosuntaajassa on erilaisia suojamekanismeja:
- Ylijännitesuoja: Vaihtosuuntaaja kytkeytyy pois pälä, jos jännitearvo kohoaas katkaisuarvoa suuremmaksi. Se käynistyy jällen, kun jännite laskee uudellenkäynistysarvoon.
- Alijännitesuoja: Vaihtosuuntaaja kytkeytyy pois päältä, jos jännitearvo laskee katkaisuarvoa alemmaksi. Se käynnistyy jälleen, kun jännite nouse uudellenkäynistysarvoon.
- Ylikuumenemissuoja: Vaihtosuntaaja kytkeytyy pois päältä, jos lampötila laitteen sisällä tai jäähdytelementin lampötila kohoaayi katkaisuarvon. Se käynnistyy jälleen, kun jännite nousee uudellenkäynnistysarvoon.

Ohje
Yksittäiset kytkentäarvot lötyvät: kappale "Tekniset tiedot" sivulla 236.
Jotta akku, johon vaihtosuuntaaja on liitetty, ei purkautuisi liian nopeasti, vaihtosuuntaaja voidaan kytkeä energiansäastötilaan (stand-by).
Vaihtosuntaajan voi liittäa poistoilmajärjestelmään oheisella poistoilma-adapterilla. Siten lammin poistoilma johdetaan ulos.
Voit käyttaa johtopidikettä kiinnittäaksesi liitantäjohndon laitteen takapuolle.
Vaihtosuuntaajan voi käynistää ja sammuttaa ulkoisella kytkimellä (ei mukana toimitukssessa).
Valmistaja tarjoaa lisävarusteeksi vaihtosuuntaajan ohjaamiseen sopivan kaukosäätimen.
7.1 Laitekuvaus
Vaihtosuntaajassa on seuraavat naytôt ja käytölaitteet:
| Kohta kuva 2, sivulla 4 | Elementti |
| 1 | Päkytkin 0 / Off: Laite sammutettu I / On: Laite käynnistetty II / Remote: Laitteen voi käynistää ja sammuttaa ukoisella kytkimellä tai ohjata kaukosäätimellä (lisävaruste). |
| 2 | LED "Power Status", ilmaisee toimintotilan |
| 3 | LED "Load Level", ilmaisee annetun tehoalueen |
| 4 | LED "Input Level", ilmaisee tulojännitealueen |
| 5 | Kierreporaukset poistoilma-adapterin kiinnittämseen |
| Kohta kuva 3, sivulla 4 | Elementti |
| 1 | DIP-kytkin energiansäbstöimintoon vaihtamiseksi |
| 2 | Sulake |
| 3 | 230-VAC-tuloliitin |
| 4 | 230-VAC-lähtöliitin |
| 5 | Maa-liitin |
| 6 | Remote-portt II kaukosäätimen (lisävaruste) liittämiseksi |
| 7 | Remote-portt I sellaisen ulkoisen kytkimen liittämseen, jolla laite voidaan käynistää ja sammuttaa. |
| 8 | DC-liitin (plus-napa) |
| 9 | DC-liitin (miinus-napa) |
7.2 Toimintailmaisimet
LED "Input Level" (kuva 2 4, sivulla 4)
LED "Input Level" ilmaisee sen jännitealueen, jolla tulojännite on.
| Näytö | Ottojännite | |
| MSP 702, MSP 1012,MSP 1512, MSP 2012,MSP 2512 | MSP 704, MSP 1024,MSP 1524, MSP 2024,MSP 2524 | |
| Punainen, hidas vilkku | 10,3 – 10,6 V | 20,5 – 21,2 V |
| Punainen | 10,6 – 11,0 V | 21,2 – 21,8 V |
| Oranssi | 11,0 – 12,1 V | 21,8 – 24,1 V |
| Vihreä | 12,1 – 14,2 V | 24,1 – 28,6 V |
| Oranssi, vilkkuva | 14,2 – 15,0 V | 28,6 – 30,0 V |
| Punainen, vilkkuva | > 15,0 V | > 30,0 V |
LED "Load Level" (kuva 2 3, sivulla 4)
LED "Load Level" ilmaisee vaihtosuntaajan antaman tehon.
| Näytö | Teho | ||
| MSP 702 | MSP 1012 | MSP 1512 | |
| MSP 704 | MSP 1024 | MSP 1524 | |
| Pois | 0 – 56 W | 0 – 80 W | 0 – 120 W |
| Vihrea | 56 – 230 W | 80 – 330 W | 120 – 495 W |
| Oranssi | 230 – 525 W | 330 – 750 W | 495 – 1125 W |
| Punainen | 525 – 672 W | 750 – 960 W | 1125 – 1450 W |
| Punainen, vilkkuva | > 672 W | > 960 W | > 1450 W |
| Näytö | Teho | |
| MSP 2012 | MSP 2512 | |
| MSP 2024 | MSP 2524 | |
| Pois | 0 – 160 W | 0 – 240 W |
| Vihreä | 160 – 660 W | 240 – 990 W |
| Oranssi | 660 – 1500 W | 990 – 2250 W |
| Punainen | 1500 – 1920 W | 2250 – 2880 W |
| Punainen, vilkkuva | > 1920 W | > 2880 W |
LED "Power Status" (kuva 2, sivulla 4)
LED "Power Status" ilmaisee vaihtosuntaajan toimintotilan.
| Näytö | Tulojännite |
| Oranssi, loistaa jatkuvasti | Normaalitoiminto akku-virtasyötöllä |
| Oranssi, hidas vilkku | Energiansäästötila |
| Vihrea, loistaa jatkuvasti | Ulkoinen syöttö 230-VC-jännitteellä |
| Punainen, nopea vilkku | Tulojännite liian korkea. |
| Punainen, hidas vilkku | Tulojännite liian matala |
| Punainen, jaksottainen vilkku | Terminen ylikuormitus |
| Punainen, loistaa jatkuvasti | Lian suuri kuormitus |
8 Vaihtosuntaajan kiinnitys
Voit kiinnittä vaihtosuntaajan oheisilla pidikkeellä.
Noudattakaa asennuspaikkaa valitessanne seuraavia ohjeita:
Vaihtosuuntaaja voidaan asentaa sekä pystysuoraan etta vaakasuoraan.
Vaihtosuuntaaja taytyy asentaa kosteudelta suojattuin paikkaan.
- Vaihtosuntaajaa ei saa asentaa ympäristöön, jossa on syttyvä materiaialeja.
Vaihtosuuntaajaa ei saa asentaa pollyseen ymparistoo.
- Asennuspaikassa pitä olla hyvä tuuletus. Asennettaessa laite pioneen suljettuun tilaan, tällä pitä olla ilmanvaihtoaukot tulo- ja poistoilmalle. Vaihtosuntaajan ympärillä tätyy olla vähintään 25 cm vapaata tilaa.
- Vaihtosuntaajan alapuolella olevan ilmatulon ja takapuolella olevan ilmapoiston tätyyy olla vapaina.
- Yli 40^ :n (esim. moottori- tai lammitystiloissa, suora auringonpaiste) ympäristölampötiloissa vaihtosuntaajan kuormitettuna synnyttämä lampo saattaa johtaa automaattiseen katkaisuun.
- Asennuspinnan tätyyy olla tasainen ja kyllin luja.
Sen taytyy kestaa vaihtosuntaajan paino.
- Huomaa asennuspaikkaa valitessasi tilantarve johtopidikkeita varten laitteen takana.

Ohje
Johtopidikkeellä voit varmistaa liitäntäjohdot laitteen takapuolella. Kiinnitta johdot vetamisen jälkeen nippusiteillä johtopidikkeen salpoihin.

Huomio!
Ennen kuin teet mitään reikiä, varmista, etta poraaminen, sahaaminen tai viilaaminen ei vahingoita sähköjohtoja tai ajoneuvon muita osia.
Vaihtosuuntajan kiinnitys vaakasuoraan
Napsauta aina kaksi pidikettä vasemmalta ja oikealta alemmalta puolelta (kuva 4, sivulla 5). Voit siirtää pidikkeitä lopuksi haluamallasi tavalla.
▶ Ruuvaa vaihtosuuntaaja kiinni ruuvaamalla aina yksi ruuvi porausten läpi pidikkeisiin.
Aseta johtopidike (kuva 5 1, sivulla 5) salvan kanssa reunan yli vaihtosuuntaajan takapuolelle (kuva 5 2, sivulla 5).
Ruuvaa johtopidike aina yhdellä ruuvilla neljästä reiänkohdasta.
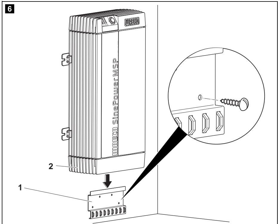
Vaihtosuuntajan kiinnitys pystysuoraan
Napsauta aina kaksi pidikettä vasemmalta ja oikealta alemmalta puolelta (kuva 4, sivulla 5). Voit siirtää pidikkeitä lopuksi haluamallasitavalla.
▶ Ruuvaa johtopidike (kuva 1, sivulla 6) aina yhddellä ruuvilla neljästä rei-änkohdasta seinään kiinni.
Työnnä vaihtosuuntaajaa (kuva 2, sivulla 6) johtopidikkeeseen siten, että vaihtosuuntaajan takapuolen reuna lukittuu seinän ja ja johdopidikkeen salvan vällin.
▶ Ruuvaa vaihtosuuntaaja kiinni ruuvaamalla aina yksi ruuvi porausten läpi pidikkeisiin.
9 Vaihtosuntaajan liittäminen poistoilmajärjestelmään
Voit liittä vaihtosuntaajaan poistoilmajärjestelmän. Siten lammin poistoilma johdetaan sisätilasta ulos.
Aseta poistoilma-adapteri (kuva 2, sivulla 6) vaihtosuntaajan etupuolelle (kuva 1, sivulla 6) tuulettimen ylapuolelle siten, etta ruuvit sopivat reikiin.
Kiinnitä poistoilma-adapteri oheisilla neljälla ruuvilla.
Työnnä letkuliitin (ei mukana toimituksessa, kuva 7 3, sivulla 6) poistoilma-adapteriin.
Työnnä poistoilma-adapterin letku (kuva 4, sivulla 6) letkuliittimeen.

Ohje
SinePower MSP 2012, MSP 2024, MSP 2512 ja MSP 2524 on varustetu kahdella tuulettimella. Asenna näillä laitteilla molempien ventilaattoreiden eteen aina yksi poistoilma-adapteri ja liitä aina yksi poistoilmaletku.
10 Vaihtosuntaajan liittäminen

Varoitus - sähköiskusta johtuva hengenvaara!
Jos liität vaihtosuntaajan vaärin, käytäjä on hengenvaarassa. Laitteen saa liittä ainoastaan ammattilainen, joka tuntee vastaa-vat VDE-direktiivit.
Tämä kappale on tarkoitettu ainoastaan ammattilaisille, joille VDE-direktiivit ovat tuttuja.
10.1 Liittämisohjeita

Varoitus!
Vaihtosuntaajaa ei saa käyttaa ajoneuvoissa, joiden akun plusnapa on yhdistetty runkoon.

Varoitus - sähköiskusta johtuva hengenvaara!
Jos haluat liittä vaihtosuuntaajaan enemmän kuin yhden sahkö-laitteen ja kokoat sihen pistorasiaverkon, tulee vaihtosuuntaajaan asentaa suojakytkin (FI-kytkin) ja maadoitusliitos, katso kappale "Useampien sahkolaitteiden liittäminen" sivulla 231.
- Vaihtosuuntaaja täytyy yhdistää runkoon tai maahan, jos se asennetaan ajoneuvoihin tai veneisiin.
- Aseta pääkytkin (kuva 2 1, sivulla 4) asentoon "Off" ennen liittämista.
Noudata pistorasiaverkkoa rakentaessasi VDE 0100:n määräyksiä.
Käytä yksinomaan kuparijohtoja. - Pida johdot niin lyhyina kuin mahdollista. Johdot eivat saa olla yli 1,8 m.
- Kiinnitta johdot vetämisen jälkeen nipusiteillä johtopidikkeen salpoihin.
- Noudata vaadittavaa johtohalkaisijaa ja aseta johtosulake plus-johtimeen mahdollisimman lahelle akkua (ks. taulukko).

Varoitus!
Jos et asenna sulaketta plus-johtimeen, johdot voivat ylikuormittua ja aiheuttta tulipalon.
| Laite | Vaadittava johtohalkaisija | Johtosulake |
| MSP 702 | 25 mm² | 100 A |
| MSP 704 | 15 mm² | 50 A |
| MSP 1012 | 35 mm² | 200 A |
| MSP 1024 | 25 mm² | 100 A |
| MSP 1512 | 35 mm² | 200 A |
| MSP 1524 | 25 mm² | 100 A |
| MSP 2012 | 70 mm² | 250 A |
| MSP 2024 | 55 mm² | 150 A |
| MSP 2512 | 95 mm² | 400 A |
| MSP 2524 | 70 mm² | 200 A |
10.2 Vaihtosuntaajan liittäminen akkuun

Varoitus!
Huolehdi siitta, etta napaisuus ei mene ristiin. Akkuliitantöjen napaisuuden sekoittaminen johtaa runsaaseen kipinointiin ja sisäiset sulakkeet palavat. Vain ammattimies saa vaihtaa sulakkeita!

Ohje!
Kiristä liittimien ruuvit 12 - 13 Nm:n väantömomentilla. Löysät liitokset voivat johtaa ylikuumenemiseen.
Aseta pääkytkin (kuva 2 1, sivulla 4) asentoon "Off".
▶ Ruuvaa laitteen takapuolella neljä kiinnitysruuvia (kuva 8 2, sivulla 7) ulos oheisella kuusiokoloavaimella.
Ota takaseinä (kuva 8 1, sivulla 7) poised.
Työnnä plus-johto takaseinän aukon "POS (+)" lapi ja miinus-johto aukon "NEG (-)" lapi.
Kierrä varmistusruuvia (kuva 8 3, sivulla 7) hieman ulos.
Työnnä plus-johdon kaapelikenkä (kuva 8 5, sivulla 7) jousiprikan (kuva 8 4, sivulla 7) ja plus-liittimen kuva 3 6, sivulla 4) välän.
Kiristä varmistusruuvi jälleen.
Liitä miinus-johto vastaavasti minus-liittimeen (kuva 3 7, sivulla 4).
Liitä maaliitin (kuva 3 5, sivulla 4) ajoneuvon runkoon johdolla, jonka halkaisija on vähintään 16~mm^2
Aseta laitteen takaseinä jälleen paikalleen ja kiinnitä se ruuveilla.
Vedä plus-johto vaihtosuuntaajasta ajoneuvoakun plus-navan luo ja liitä se siihen.
Veda miinusjohto vaihtosuuntaajasta ajoneuvoakun miinus-navan luo ja liitä se siihen.
10.3 230-V:n syöttöjohtimen liittäminen
Työnnä 230- V_AC -liitäntäjohto schuko-pistokkeella (kuva 1 3, sivulla 3) 230- V_AC -tuloliittimeen (kuva 3 3, sivulla 4).
Liitä schuko-pistoke 230-V:n vaihtovirtavernkloon.
10.4 230-V-lähtöjohtimen liittäminen

Varoitus - sähköiskusta johtuva hengenvaara!
Varmista ennen 230- V_AC -lähtöjohtimen liittämistä, että vaihtosuuntaaja on sammutetu päkytkimellä.
Tyonnä 230- V_AC -liiantäjohto schuko-kytkimellä (kuva 1 4, sivulla 3)
230- V_AC -lähölliittimeen (kuva 3 4, sivulla 4).
10.5 Useampien sahkolaitteiden liittäminen
Laitteessa on toimitushetkellä galvaaninen erottelu. Useampien sahkölaitteiden turvallisen käytön vuoksi on pistorasiaverkkoon välttamätontä asentaa suojakytkin (Fl-kytkin), katso esimerkki-kytkentäkaavio kuva 10, sivulla 8.
Esimerkki-kytkentäkaavion selitys:
| Kohta kuva 10, sivulla 8 | Seligys |
| 1 | 230-VC-jännitelähde |
| 2 | Muut laitteet, esim. akkulaturi, jäkaappi |
| 3 | DC-jännitelähde (akku) |
| 4 | Vaihtosuuntaaja |
| 5 | Maadoitusliitos asetettu (toimitustila: ei asetettu, esitetty katkoviiivoin) |
| 6 | Suojakytkin (Fl-kytkin) |
| 7 | Pistorasiaverkko sähkölaitteille |

Varoitus - sahköiskusta johtuva hengenvaara!
Jos haluat liittä vaihtosuntaajaan enemmän kuin yhden sahkö-laitteen ja kokoat sihen pistorasiaverkon, tulee vaihtosuntaajaan asentaa suojakytkin (Fl-kytkin) ja maadoitusliitos.
Asenna FI-kytkin pistorasiaverkkoon.
Maadoitusliitokens anetus
▶ Ruuvaa laitteen takapuolella neljä kiinnitysruuvia (kuva 9 2, sivulla 7) ulos oheisella kuusiokoloavaimella.
Ota takaseinä (kuva 9 1, sivulla 7) poised.
Ruuvaa maadoitusruuvi (kuva 4, sivulla 7) poised.
Ruuvaa ruuvi viereiseen reikään (kuva 3, sivulla 7) vaemmalla puolela.
Aseta laiteen takaseinä jälleen paikalleen ja kiinnitä se ruuveilla.
10.6 Käynnistyksen ja sammutuksen ulkoisen kytkimen liittäminen

Ohje
Ulkoinen kytkin liitetaan RJ-45-puhelinpistokkeella vaihtosuntaa-jaan. Huomioi pistokteen PIN-varaukset liitantjohtoa varten!
Valmista liitäntäjohto seuraavien kytkentäquivien mukaan.
- Ulkoinen kytkin, jannitesyöttö vaihtosuuntaajasta: kuva 11, sivulla 9
- Ohjausyksikko rele- ja transistorikytkennä (TR): kuva 12, sivulla 9
- Ulkoinen kytkin jannitesyötöllä ajoneuvon akun (BAT) kautta: kuva 13, sivulla 9
- Ulkoinen kytkin omalla jannitesyötöllä (DC POWER), esim. virtalukosta: kuva 14, sivulla 9
Liitäulkoinen käynnistys-/sammutuskytkin liitäntäjohdolla Remote-porttiin I (kuva 3 7, sivulla 4).
10.7 Kaukosäätimen (lisävaruste) liittäminen

Huomio - vahingoittumisvaara!
Työnnä kaukosaätimen liitäntä ainoastaan Remote-porttiin II
eikä Remote-porttiin I. Väärä liitäntä voi vaurioittaa laitetta!
Varmista, että kaukosaadin ja vaihtosuntaaja savat virtaa samalla tulojännitearvolla!
Liitä kaukosoäadin (lisävaruste) Remote-porttiin II (kuva 3 6, sivulla 4).
11 Vaihtosuntaajan käytäminen
Liitä sähkölaitteet vaihtosuuntaajaan.
Päülle kytkeminen laitteesta
Aseta pääkytkin (kuva 2 1, sivulla 4) asentoon "ON".
SinePower
Vaihtosuntaajan käytäminen
Vaihtosuuntaaja suorittaa testauksen.
Testauksen aikana laitteen sisäisestä kovaääänisestä kuuluu äniä ja LEDit vilkkuvat erivärisinä.
Testauksen jälkeen LEDit "Input Level" (kuva 2 4, sivulla 4) ja "Power Status" (kuva 2 2, sivulla 4) loistavat vihreinä.
Käytö ulkoisella kytkimellä tai kaukosoätimellä (lisävaruste)
Vaihtoehtoisesti voit käynnistää ja sammuttaa vaihtosuntaajan liitetyllä ulkoisella kytkellä tai käytää sitä kaukosoätimellä (lisävaruste).
Aseta pääkytkin (kuva 2 1, sivulla 4) asentoon "Remote".
Kun vaihtosuuntaaja on käynnistetty ulkoisesta kytkimestä tai kaukosäätimestä (lisävaruste), LED "Power Status" (kuva 2, sivulla 4) loistaa vihreänä.
Huomaa seuraavat käytöä koskevat ohjeet (katso myös kappale "Vianetsintä" sivulla 235)
Vaihtosuntaaja kytkeytyy pois päältä, jos
- akkujännite on alle 10,5 V tai 21 V,
akkujannite on yli 15,3 V tai 30,6 V, - vaihtosuuntaaja ylikuumenee,
- kyseessä on ylikuormitus (oikosulku).

Ohje
Laitteen käytto ylikuormituksella voi aiheuttaa syklisiä paällekykntäryrityksiä. Kun laitetta käytetään taas märäysten mukaisesti, kytkeytyv vaihtosuntaaja automaattisesti jalleen paälle (recovery function). Jos tyydytäva til ei palaa muutaman minuutin kuluessa, kytke vaihtosuntaaja pois ja tarkasta liitetyt sähkölaitteet.

Ohje
Kun vaihtosuntaajaa kaytetään kauan suurimmalla kuormalla, on suositeltavaa käynistää moottori, jotta ajoneuvon akku latautuu uudelleen.
11.1 Energiansäastötilan (stand-by) säätäminen
Vaihtosuuntaaja ei luovuta jännitettä energiansäastötilassa ja säästä siten akkua. Kun liitetty sahkolaite tarvitsee tehoa, joka on yli asetetun tehoarvon, toimii vaihtosuuntaaja jälleen normalaitaloiminnossa.
Voit kytkeä energiansäastötilan paälle DIP-kytkimillä S1, S2 ja S3 (kuva 1, sivulla 4) ja asettaa tehoarvon.
Katso vaihtosuntaajaasi kytinasennot seuraavasta taulukosta:
| Tehoarvo | Energiansäbstöila ... asti | DIP-kytkin | ||||
| MSP 702 | MSP 1012 | MSP 2012 | S1 | S2 | S3 | |
| MSP 704 | MSP 1024 | MSP 2024 | ||||
| MSP 1512 | MSP 2512 | |||||
| MSP 1524 | MSP 2524 | |||||
| Pois | Pois | Pois | Pois | Pois | Pois | |
| 15 W | 20 W | 40 W | Päällä | Pois | Pois | |
| 25 W | 40 W | 80 W | Pois | Päällä | Pois | |
| 40 W | 55 W | 125 W | Päällä | Päällä | Pois | |
| 50 W | 75 W | 170 W | Pois | Pois | Päällä | |
| 65 W | 95 W | 210 W | Päällä | Pois | Päällä | |
| 75 W | 115 W | 245 W | Pois | Päällä | Päällä | |
| 85 W | 135 W | 280 W | Päällä | Päällä | Päällä | |
11.2 Vaihto 50 Hz:n ja 60 Hz:n valillä
Lähtöjannitteen voi vaihtaa DIP-kytkimellä S4 (kuva 3 1, sivulla 4) 50 Hz:na 60 Hz:n valillä.

Varoitus!
Säädä DIP-kytkintä S4 ainoastaan, jos vastaavaa lähtöjännitteen taajuutta tulee käyttaa.
Aseta DIP-kytkin S4 (kuva 3 1, sivulla 4) seuraavan taulukon mukaan:
| Lähtöjännitteen taajuus | DIP-kytkin S4 |
| 50 Hz | Pois |
| 60 Hz | Päälä |
12 Vaihtosuntaajan hoito ja puhdistaminen

Huomio!
Puhdistukseen ei saa käyttaa teräviä tai kovia valseiteä eikä puhdistusaineita, koska tämä voi johtaa laitteen vahingoittumiseen.
Puhdistakaa laite toisinaan ulkopuolelta kostealla liinalla.
13 Vianetsintä

Ohje
Känny valmistajan puoleen, jos sinulla on vaihtosuntaajan tietoja koskevia yksityiskohtaisia kysmyksiä.

Varoitus!
Aä avaa laitetta. Siitä aiheutuu sahköiskuvaara!
Ei lahtöjannitettä
LED "Power Status" (kuva 2, sivulla 4) ilmaisee punaisena virheen:
| LED-näytö | Syy | Poistaminen |
| Nopea vilkku | Lian korkea tulo-jännite | Vaihtosuntaaja sopii ainoastaan annetulle jännit-teelle. |
| Hidas vilkku | Lian matala tulo-jännite | Akku tätyy ladata uudelleen.Tarkasta johtimet ja liitännät. |
| Jaksottainen vilkku | Terminen ylikuormitus | Kytke vaihtosuntaaja ja sähkölaite pois pälätto. Odota n. 5–10 minuuttia ja kytke vaihtosuntaaja jälleen päläle ilman liitettyä sähkölaitetta.Vähennä kuormituda ja huolehdi vaihtosuntaajan paremmasta tuuletuksesta. Kytke sitten sähkölaite jälleen päläle. |
| Loistaa jatkuvasti | Oikosulku tai napai-suusväärinLian suuri kuormitus | Kytke vaihtosuntaaja pois pälätto ja poista sihen liitetty sähkölaite.Kytke vaihtosuntaaja jälleen päläle ilman sähkö-laitetta. Jos lian suurta kuormituda ei enäilmaista, liitetynä olleessa sähkölaitteessa on oikosulku tai kokonaiskuormitus oli suurempi kuinenietolehtissä määritetty teho.Tarkasta johtimet ja liitännät. |
14 Tuotevastuu
Laitetta koskee lakisäteinen takuuaika. Jos tuote sattuu olemaan vialinen, känny maasi valmistajan toimipisteen puoleen (osoitteet käyttoohjeen takasivulla) tai ota yhteyttö omaan ammattikauppiaaseesi.
Korjaus- ja takuukäsittelyä varten lahetä mukana seuraavat asiakirjat:
- kopio ostolaskusta, jossa nakyy OSTPAAV,
- valitusperuste tai vikakuvaus.
15 Havittäminen
Vie pakkaismateriaali mahdollisuuksien mukaan vastaavan kierratysjä-teen joukkoon.

Jos poistat laitteen lopullisesti käytösta, ota selvää laitteen havittämista koskevista märäyksistä lahimmässä kierratyskeskukssessa tai kauppiaasi luona.
16 Tekniset tiedot
| UAECO SinePower | ||||
| MSP 702 | MSP 704 | MSP 1012 | MSP 1024 | |
| Tuotenro. | MSP700-012 | MSP700-024 | MSP1000-012 | MSP1000-024 |
| Nimellinen tulojännite | 12 V DC | 24 V DC | 12 V DC | 24 V DC |
| Lähtöteho | 700 W | 1000 W | ||
| Huippulähtöteho | 1400 W | 2000 W | ||
| Lähtöjännite | 230 V AC puhdas siniaalto | |||
| Lähtötaajuus | 50 Hz | |||
| Lepovirrankulutus | 1,2 A | 0,6 A | 1,25 A | 0,65 A |
| Virrankulutus valmiustilassa | 0,25 A | 0,15 A | 0,25 A | 0,15 A |
| Tulojännitealue | 10,5 V – 15 V | 21 V – 30 V | 10,5 V – 15 V | 21 V – 30 V |
| Hyötysuhe jopa | 90 % | 92 % | 90 % | 93 % |
| Ympäristön lämpötila, käytö | 0 °C – 40 °C | |||
| Ympäristön lämpötila, varas-tointi | -30 °C – +70 °C | |||
| Mitat L x S x K | 190 x 380 x 90 mm | 225 x 435 x 117 mm | ||
| Paino | 5,5 kg | 7,6 kg | ||
| UJAECO SinePower | ||||
| MSP 1512 | MSP 1524 | MSP 2012 | MSP 2024 | |
| Tuotenro. | MSP1500-012 | MSP1500-024 | MSP2000-12 | MSP2000-024 |
| Nimellinen tulojännite | 12 V DC | 24 V DC | 12 V DC | 24 V DC |
| Lähtöteho | 1500 W | 2000 W | ||
| Huippulähtöteho | 3000 W | 4000 W | ||
| Lähtöjännite | 230 V AC puhdas siniaalto | |||
| Lähtötaajuus | 50 Hz | |||
| Lepovirrankulutus | 1,4 A | 0,7 A | 2,3 A | 1,1 A |
| Virrankulutus valmiustilassa | 0,28 A | 0,15 A | 0,6 A | 0,3 A |
| Tulojännitealue | 10,5 V – 15 V | 21 V – 30 V | 10,5 V – 15 V | 21 V – 30 V |
| Hyötysuhe jopa | 90 % | 93 % | 90 % | 93 % |
| Ympäristön lämpötila, käytö | 0 °C – 40 °C | |||
| Ympäristön lämpötila, varas-tointi | -30 °C – +70 °C | |||
| Mitat L x S x K | 225 x 465 x 117 mm | 349 x 516 x 116 mm | ||
| Paino | 8,4 kg | 15,5 kg | ||
| UJAECO SinePower | ||
| MSP 2512 | MSP 2524 | |
| Tuotenro. | MSP2500-012 | MSP2500-024 |
| Nimellinen tulojännite | 12 V DC | 24 V DC |
| Lähtöteho | 2500 W | |
| Huippulähtöteho | 5000 W | |
| Lähtöjännite | 230 V AC puhdas siniaalto | |
| Lähtötaajuus | 50 Hz | |
| Lepovirrankulutus | 2,4 A | 1,5 A |
| Virrankulutus valmiustilassa | 0,6 A | 0,35 A |
| Tulojännitealue | 10,5 V – 15 V | 21 V – 30 V |
| Hyötysuhe jopa | 90 % | 93 % |
| Ympäristön lämpötila, käytö | 0 °C – 40 °C | |
| Ympäristön lämpötila, varas-tointi | -30 °C – +70 °C | |
| Mitat L x S x K | 349 x 546 x 116 mm | |
| Paino | 16,9 kg | |
Oikeus mallimuutoksiin, teknistä kehitystä palveleviin muutoksiin ja toimitus-mahdollisuuksiin pidätetään.
Ylijannitesuoja
| Laite | Ylijännite | |
| Katkaisu | Uudelleenkäyn-nistys | |
| MSP 702, MSP 1012, MSP 1512, MSP 2012, MSP 2512 | 15,3 V | 14,3 V |
| MSP 704, MSP 1024, MSP 1524, MSP 2024, MSP 2524 | 30,6 V | 28,6 V |
Alijannitesuoja
| Laite | Alijännite- varoitus | Alijännite | |
| Katkaisu | Uudelleenkäyn-nistys | ||
| MSP 702, MSP 1012, MSP 1512, MSP 2012, MSP 2512 | 11,0 V | 10,2 V | 12,7 V |
| MSP 704, MSP 1024, MSP 1524, MSP 2024, MSP 2524 | 22,0 V | 20,3 V | 25,4 V |
Ylikuumenemissuoja
| Lämpötila sisäinen | Jähdytyelementin lämpötila | ||
| Katkaisu | Uudelleenkäynnistys | Katkaisu | Uudelleenkäynnistys |
| 70 °C | 45 °C | 90 °C | 60 °C |
Hyväksynnät
Laitteella on e13-hyväksyntä.


Dometic
GROUP
Dometic WAECO International GmbH
Hollefeldstraße 63 - D-48282 Emsdetten
HelppoOhje