FANCY STYLE 2000 - Secador de pelo POLTI - Manual de uso y guía de instrucciones gratis
Encuentra gratis el manual del aparato FANCY STYLE 2000 POLTI en formato PDF.
| Tipo de dispositivo | Secador de pelo |
| Potencia | 2000 W |
| Número de velocidades | 2 |
| Número de ajustes de temperatura | 3 |
| Función de aire frío | Sí |
| Ionización | No especificado |
| Tecnología | Estándar |
| Accesorios incluidos | Concentrador de aire |
| Longitud del cable | 1,8 m |
| Peso | No especificado |
| Color | No especificado |
| Garantía | No especificado |
| Uso | Uso doméstico |
| Material del cuerpo | Plástico |
| Protección contra sobrecalentamiento | Sí |
Preguntas frecuentes - FANCY STYLE 2000 POLTI
Preguntas de los usuarios sobre FANCY STYLE 2000 POLTI
0 pregunta sobre este aparato. Responde a las que conoces o haz la tuya.
Hacer una nueva pregunta sobre este aparato
Descarga las instrucciones para tu Secador de pelo en formato PDF gratis! Encuentra tus instrucciones FANCY STYLE 2000 - POLTI y toma tu dispositivo electrónico nuevamente en la mano. En esta página están publicados todos los documentos necesarios para el uso de su dispositivo. FANCY STYLE 2000 de la marca POLTI.
MANUAL DE USUARIO FANCY STYLE 2000 POLTI
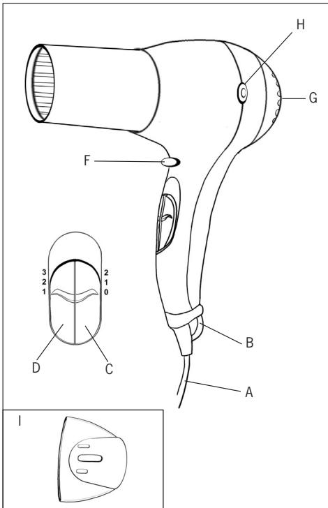
A) Cable de alimentación
B) Anilla para colgar
C) Interruptor de velocidades
D) Interruptor de temperatura
F) Botón de aire frío
G) Rejilla de entrada aire
H) Protecciones de plástico
1) Concentrador de aire
Este aparato tiene que ser destinado solo al uso para el que ha sido expresamente concebido, eskaar, como secador deleo.Cualquier othero use se considera incorrecto y por consiguiente peligioso. POLTI S.p.A. no peut ser considerada responsable de eventuales daños derivados de usos incorrectos o erroneos.
Este producto está identificado con el marcado CE y está fabricado conforme a las directivas de compatibilidad electromagnética 89/336/EEC y las directivas de baja tensión 73/23/EEC.
POLTI S.p.A. se reserva la Facultad de introducer las modificaciones Tecnicas y de fabricacion que considere opportuno, sin obligation de avisar previamente.
ADVERTENCIAS
- Antes de utiliser el aparato, lea detenidamente las instrucciones y conserve el manual para ultereores consultas.
- Antes de conectar el secador deleo,aseguirese de que la tension de red corresponda a la que indica los datos de placal del aparato y de que la toma de alimentacion sea idonea.
- No toque nunca el aparato con las manos o pies mojados cuando el enchufe está conectado.
No use el aparato con los pies descalzos.
Cuando el aparato se usa en cuartos de bajo hay que desconectarlo de la alimentacion despues de su uso ya que el estar cerca del agua pueda representar un peligro incluso cuando el aparato está apagado. - Nosumerjuna nucela aparato en el agua o enothersliquidos.Noutilicelear aparatocerdebarñeras,duchasyrecipientlenosdeagua.
- No deje sin vigilancia el aparato cuando está connectado a la red electrica.
- El aparato cuenta con un dispositivo que interviene en caso de sobrecalentimiento.
- Después de su'utilisation hay que desconectarsiempre el aparato de la corriente electrica.
No intente nunca coger directamente un aparato que haya caido al agua sin haber quitado el en

chufe de la toma de corriente.
- No toque nunca la sección de calentimiento del aparatoecause,la elevada temperatura que esta pueda alcanzar podría provocar quemaduras graves.
- Para una ulterior proteccion se aconseja instalar un dispositivo de corrente diferencial (interruptor diferencial automatico), cuya corrente de intervensiOn no sea superior a 30mA . Pida consejo a un instalador qualificado.
- No permita que el aparato seautilizado por niños o por personas que no conozcan su funciona.
- No tire del cable de alimentacion o del aparato para quitar el enchufe de la toma de corriente.
No apoye el aparato sobre superficies sensibles al calor.
Vigile que no se obstruyen las rejillas de entrada y salute del aire si el secador está funciona.
No apoye nunca el aparato sobre mantas o cojiines. - No use nunca spray para cabellos con el aparato en funciona bajo.
- En caso de averías o malos funciona亏损imientos apague el aparato y nointaune nunca desmontarlo; dirijase a un centro de asistencia autorzado.
- No enrolle nunca el cable de alimentacion alrededor del aparato. Si hubiera que cambiarlo le
aconsejamos que se dirija a un centro de asistencia autorizzato.
- En caso de caía accidental del aparato hay queVELARLO a controlar a un centro de asistencia autorizzato puisoulda haber un malfunciamento interno que limita la seguridad del producto.
- Antes de efectuarrialquier operation delimpieza o mantenimiento, hay que asegurarde que el cable de alimentacion estedesconectado de la red eletrica.
FUNCIONAMIENTO
Introducir el enchufe del cable de alimentacion (A) en una toma idonea.
El aparato tiene 2 velocidades y 3 niveles de temperatura,adelmas delchorro de aire frío,que poderes combinados según las exigencias del usuario:
1 velocidad minima
2 velocidad maximal
Interruptordetemperatura(D)
1 aire tibio
2 aria caliente
3 aire muy caliente
Función CHORRO DE AIRE FRIO (F)
Presionando el botón (F), se obtiene un flujo de aire no caliente. Este modo de funciona bajo su水泵. Presionar el botón y mantenerlo presionado durante todo el tiempo desearado. Cuando se suele el botón, el aparato volverá a的功能际 con la temperatura anteriorsmente selección.
Concentrador de aire (G)
Es el accesorio ideal para segar el Cableo rápida-mente y con aire abundante. Con la boquilla de desviación del aire se pueda secar mejor algunos mechones y Obtener un efecto especial cuando se dese. This operation can be made easier when you are in a low temperature area.
CONSEJOS DE USO
Se aconseja selectionar la velocidad y la temperatura más baja para terminar el peinado o para secar y peinar cabellos frágiles, tratados con colorantes o permanentes.
Para evaporar quemar el cabello o el cuero cabelludo, utilizing el aparato con el calor máximo solamente cuando el cabello está mojado. A medida que el cabello se seca, reducir la temperatura de uso.
No concentrar el flujo del aire caliente del aparato
sólo en una zona de lackeza sino que hay que mantener un movimiento constante. Esto es particularmente importante si se está secando una peluca puis podía danarse debido al excessivo calor.
Para Obtener una mejor ventilacion del cabello, tener el aparato a una distancia de no menos de 15 cm de lackeza.
IMPORTANTE: no obstruir nunca la rejilla a la alta de la aperture de la boquilla de entrada del aire, para evitar que se recaliente el aparato. Si se obrueyeenta enccion un dispositivo de seguidad que bloquea automatamente el funcionaimiento del aparato.
En este caso, el aparato se desactiva automatically. Si occurs este hay que apagar el aparato (interruptor en la posicion OFF) y quitar el enchufe de la corriente. Quitar lo que ha obstruido la rejilla y esperarlosundiezminutosantesdevolveraponer en marcha el aparato.En caso de que el aparato sbloquee repetidamente dirjase a un centro de asistencia的技术ica autorizada Polti.
DESPUÉS DE HABERLDO UTILIZADO
Cuando se ha terminado de usar el aparato, no lo deje con el enchufe connectado, quitelo de la toma de corriente. Antes de guardar el aparato,letes que se enfrie y bajo guardelo en un situ seguro, seco y lejos del alcance de los niños. No enrolle nunca el cable alrededor del aparato.
Trate siempre el cable con cuidado, evite tirar de y doblarlo excessivamente o girarlo, especially la parte que está cerca del enchufe para no provocar roturas o cortocircuitos.
CONSEJOS PARA EL MANTENIMIENTO GENERAL
- Este aparato no contiene ninguna parte que tengue que ser转型发展 por el usuario. Pararialquier tipo de intervencion o control,dirjase a un centro de asistencia的技术ica autorizada Polti.
- Antes de limpiar el aparato, quite el enchufe de la toma de corriente ycede que se enfrie. Use un paño suave y humedo para limpiar las superficies. Tenga cuidado evitando que caiga agua u或其他os liquidos en el aparato. Con un cepillo pequeño mantenga tiempo limpia la rejilla de aperture de entrada del aire, controlando que no hayapelos,polvo,etc.
Limpieza de la rejilla de entrada del aire
Quitar la rejilla girandola en el sentido contrario de las agujas del reloj.
Para volver a colocar la rejilla hacer la operation en sentido inversions.
ATENCLON
- El aparato está fabricado conforme a las normas vigentes para el reciclaje.
- Se aconteja no tirar a la basura los materiales que sirven de proteccion en el embalaje para el transporte; llevarlos a los centros de recogida a tal efecto.
- Aconsejamos queutilicensolo recambios originalesPOLTI.
POLTI S.p.A. declina toda responsabilidad en caso de accidentes derivados de una utilizacion de FANCY STYLE 2000 no conforme a las presentes instrucciones de uso.
FRANÇAIS
A) Power cord
B) Eyelet
C) Speed control
D) Temperature control
F) Cold air button
G) Air intake grating
H) Protective inserts
1) Conveyor
CORRECT PRODUCT USE
Los produits Polti tienen una garantía de dos años a partir de la Fecha de compra, Fecha indicada en un documento正值 con valor fiscial工程技术 por el vendedor.
La presente garantía deja pendentes de resolución los derechos que tiene el consumidor según la Directiva Europea 99/44/CE sobre algunos aspectos de la vente y de las garantias sobre los bienes de consumo, derechos que el consumidor pueda hacer que respete su propio vendedor.
La presente garantía tiene validez en los País que acoge la directiva Europea 99/44/CE. Para losotros páises, valen las normativas locales en materia de garantía.
Durante el periodo de garantía, Polti garantiza la reparación gratuite y por lo tanto sin ningún gasto por parte del cliente tanto por lo que refiere a la mano de obr como al material del producto que presente un defecto de fabricación o una imperfec- tion de origen.
Para Obtener la intervencion durante el periodo de garantia, el consumidoronga que dirigirse a uno de los Centros de Asistencia Técnica Autorizados Polti -cuya lista, con todas las direcciones se encontrartra adjunta - con un documento de compra entregado por el vendedor con valor fiscal que indique la Fecha de compra del producto. La garantia no cubre los danios que se deriven de la falta deostenimiento o causados por la caldegua, un uso incorrecto y diverso del que se indica en el libro de instruciones, parte integrante del contrato de vente del producto; la garantia no cubre los defectos que se derivesen de un caso fortuito (incendios, cortocircuitos) o de unhteo imputable a terceas personas (manipulaciones). Asimismo que excluyen también aquellas partes (filtros, cepillos, etc.) que se hayan deteriorado por el Consumo (bienes consumibles) o por el uso normal del producto.
Polti declina todo tipo de responsabilidad por eventuales daños que pueda sufrir directa o indirectamente personas, cosas y animales debidos al incumplimiento de las indicaciones que constan en el libro de instructuciones, concretamente las que concieren a las advertencias para el uso y el mantenimiento del producto.
ManualFácil