FANCY STYLE 2000 - Hair dryer POLTI - Free user manual and instructions
Find the device manual for free FANCY STYLE 2000 POLTI in PDF.
User questions about FANCY STYLE 2000 POLTI
0 question about this device. Answer the ones you know or ask your own.
Ask a new question about this device
Download the instructions for your Hair dryer in PDF format for free! Find your manual FANCY STYLE 2000 - POLTI and take your electronic device back in hand. On this page are published all the documents necessary for the use of your device. FANCY STYLE 2000 by POLTI.
USER MANUAL FANCY STYLE 2000 POLTI
USO CORRECTO DEL PRODUCTO
This appliance is intended solely for the use for which it is expressly designed: as a hairdryer. Any other use is incorrect and therefore hazardous. Polti S.p.A. may not be held liable for any damage or injury resulting from incorrect or mistaken use.
This product is marked with the EC mark and manufactured in compliance with electromagnetic directive 89/336/EEC and low voltage directive 73/23/EEC.
POLTI S.p.A. reserves the right to modify construction or technical aspects as necessary, without prior notification.
WARNING
- Read the instruction manual carefully before using the appliance and keep it for future reference.
- Before plugging in the hairdryer, check that your mains voltage corresponds to the voltage identified on the plate on the appliance and that the power socket is suitable.
- Never touch the appliance while plugged in if your hands or feet are wet.
- Do not use the appliance when barefoot. When using the appliance in a bathroom, unplug it after use as the vicinity of water can represent a hazard even when the appliance is not in use.
- Never submerge the appliance in water or any other liquid. Do not use the appliance near a bathtub, shower or container full of water.
- Do not leave the appliance plugged in without surveillance.
- The appliance has overheating protection which will be tripped if it overheats.
Always unplug the appliance when finished using it.
If the appliance should fall into water, unplug it before attempting to retrieve it. - Never touch the heating part of the appliance, as it may become very hot and cause serious burns.
- For improved protection, install a differential current safety device which is tripped at no more than

30 mA. Ask a qualified installer for assistance.
- Do not allow children or anyone who is not familiar with the appliance to use it.
- Do not pull on the power cord or on the appliance itself to unplug it.
- Do not place the hot appliance on any surface which may be damaged by heat.
- Be careful not to block the air intake and outlet gratings while the hairdryer is in use.
- Never place the appliance on pillows or bedclothes.
- Never use hairspray while the appliance is in operation.
- If the appliance appears to be faulty or malfunctioning, turn it off. Do not attempt to dismantle the appliance, but take it to an authorised service centre.
- Never wrap the power cord around the appliance. If you need to replace the cord, contact an authorised service centre.
If the appliance is dropped, have it inspected by an authorised service centre. Internal malfunctioning could compromise product safety.
Always make sure that the appliance is unplugged before performing any cleaning or maintenance work.
OPERATION
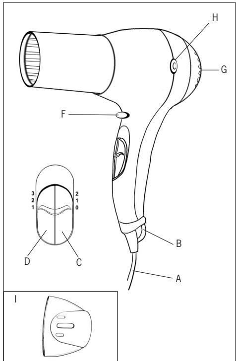
Insert the plug on the power cord (A) into a suitable power socket.
The appliance has 2 speeds and 3 temperature levels plus puffs of cold air, which may be combined in different ways to suit users' requirements:
Speed control (C)
0 off
1 low speed
2 high speed
Temperature control (D)
1 cool air
2 warm air
3 hot air
PUFF OF COLD AIR function (F)
Press button (F) to release unheated air. This feature may be used to "fix" curls and waves. Press the button and hold it down for as long as you wish; when the button is released, the appliance will continue operating at the previous temperature setting.
Air conveyor (I)
The perfect accessory for drying the hair quickly with abundant air.
The air conveyor opening allows you to dry particular locks of hair with extra care and create special effects. This may be done with hot or cold air.
RECOMMENDATIONS
Choose lower speeds and temperature settings to put the finishing touches on the style or to dry and style hair which is delicate, colour-treated, or permanent waved.
Use high heat only when the hair is wet, or you may burn the hair or the scalp. Reduce the temperature as the hair dries.
Do not keep blowing hot air onto the same part of the hair, but keep the hairdryer in motion. This is particularly important when drying a wig, as high heat could damage it.
Hold the appliance no less than fifteen centimetres (six inches) from the head to ensure proper ventilation of the hair.
IMPORTANT: never block up the grating at the air intake opening, or the appliance may overheat. It this occurs, a safety device will be triggered which automatically shuts down the appliance.
The appliance will shut down automatically. You must turn it off (put the switch in the OFF position) and unplug it. Remove all obstacles from the grating and wait ten minutes before attempting to use the appliance again. If the appliance does not start working again, contact an authorised Polti service centre.
AFTER USE
When finished using the appliance, do not leave it plugged in. Unplug it and let it cool down before putting it away in a safe, dry place out of the reach of children. Never wind the power cord around the appliance.
Treat the cord carefully. Do not pull on it, bend it sharply or wind it, especially near the plug, as it may break or a short circuit may occur.
GENERAL MAINTENANCE RECOMMENDATIONS
- This appliance contains no user-serviceable parts. Contact an authorised Polti technical service centre if any type of inspection or repair is required.
Always unplug the appliance and let it cool down before cleaning it. Clean surfaces with a soft, damp cloth. Make sure that no water or other liquids get into the appliance. Use a brush to remove hair, dust, etc. from the grating covering the air intake opening.
Cleaning the air intake grating
Turn the grating anti-clockwise to remove it.
Perform the reverse operation to reassemble it.
WARNING
This appliance is manufactured in accordance with recycling legislation.
- Do not throw away packaging material with household waste, but take it to a recycling centre.
Use only original Polti spare parts.
ELECTRICAL SAFETY
No earth required.
Ensure the mains voltage suits your appliance.
Fitting the mains plug important
The wires in the mains lead are coloured in accordance with the following code:
- Blue: Neutral
- Brown: Live
The wire which is coloured BLUE must be connected to the Terminal which is marked with the letter "N" or coloured BLACK.
The wire which is coloured BROWN must be connected to the Terminal which is marked with the letter "L" or coloured RED.
It is important that the outer sheath is clamped correctly into the 3-pin plug.
If in doubt consulot your local Service Dealer or qualified electrician before the machine is used.
A 13 AMP FUSE MUST BE FITTED TO THE MAINS PLUG.

GARANZIA / GARANTIA / GARANTIE / GARANTIEKAART / GUARANTEE
ITALIANO
Polti products are guaranteed to the original purchaser for two years from the date of purchase as shown on a valid receipt issued by the seller.
This guarantee does not affect the consumer's rights under European Directive 99/44/CE regarding certain aspects of the sale and guarantee of consumer goods; consumers should address claims under these provisions to the retailer where they purchased the goods.
This guarantee is effective in countries where European Directive 99/44/CE has been implemented. Local guarantee legislation applies in all other countries.
During the guarantee period, Polti will repair products with defects in workmanship or materials at no charge to the customer for either labour or materials.
To have work performed under this guarantee, consumers must contact an Authorised Polti Technical Assistance Centre. A list of these
centres and their addresses is attached. The consumer must present a valid receipt issued by the seller at the time of purchase as evidence of the date of purchase.
The guarantee does not cover defects due to incorrect use or use other than that identified in the instruction booklet, which is an integral part of the contract of sale for the product. The guarantee does not cover defects resulting from chance (fire, short circuit) or attributable to a third party (tampering with the product).
The guarantee does not cover parts that are damaged by wear or subject to normal wear (consumables such as filters, brushes, etc.).
Polti will accept no responsibility for any injury to people or animals or damage to objects directly or indirectly resulting from failure to follow the instructions provided in the instruction booklet, in particular the warnings and product maintenance instructions.
EasyManual