FANCY STYLE 2000 - Haartrockner POLTI - Kostenlose Bedienungsanleitung
Finden Sie kostenlos die Bedienungsanleitung des Geräts FANCY STYLE 2000 POLTI als PDF.
Benutzerfragen zu FANCY STYLE 2000 POLTI
0 Frage zu diesem Gerät. Beantworten Sie die, die Sie kennen, oder stellen Sie Ihre eigene.
Eine neue Frage zu diesem Gerät stellen
Laden Sie die Anleitung für Ihr Haartrockner kostenlos im PDF-Format! Finden Sie Ihr Handbuch FANCY STYLE 2000 - POLTI und nehmen Sie Ihr elektronisches Gerät wieder in die Hand. Auf dieser Seite sind alle Dokumente veröffentlicht, die für die Verwendung Ihres Geräts notwendig sind. FANCY STYLE 2000 von der Marke POLTI.
BEDIENUNGSANLEITUNG FANCY STYLE 2000 POLTI
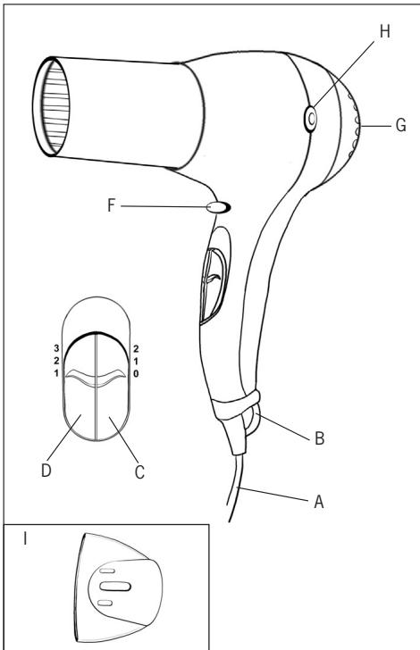
A)Netzkabel
B) Ose
C) Geschwindigkeitsschalter
D) Temperaturschalter
F) Kaltluft-Taste
G) Lufteintrittsgitter
H) Kunststoff-Einsätze
I) Fordervorrichtung
KORREKTER GEBRAUCH DES PRODUKTES
Dieses Geratarf nur fur den Zweck, fur den es ausdrucklich entworen wurde, d.h. als Haartrockner, verwendet werden. Jeder andere Gebrauch wird als unsachgemäß angesehen und ist deshalb gefährlich. Für eventuelle, auf unsachgemüssen bzw. falschen Gebrauch zurückzuführende Schaden kann Polti S.p.A. nicht haftbar gemacht werden.
Dieses Produkt ist mit dem CE-Zeichen gekennzeichnet und ist ein Produkt, dass den elektramagnetischen Richtlinien 89/336/EEC und den Niederspannungs-Richtlinien 73/23/EEC entspricht.
Die POLTI S.p.A. behält sich das Recht der Einführung eventueller, von ihr für erforderlich angesehenen technischen und konstruktiven Änderungen ohne die Pflicht der vorherigen Ankündigung, vor.
WARNINGGEN
Die Anweisungen vor der Inbetriebnahme des Gerätes aufmerksam lesen und das Handbuch für späteres Nachschlagen aufbewahren.
- Bevor der Haartrockner angeschlossen wird, sicherstellen, dass die Netzspannung der auf dem Typenschild des Gerätes angegebene Voltzahl entspricht und dass die Steckdose funktionsfähig ist.
Das Gerat niemals mit nassen Handen oder Fussen berühren, wenn der Stecker eingesteckt ist.
Das Gerat nie barfuss in Betriebnehmen.
- Wenn das Gerät in Badezimmern verwendet wird, das Gerät nach dem Gebrauch von der Stromversorgung trennen, da die Höhe zum Wasser, auch wenn das Gerät abgeschaltitet ist, eine Gefahr darstellen können.
Das Gerät niemals in Wasser oder andere Flüssigkeiten eintauchen. Das Gerät nie in unmittelbarer Höhe von Badewannen, Duschen und mit Wasser gefüllten Behälter verwenden.
Das Gerät nicht unbeaufsichtigt setzen, wenn es noch am Stromnetz angeschlossen ist.

Das Gerät ist mit einer Überhitzungsvorrichtung ausgestattet, die auf Überhitzung anspricht.
Das Gerät nach dem Gebrauch immer vom Stromnetz trennen.
- Niemals versuchen ein ins Wasser gefallenes Gerät direkt zu bergen bevor nicht der Stecker aus der Steckdose gezogen worden ist.
- Niemals den Heizbereich des Gerätes berühren, da die eventuelle hohe Temperaturen schwere Verbrennungen verursachen können.
- Hinsichtlich eines higheren Schutzes wird die Anbringung einer Differenzstromvorrichtung (Sicherung) deren Ansprechstrom nicht mehr als 30mA beträgt, empfehlen. Einen qualifizierten Installa-
teur befragen.
- Nicht gestatten ist, dass das Gerät von Kindern oder Personen benutzt wird, die nicht mit seiner Funktionseiste vertraut sind.
- Nicht am Netzkabel oder am Gerät selbst ziehen, um den Stecker von der Steckdose zu trennen.
Das heiBe Gerat nicht auf hitzeempfindlichen Oberflächen ablegen.
- Darauf achten, die Luftintritt/Luftaustrittgitter nicht zu verstopen, wenn der Haartrockner eingeschaltet ist.
Das Gerät nie auf Decken oder Kissen legen.
- Niemals Haarspray verwenden, wenn das Geräteingeschaltet ist.
- Bei Defekten oder Störungen das Gerät ausschalten und niemals versuchen es zu zerlegen, sondern sich an eine autorisierte Kundendienst-Stelle wenden.
Das Netzkabel nie um das Gerät wickeln. Falls es ausgetauscht werden muss, wird empfohlen sich an eine autorisierte Kundendienstelle zu wenden. - Solle das Gerät hingefallen sein, muss es von einer autorisierten Kundendienstelle überprüft werden, da interne Störungen vorhanden sein konnten, die die Sicherheit des Produktes einschränken.
- Vor Reinigungs- oder Wartungseingriffen sicherstellen, dass das Netzkabel vom Stromnetz getrennt wurde.
BETRIEB
Den Netzkabelstecker (A) in eine funktionsfähige Steckdose einstecken.
Das Gerät ist mit 2 Geschwindigkeiten und außer dem Kaltluftstrom, mit 3 Temperaturstufen ausgestattet, die nach den verschiedenen Bedürfnissen des Benutzers kombiniert werden können:
Geschwindigkeitsschalter (C)
0 Aus
1 Mindestgeschwindigkeit
2 Höchstgeschwindigkeit
Temperaturschalter (D)
1 lauwarme Luft
2 warme Luft
3 heiBe Luft
KALTLUFTSTROM-Funktion (F)
Durch Drücken der Taste (F) erhält man einen nicht erwarteten Luftstrom. Diese Funktionart ist zum "Fixieren" von Locken und Wellen wichtig. Die Taste drucken und über den gewünschten Zeitraum gedruckten. Wenn die Tastes losgelassen wird, keht das Gerät wieder zur vorher eingestellten Temperatur zurück.
Luftfürdervorrichtung (I)
Das ideale Zubehörteil, um die Haare schnell und mit reichlich Luft zu trocknen. Mit der Luftzufuhröffnung ist es möglichste Trähnen sorgfälliger zu trocknen und, falls es gewünscht wird, Spezialeffekte zu erzielen. Dieser Vorgang lassst sich mit warmer oder kalter Luft ausführten.
GEBRAUCHSHINWEISE
Für das Finishing der Frisur oder zum Trocknen empfindlicher, dauergewellter oder gefärbter Haare wird
empfohlen die niedrigste Geschwindigkeit und Temperatur zu wahlen.
Um zu vermeiden, Haare oder Kopfhaut zu verbrennen, das Gerät nur dann mit der hochsten Temperaturstufe benutzten, wenn die Haare nass sind. Sobald sie trockener werden, die Betriebstemperatur nach und nach reduzieren.
Den heissen Luftstrom des Gerätes nicht nur auf eine Stelle der Frisur richten sondern ständig hin und herbewegen. Dies istalanders beim Trocknen einer Perücke wichtig, die durch übermäßige Hitze beschädigt werden können.
Für eine bessere Belüftung der Haare, das Gerät mindestens 15 Zentimeter vom Kopf entfernert benutzen. Übereinstimmung mit der Luftintrittsöffnung befindliche Gitter verstopfen. In thisem Fall wird eine Schutzvorrichtung ausgelost, die den Betrieb des Gerätes automatisch unterbricht.
In thisem Fall schaltet sich das Gerät automatisch ab. An thisem Punkt ist es erforderlich das Gerät auszuschalten (Schalter auf der OFF-Position) und den Stecker vom Stromnetz zu trennen. Jegliche Verstopfung vom Gitter beseitigen und zirka zehn Minuten warten, bevor erneut versucht wird das Gerät einzuschalten. Sollte das Gerät blockiert bleiben, wenden Sie sichitte an eine autorisierte Polti-Kundendienstelle.
WICHTIG: um die Überhitzung des Gerätes zu vermeiden, niemals das sich in Übereinstimmung mit der Luftintrittsöffnung befindliche Gitter verstoffen. In this fall wird eine Schutzvorrichtung ausgelost, die den Betrieb des Gerätes automatisch unterbricht.
In thisem Fall schaltet sich das Gerät automatisch ab. An thisem Punkt ist es erforderlich das Gerät auszuschalten (Schalter auf der OFF-Position) und den Stecker vom Stromnetz zu trennen. Jegliche Verstopfung vom Gitter beseitigen und zirka zehn Minuten warten, bevor erneut versucht wird das Gerät einzuschalten. Sollte das Gerät blockiert bleiben, wenden Sie sichitte an eine autorisierte Polti-Kundendienstelle.
NACH DEM GEBRAUGH
Das Gerät, nach dem Gebrauch nicht mit einge- stecktem Stecker liegen{laffen sondern vom Netzstecker trennen. Das Gerät, bevor es wieder weg- legt wird, abkühlen lassen und es an einem sicheren, trockenen und fur Kinder unzuganglichen Ort unterbringen. Das Kabel nie um das Gerät herum wickeln.
Das Kabel vorsichtig behavein und es vermeiden zu ziehen, übermöig zu knicken oder, besides in Steckernähe, zu verdrehen um Brüche oder Kurzschlüsse zu verhindern.
RATSCHLAGE FÜR DIE NORMALE WARTUNG
- Dieses Gerät enthalt kein vom Benutzer auszuschauschendes Verschleibteil. Für jeder beliebigen Eingriff oder Wartung, wenden Sie sichitte an eine von Polti autorisierte Kundendienstelle.
- Vor der Reinigung des Gerätes, den Stecker aus der Steckdoseziehen und abkühlen halten. Zur Reinigung der Oberflächen ein feuchtes, weiches Tuch benutzen. Ganz besonderss darauf achtenden, dass kein Wasser oder andere Flüssigkeiten in das Gerät eindringen. Das Luftintrittsgitter mit Hilfe einer kleinen Bürste stets von Haaren, Staub oder anderen Gegenständen freihalten.
Reinigung des Luftintrittgitters
Das Gitter abnehmer indem es gegen den Uhrzeiger-sinn gedreht wird.
Um das Gitter wieder anzubringen in der umgekehrten Reihenfolge vorgehen.
ACHTUNG
Das Gerät wurde nach den gültigen Recycling-Vorschriften hergestellt.
- Es wird empfohlen die Verpackungsmaterialien, die das Gerät während des Transports schützen, nicht in den Hausmüll zu w erfen sondern bei den entsprechenden Sammelstellen abzuliefern.
- Wir empfehlen nur Polti-Originalersatzteile zu verwenden.
ENGLISH
Die Polti-Produkte haben ab Kaufdatum eine zweijährige Garantie. Das Kaufdatum ist mittels einer vom Handlager ausgestellt, in steuerlicher Hinsicht gutgen Unterlage zu belege.
Die vorliegende Garantie gilt unbeschadet der Rechte, die der Verbraucher gemäß der Europäischen Richtlinne 99/44/EU bezüglich irgendwelcher Aspekte des Verkaufs und der Konsumgüter betreften den Garantien entsethen, Rechte, die der Verbraucher ausscheidlich dem eigenen Handel gegenüber geltend machen kann.
Die vorliegende Garantie ist in den Ländern gült, in denen die Europäische Richtlinie 99/44/EU anerkannt wird. Für die anderen Länder gerten die örtlichen, horsichtlich der Garantie bestehenden Vorschriften.
Während der Garantiedauer garantiert Polti die kostenlose Reparatur und demzufolge, ohne den Kunden mit irgendwelchen Auflagen zu belasten, sowohl die mit dem Arbeitsaufwand als auch die mit dem Material in Zusammenhang stehenden Kosten der Produkte, die einen Fabrikationsfehler aufweisen oder von Anfang an fehlherstatt were.
Um eine Garantieleitung zu erlangen, muss sich der Verbraucher an eine der von Polti autorisierten Kundendienststellen - deren Verzeichnis mit den entsprechenden Adressen begelegt ist - wenden und eine geegene, vom Handler zu Steuerzwecken ausgestellte Kaufunterlage, die das Kaufdatum des Produktes belegt, vorlagen.
Nicht von der Garantie gedeckt sind durch unsachgemäßen Gebrauch entstandene Mangel und Defekte, die sich von dem in der Betriebsanleitung, die wesentlicher Bestandteil des Kaufvertrags ist, angegebenen Gebrauch unterscheiden; nicht von der Garantie gedeckt sind durch zufällige Ergebnisse verunsachechte Defekte (Brände, Kurzschlüsse) oder Dritten zuzuschreibende Handlungen (unsachgemäß Handhabung bzw. Reparatur).
Ebenfalls ausgenommen sind die durch Abnutzung (Konsumgüter) oder durch den normalen Verschleib beschädigten Teile (Filter, Bürsten etc.).
Polti leht jegliche Haftung fur eventuelle Schaden die Personen, Gegenständen oder Tieren direkt oder indirecte infolge der Nichtbeachtung der in der Betriebsanleitung angegebenen Bestimmungen, insbesondere was die Graubuchs- und Wartungshinweise des Produktus betrift entstehen sollenen, ab.
EinfachAnleitung