WS 1702 - Equipos de medición ADE - Manual de uso y guía de instrucciones gratis
Encuentra gratis el manual del aparato WS 1702 ADE en formato PDF.
Preguntas de los usuarios sobre WS 1702 ADE
0 pregunta sobre este aparato. Responde a las que conoces o haz la tuya.
Hacer una nueva pregunta sobre este aparato
Descarga las instrucciones para tu Equipos de medición en formato PDF gratis! Encuentra tus instrucciones WS 1702 - ADE y toma tu dispositivo electrónico nuevamente en la mano. En esta página están publicados todos los documentos necesarios para el uso de su dispositivo. WS 1702 de la marca ADE.
MANUAL DE USUARIO WS 1702 ADE
¡Estimada/o cliente!
Se ha decidido por la compra de un producto de gran calidad de la marca ADE, que aúna unas funciones inteligentes con un diseño extraordinario. Este higrómetro es un instrumento de medida ideal para comprobar la calidad de su clima ambiental. La larga experiencia de la marca ADE le asegura unos elevados estándares técnicos y es garantía de calidad.
¡Le deseamos que disfrute de un perfecto clima ambiental!
El equipo de ADE
Artículos incluidos en la entrega
Termo-higrómetro
- Pila tipo CR2025, 3 V—(1x)
- Manual de instrucciones
Información general
Este manual de instrucciones describe el manejo seguro y el cuidado del artículo.
Conserve este manual de instrucciones por si necesita volver a consultarlas. Si le entrega el artículo a otra persona, acompañelo también de estas instrucciones. Si no se tienen en cuenta las recomendaciones de este manual de instrucciones, pueden producirse lesiones o daños en el artículo.
Explicación de símbolos

Este símbolo unido a la palabra PELIGRO advierte de heridas graves.

Este símbolo unido a la palabra ADVERTENCIA advierte de heridas de grado medio o leve.

Este símbolo unido a la palabra INDICACIÓN advierte de daños materiales.

natural_image
Simple black information icon inside a circle (no text or symbols)Este símbolo significa información adicional e indicaciones generales.
Índice
Artículos incluidos en la entrega......43
Información general .....43
Uso adecuado....46
Seguridad......46
De un vistazo ....50
Puesta en funcionamiento ....52
Utilización 53
Limpieza 55
Problemas y soluciones....56
Datos técnicos....56
Declaración de conformidad......57
Garantía 58
Eliminación....59
Uso adecuado
Este termo-higrómetro sirve para medir la temperatura ambiente y la humedad del aire, y de este modo controlar el clima ambiental. No es apto para uso comercial.
Seguridad
- Este artículo puede ser utilizado por niños mayores de 8 años y por personas con discapacidad física, sensorial o mental o con falta de experiencia o conocimientos, siempre que estén supervisados o se les instruya sobre el uso seguro del artículo y comprendan los riesgos que pueden producirse.
- Los niños no deben jugar con el artículo.
- La limpieza y el mantenimiento por parte del usuario no deben ser realizados por
niños, salvo que sean mayores de 8 años y estén supervisados.
- Las pilas pueden resultar peligrosas. Por tanto, manténgalas fuera del alcance de los niños. Si se ingiere una pila o se introduce en el cuerpo de cualquier otro modo, debe acudirse inmediatamente al médico. De lo contrario, en el plazo de 2 horas pueden producirse graves quemaduras químicas internas que podrían provocar la muerte.
RIESGOS para los niños
- Mantener alejados a los niños del material de embalaje. Existe el riesgo de asfixia por ingestión.
RIESGO de incendio/combustión y/o explosión
- Riesgo de explosión por la sustitución inadecuada de las pilas. Sustituya las pilas
por otras del mismo tipo o equivalente. Tenga en cuenta los "Datos técnicos".
- Las pilas no deben cargarse, reactivarse con otros medios, desmontarse, arrojarse al fuego o ponerse en cortocircuito. En caso contrario existe un riesgo mayor de explosión o derrame y además pueden producirse gases.
- Evite el contacto del líquido de las pilas con la piel, ojos y mucosas. En caso de contacto, limpiar inmediatamente la zona afectada con agua limpia y acudir al médico sin pérdida de tiempo.
PRECAUCIÓN por daños materiales
- No sumerja el artículo en agua ni otros líquidos. Protéjalo contra golpes y sacudidas fuertes.
- Extraiga las pilas cuando se gasten o en caso de no utilizar el artículo en un largo periodo
de tiempo. De este modo se evitan daños que podrían producirse por posibles fugas.
- Cuando coloque y cambie las pilas, preste atención a la polaridad correcta (+/-).
- No someta las pilas a condiciones extremas, por ejemplo no las coloque sobre superficies calientes ni a la luz directa del sol. ¡Riesgo elevado de derrame!
- Cuando sea necesario, limpie los contactos del aparato y de las pilas antes de colocarlas.
- No lleve a cabo ninguna modificación en el artículo. Las reparaciones se deben realizar exclusivamente en talleres especializados. Las reparaciones realizadas de forma inadecuada pueden suponer un riesgo elevado para el usuario.
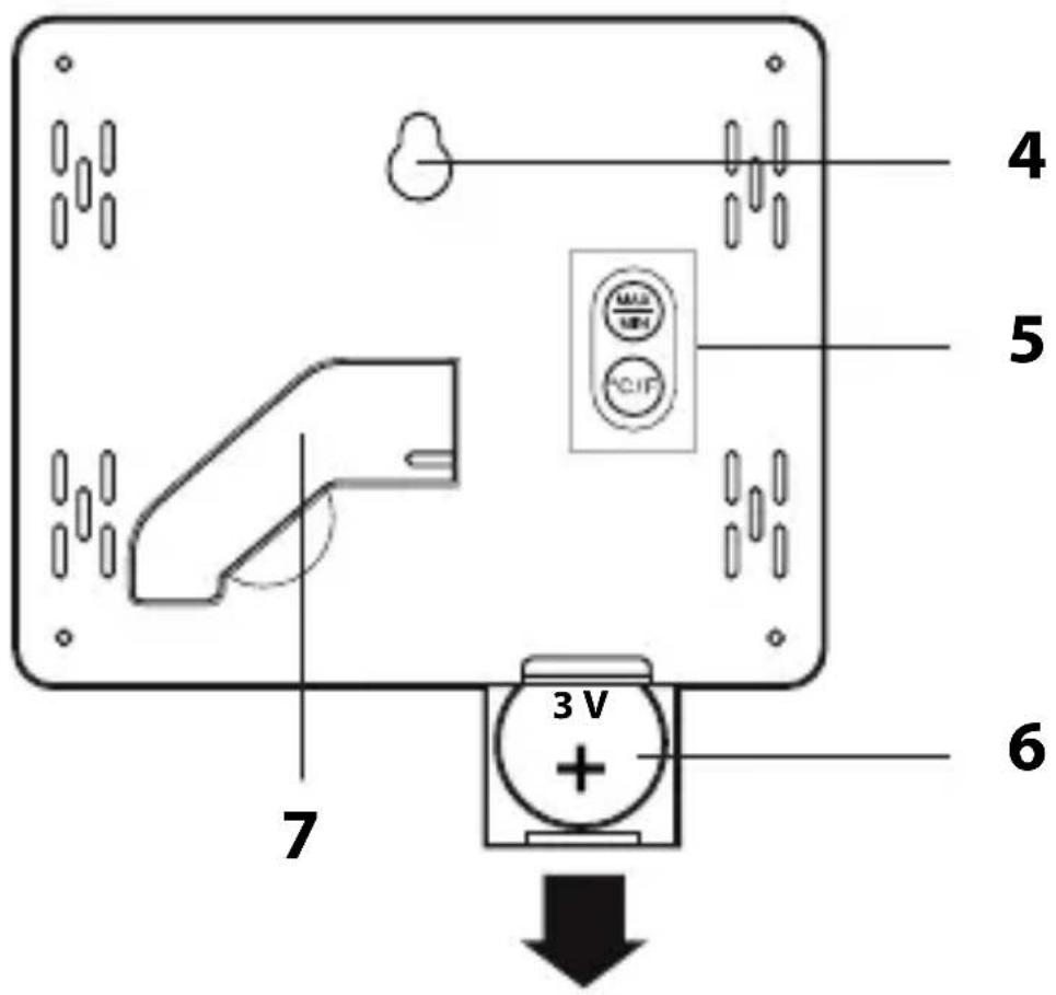
De un vistazo

1 Temperatura en °C o en °F
2 Humedad del aire calibrada en tanto por
ciento
3 Indicador de sensación de bienestar

text_image
4 5 6 7 3 V +4 Asa para colgar
5 Botones de control MAX/MIN y °C/°F
6 Compartimento para pilas, 1x CR2025, 3 V
7 Soporte plegable
Puesta en funcionamiento
Retirar la banda Iso
- Extraiga la tapa del compartimento para pilas.
- Extraiga la banda Iso.
- Inserte totalmente la tapa del compartimento para pilas.
Colocación/sustitución de las pilas
- Extraiga la tapa del compartimento para pilas.
- Introduzca una pila nueva (tipo CR 2025). El polo positivo (+) debe señalar hacia arriba.
-
Inserte la tapa del compartimento para pilas. Indicaciones para la sustitución de las pilas:
-
Será necesario cambiar las pilas en caso de que no aparezca nada en la pantalla.
- Utilice únicamente el tipo de pilas especificado en los "Datos técnicos".
- Elimine las pilas conforme a la normativa medioambiental, consulte "Eliminación".
Utilización
Cuando el termo-higrómetro cuente con alimentación eléctrica, aparecerán en pantalla los siguientes valores:
- Temperatura ambiente en °C
- Humedad del aire calibrada en tanto por ciento
- Indicador de sensación de bienestar en forma de un emoticono
Montaje del equipo
El aparato cuenta tanto con una base como con placas para montaje en pared.
Cambiar unidades de temperatura
-Pulse el botón °C/°F una vez para visualizar la temperatura de la unidad de medición en grados centígrados o Fahrenheit.
Visualizar los valores MÍN/MÁX de temperatura/humedad almacenados
-Pulse el botón MIN/MAX una vez:
Se visualizarán los valores máximos almacenados.
-Pulse el botón MIN/MAX dos veces:
Se visualizarán los valores mínimos almacenados.
-Pulse el botón MIN/MAX tres veces:
Se visualizarán de nuevo los valores actuales.
Indicador de sensación de bienestar
El indicador de sensación de bienestar muestra la humedad del aire en forma de un emoticono:

Muy húmedo Muy seco

Óptimo
Reiniciar el termo-higrómetro
Solo es necesario si en la pantalla aparecen valores inusuales o claramente erróneos.
-Quite las pilas y espere unos instantes.
Colóquelas de nuevo correctamente (+/-).
Limpieza

No sumerja el artículo en agua ni en otro líquido. No utilice productos de limpieza duros, que puedan rayar o que haya que frotar.
-En caso necesario, quite el polvo al artículo con un paño suave seco o límpielo con un paño ligeramente húmedo.
Problemas y soluciones
Sin función.
¿Se ha gastado la pila o está mal colocada?
La indicación de temperatura aparenta ser excesivamente alta.
- Compruebe si el termo-higrómetro está expuesto directamente a la luz del sol.
Datos técnicos
Modelo: Termo-higrómetro
WS 1702
Pilas: 1x CR2025, 3 V
Intensidad de corriente: < 30 mA
Temperatura: 0 °C - 50 °C
aprox. 32 °F - 122 °F
- Humedad atmosférica: 20 % - 95 % (relativa)
Dimensiones: 100 x 81 x 13 mm
Distribuidor original (no hay dirección de servicio técnico):
Waagen-Schmitt GmbH
Hammer Steindamm 27-29
22089 Hamburgo, Alemania
Nuestros productos se están desarrollando y mejorando continuamente. Por este motivo cabe la posibilidad de que en cualquier momento pudiera haber cambios en el diseño o modificaciones técnicas.
Declaración de conformidad
Por la presente, Waagen-Schmitt GmbH declara que el termohigrómetro WS 1702 cumple las directivas 2014/53/UE y 2011/65/UE.
El texto completo de la declaración de conformidad CE está disponible en la siguiente dirección de Internet: www.ade-germany.de/doc
Esta declaración perderá su validez si en la báscula se realizan modificaciones no autorizadas por el fabricante.
Hamburgo, junio 2018 Waagen-Schmitt GmbH

Garantía
La empresa Waagen-Schmitt GmbH garantiza durante 2 años a partir de la fecha de compra, la eliminación de los defectos debidos a fallos de material o fabricación, mediante reparación o cambio del equipo. En caso de solicitar la aplicación de la garantía, lleve el artículo a su distribuidor con el justificante de compra (explicando el motivo de la reclamación).
Eliminación del embalaje

Elimine el embalaje separando los materiales. Lleve el papel y cartón al contenedor de cartón y las láminas al de plásticos.
Eliminación del artículo
Elimine el artículo conforme a la normativa correspondiente aplicable en su país.

Los aparatos no deben eliminarse con la basura doméstica normal
El artículo debe ser eliminado de forma adecuada al final de su vida útil.
Para ello se deben reciclar las piezas del aparato y así evitar un daño al medio ambiente. Deposite el aparato antiguo en un punto de recogida de restos electrónicos o de desechos reciclables. Para más información, diríjase a su empresa de recogida de residuos o administración local.

Las pilas y baterías no son residuos domésticos
Todas las pilas y baterías deben depositarse en los puntos de recogida del ayuntamiento, distrito o en los comercios. De este modo puede realizarse la eliminación de pilas y baterías de una forma respetuosa con el medio ambiente.
ManualFácil