WS 1702 - Messgeräte ADE - Kostenlose Bedienungsanleitung
Finden Sie kostenlos die Bedienungsanleitung des Geräts WS 1702 ADE als PDF.
Benutzerfragen zu WS 1702 ADE
0 Frage zu diesem Gerät. Beantworten Sie die, die Sie kennen, oder stellen Sie Ihre eigene.
Eine neue Frage zu diesem Gerät stellen
Laden Sie die Anleitung für Ihr Messgeräte kostenlos im PDF-Format! Finden Sie Ihr Handbuch WS 1702 - ADE und nehmen Sie Ihr elektronisches Gerät wieder in die Hand. Auf dieser Seite sind alle Dokumente veröffentlicht, die für die Verwendung Ihres Geräts notwendig sind. WS 1702 von der Marke ADE.
BEDIENUNGSANLEITUNG WS 1702 ADE
Liebe Kundin, lieber Kunde!
Sie haben sich für den Kauf eines qualitativ hochwertigen Produkts der Marke ADE entschieden, das intelligente Funktionen mit einem außergewöhnlichen Design vereint. Dieses Hygrometer ist ein ideales Messinstrument, um die Beschaffenheit Ihres Raumklimas zu überprüfen. Die langjährige Erfahrung der Marke ADE stellt eine technisch hohen Standard und bewährte Qualität sicher.
Wir wünschen Ihnen viel Freude und ein perfektes Raumklima!
Ihr ADE Team
IM_Web_WS1702_201806_V2
2
Lieferumfang
- Thermo-/Hygrometer
- Batterie Typ CR2025, 3 V—(1x)
- Bedienungsanleitung
Allgemeines
Über diese Anleitung

natural_image
Simple icon of a person using a laptop inside a circle (no text or symbols)Diese Bedienungsanleitung beschreibt den sicheren Umgang und die Pflege des Artikels.
Bewahren Sie diese Bedienungsanleitung auf, falls Sie später etwas nachlesen möchten. Wenn Sie den Artikel an jemand anderen weitergeben, geben Sie auch diese Anleitung mit. Die Nichtbeachtung dieser Bedienungsanleitung kann zu Verletzungen oder Schäden am Artikel führen.
Zeichenerklärung

Dieses Symbol in Verbindung mit dem Wort GEFAHR warnt vor schweren Verletzungen.

Dieses Symbol in Verbindung mit dem Wort WARNUNG warnt vor Verletzungen mittleren und leichten Grades.

Dieses Symbol in Verbindung mit dem Wort HINWEIS warnt vor Sachschäden.

natural_image
Simple black information icon inside a circle (no text or symbols)Dieses Symbol kennzeichnet zusätzliche Informationen und allgemeine Hinweise.
Inhaltsverzeichnis
Lieferumfang 3
Allgemeines ....3
Bestimmungsgemäßer Gebrauch ......6
Sicherheit 6
Auf einen Blick....10
Inbetriebnahme....12
Gebrauch....13
Reinigen....15
Störung und Abhilfe ......16
Technische Daten......16
Konformitätserklärung ......17
Garantie 18
Entsorgen....19
Bestimmungsgemäßer Gebrauch
Dieses Thermo-/Hygrometer dient zur Messung von Raumtemperatur und Luftfeuchtigkeit und damit zur Kontrolle des Raumklimas. Für die gewerbliche Nutzung ist es ungeeignet.
Sicherheit
- Dieser Artikel kann von Kindern ab 8 Jahren und darüber sowie von Personen mit verringerten physischen, sensorischen oder mentalen Fähigkeiten oder Mangel an Erfahrung und Wissen benutzt werden, wenn sie beaufsichtigt oder bezüglich des sicheren Gebrauchs des Artikels unterwiesen wurden und die daraus resultierenden Gefahren verstehen.
- Kinder dürfen nicht mit dem Artikel spielen.
- Reinigung und Benutzerwartung dürfen nicht von Kindern vorgenommen werden, es sei denn, sie sind 8 Jahre oder älter und werden beaufsichtigt.
- Batterien können lebensgefährlich sein. Bewahren Sie deshalb Batterien für Kleinkinder unerreichbar auf. Wurde eine Batterie verschluckt oder ist auf andere Art in den Körper gelangt, muss sofort ärztliche Hilfe in Anspruch genommen werden. Anderenfalls kann es innerhalb von 2 Stunden zu schweren inneren Verätzungen kommen, die zum Tode führen können.
GEFAHR für Kinder
- Kinder von Verpackungsmaterial fernhalten. Bei Verschlucken besteht Erstickungsgefahr.
GEFAHR von Brand/Verbrennung und/oder Explosion
- Explosionsgefahr bei unsachgemäßem Auswechseln der Batterie. Batterie nur durch denselben oder gleichwertigen Batterietyp ersetzen. „Technischen Daten“ beachten.
- Batterien dürfen nicht geladen, mit anderen Mitteln reaktiviert, auseinander genommen, ins Feuer geworfen oder kurzgeschlossen werden. Ansonsten erhöhte Explosions- und Auslaufgefahr, außerdem können Gase entweichen!
- Kontakt der Batterieflüssigkeit mit Haut, Augen und Schleimhäuten vermeiden. Bei Kontakt betroffene Stellen sofort mit reichlich klarem Wasser ausspülen und umgehend Arzt aufsuchen.
VORSICHT vor Sachschäden
- Artikel nicht in Wasser oder andere
Flüssigkeiten tauchen und vor starken Stößen und Erschütterungen schützen.
- Batterie herausnehmen, wenn sie verbraucht ist oder der Artikel länger nicht benutzt wird. Das vermeidet Schäden, die durch Auslaufen entstehen können.
- Beim Einsetzen und Wechseln der Batterie auf richtige Polarität (+/-) achten.
- Batterie keinen extremen Bedingungen aussetzen (z. B. nicht auf Heizkörpern oder unter direkter Sonneneinstrahlung lagern. Erhöhte Auslaufgefahr!
- Batterie- und Gerätekontakte bei Bedarf vor dem Einlegen reinigen.
- Keine Veränderungen an dem Artikel vornehmen. Reparaturen nur von einer Fachwerkstatt durchführen. Unsachgemäß durchgeführte Reparaturen können erhebliche Gefährdungen für den Benutzer verursachen.
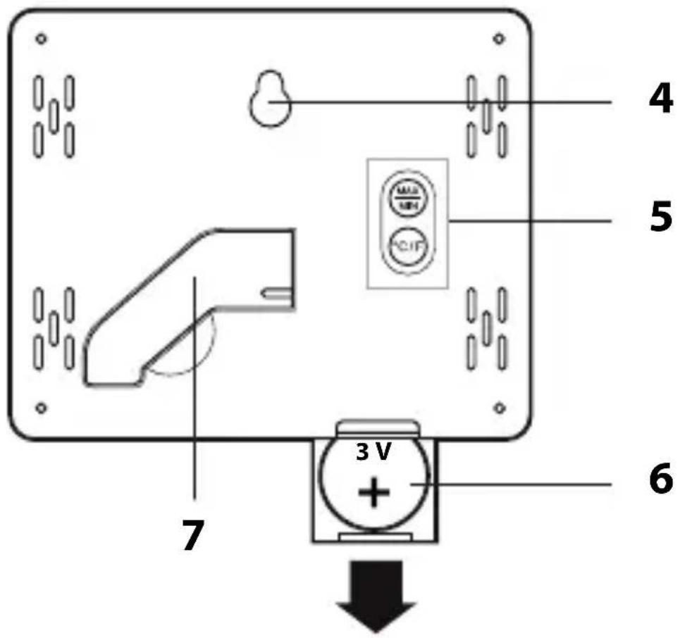
Auf einen Blick

1 Temperatur in °C oder °F
2 Luftfeuchtigkeit in Prozent
3 Wohlfühlindikator

text_image
4 5 6 7 3 V +4 Aufhänge-Öse
5 Bedientasten MAX/MIN und °C/°F
6 Batteriefach, 1x CR2025, 3 V
7 Ausklappbarer Standfuß
Inbetriebnahme
Iso-Streifen entfernen
- Batteriefach-Schublade herausziehen.
- Iso-Streifen herausziehen.
- Batteriefach-Schublade vollständig einschieben.
Batterie einlegen/wechseln
- Batteriefach-Schublade herausziehen.
- Neue Batterie (Typ CR 2025) einlegen. Plus-Pol (+) muss nach oben zeigen.
- Batteriefach-Schublade einschieben.
Hinweise zum Batteriewechsel:
- Ein Batteriewechsel wird notwendig, wenn im Display nichts mehr angezeigt wird.
- Nur den Batterietyp verwenden, der in den „Technischen Daten“ angegeben ist.
- Alte Batterie umweltgerecht entsorgen, siehe „Entsorgen“.
Gebrauch
Sobald das Thermo-/Hygrometer mit Strom versorgt wird, wird im Display Folgendes angezeigt:
- Raumtemperatur in °C
- Luftfeuchtigkeit in Prozent
- Wohlfühlindikator in Form eines Smileys
Gerät aufstellen
Das Gerät verfügt über einen Standfuß sowie eine Aufhänge-Öse für die Wandbefestigung.
Maßeinheit der Temperatur wechseln
-1x Taste °C/°F drücken, um die Temperatur in der Maßeinheit °Celsius oder °Fahrenheit angezeigt zu bekommen.
Gespeicherte MINMAX-Werte von Temperatur/Luftfeuchtigkeit aufrufen
-1x Taste MIN/MAX drücken: Gespeicherte Max-Werte werden angezeigt.
-2x Taste MIN/MAX drücken: Gespeicherte Min-Werte werden angezeigt.
-3x Taste MIN/MAX drücken: Aktuell gemessene Werte werden wieder angezeigt.
Wohlfühlindikator
Der Wohlfühlindikator zeigt die Luftfeuchtigkeit in Form eines Smileys an:

zu feucht zu trocken


optimal
Thermo-Hygrometer zurücksetzen
Nur erforderlich, wenn im Display ungewöhnliche bzw. offensichtlich falsche Werte angezeigt werden.
-Batterie entnehmen und einen Moment warten. Anschließend wieder korrekt einsetzen (+/-).
Reinigen

Artikel nicht in Wasser oder andere Flüssigkeiten tauchen. Keine harten, kratzenden oder scheuernden Reinigungsmittel verwenden.
- Artikel bei Bedarf mit einem weichen, trockenen Tuch entstauben oder mit einem leicht angefeuchteten Tuch abwischen.
Störung und Abhilfe
Keine Funktion.
- Batterie leer oder falsch herum eingelegt?
Temperaturangabe erscheint zu hoch.
- Prüfen, ob das Thermo-/Hygrometer direkter Sonnenstrahlung ausgesetzt ist.
Technische Daten
Modell: Thermo-/Hygrometer WS 1702
Batterie: 1x CR2025, 3 V
Bemessungsstrom: < 30 mA
Temperatur: ca. 0 °C - 50 °C
ca. 32 °F - 122 °F
- Luftfeuchtigkeit: 20% - 95% (relativ)
Abmessungen: ca. 100 x 81 x 13 mm
Inverkehrbringer (keine Service-Adresse):
Waagen-Schmitt GmbH
Hammer Steindamm 27-29
Unsere Produkte werden ständig weiterentwickelt und verbessert. Aus diesem Grund sind
Design- und technische Änderungen jederzeit möglich.
Konformitätserklärung
Hiermit erklärt die Waagen-Schmitt GmbH, dass das Thermo-/Hygrometer WS 1702 den Richtlinien 2014/53/EU und 2011/65/EU entspricht.
Der vollständige Text der EU-Konformitätserklärung ist unter der folgenden Internetadresse verfügbar: www.ade-germany.de/doc
Die Erklärung verliert ihre Gültigkeit, falls an dem Artikel eine nicht mit uns abgestimmte Änderung vorgenommen wurde.
Hamburg, Juni 2018
Waagen-Schmitt GmbH

Garantie
Die Firma Waagen-Schmitt GmbH garantiert für 2 Jahre ab Kaufdatum die kostenfreie Behebung von Mängeln aufgrund von Material- oder Fabrikationsfehlern durch Reparatur oder Austausch. Bitte geben Sie den Artikel im Garantiefall mit dem Kaufbeleg (unter Angabe des Reklamationsgrundes) an Ihren Händler zurück.
Verpackung entsorgen

Entsorgen Sie die Verpackung sortenrein. Geben Sie Pappe und Karton zum Altpapier, Folien in die Wertstoff-Sammlung.
Artikel entsorgen
Entsorgen Sie den Artikel entsprechend der Vorschriften, die in Ihrem Land gelten.

Geräte dürfen nicht im normalen Hausmüll entsorgt werden
Am Ende seiner Lebensdauer ist der Artikel einer geordneten Entsorgung zuzuführen.
Dabei werden im Gerät enthaltene Wertstoffe der Wiederverwertung zugeführt und die Belastung der Umwelt vermieden. Geben Sie das Altgerät an einer Sammelstelle für Elektroschrott oder einem Wertstoffhof ab. Wenden Sie sich für nähere Auskünfte an Ihr örtliches Entsorgungsunternehmen oder Ihre kommunale Verwaltung.

Batterien und Akkus gehören nicht in den Hausmüll
Alle Batterien und Akkus müssen bei einer Sammelstelle der Gemeinde, des Stadtteils oder im Handel abgegeben werden. Dadurch können Batterien und Akkus einer umweltschonenden Entsorgung zugeführt werden.
Dear Customer!
www.ade-germany.de/doc.
Batterie: 1x CR2025, 3 V
EinfachAnleitung