Orion Acciaio - Cocina Cola - Manual de uso y guía de instrucciones gratis
Encuentra gratis el manual del aparato Orion Acciaio Cola en formato PDF.
Preguntas de los usuarios sobre Orion Acciaio Cola
0 pregunta sobre este aparato. Responde a las que conoces o haz la tuya.
Hacer una nueva pregunta sobre este aparato
Descarga las instrucciones para tu Cocina en formato PDF gratis! Encuentra tus instrucciones Orion Acciaio - Cola y toma tu dispositivo electrónico nuevamente en la mano. En esta página están publicados todos los documentos necesarios para el uso de su dispositivo. Orion Acciaio de la marca Cola.
MANUAL DE USUARIO Orion Acciaio Cola
Lea atentamente las instrucciones antes de realizar la instalacion, el uso y el mantenimiento. El manual es parte integrente del equipo.
La Empresa Cola Srl garantiza sus produits segun las normas actualmente en vigor, excluyendo las piezas
expuestos a normal usura.
Para las conditiones de garantia dirijanse al importador o vendedor autorizzato que pueda aggregar el periodo de
garantia obligatoria con un periodo suplementar bajo su total y una responsabilitad.
La garantia del producto decae por qualquier incovenitente de rotura o incidente bajo a la falta de respeto o
aplicacion de las indicaciones indicadas en el presente manual .
1 AVVERTENZE GENERALI
1 ADVERTENCIAS GENERALES
1.1 Introduccion
1.2 Uso del manual
1.3 Normas de seguridad
1.4 Descripción技术水平
1.5 Combustible y uso permitted
1.6 Accesorios suministrados
1.7 Normas de referencia
1.8 Placa de identificacion
1.9 Puesta fuera de servicios de la estufa
1.10 Pedido de reparaciones y recambios
2 TRANSPORTE E INSTALLACION
2.1 Embalaje, acarreo, expedeción y transporte
2.2 Lugar de instalación, emplazimiento y prevencion de incendios
2.3 Toma de aire
2.4 Salida de los humos de combustión
2.4.1Tiños de instalación
2.5 Control de la posicion del brasero y del deflector
2.6 Conexión electrica
2.7 Esquema électrique
2.8 Emergencias
3 SEGURIDAD DE LA ESTUFA
3.1 Distancia minima de materiales inflamables
3.2 Dispositivo de seguridad en la calidad de humos
3.3 Seguidad contra sobrepresiones en la camara de combustion
3.4 Sobrecalentamento - termostato de seguidad del deposito de pellets
3.5 Seguidad contra el returno de llama al conductor de alimentacion de pellets
3.6 Dispositivo eletrico de proteccion contra sobrecorrientes
3.7 Seguidad contra la interrupcion de la corriente
3.8 Fallo del ventilador de humos
4 USO DE LA ESTUFA
4.1 Introduccion
4.2 Descripción del panel de mandos
4.3 Encendido
4.3.1 Control antes del encendido
4.3.2 Puesta en marcha
4.4 Funcionamento
4.5 Apagado de la estufa
4.6 Menus
4.6.1 menu 01 - Ajuste ventiladores
4.6.2 menu 02 - Ajuste reloi
4.6.3 menu 03 - Habilitar crono
4.6.4 menu 04 - Elegir idioma
4.6.5 menu 05 - Modo stand-by
4.6.6 menu 06 - Avisador acustico
4.6.7 menu 07 - Carga inicial
4.6.8 menu 08 - Estado de la estufa
4.6.9 menu 09 - Calibrado por parte del的技术ico
4.8 Mando a distancia
4.7.1 Sustitución de la bateria
4.8 Termostato -cronotermostato externo
4.9 Período de inactividad (final de temporada)
5 LIMPIEZA DE LA ESTUFA
5.1 Limpieza del brasero
5.2 Limpieza del cenicero
5.3 Limpieza del vidrio y de las ranuras de circulación de aire
5.4 Limpieza del extractor de humos y de la CAMERA de combustión
5.5 Limpieza del debímetro
5.6 Limpieza de las ceramicas
5.7 Limpieza del tubo de humos - chimenea
6 MANTENIMIENTO
6.1 Introduccion
6.2 Desmontaje del revestimiento versione de ceramicico
6.3 Desmontaje del revestimiento versione en acero
6.4 Componentes internos de la estufa
6.5 Componentes electricos
7 LOCALIZACION DE AVERIAS
7.1 Gestión de las alarmas
8 ANEXOS
8.1 Información sobre el marcado CE
1 ADVERTENCIAS GENERALES
1.1 Introduccion
Estimado CLIENTE:
En primer lugar, deseamos agradecerle la confianza que nos ha demostrado al adquirir uno de nuestros productos. Le invitamos a leer y seguir atentamente los consejos dados en este manual de instalacion, uso y mantenimiento para aprovechar al maximum las caracteristicas de este equipo.
Tos dos documos relativos a certificaciones o declaraciones del aparato, en particular la Declaracion de conformidad y la Declaracion de prestaciones, peuvent verse en el situ web de lamarca commercial de pertenencia.
1.2 Uso del manual
El fabricante se reserva el Derecho a realizar modificaciones技术水平as estéticas de los productos enequalquiermente y sin preaviso.
Las operaciones de instalacion, uso y mantenimiento de la estufa deben cumplir los requisitos expuestos en este manual, asi como las leyes y las normas europeas, naciales, regionales, provinciales y municipales.
Las figuras y medidas, los esquemas y demas informacion tiene solo valor indicativo.
El presente manual es parte integrante del producto. En caso de vente o cesión a otra persona, o de instalación enanother lugar,debae accompanying al equipo para futuras consultas.
Si el manual se pierde o se dña, Solicite除外 ejemplar al Centro de asistencia的技术ico autorizzato.
| ! | Este símbolo indica la presencia de un mensaje importante, que requiere especial atencion yuyo incumplimiento能把 causar daños graves a la estufa y a las personas. |
| Los detailles que requirecen mayor atencion se destacan mediante el texto en negrita. |
1.3 Normas de seguridad
Leer este manual antes de realizar operaciones de instalacion, uso y mantenimiento de la estufa.
Hacer realizar la instalacion, la connexion electrica, la prueba y elostenimiento por un先进技术 autorizzato.
- Conectar la estufa a una chimenea según normas a工程技术 de un terminal inspeccionable. La conexión de various aparatos a una misma chimenea debe estar autorizada por las normas locales y por el organismo de control de este tipo de sistemas.
- Conectar la estuya a la aspiracion mediante un tubo o toma de aire desde el exterior.
- Conectar la estufa a una toma de corriente homologada de 230V - 50Hz
- Contralr que la instalacion elctrica y las tomas de corriente tengan capazidad para soportar la absorcione maxima del equipo, indicada en la plac y en este manual.
- Antes de hacerrialquier operacion de mantenimiento,desconectar la estufa de la corriente elctrica ydefer que se enfrie.
- No utiliser liquidos o sustancias inflamables para encender la estufa o reavivar la llama: con la estufa en marcha, losPellets seencienden automatistically.
- Alimentar la estufa exclusivamente con pellets de madera que tengan las caracteristicas descritas en este manual.
- No usar la estufa como incinerador de residuos.
- No cerrar en ningún caso las entradas de aire comburette ni las salidas de humos.
- No manipular sustancias fácilmente inflamables o explosivas cerca de la estufa encendida.
No guitar ni modificar la rejilla de proteccion del deposito de pellets nithers dispositivos de seguidad.
No utilize la estufa con la puerta de la camar a de combustion abierta o con el vidrio rajado o roto.
- Durante el funciona, el intenso calor generado por la combustion de los pellets caliente las superficies externas de la estufa, en particular, la puerta de la camera, la manija y el tubo de salute de humos. Evitar el contacto con dichas partes sin una proteccion adecuada.
- Mantener a una distancia prudencial los objetivos inflamables o que no resistan al calor.
- Limpiar correctamente el brasero a cada encendido o recarga de pellets.
- Hacer limpiar el conducto y los deflectores de homo, bajo de la camera de combustion, por un先进技术 autorizzato.
- Evitar la formación de humano y de material inquemado durante el encendido y el funcionaimiento. Si se acumula mucho pellet sin quemar en el brasero, quitarlomanualmente antes del proximo encendido.
- Advertir a los niños y huéspedes de los peligros anteriormente descriritos.
- En caso de anomalías de funciona, no reencender la estufa hasta que se haya resuelto la causa del problema.
Las modifications de la estufa o el uso de recambios no originales sin la debida autorizacion puedaponer al usuario en peligro, ante loquel el fabricante queda exento de responsabilidad civil o penal.
- Utilizar solo recambios originales indicados por el fabricante.

El fabricante no asume ninguna responsabilidad por invenrientes, roturas o accidentes debidos a la inobservancia de lasindicaciones dadas en el presente manual.
1.4 Descripción技术水平
La estufa的功能exclusivamente con pellets y difunde un calor sano y seguro en el ambiente.Esta provista de sistemas automaticos de control que aseguran un rendimiento diferico ideal y una combustion completa. Además, los dispositivos de seguridad garantizan un functionamento sin riesgos para la estufa y para los sistemas.
El equipo instalado según las normas funciona con cualquier condidón climática exterior. No obstarve, en situaciones críticas como viento fuerte o heladas pueda actuar los dispositivos de seguridad que apagan la estufa. La estufa mod. ORION ACCIAIO - ORION CERAMICA, con potencia nominal de 11 kW, garantiza un volumen máximo calefactable de 251m^3 para viviendas con necessities tírmica de 35W / m^3 . Este valor puede variar en función del aislamento, del tipo y de la zona climática, factores que han de tenerse en cuenta para elegir correctamente el aparato.
| Tipologia Type | Aparatos de calefaction domestica, sin agua, alimentado de pellets de让大家 Residential space heating appliance without water fired by wood pellets | |
| Marca Trademark | COLA | |
| Modelo Model | ORION ACCIAIO - ORION CERAMICA | |
| Combustible ** Fuel | Pellets de让大家 / Wood pellet UNI EN14961-2_classe A1 | |
| Distancia min. seguidad posterior - der./izq. - suejo Minimum distance from combustible materials Rear-Right/left side-floor | mm | 200 - 300 - 0 |
| Potenza témina introducida* Heating input | kW | 12,2 - 3,85 |
| Potencia témina nominal* Heating output | kW | 11,0 - 3,66 |
| Potenza témina al agua* Water heating output | kW | - |
| Potenza témina all'aria* Room heating output | kW | 11,0 - 3,66 |
| Rendimiento témino* Efficiency | % | 90,86 - 95,00 |
| Consumo horario */* Fuel consumption | kg/h | 2,55 - 0,81 |
| Emissiones de CO al 13%O2* Emission CO at reference 13% | % mg/m3 | 0,01 - 0,01 160,5 - 79,6 |
| Emissiones de CnHm al 13% O2* Emission CnHm at reference 13% O2 | mg/m3 | 1,5 - 1,4 |
| Emissiones de NOx al 13% O2* Emission NOx at reference 13% O2 | mg/m3 | 108,8 - 91,4 |
| Emissiones de polvo PP al 13% O2* Emission dust PP at reference 13% O2 | mg/m3 | 8,2 - / |
| Total de emisiones de particulas PPBT al 13% O2* Total dust emission PPBT at ref. 13% O2 | mg/m3 | 8,83 - / |
| Temperatura max agua establecer Set max temp. | °C | - |
| Presión:maxima de funcionaiento Max working pressure | bar | - |
| Capacidad de la cárama témina Heating限度 capacity | I | - |
| Capacidad del depólico Pellet stove capacity | kg | 21 |
| Pérdida de energia en lado del agua ΔT 10K Water resistance ΔT 10K | mbar | - |
| Pérdida de energia en lado del agua ΔT 20K Water resistance ΔT 20K | mbar | - |
| Temperatura salute humos* Fume outlet temperature | °C | 166,3 - 86,7 |
| Caudal de humos* Flue gas flow | g/s | 7,15 - 2,7 |
| Tiro min - max Draught min -max | Pa mbar | 10 - 14 0,10 - 0,14 |
| Tubo de salute de humos Fume outlet pipe | mm | 80 |
| Alimentación electrónica Electrical power | 230V - 50Hz - 6A | |
| Consumo electrico Rated input power | W | Accensione/Start 420 - Pnom 140 |
| Medidas H x L x P Dimensions H x L x P | mm | 980 x 580 x 546 |
| Peso Weight | kg | ORION ACC.104 - ORION CER.118 |
*a Potencia nominal e reducida / Nominal output and Reduced output
* El consumo de pellets能把 variar segun el tipo de pellet aplicado / Pellet consumption can vary according to the type of pellets used.
COLA




Medidas de la estufa de pellets Orion vers.acero
Leyenda:
A - Rejillas de paso de aire
B - Conexión del cable electrico
C - Aspiración de aire comburette diám. 50 mm
D - Conexión tubo saliva de humos diám. 80 mm
E - Tapa del deposito de pellets




Medidas de la estufa de pellets Orion vers.ceramico
Leyenda:
A - Rejillas de paso de aire
B - Conexión del cable electrico
C - Aspiración de aire comburette diám. 50 mm
D - Conexión tubo saliva de humos diám. 80 mm
E - Tapa del deposito de pellets

Para abrir la puerta, inserte la manija suministrada y girela en sentido antihorario.
1.5 Combustible y uso permitted
Las estufas de pellets的功能an exclusivamente con pellets (pastillas) de differedes maderas conformes a la normal DIN plus 51731, UNE EN 14961-2 o O-Norm M 7135, con las seguides caracterticas:
Poder calorifico: min. 4,8 kWh/kg (4180 kcal/kg)
Densidad: 680-720 kg/m3
Humedad: max. 10% en peso
Diametro: 6 + 0,5mm
Porcentaje de cenizas max. 1,5% en peso
Longitud: min. 6 mm - max. 30 mm
Composicion: 100% madera sin tratar proveniente de la industria de la madera o de postconsumo, sin anadido de agglomerantes y sin corteza, conforme a las normas vigentes.
Embalaje: en sacos de material ecocompatible o biodegradable, o de papel
El deposto de pellets está en la parte posterior de la estufa. La tapa del deposto se encuentra en la parte superior y la carga se efectua manualmente, solo con la estufa apagada y con cuidado de que los pellets no sobresalgan ni se caigan del deposto.
El uso de pellet con caracteristicasDistinctasaladelutilizado poreltecnido duranteelprimerencendidoexigeuna recalibracionde los parameirosdecarga.Estaoperacionnoestacubierta porla garantia.

- Guarde el pellet en un lugar seco y protegido.
- Para garantizar un funciona regular y eficaz, no colque pellets nithers combustibles manualmente en el brasero.
- Evite cargar combustibles no aprobados en el deposto.
- No introduzca objetos extraños en el deposito, como recipientes, cajas, bolas o metales.
- El uso de pellet de baja calidad y no aprobado compromete el funcionaimiento del equipo y pueda darrearlo, con anulacion de la garantia y exencion de responsabilidad del fabricante.
1.6 Accesorios suministrados
El suministro incluye:
Cable de alimentacion electrica
Manual de instalación, uso y mantenimiento
Manija para abrir y cerrar la puerta de la camara
Mando a distancia
1.7 Normas de referencia
| Norma UNE EN 14785:2006: | Requisitos de Diseño, fabricación, seguridad y prestaciones, instrucciones y marcado, y respectivos métodos de prueba para la homologación de generadores de calor alimentados conPellets. |
| Norma UNE EN 60335-1: | Seguidad de aparatos electrodomésticos y similares - parte 1. |
| Norma UNE EN 60335-2-102: | Seguidad de aparatos electrodomésticos y similares - parte 2. |
| Norma UNE EN 55014-1: | Resistencia electromagnética - Requisitos para electrodomésticos, herramientos electricas y equipos electricos similares - Parte 1. Emisión de interferencias. |
| Norma UNE EN 55014-2: | Resistencia electromagnética - Requisitos para electrodomésticos, herramientos electricas y equipos electricos similares - Parte 2. Inmunidad, Normas de familia de producto. |
| Norma UNE EN 61000-3-2: | Límites de emisión de corrientes armónicas (corriente de entrada ≤ 16 A por fase). |
| Norma UNE EN 61000-3-3: | Limitación de las variociones de tensión y flicker en las redes Públas de suministro de baja tensión para los equipos con corriente nominal ≤ 16 A. |
| Norma UNE EN 62233: | Métodos de medida de los Campos electromagnéticos de electrodomésticos y similares en relacion con la exposión humana. |
| Normas DIN plus 51731 - UNE EN 14961 - Ö-Norm M 7135: | Normas sobre las specifications y clasificaciún del pellet. |
1.8 Placa de identificacion
La plac de identificacion estan en la cara interna de la tapa del deposito de pellets o en la pared posterior de la estufa. Enlla se indican los datos caracteristicos de la estufa, como la identificacion del fabricante, el numero de series, el marcado CE, el laboratorioo de ensayo y el numero de referencia de la Declaracion de prestaciones
1.9 Puesta fauna de servicios de la estufa
Cuando decide no utiliser más la estufa, desconectela de la red electrónica y vacie el deposito de pellets. Para(deschar la estufa,llevela en un embalaje robusto yPRECINTADO a un centro especializzato en el tratamente de este tipo de equipos, o entrada al vendedor si adquiere una estufaneaueva decharacteristicassimilares.
1.10 Pedido de reparaciones y recambios
Para solicitar reparaciones o recambios, contacte con el vendedor del equipo, el importador de zona o el centro de asistencia autorizada más cercano, indicando de modo claro los siguientes datos: modelos de estufa, número de série, Fecha de compra, lista de recambios e información sobre las anomalías observadas.

- Los componentes deben ser reparados por personal autorizzato.
- Antes de realizarrialquier operation, se debe comprobar que la estufa este desconectada de la electricidad y frfa.
- Exija el uso de recambios originales.
2 TRANSPORTE INSTALACION
2.1 Embalaje, acarreo, expedition y transporte
La estufa se pueda transporte con su embalaje en una carretilla elevadora, introduciendo las horquillas, de longitud. adequada, en las cavidades del palet de madera. Compruebe que los dispositivos realizados para la elevacion y el transporte soporten el peso de la estufa, indicado en la placac de identificacion y en el presente manual.
No pase la energia por sitiños donde la caía pueda representar un peligro.
Abra el embalaje, saque la estufa del palet, controle que esté completa y ubiquela en el lugar elegido.
Se recomienda apoyar la estufa en el suelo, en el lugar de instalacion, con mucho cuidado y evitando golpes. Es indispensableable comprobar que el suelo pueda resistir el peso de la estufa; si no es asi, consulte a un technician especializzato. En conformidad con las normas vigentes, la eliminacion y el reciclado del embalaje son responsabilidad del usuario final.
2.2 Lugar de instalación, emplazimiento y prevencion de incendios
El lugar de instalacion deestar suficientemente ventilado para permitir la evacuacion de una eventual perdida de humos de combustion.
El equipo está realizado para configurar en ambientes domesticos con temperatura no inferior a 0^
COLA
Para evaporar el riesgo de incendio, es necessario proteger del calor y de la radiación del fuego lasestructuras cercanas a la estufa.
Si el suejo es de madera o de other material inflamable, apoye la estufa en paneles de acero o de cristal Templado.
Los paneles deben cubrir, además de la base, un espacio delante de la estufa.
Las vinas o tablas de madera situadas arriba de la estufa o atravesadas por los pasos de humos deben protegerse con arreglo a las normas de instalacion vigentes.
La distancia frontal minima para la proteccion de objectos inflamables es de 1,5 m. En el dibujo seguido se indica las distancias minimas de seguridad respecto a materiales inflamables.

Alrededor de la estufa debe quedar espacio sufiente y de fácil acceso para hacer el mantenimiento periodico. La estufaiene quatre pies regulables para compensar los posibles desniveles del sueo. Para nivelarla, inclinela ligeramente y gire el pie que necesse regulacion.
La estufa se suministra con la sonda de ambiente fjada con una abrazadora a la pared posterior. Se aconseja qutar la abrazadora y ubicar la sonda donde pueda hacer la mejor lecture possible de la temperatura ambiente. Para hacer las medicaciones lejos de la estufa, se aconseja instalar un termostato/cronotermostat de ambiente.

- No instale la estufa en dormitorios, cuartos de bano ni, en general, en otros ambientes donte ya exista除外 equipo de calefacion sin un flujo de aire independiente.
- Si el suejo es de madera, apoye la estufa en un panel de proteccion conforme a las normas vigilentes.
- Se aconseja tener a mano un dispositivo antiincendios adecuado.
- Este prohibido instalar la estuía en ambientes con atmósfera explosiva.
2.3 Toma de aire
La conexión de aspiración o toma de aire de la estufa se incluena en la parte posterior y es deSECTION circular con diametro de 50 mm.
En el local donde se instale la estufa debe haber una aportacion de aire como minimo suficiente para la combustion. Por este motivo, el aire de combustion necessario para garantizar un funciona aadeuado del equipo se debe aspirar:
del ambiente, con la condidion de que, circa de la estufa, haya una toma de aire de pared con una superficie libre minima de 100~cm^2 , comunicada con el exterior y protegida por fuera con una rejilla;
mediate conexión directa al exterior, con un tubo de diametro interior minimo de 50 mm y longitud的最佳 de 1,5 m provisto de terminal externo antivirusio (codó hacía abajo).
El flujo de aire también se pueda tener de un local contiguo al de instalacion, siempre queicho flujo se realice libremente a工程技术 de aberturas permanentes que comuniquen con el exterior. El local no debe destinarse a garaje, almacen de materiales combustibles o本次活动os con peligro de incendio.
2.4 Salida de los humos de combustión
La Salah de humos se peut hacer mediante connexion a un conductor de ventilacion tradiconal o a una chimenea exterior mediate tubo aislado o de doble pared.
El tubo de salute de humos debe tener un tiro minimo de 10 Pa para garantizar la evacuacion de los humos incluso.
durante una errupcion temporal de la energia elctrica.

- Se recomienda al instalador verificar la eficiencia y el estado de la chimenea y la conformidad con las normas locales, nacias y europeas.
- Es necessario utiliser tubos y empalmes certificados con juntas adecuadas que aseguren la estanqueidad.
- En caso de incendio, apague la estufa y llame inmediamente a los bomberos si no consigue apagarlo al primer intento.
- Limpiar como minimo una vez al ano el tubo de salute de humos de la estufa y el conducto de ventilacion/chimenea del edificio.
2.4.1 Tiños de instalaciones
A continuación se detallan las definiciones y los requisitos para realizar la calidad de humos :
CHIMENEA: conduc to vertical que recoge y expulsa a una alta adecuada del sueo los productos de combustion de un solo aparato o, en casos permittidos, de mas de uno.
Requisitos技术和 de la CHIMENEA. Debe: - ser estanca a los productos de combustión yistar con el aislamento你需要 en función de la Utilización;
- ser lo más verticalisable, con una desviación inferior a 45^ respecting al eje;
- estar suficientemente aislada de materiales inflamables mediante una-camera de aire o aislante;
- tener sección interior preferibile circular, constante, libre e independiente;
- en lo possible, tener una CAMERA inspeccionable para la recoleccion de materiales solidos
- y posibles condensados, problemas de la embocadura del tubo de humos.

TUBO DE SALIDA DE HUMOS: conductor o elemento de conexión entre el equipo y la chimenea para la evacuación de los productos de combustión.
Requisitos技术和 del TUBO DE HUMOS: - no debe atravesar localesdonde no se permita instalar aparatos de combustion;
- está prohibido realizarlo con tubos metálicos flexibles o de fibrocimento;
- está prohibido usar elementos en contrapendiente;
- los tramos horizontales deben tener una pendiente minima de 3 % hacía arriba;
- la longitud del tramo horizontal deben ser lo menor possible y nunca superior a 3 m;
- el número de Cambos de direccion, sin el empalme en T, no debe ser superior a tres;
- para un cambio de direccion de más de 90^ , usar como máximo dos codos cuya longitud en proyección horizontal no sea superior a 2 m;
- el tubo de humos deben tener sección constante y permitir la extracción del hollín.
SOMBRETE: dispositivo montado en la cima de la chimenea que sirve para descargar a la atmósfera los Productos de la combustión.
Requisitos&TecnicosSOMBRERETE: -debe tener seccionequivalentea la de la chimenea;
- la seccion util no debe ser inferior al doble de la seccion interior de la chimenea;
- debe impedir la entrada de lluvia y cuerpos extraños y asegurar la evacuación de los productos de la combustión enequalquier condidón atmospheric;
- debe garantizar una adecuada dispersión de los productos de la combustión y estar situado fuera de la zona de reflujo;
- no deben estar provisto de medios mecánicos de aspiración.
Laitters de los productos de la combustion dehacerse en la cubierta del inmueble; esta probidad dirigirla a espacios cerrados aunque carezcan de techo.
-Usar siempre tubo aisrado, para evitar:
- si discernre la chimenea por el exterior: evaporar que se enfién los productos de la combustion y no tengamos tiro suficiente,
- si discurre la chimenea por el interior: evitar quemaduras por contacto con la chimenea, y de igual forma evitar que no tengamos tiro suficiente,
-Usar siempre tubos especialicos de salute de gases para combustibles solidos (como Inox. AISI 316 o Vitrificado en ambas caras),
-Realizar sempre salute de gases a cubierta del edificio tal y como indica la normativa vigente,

COLA
- Colocar terminales de chimenea espécíficos, pero no giratorios para estar que se agarroten por los composión de los gases de combustión de这些 combustibles,
-El diametro Neededo de chimenea depende en gran parte de la localidad donte se encuentre la instalacion:
por la temperatura exterior, la alto, etc.,
Enrialquier caso, siempre se debe consultar con el fabricante de la chimenea qual es el diametro necessario en funciOn de la longitud y figura de cada composicion de chimenea.
-Siemple tener presente el tiro minimo necessario (Pa) indicado en la tabla de caracteristicas tecnicas, este es el valor necessario que hay que Cumplir para garantizar.
Control de la posicón del brasero y del deflector
Antes de encender la estufa, es importante controlar que el brasero este en la posicjion correcta y enganchado en las fijaciones. Controlar también que el deflector de humos superior este encajado en su alojamento. La posicjion incorrecta del deflector provoca fallos de functonamento y un ennegrecimiento excessivo del vidrio.

A cada encendido del equipo, controle que el brasero está bien alojado en el portabrasero.
Conecte el cable de alimentacion eletrica por una parte a la toma posterior de la estufa y por la othera a una toma de corriente mural.
La tension de la red electrica debe tener el valor que se indica en la placac de identificacion de la estufa y en el apartado de datos技术和os de este manual.
Antes de un periodo de inactividad de la estufa, se recomienda desconectarla de la corriente electrica.

- Compruebe que la instalacion electrica sea conforme a las normas y este dotada de puesta a tierra e interruptor diferencial.
- El cable de alimentacion no debe tocar nunca el tubo de salute de humos de la estufa.
Se aconseja tener a mano un dispositivo antiincendios adequado.
Si se produce un incendio, proceda del suiviente modo:

- Desconecte inmediamente la estufa de la corriente.
- Apane el fuego con un extintor apropiado.
- Llamrapidamente a los bomberos.
- No intente apagar el fuego con chorros de agua.
3 SEGURIDAD DE LA ESTUFA
3.1 Distancia minima de materiales inflamables
Para evitar incendios, la estufa se debe instalar a una distancia de seguridad con Respecto arialquier material inflamable, tal como se indica en la tabla的技术a del manual y en la placadatos del equipo.
Preste atencion al tipo de suelo: para materiales delicados e inflamables, se aconseja apoyar la estufa en placas de acero o vidrio Templado (vea el capitulo 2 - Transporte e instalacion). En caso de objetos muy delicados, como muebles, cortinas o sofas, augmentar considerablemente la distancia a la estufa.
3.2 Dispositivo de seguridad en la calidad de humos
Durante el funciona normal, laamera de combustion está en depresión para impeder que las eventuales perdidas de humo salgan al ambiente. Si no se alcanza un cierto valor de vacio, o si la calidad de humos está atascada, el vacuostato detecta la falta de depresión en laamera de combustión o el debímetro detecta la ausencia de flujo de aire comburette. En tal caso, el control electrónico detiene el motor de rotación del sinfin y advierte de la anomía con un mensaje en el panel de mandos: "AL 8 FALTA DEPRES" o "AL 9 TIRO INSUF".
3.3 Seguidad contra sobrepresiones en la cámara de combustion
En caso de sobrepresion de los humos en la camera y en los conductos de evacuation, dichos humos se descargan a工程技术 de seguidas situadas sobre el intercambiador de calor. Durante elFuncionamento normal, estas valvulas estan cerradas por su propio peso y por la depresion de la camera, y garantizaran la estanqueidad ante una eventual calidad de humos.

Controle periodicamente el cierre, el estado general y el funcionaamento de las valvulas.
3.4 Sobrecalentimiento - termostato de seguridad del deposito de pellets

En el conductor de pellets hay una sonda de temperatura conectada a un termostato de seguridad que, en caso de calentimiento excessivo (>85^) , desactiva automatically la alimentacion del pellet. En este caso, el extractor de humos o los ventiladores siguen functioning para enfiar rapidamente la estufa. La anomalia se indica en el panel de mandos con el mensaje "AL 7 SEGUR TERMICA". Si actua el termostato:
Deje enfriar la estufa al menos 45 Minutes.
Rearme el termostato pulsando el botón situado detrás de la estufa bajo al interruptor, previa extracción de la tapa de seguridad (figura alazo).
Encienda la estufa normalmente.
3.5 Seguidad contra el returno de llama al conductor de alimentacion de pellets
El returno de la llama se impide mediante:
Depresión en la CAMERA de combustión (apartado 3.2.)
Forma en sifón del conductor de alimentación de pellets
Termostato de sécurité del deposito (apartado 3.4)
3.6 Dispositivo electrico de proteccion contra sobrecorrientes
El equipo está protegado contra sobrecorrientes por uno o más fusibles de 2 A instalados en la alimentación del interruptor general de la estufa, situado en la parte posterior.
3.7 Seguidad contra la interrupción de la corriente electrica
Si el corte de energia es breve, la estufa se vuye a encender automatamente.
Dada laITTLEcantidad de pellets que se queman en el brasero, la interrupcion temporal de la corriente electrica no reduce la seguridad de la estufa y la temperatura del deposito no alcanza valores elevados (< 85^) .Durante la interrupcion de la corriente能把 producirse un breve escape de humo al ambiente, que no supone ningun peligro.

Está prohibido alterar los dispositivos de seguridad.
3.8 Fallo del ventilador de extracción de humos
Si, por cualquier motivo, el ventilador de extracción de humos se detiene, el control electrónico bloquea instantanamente la entrada de pellets y visualiza el mensaje "AL 4 FALLO - ASPIR".
4 USO DE LA ESTUFA
4.1 Introduccion
La estufa de pellets auna la calidex del fuego de lena a la comodidad del control automatico de la temperatura, con posibidad de programar el encendido y apagado para toda la semana.
Es possible conectar un termostato o un cronotermostato externo para medir la temperatura en un punto distinto de aquel donde está colocada la estufa.
Para un uso seguro, se aconseja tener en cuenta las作為indicaciones:
- En la prima puesta en marcha se sue de sentir mal olr. Airee bien el ambiente, especialmente en el primer encendido.
- Cargue el deposito exclusivamente con pellets. Durante la carga, evite que el saco entre en contacto con las superficies calientes de la estufa.
- No introduzca en el deposto ningún combustible que no sea el pellet indicado en este manual.
- No utilise el equipo para incinerar residuos.
- La estufa debe functiorar sempre con la puerta de la camarara cerrada.
- Controle periodicamente las juntas de la puerta de la camera para prevenir filtraciones de aire.
- Para garantizar un rendimientoTERMICO adecuado y un functionamento correcto, limpie el brasero cada vez que carquepellets.
- Al primer encendido, es importante no sobrecalentar la estufa sinoacularmente la temperatura, programando temperatas de functionamento bajas (vea el apartado de programacion de la temperatura).
- Durante el encendido, el funciona y el apagado, la estufa可以选择 crujir a causa de las dilatações y contracciónes tírmicas.
4.2 Descripción del panel de mandos
El panel está formado por una pantalla LCD retroiluminada, la tecla de encendido y apagado "P4", la tecla de func tion SET/MENU "P3", las quatre teclas de menu "P1", "P2", "P5" y "P6" y siete SYMBOLos que indican el estado de funciona.
El panel de mandos está jusqu al deposito de pellets y, para acceder a las teclas, hay queAbrir la tapa del deposito.
Durante el funciona normal, con la tapa cerrada, solo es possible monitorizar el estado de la estufa.

El panel permite encender y apagar la estufa, regularla durante el funciona y ajustar los programas de gestion y mantenimiento.
En la pantalla se visualizan informaciones sobre el estado de funciona de la estufa.
Para acceder a los menos, procede del suiviente modo:
- Pulse la tecla SET "P3".
- Pulse las teclas "P5" y "P6" para recorrer los manos.
- Presione una de las teclas de aumento/disminución "P1" o "P2" para ajustar el parámetro deseado.
- Pulse la tecla SET "P3" para confirmar el ajuste.
COLA
A través de los menos se pueda Obtener los diversos temas de visualización y hacer los ajustes disponibles según el niven del acceso.
En la tablasuma se detallan los mandos y los mensajes que aparecen durante la programacion y el ajuste de los parámetros de configuracion.
| tecla descripción modo acción | ||
| 1 Aumentar temperatura | PROGRAMACION Modifica/aumenta el parámetro selecciónado | |
| TRABAJO/APAGADO | Aumenta la consigna de temperatura del termostato de ambiente. | |
| 2 Reducir temperatura | PROGRAMACION Modifica/aumenta el parámetro selecciónado | |
| TRABAJO/APAGADO | Disminuya la consigna de temperatura del termostato de ambiente | |
| 3 Menú | - Da acceso al MENU | |
| MENÜ Da acceso al nivelCEEiente de submenús | ||
| PROGRAMACION Introduce un valor y pasa a la option de menúCEEiente | ||
| 4 ON/OFF Desbloqueo | TRABAJO Presionada durante 2segundos enciende o apaga la estufa según que está apagada o encendida | |
| BLOQUEO Desbloquea la estufa y ladea apagada | ||
| MENÜ/PROGRAMACION Pasa al nivel de menú superior guardando los Cambios | ||
| 5 Reducir potencia | TRABAJO/APAGADO Modifica la potencia suministrada por la estufa | |
| MENÜ Pasa a la option de menúCEEiente | ||
| PROGRAMACION Pasa a la option de submenúceeinguardando los Cambios | ||
| 6 Aumentar potencia | TRABAJO/APAGADO Modifica la velocidad del intercambiador | |
| MENÜ Pasa a la option de menú anterior | ||
| PROGRAMACION Pasa a la option de submenúanteriorguardando los Cambios | ||
La figura bajo a estas lineas describe el significado de los SYMBOLOS de estado que se visualizan a la izquierda de la pantalla.
La aparción de cada uno de"These symbolosSEOa la activación del dispositivo correspondiente.
4.3 Encendido
4.3.1 Control antes del encendido
Antes de encender la estufa:
- Asegürese de haber leído y comprendido el manual.
- El deposto debe estar cargado de pellets.
- La CAMERA de combustiónDebe estar limpia.
- Elbrasero deestarcompletamentevacio, sinresiduosdecombustionycorrectamenteubicado enel portabrasero.
- Compruebe el cierre hermético de la puerta de la camarà y del cenicero.
- Verifique la connexion del cable électrique y la conmutacion a ON/1 del interruptor situado en la parte posterior de la estufa.

- A la primera puesta en marcha, quite de la camar de combustion y del vidrio todos los elementos que se pueda querar (instrucciones, etiqueta).
- Antes de encender la estufa tras una inactividad prolongada, pueda ser besoino qutar los restos de pellets que hayan quedado en el deposito porque este combustible, si se humedece, no es idoneo para la combustion ni asegura una buena limpieza de la CAMERA.
4.3.2 Puesta en marcha
Para encender la estufa, pulse la tecla "P4" durante 3 segundos: en pantalla aparece la indicacion "START".Esta fase es automatica y está totalmente gestionada por el control electronomico, sin posibilidad de modifier los parámetros.

La estufa realiza las diversas fases de puesta en marcha de acuerdo con los niveles y tiempos programados, hasta临港 a la condidion de trabajo si no ha surgidoulatinguna anomalia o alarma. El proceso es el seguiente:
| estado duración | dispositivos | condiciones para pagar al estado singular | ||||
| encendedor | asp. humos | sinfín interc. | ||||
| APAGADO - OFF OFF | OFF OFF | ON/OFF | ||||
| START - LIMpieza IN. | r33 OFF ON | OFF | OFF | transcurso tiempo Pr33 | ||
| PRECALENTAMIENTO | Pr34 | ON | ON | OFF | OFF | transcurso tiempo Pr34 |
| PRECARGA PELLETS | Pr40 | ON | ON | ON | OFF | transcurso tiempo Pr40 |
| ESPERA LLAMA | Pr41 | ON | ON | OFF | OFF | transcurso tiempo Pr41 |
| CARGA PELLETS | - | ON | ON | ON | OFF | temperatura humos > Pr13 |
| FUEGO PRESENTE | Pr02 OFF | ON | ON ON | transcurso tiempo Pr02 | ||
| TRABAJO | - OFF | ON | ON ON | temperatura ambiente < consigna temperatura - temperatura humos < Pr14 | ||
| TRABAJO MODULA - OFF ON | OFF ON | ON ON | temperatura ambiente < consigna temperatura - temperatura humos < Pr14 | |||
| LIMpieza BRASERO Pr12 OFF ON | ON ON | ON ON | con Frequencia Pr03 | |||
| TRABAJO | - OFF | ON | ON ON | ON/OFF para apagar | ||
| LIMpieza FINAL | Pr39 (*) | OFF | ON | OFF | - | (*) Pr39 transcurre desde elmomento en que T.humos < Pr13 |
Al cabo de un cierto tiempo, si la temperatura de los humos no ha alcanczo el valor minimumo admitido, la estufa activa el estado de alarma.

- Este prohibido utiliser liquidos inflamables para el encendido.
- Si el encendido falla repetidamente, llama alServicio Tecnico FERROLI ESPANA S.L.U..
4.4 Funcionamento
Si la PUESTA EN MARCHA termina correctamente, la estufa pasa al modo TRABAJO, que es el de funciona normal.
El usuario puede regular la potencia de calefaction entre 1 y 5 mediante las teclas "P5" y "P6".

Además de la potencia, también se pueda regular la temperatura ambiente, directamente en el panel de mandos con las teclas "P1" y "P2": en pantalla aparece la consigna (SET) actual de temperatura.
Para la ventilación del aire caliente, la estufa regula automatistically la velocidad en función de la potencia programada.


- Se recomienda controlar el nivel de pellets en el deposito para evaporar que la llama se apague por falta de combustible.
- Antes de cargar pellets, cerciorese de que la estufa está apagada.
- La tapa del deposito de pellets debe estar sempre cerrada, abralla solamente para hacer la carga.
- Guarde los sacos de pellets como minimum a 1,5 m de la estufa.
Cuando la temperatura ambiente alcanza el valor programado o la temperatura de los humos llama al valor máximo especified, en噎a aparece la indicacion "MODULA F" y la estufa activa la modulacion de la llama sin intervencion del usuario. Si la temperatura supera los 280^ aparece la alarma "ALARMA ALTA TMP HUMOS" y la estufa activa el procedimiento de apagado.
Si se activa el modo STAND-BY (espera), la estufa se apaga con un tiempo de retardo después de alcanzar la temperatura programada y se reactiva cuando la temperatura ambiente es inferior a un valor Shopsificado.

COLA

Durante el funciona normal en modo Trabajo, a intervalos preestablecidos se activa el modo "LIMPIEZA BRASERO" durante el tiempo Shopsificado.
4.5 Apagado
Para apagar la estufa es suficiente presionar la tecla "P4" durante 2 segundos.
El sinfn se para de inmediato, el extractor de humos funciona a alta velocidad y en pantalla aparece la indicacion "LIMpieZA BRASERO". Los dos motores, de aspiracion de humos y ventilacion de aire, permanecen encendidos hasta que la estufa se enfria lo suficiente.

Al final de la operation, en pantalla aparece la indicacion "OFF".
Durante la fase de apagado, no se可以选择 volver a encender la estufa hasta que la temperatura de los humos permanece por debajo de un valor prefijado durante el tiempo programado. En Pantalla aparece la indicacion
"ESPERA REFRIGER".
4.6 Menu
Pulsando la tecla "P3" (SET) se accede al menu, que permite hacer los ajustes por los cuales se registrar el control electrónico.
En la tablasuma se describe la estructura del menu con los ajustes que pueda realizar el usuario.
| Nivel 1 Nivel 2 | Nivel 3 | Nivel 4 | Valor | |
| 01 - Ajuste ventil | Selección el valor | |||
| 02 - Ajuste reloj | 01 - día Día | |||
| 02 - horas Horas | ||||
| 03 - Minutes Minutos | ||||
| 04 - día Día | ||||
| 05 - mes Mes | ||||
| 06 - año AÑo | ||||
| 03 - Ajuste crono | ||||
| 01 - habilita crono | ||||
| 01 - habilita crono | on/off | |||
| 02 - program dia | ||||
| 01 - crono día | on/off | |||
| 02 - start 1 día | hora | |||
| 03 - stop 1 día | hora | |||
| 04 - start 2 días | hora | |||
| 05 - stop 2 días | hora | |||
| 03 - program semana | ||||
| 01 - crono semana | on/off | |||
| 02 - start 1 día | hora | |||
| 03 - stop 1 día | hora | |||
| 04 - lunes prog 1 | on/off | |||
| 05 - martes prog 1 | on/off | |||
| 06 - miécoles prog 1 | on/off | |||
| 07 - jueves prog 1 | on/off | |||
| 08 - viernes prog 1 | on/off | |||
| 09 - sábado prog 1 | on/off | |||
| 10 - domingo prog 1 | on/off | |||
| 11 - start prog 2 | hora | |||
| 12 - stop prog 2 | hora | |||
| 13 - lunes prog 2 | on/off | |||
| 14 - martes prog 2 | on/off | |||
| 15 - miécoles prog 2 | on/off | |||
| 16 - jueves prog 2 | on/off | |||
| 17 - viernes prog 2 | on/off | |||
| 18 - sábado prog 2 | on/off | |||
| 19 - domingo prog 2 | on/off | |||
| 20 - start prog 3 | hora | |||
| 21 - stop prog 3 | hora | |||
| 22 - lunes prog 3 | on/off | |||
| 23 - martes prog 3 | on/off | |||
| 24 - miécoles prog 3 | on/off | |||
| 25 - jueves prog 3 | on/off | |||
| 26 - viernes prog 3 | on/off | |||
| 27 - sábado prog 3 | on/off | |||
| 28 - domingo prog 3 | on/off | |||
| 29 - start prog 4 | hora | |||
| 30 - stop prog 4 | hora | |||
| 31 - lunes prog 4 | on/off | |||
| 32 - martes prog 4 | on/off | |||
| 33 - miécoles prog 4 | on/off | |||
| 34 - jueves prog 4 | on/off | |||
| 35 - viernes prog 4 | on/off | |||
| 36 - sábado prog 4 | on/off | |||
| 37 - domingo prog 4 | on/off | |||
| 04 - program fin | ||||
| 01 - crono fin semana | on/off | |||
| 02 - start 1 | ||||
| 03 - stop 1 | ||||
| 04 - start 2 | ||||
| 05 - stop 2 | ||||
| 04 - Elegir idioma | ||||
| 01 - italiano ajuste | ||||
| 02 - francés ajuste | ||||
| 03 - inglés ajuste | ||||
| 04 - alemán ajuste | ||||
| 05 - Modo stand-by | on/off | |||
| 06 - Avis acústico | on/off | |||
| 07 - Carga inicial | ajuste | |||
| 08 - Estado estufa | - |
4.6.1 Menu 01 - Ajuste ventiladores
La velocidad de los ventiladores se gradúa automatistically según la potencia programada. Si se desea limitar el flujo de aire caliente, es posible ajustar manualmente la velocidad maxima mediante la optación de menu 01,eligible un valor entre 1 y 5. Por exemple, si se establiece el valor 3, la velocidad de los ventiladores augmentede automatamente pero sin superar la correspondiente al valor 3.
En la version canalizable, la connexion electrica se indica con la activacion de los dos segmentos (B).
4.6.2 Menu 02 - Ajuste reloi
Antes de utiliser la estufa, se deben indicar la Fecha y hora actuales para que sirvan de referencia para el possible configuraciono con crono. El control electronomico funciona con una bateria de litio mod. CR2032 de 3 V que asegura al reloj interno una autonomia propria. Si, con la estufa apagada, el reloj no mantiene el horario o al reencendido aparece una series de ceros, llama a un centro de asistencia autorizzato paraCambiar la bateria.
4.6.3 Menu 03 - Habilita crono
Permite habilitar y deshabilitar todas las functions del cronotermostat. Con la seleccion ON se activa la direccion y en pantalla aparece el segmento (D). ParaJKLM los horas, utilise las cuales teclas como se indica en la tabla del apartado 4.2.
Cuando se activa la programacion G (DIARIA), S (SEMANAL) o W (FIN DE SEMANA), en la parte superior derecha de la pantalla aparece el segmento respectivo (C).
Con el submenu: PROGRAM Día es possible habilitar, deshabilitar yJKLM. Se puedaaabdar dos fases de funciona, delimitadas por los horarios fjados de acuerdo con la tabla?sigue,onde la opticon OFF indica al reloj que ignore el mando.
| Selección | significado | valores posibles |
| START1 | hora de activación | hora - OFF |
| STOP1 | hora de desactivación | hora - OFF |
| START2 | hora de activación | hora - OFF |
| STOP2 | hora de desactivación | hora - OFF |


Con el submenú: PROGRAM SEMANA es possible habilitar, deshabilitar y ajustar las functions del cronotermostat como anal. El control seminal se realiza con在哪些 programas independentes que se combinan entre si.
La programacion semanal se pueda activar o desactivar. Si se selecciona OFF en el Campo "horario", el reloj ignora el mando correspondiente.

Realice la programación con cuidado, evitando superponer las horas de activación y desactivación para el mismo día en distinctos programas.

| PROGRAMA 1 | |||
| nivel de menu | Selección significada valores posibles | ||
| 03-03-02 | START PROG 1 | hora de activación 下午 - OFF | |
| 03-03-03 | STOP PROG 1 | hora de desactivación | hora - OFF |
| 03-03-04 | LUNES PROG 1 | día de referencia | on/off |
| 03-03-05 | MARTES PROG 1 | on/off | |
| 03-03-06 | MIÉRCOLES PROG 1 | on/off | |
| 03-03-07 | JUEVES PROG 1 | on/off | |
| 03-03-08 | VIERNES PROG 1 | on/off | |
| 03-03-09 | SABADO PROG 1 | on/off | |
| 03-03-10 | DOMINO PROG 1 | on/off | |
| PROGRAMA 2 | |||
| nivel de menu | Selección significado valores posibles | ||
| 03-03-11 ST ART PROG 2 hora de activación ho | ho | a - OFF | |
| 03-03-12 ST DP PROG 2 hora de desactivación | hora - OFF | ||
| 03-03-13 | LUNES PROG 2 | dia de referencia | on/off |
| 03-03-14 | MARTES PROG 2 | on/off | |
| 03-03-15 | MIÉRCOLES PROG 2 | on/off | |
| 03-03-16 | JUEVES PROG 2 | on/off | |
| 03-03-17 | VIERNES PROG 2 | on/off | |
| 03-03-18 | SABADO PROG 2 | on/off | |
| 03-03-19 | DOMINO PROG 2 | on/off | |
| PROGRAMA 3 | |||
| nivel de menu | Selección significado valor | es posibles | |
| 03-03-20 | ART PROG 3 hora de activación | on hora - OFF | |
| 03-03-21 | DP PROG 3 hora de desactivación | hora - OFF | |
| 03-03-22 | LUNES PROG 3 | dia de referencia | on/off |
| 03-03-23 | MARTES PROG 3 | on/off | |
| 03-03-24 | MIÉRCOLES PROG 3 | on/off | |
| 03-03-25 | JUEVES PROG 3 | on/off | |
| 03-03-26 | VIERNES PROG 3 | on/off | |
| 03-03-27 | SABADO PROG 3 | on/off | |
| 03-03-28 | DOMINO PROG 3 | on/off | |
| PROGRAMA 4 | |||
| nivel de menu | Selección significado | valores posibles | |
| 03-03-29 ST ART PROG 4 hora de activación hoja - OFF | |||
| 03-03-30 ST DP PROG 4 hora de desactivación | hora - OFF | ||
| 03-03-31 LU N ES PROG 4 | día de referencia | on/off | |
| 03-03-32 | MARTES PROG 4 | ||
| 03-03-33 | MIÉRCOLES PROG 4 | ||
| 03-03-34 | JUEVES PROG 4 | ||
| 03-03-35 | VIERNES PROG 4 | ||
| 03-03-36 | SABADO PROG 4 | ||
| 03-03-37 | DOMINO PROG 4 | ||
Con el submenu: PROGRAM FIN SEMAN es posible habilitar, deshabilitar yJKLMas.
fin de semantics (sabado y domingo).

Antes de activar la programacion para el FIN DE SEMANA se debe desactivar la programacion semanal. Para evaporar encendidos y apagados indeseados, se debe activar un solo programa por vez. Desactive el programa diario si desea utiliser el semanal. En este caso, también se aconseja desactivar el programa de fin de semana.
4.6.4 Menu 04 - Elegir idioma
Permite seleccionar el idioma en que apareceran las informaciones en pantalla, entre los siguientes:
ITALIANO
FRANCÉS
- INGLÉS
- ALEMAN
SPANISH


4.6.5 Menu 05 - Modo stand-by
Si se ajusta en ON, la estufa se apaga automatamente cuando la temperatura ambiente o del agua permanece por encima del valor de consigna (SET) durante un tiempo prefijado.
El reencendido es automatico cuando la temperatura ambiente o del agua se hace inferior a la consigna introducida en la tabla de parámetros (valor de fabrica 2^ ).
Los mandos realizados con el panel de mandos o el mando a distancia son prioritarios respecto a la programacion. Si este parametro se ajusta en OFF, la estufa no utilizes el modo STAND-BY y funciona normalmente, activando la func tion MODULACION cuando la temperatura supera el valor de consigna.
4.6.6 Menu 06 - Avisador acustico
Esteajustepermiteactivorodesactivarlesenalizacionacustica deela estufa.
4.6.7 Menu 07 - Carga inicial
El menu CARGA INICIAL permite efectuar, con la estufa apagada o fría, una precarga de pellets durante 90 segundos. Se inicia con la tecla P1 y se interruppe con la tecla P4.

4.6.8 Menu 08 - Estado estufa
Esta selección permite visualizar el estado actual de la estufay de los dispositivos connectados a ella. El menu consta de varias páginas sucesivas.
4.6.9 Menu 09 - Calibrado técnico
Este menu está reservado a los先进技术 autorizados del centro de assistencia de FERROLI ESPANA S.L.U..

La modificacion de los parametros技术和 en el menu 09 debe ser efectuada por personal autorizacion. Las Modifications por parte de otheras personas couldn cazar graves daños que eximen de todo responsabilidad al fabricante.
4.7 Mando a distancia
El mando a distancia no permite modifier la programacion sino solo encender/apagar la estufa y regular la potencia y la temperatura.
Transmite las senales mediate un diodo de infrarrojos, por lo qual es necessario apuntarlo hac a receptor instalado en el panel de mandos.
Permite realizar las siguientes operaciones:

L: El piloto se enciende al pulsarrialquier tecla
Tecla P1+P6: Encender-apagar la estufa
Tecla P1: Aumentar la temperatura ambiente
Tecla P6: Aumentar el nivel de potencia
Tecla P5: Disminuir el nivel de potencia
Tecla P2: Disminuir la temperatura ambiente

4.7.1 Sustitución de la bateria
El mando a distancia se suministra sin la bateria de alimentacion. Instale la bateria en la parte inferior del dispositivo, del modo suiviente:
- Abra la tapa situada en la parte posterior del mando a distancia.
- Coloque una bateria P23GA de 12 V en el alojamento, respetando la polaridad.
- Cierre el mando a distancia.
- Compruebe el funciona.

- No acerque el mando a fuentes de calor directo y evite que se moje.
- Deposites las baterias usadas en un conteditor espécífico.

El equipo se suministra de series con un termostato digital interno que mide la temperatura ambiente con una sonda y reduce la potencia cuando se alcanza la temperatura programada.
Si desea usar un termostato externo,akra a un的技术ico autorizzato y proceda del suiviente modo:
- Apague el equipo con el interruptor general situado en la parte posterior y desconecte el cable de la corriente electrica.
- Desmonte el panel lateral para acceder al control electrónico.
- Guiandose por el esquema eletrico, conecte los dos cables del termostato a los respectivos bornes TERM de la tarjeta.
- Restablezca el estado normal de la estufa y compruebe el funcionajo.
Si desea instalar dos termostatos en las respectivas zonas aonde se dirige el flujo de aire caliente, conecte los dos termostatos en paralelo y fije el cable al conector correspondiente de la tarjeta.

Durante el funciona seleen las snales del termostato interno y de los externos para optimizar y orientar los flujos de aire caliente de acuerdo con la demanda de calor en cada situ.
Para conectar un cronotermostat externo, consulte a un Centro de asistencia de FERROLI ESPANA S.L.U.. La instalacion de uno o mas termostatos externos no modifica las functions del menu. La connexion se indica con el encendido del segmento en la barra de estado de la pantalla.
4.9 Período de inactividad (fin de temporada)
Si no realizar la estufa por un tiempo prolongado, o al final de la temporada, proceda del suiviente modo:
- Descargue todo el pellet del deposito.
- Desconecte la alimentacion eletrica y quite el cable del interruptor.
- Limpie esmeradamente y, si esnecessary, haga sustituir las partes dañadas por un先进技术 autorizzato.
Cubra la estufa para protegerla del polvo.
Guardela en un lugar seco, seguro y protegido de los agentes atmosalféricos.
5 LIMPIEZA DE LA ESTUFA
La limpieza de la estufa es importante para asegurar el funciona correcto yeatingel ennegrecimiento del vidrio,la combustion incorrecta,el deposito de cenizas e inquemados en el brasero y la disminuacion de la eficacia semiclassical.
La estufa debe funciona con la puerta de la camarara siempre cerrada.
Las juntas de la puerta de la camera deben controlarse periodically para evitar filtraciones de aire. Esto es requisite porque la camera de combustion y el conductor de descarga de pellets funciona en depresion, y la calidad de humos está ligeramente presurizada.
La limpieza ordinaria debe ser realizada por el usuario como se indica en el manual. El mantenimiento extraordinario debe ser efectuado, al menos una vez al ano, por un Centro de asistencia autorizzato.

- Limpie todas las partes con la estuya Completely fría y desconectada de la red electrica.
- Deseche los residuos de la limpieza según las normas locales vigentes.
- Este prohibidoponer la estuaf en marcha sin los revestimientos exteriorores.
- Evite la formación de humano e inquemados durante el encendido y el funcionaimiento.
A continuación se detallan las operaciones de control y mantenimiento necessarias para asegurar el funciona correcto de la estufa.
| Partes / Frecuencia Tipo de limpieza | 1 día limpieza ordinaria | 2-3 días limpieza ordinaria | 1 mes limpieza ordinaria | 2-3 meses limpieza ordinaria | 1 año limpieza extraordinaria: efectuada por el Centro de asistencia技术水平 |
| Brasero | ■ | ||||
| Cenicero - cajón | ■ | ||||
| Vidrio | ■ | ||||
| Intercambiador de humos - deflector | ■ | ■ | |||
| Collector - extractor de humos | ■■ | ||||
| Junta de la puerta - vidrio | ■ | ||||
| Chimenea - tubo de humos | ■ |
5.1 Limpieza del brasero
Extraiga el brasero y quite los residuos de ceniza depositados en la-camera de combustión y en el portabraser. Para thise possible utilizing an aspirador. This operation se debe realizar a diario (sobre todo si hay mucho pellet inquemado) para garantizar una combustion correcta, bajo que el aire requisite para la combustion entra por los orificios del brasero.

Brasero sucio

Brasero limpio

Portabrasero limpio

El brasero se debe apoyar en el portabrasero occupando todo el perimetro y sindefer aberturas pordonde poder pasar el aire.
5.2 Limpieza del cenciero
El cenicero está bajo del brasero-portabrasero. Para limpiarlo, abra la puerta de la camera y aspire las cenizas y los residuos de la combustion con un aparato adecuado.
Una vez conclusida la limpieza, ciderre la puerta. El cenicero se可以选择 limpar cada 2 o 3 días segun el uso de la estufa.
5.3 Limpieza del vidrio y de las ranuras de circulación de aire
El vidrio se pueda limpar con un paño humedo y un detergente especialico que no sea abrasivo.
Entre el vidrio, el sujetavidrios y la puerta de la-camera, en las partes inferior y superior, hayunas ranuras que permiten la circulación del aire y la limpieza interior del vidrio. Es importantemantener limpias estas ranuras, eliminando las acumulaciones de ceniza y polvo. Limpie periodically todo el contorno interior del vidrio.
5.4 Limpieza del extractor de humos y de la CAMERA de combustión
Al menos una vez al ano se debe limpar la CAMERA de combustion, eliminando todos los residuos de combustion de los deflectores internos y del recorro de los humos. Paraarlo esnecessary qutar la tapa y el frontal superior de la estufa. Saque el intercambiador de hierro fundido, previa extracion de los tornillos de fijacion, y limpie los deflectores y laamera.
Tambien es importante limpiar el extractor de humos, situado bajo de la camera, al cui se accede quitando el cenicero.
Cada 3-4 meses, limpie las paredes internas (aislentes-refractarias) de la camera de combustion con un cepillo y sustituyalas cuando corresponda, ya que se consideran material de desgaste.
Cada 1800 horas de funciona, la estufa activa el mensaje "LLAMAR SERVICE" para indicar que se debe contactar con el centro de asistencia autorizada para realizar el mantenimiento extraordinario, que incluye una limpieza completa y la anulacion de dicho mensaje.

Los golpes o forzamenteitos能把 dañar el extractor y Cause un funciona ruidoso; encargue esta operación a personalrialcualificado.
5.5 Limpieza del debímetro
Dentro del tubo de aspiracion hay un debimetro (medidor del flujo de aire comburente) que se debe limpiar cada 3-4这点 con un medio adecuado (soplo de aire comprimido o escobilla).
5.6 Limpieza de las ceramicas (en los modelos con revestimiento de este material)
Las ceramicas son de fabricacion artesanal y por ello poderarqueas imperfeeciones superficiales, como micropicaduras o falta de homogeneidad cromatica. Limpie las ceramicas con un paano suave y seco, el uso de detergentes能把poner de manifiesto las imperfeeciones.
5.7 Limpieza del tubo de humos - chimenea
El tubo de humos se debe limpiar como minimum una vez al ano y cuando sea necessario en func del uso de la estufa y del tipo de instalacion.
La limpieza consiste en la aspiracion y extracion de residuos de todos los tramos verticales, horizontales y curvos.
desde la estufa hasta la chimenea.
Tambien se aconseja limpiar una vez al ano la chimenea para garantizar la evacuacion correcta de los humos.

Pararialquier mantenimiento y limpieza de fin de temporada,FERROLI ESPANA S.L.U. aconsejllamar a un Centro de asistencia autorizzato, cui personal también controlaré el desgaste de los componentes internos de la estufa.
6 MANTENIMIENTO
6.1 Introduccion
Las operaciones en los componentes internos de la estufa deben ser realizadas por personal del centro de asistencia autorizada.

Antes de cada operación, compruebe que la clavija electrica está disconnectada y la estufa está completeness fría.
6.2 Desmontaje del revestimiento de ceramicico

Leyenda:
1-Tapa superior de ceramicico
2-Azulejos superior derecha-izquierdo
3-Bisel de acero
4- Tejas laterales
5- Panel posterior - superior
6- Panel posterior - inferior
7-Apoyo rigidez de la baldosa
6.3 Desmontaje del revestimiento de acero

Leyenda:
1-Tapa superior de perfiles de alumino extruido
2-Azulejos superior derecha-izquierdo
3-Bisel de acero
4- Panel lateral de acero
5- Panel posterior inferior
6-Panel posterior - superior
7-Apoyo rigidez de la baldosa
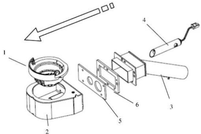
6.4 Componentes internos de la estufa

Despiece de la CAMERA de combustión y de las partes connectadas de la estufa ORION
Leyenda:
1-Camara de combustion
2-Soportes der.-izq.
3- Intercambiador de hierro fundido
4-Paredes laterales de vermiculita
5- Deflector superior de vermiculita
6-Pared posterior de vermiculita
Despieces de:
1- Grupo brasero
2- Grupo extractor de humos
3- Grupo sinfín



Leyenda:
1-Brasero
2- Portabrasero
3- Grupo tubo de aspiración airecomburrente
4- Resistencia electrica
5- Junta posterior portabrasero
6- Junta frontal grupo aspiración
Leyenda:
1-Helice del extractor de humos
2- JuntaTERMICA
3-Motor del extractor de humos
4-Tubo de salute de humos
Leyenda:
1-Junta deposito-conducto
2-Brida del motorreductor
3-Motorreductor
4-Sinfin
5- Junta para rampa
6-Rampa de caida de pellets
7-Junta camarara-conducto
8- Conducto de pellets
6.5 Componentes electricos

Leyenda:
1-Tarjeta electrònica
2 -Vacuostato de control y seguidad
3 -Termostatode seguridad
4 -Interruptor ON/OFF con fusions
5 -Conexion de puerto serial
6 -Sonda de temperatura ambiente
7 -Sonda de temperatura de los humos
8- Debímetro
9-Ventilador tangencial Derecho
10-Ventilador tangencial izquierdo
11-Ventilador tangencial posterior
12-Panel de mando mod. F047
7 LOCALIZACION DE AVERIAS
7.1 Gestión de las alarmas
La presencia de una alarma se indica con una postal acustica (si está habitada) y un mensaje en el panel de control.
Si se produce una alarma: apague la estufa, soluzione la causa que la ha provocado y encienda la estufa.
normalmente como se describe en el presente manual.
A continuación se describes las alarmas que pueda aparecer en el panel de control, con sus causas y SOLUTIONES.
| ALARMAS - MENSAJES | |||
| Indicación Anomalía Causas posibles Solutión | |||
| AL 1 CORTE DE LUZ | - La estufa no se enciende. | - No hay alimentación electrónica durante el encendido. | - Poner la estufa en OFF con la tecla P4 y repetir el encendido. - Toda other operation de restablecimiento debe ser efectuada por un centro de asistencia autorizada. |
| AL 2 SONDA HUMOS | - Indica un fallo de la sonda de temperatura de los humos. - Se activa el procedimiento de apagado. | - La sonda está averiada. - La sonda está desconnectada de la tarjeta. | - Las operaciones de restablecimiento deben ser efectuadas por un centro de asistencia autorizada. |
| AL 3 ALTA TMP HUMOS | - La sonda de humos detecta una temperatura de los humos superior a 280 °C. - Se activa el procedimiento de apagado. | - El ventilador tangencial está averiado. - No llega alimentación electrónica al ventilador tangencial. - Carga excessiva de pellets. | - Regular el flujo de pellets. - Toda other operation de restablecimiento debe ser efectuada por un centro de asistencia autorizada. |
| AL 4 FALLO - ASPIR | - Indica un fallo del ventilador de aspiración de los humos. - Se activa el procedimiento de apagado. | - El ventilador de los humos está bloqueado. - El sensor de control de velocidad está averiado. - No llega alimentación electrónica al ventilador de | - Las operaciones de restablecimiento deben ser efectuadas por un centro de asistencia autorizada. |
| AL 5 FALLO ENCEND | - Al dar encendido no se produce llama. - Se activa el procedimiento de apagado. | - El depósito de pellets está vacio. - La resistencia electrónica está averiada, suecia o mal ubicada. - Calibración de la carga de pellets incorrecta. | - Verificar la presencia de pellets en el depósito. - Verificar el procedimiento de encendido. - Toda other operation de restablecimiento debe ser efectuada por un centro de asistencia autorizada. |
| AL 6 FALTAN PELLETS | - No entran pellets al brasero. | - El depósito de pellets está vacio. - El motorreductor de carga de pellets debe asentarse. - El motorreductor no carga pellets. | - Verificar la presencia de pellets en el depósito. - Regular el flujo de pellets. - Toda other operation de restablecimiento debe ser efectuada por un centro de asistencia autorizada. |
| AL 7 SEGUR TERMICA | - Señala que ha actuado el termostato de seguridad del conductor del sinfin. - El sistemas se para. | - El termostato de sécurité ha detectado una temperatura superior al limite especificado para el sobrecalentimiento de la parte inferior del depósito y ha Bloqueado el functionamento del motorreductor. | - Localizar laCause del sobrecalentimiento. - Rearmar el termostato decurity con el botón correspondiente. |
| Indicación | Anomalía | Causas posibles | Solutión | |
| AL 8 FALTA DEPRES | - En fase de trabajo, la estuña detecta una presión inferior al limite de calibración del vacuostato. - Elsystema se para. | - Laámara de combustión está sucia. - Elconducto de humos está atascado. - La puerta de laámara está abierta. - Lasvalvulas antiexplosión está abiertas/atascadas. - Elvacuostato está averiado. | - Controlar la limpieza del tubo de humos y de laámara de combustión. - Comprobar el cierre hermético de la puerta. - Comprobar el cierre de las valvulas antiexplosion. - Toda other operation de restablecimiento de ser efectuada por un centro de asistencia autorizada. | |
| AL 9 TIRO INSUF | - Señala que el flujo de airecomburente está por debajo del limitespecficado. | - Laámara de combustión está sucia. - Elconducto de humos está atascado. - La puerta de laámora está abierta. - Lasvalvulas antiexplosión está abiertas/atascadas. - Eldebímetro está averiado. | - Controlar la limpieza del tubo de humos y de laámara de combustión. -Comprobar el cierre hermético de la puerta. - Comprobar el cierre de las valvulas antiexplosion. - Toda other operation de restablecimiento de ser effectuada por un centro de asistencia autorizada. | |
| AL b ERROR TRIACSINF | - Se presenta cuando elmotorreductor funciona más de 60segundos seguidos. - Elsystema se para. | - Elcontrol detecta que el relé de mando del motorreductor está averiado (contactos pegados). | - Las operaciones de restablecimiento deben ser efectuadas por un centro de asistencia autorizada. | |
| ESPERA REFRIGER | - Se presenta cuando la estufasse enciende inmediamentedespuésde haberla apagado. | - Intento de desbloqueodurante elapagado con laestufacaliente y en fase de enfiambre. | - Eldesbloqueo de laalarmaes possible solo cuando terminalepagado. | |
| FALLO DEBIMET | - Señala que eldebímetro está desconnectado. | - Elcontrol no detecta lacantidad suficiente de airecomburente pero no apaga laestufasino que desactivosalamente eldebímetro. | - Las operaciones de restablecimiento deben sereffectuadas por un centro de asistencia autorizada. | |
| LLAMAR SERVICE | - Señala que la estufahahyperado las 1800 horas defunctionalmente desdelaultima intervencióndemantimiento. | -Aviso de mantenimientoextraordinario. | - Las operaciones de limpiezmantenimiento extraordinarioy rearmeDeben ser realizadaspor un centro de asistencia autorizada. |
La Empresa se reserva el derecho a realizar modificaciones sociales o estéticas de los productos en cuales el momento y sin preaviso. Las figuras y medidas, los esquemas yDEMAS informacion tienen solo valor indicativo.
ManualFácil