HT775 - Pistola térmica WAGNER - Manual de uso y guía de instrucciones gratis
Encuentra gratis el manual del aparato HT775 WAGNER en formato PDF.
Preguntas frecuentes - HT775 WAGNER
Preguntas de los usuarios sobre HT775 WAGNER
0 pregunta sobre este aparato. Responde a las que conoces o haz la tuya.
Hacer una nueva pregunta sobre este aparato
Descarga las instrucciones para tu Pistola térmica en formato PDF gratis! Encuentra tus instrucciones HT775 - WAGNER y toma tu dispositivo electrónico nuevamente en la mano. En esta página están publicados todos los documentos necesarios para el uso de su dispositivo. HT775 de la marca WAGNER.
MANUAL DE USUARIO HT775 WAGNER
Manual del propietario

Lea todas las instrucciones y etiquetas que teng a el producto. Cuando use herramentas electricas, siga todas las precauciones para reduir el riesgo de incendio, electrocución y除外 lesiones personales.
Necesita ayud? Llamenos primero para Obtener respuestos rapiadas. Si tieneomialquier commentario sobre este producto Wagner o problemas con el mesmo llame gratis a Wagner.

1-800-727-4023
Registrelo del producto en linea en:
http://www.wagnerspraytech.com
1770 Fernbrook Lane, Plymouth, MN 55447

LISTED
56M8
Descripción General
La pistola de aire caliente es una herramienta electrica de calidad. Como cualquier herramienta electrica,uede ser peligrosa cuando no se usa correctamente. Lea las instrucciones seguides con cuidado y siga todas las advertencias de seguridad. Sera responsabilidad del usuario usar la pistola de aire caliente deforma apropiada.
Especificaciones
Cubierta: El metal del troquelado.
Vatiaje: 1680 varios. 120 VCA.
Salidad de calor 400°C-540°C (750°F-1000°F)
BTU. Aproxidamente 5700 BTU en alta
Usos
- Ablandar pinturas, barnices, masillas de calafateo y mastiques para removerlos más fácilmente
- Reblandezca los adhesivos para poder guitar losetas de piso
Doble tubos de plástico - Reduzca la tuberia para trabajo electricos
- Contraigapelliculadeplasticoparaenvolvero protegercontraelclima
- Afloje tuercas, pernos y conexiones oxidadas
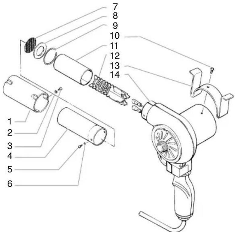
Lista de piezas

Art. Pieza No. Descripción Cántidad
1 0283481 Protector
2 9820906 Arandela
3 9803111 Tornillo. 1
4 0283482 Boquilla
5 9803111 Tronillo. 1
6 9820906 Arandela
7 0283490 Filtro
8 0283492 Placa
Art. Pieza No. Descripción Cántidad
9 0283491 Anillo de retencion .
10 9804924 Tornillo. 1
11 0283485 Hoja de mica 1
12 0283292 Base de soporte para la unidad del elemento .1
13 0283484 Base
14 Unidad basia 1
Para reducir los riesgos de incendios, explosiones, descargas electricas o lesiones a las personas, lea yenta todas las instrucciones incluidas en este manual. Familiaricese con los controlles y el uso adecuado del equipo.

Indica una situacion peligrosa que, de no evitarse,uede causar la muerte o lesiones graves.
Se debe tener un cuidado extremo cuando se esté raspando pintura. Las escamas, residuos y vapeores de pintura peuvent contener plomo, elrial es venenos. Cualquier pintura que se haya aplicado en las casas antes de 1950 es probable que contenga plomo. Cualquier pintura fabricada antes de 1977 es probable que contenga plomo. Una vez que la pintura se ha depositado sobre la superficie, qualquier contacto que haya de la mano a la Boca可以选择traer como resultado la ingestiOn de plomo. El estar expuesto a incluso niveles bajo de plomo可以使cazar daños irreversibles en el cerebro y elsystema nervioso. Los niños微量元素 y los fetos son particulamente vulnerables al enveneniento por plomo.
Antes de起初综合素质 para quitar pintura de ser determinar si la pintura que va a quitar contiene plomo. Esto peut hacer lo el departamento de salute de su localidad o un profesionai que utilise an analizador de pintura para verificar el contentido de plomo de la pintura que se va a qitar. LA PINTURA A BASE DE PLOMO LA DEBE QUITAR SOLAMENTE UN PROFESIONAL Y NO DEBE QUITARSE USANDO UNA PISTOLA DE AIRE CALIENTE.
PARAPREVENIR:
- Saque la pieza de trabajo al exterior. Si este no es posible, mantenga先进技术 el area de trabajo bien ventilada. Abra las ventanas y ponga un ventilador aspirante en una de ellas. Asegúrese de que el ventilador transporte el aire del interior hacía el exterior.
- Saque o cubra todas las alfombras, tapetes, muebles, prendas de ropa, utensilios para cocinar y conductos de aire.
- Ponga una mantas protectoras en el area de trabajo para que se recojarialquier pzca o escama de pintura. Pongase ropa protectora como son las camisas, overoles y cascos para trabajo extraordinarios.
- Trabajo en un solo cuarto a la vez. Los muebles se deben SACAR oponer en el centro del cuarto y cubrirse. Las areas de trabajo deben cerrarse herméticamente, para aislarlas del resto del inmueble, sellando los arcos de las puertas con mantas protectoras.
- Los niños, las mujeres que estén embarazadas o que potencialmente pueda estarlo y las mamás que estén amamantando no poderan presentarse en el area de trabajo hasta que el trabajo esté terminado y se haya completado la limpieza.
- Póngase una mascarilla respiradora de polvos de tipo mascarilla respiradora de polvos y vapeores de doble bajo que esté aprobada por la Administración de la Seguidad y Salud Ocupaciones (OSHA por sus siglas en ingles), el Instituto Nacional de la Seguidad y Salud (NIOSH por sus siglas en ingles) o la Oficina de Minas de los Estados Unidos. Estas mascarillas y bajo reemplazables se pueda encontrar fácilmente en las ferreterías principales. Asegúrese de que la mascarilla quede ajustada debidamente. Las barbas y demásleo facial podrián evaporar que las mascarillas sellaran apropiadasmente. Cambie los bajo freucentamente. Las mascarillas de papel desechables no son adecuadas.
- Sea precavido cuandoonga funciona como la pistola de aire caliente. Mantenga la pistola de aire caliente en movimiento ya que el calor excessivo genera vapores que el operario pueda inhilar.
-
Mantenga los alimentos y bebidas fuera del area de trabajo. Lávese las manos, los brazos y la cara y enjuaguese la Boca antes de comer o beber algo. No fume ni mastique chicle ni tabaco cuando está en el area de trabajo.
-
Limpie y recoja toda la pintura que se raspo y el polvo trapeando los pisos. Use un trapo mojado para limpiar todas las paredes, bases de ventanas yrialquier other superficie enonde haya polvo de pintura adherido.NO BARRA,NI LIMPIE EL POLVO EN SECO O USANDO UNA ASPIRADORA.Use un detergente de fosfato trisodico (TSP por sus siglas en ingles) con alto contenido de fosfato, para lavar y trapear las areas.
- Al final de cada sesión de trabajo, ponga las pizcas y residuos de pintura en una bolsa doble de plástico, ciérrela con una cinta o ataduras de retorsión y eliminela en forma apropiada.
- Quítese la ropa protectora y los zapatos de trabajo en el area de trabajo para evaporar meter el polvo al resto del edificio. Lave las prendas de ropa de trabajo porSeparated. Limpie los zapatos frotándolos con un trapo mojado y lave cuando el trapo junto con las prendas de ropa de trabajo. Láveseperfectamente el cabello y el cuerpo con agua y jabón.
PELIGRO DE EXPLOSION O INCENDIO
Esta pistola de aire caliente produce temperatas extremadamente altas (tan altas como 1450^ F [787° C]). Se debe uses con precaucion para prevenir que el material combustible se encienda.
PARAPREVENIR:

- Mantenga la pistola con un movimiento constante. No se pare o detenga en un solo situó.
- Sea extremadamente precavido si el otherlado del material que se está raspando está inaccessible, como es la fachada de la casa. El lado oculto podra incendiarse si se pone demasiado caliente. Algunos edificios contienen materiales altamente inflamables por detrás de la fachada, pisos, imposta, paneles del techo ythers. Revise estas areas antes de aplicarles calor y no use una herramienta de aire caliente si hay materiales inflamables o si desconce el ma
- No la useoca de superficies con gritas nioca de tuberia de metal oonde haya destellos. El calor podria transmitirse por detrás de la superficie de trabajo y encender el material oculto. La combustion de los materiales ocultos podra no notarse rapidamente, lo que pueda traer como consecuencia daños en la propidad y lesiones.
- No use herramientos electrolycas cuando haya liquidos o gases inflamables.
- No la use cerca de materiales combustibles, como son el pasto y hojas secas y el papel, que pueda chamuscarse e incendiarse.
- La boquilla se pone muy caliente. No recuesta la pistola de aire caliente sobre superficies inflamables cuando la tengafccionando ni inmediamente despues de haberla apagado. Fije siempre la pistola sobre una superficie nivelada y plana de modo que la punta de la boquilla quede apuntando hacia arriba y alejada de la superficie de apoyo.
- No toque la boquilla hasta que la herramienta se haya enfiado.
- No use la pistola de aire caliente como secadora deleo.
- Las herramrientas y la raspadura de pintura se ponen muy calientes. Paraatar las quemaduras, use guantes de trabajo cuando raspe.
- Trate siempre a las unidades de aire caliente con el mesmo respeto con el que trataria a las llamas abiertas.
PELIGRO ELECTRICO
Podrca causar daos en la propiedad, lesiones severas o la perdida de la vida.
PARAPREVENIR:
- No trabajo en和地区 mojadas ni exponga la pistola de aire caliente a la lluvia.
- Protejase contra choques electricos previniendo el contacto corporal con las superficies connectadas a tierra como son las tuberías, radiadores, estufas, escaleras de aluminio yDEMASdispositivos connectados a tierra.
- No abuse del cordón electrico. No transporte nunca la pistola de aire caliente tomándola del cordón ni jale el cordón para desconectarla de la fuente de energia. Mantenga el cordón electrico lejos del calor, lubricantes y bordes filosos. Inspeccione el cordón regularmente para ver que no esté desgastado ni dañado.
- Use solamente cordones de extensionespecificados para uso en exteriores. Si una extension se da n o de某个 mode resulta inapropiada para usarse, reemplacela con una nuevo.
PELIGROS GENERALES
Podrca causar daños en la propidad o lesiones severas.
PARAPREVENIR:
- Desconecte la pistola de aire caliente de la fuente de energia si no la está usingo. Guardela en el interior, en un lugar seco y fuera del alcance de los niños.
- Mantenga el area donde trabajo bien iluminada y limpia.
- No se estire, en especial cuando está trabajo subido en una escalera. Mantenga una pisada y equilibrio apropriados en todo momento. Cerciórese de querialquier escalera que se esté usingo este firme, estable, sobre una superficie solida y parada a un ángulo de trabajo seguro.
- Evite las lineas de energia.
- Mantenga los articulos que能把an moverse asegurados y firmes cuando está raspando.
- Use siempreunas gafas protectoras cuando este trabajo.
- Permanezca alerta y use su sentido común cuandoonga funciona como cualquier herramienta.

El polvo, el descascarillado, los residuos y los vapeores 创建 al quitar la pintura contienen químicos que el estado de California ha determinado causan defectos congenitos u otros daños al sistema reproductor. Un exemple de ellos químicos es el plomo de las pinturas a base de plomo (no use la pistola de aire caliente para quitar pintura a base de plomo). El riesgo de exposión varía, dependiendo de la Frequencia con que realiza este tipo de trabajo. Para reducir la exposión a ellos químicos: trabajo en Areas bien ventiladas y trabajo con equipo de seguridad aprobado, por exemple, masculillas antipolvo disénadas especialmente para filtrar partículas microscóicas.
Instrucciones para Aterrizar
Este produit se debe conectar a tierra. En caso de que occura un corto circuito, la
conexion a tierra reduce el riesgo deCHOque eletrico por proportonlar un alambre de
escape para la corriente electrica. Este productoiene equipado con una extension que
tiene un alambre de conexion a tierra con una clavija de conexion a tierra apropiada.
La clavija se debe enchufar en una toma de corriente que estedebidamente instalada y
conectada a tierra, de acuero con todos lo codigos y normas locales.
ADVERTENCIA - Una instalación inapropiada de la clavija de connexion a tierra pueda resultar un riesgo deCHOque electrico.
Si esnecessaryRepairo reemplazarla extensiono la clavija,no conecte el alambre.
verde de connexion a tierra en ninguno de los terminales de pata plana.El alambre con
aislador queiene una superficie exterior verde con franjas amarillas o sinellas es el
alambre de connexion a tierra queDebe connectarse en el terminal de connexion a tierra.
Verifique con un electricista calificado o的技术ico de service si no ha sentido por completeness las instrucciones de connexion a tierra, o si tiene dudas sobre si el producto que se deblidamente connectado a tierra. No modifique la clavija que se proportionsciona. Si la clavija no cabe en la toma de corriente, pida a un electricista calificado que instale la toma de corriente apropiada.
Este produit se debe usable en un circuito de 120 voltios nominales yiene una clavija de connexion a tierra que se parece a la que se ilustra en el dibujo A. Si no se contara con una toma de corriente debidamente connectada a tierra, se possible usar un adaptoratorio temporario que se parezca al ilustrado en los dibujos B y C para connectar esta clavija en un enchufe de 2 polos como el que se muestra en el dibujo B. El adaptoratorio temporario se debe usar solamente hasta que un electricista calificado能把 instalar una toma de corriente debidamente connectada a tierra (dibujo A). La orejeta rigida de color verde o similar que se extende desde el adaptoratorio se debe connectar a una connexion a tierra permanente como es la cubierta de una caja de toma de corriente que estedebidadmente connectada a tierra. Siempre que se use el adaptorador, se le debe fjjar en su lugar con un tornillo de metal.



(A)(C)(B)
Para usar la pistola de aire caliente

Lea siempre la información de seguridad que se incluye en este manual antes de utiliser la pistola de aire caliente.
- Enchufe la unidad en在哪quier tomacorriente de pared estandar.
- Para encender la unidad mueva el conmutador a la posicion deseada. El sonido del ventilador motorizzato le indica que la unidad está funciona. La bobina de calentimiento irá adquiriendo un color fojo oscuro.
Note: Es possible que observe humano al usar la pistola por primera vez debido al calentimiento de los aceites usados durante la fabricación. El humano deben desaparecer en menos de un minuto.

IMPORTANTE: Si el motor impelente de la pistola no enciende al colocar el conmutador en la posicion HOT o COLD, apague de inmediato el conmutador. El elemento calefactor se quemara si no recibe aire del ventilador.
- Ajuste lacantidad de calor producido. Esto se logra girando el tornillo de mariposa que se encuentra en la tapa de la toma de aire para cambiar el時間 de la abertura de la toma. Mientras mas grande es la abertura, menos calor se produce y@msteadas mucha la abertura,mas calor se produce.El calor producido varia aproximamente 121 ^ C (250°F) entre la toma totalmente abierta y totalmente cerrada.


No bloquee las tomas de aire opuestos a la tapa de la toma de aire ajustable. El serpentin de calefacción se quemara si se bloquea demasiado la entrada de aire.
- Cuando termine, coloque el botón oscilante en "cold" (frío). Deje el soplador en funciona bajo varios instantos para enfiar la pistola. Estoships a prolongar la vidautilde la pistola de aire caliente.
- Apague y desconecte la pistola.

Nota: Enderece la pistolaTERMICA cada vez que la apague, ya sea por un corto periodo o para almacenarla. Evite acostarlaupon de haberla apagado ya que la unidad permaneceracaliente y tardarasmas enfiarse. Almacene la unidad solo despues de que se haya enfriado la tobera y desenchufela antes de almacenarla para evitar que se encienda accidentamente.
IMPORTANTE: Proteja sempre los vidrios cuando trabajo cerca de lasVentanas.

No toque la boquilla de la pistola orialquier herramienta metalica que se exponga al aire caliente cuando use la pistola. Estas se ponen extremamente calientes y occasionaran quemaduras severas. Use quantes de cuero para proteger sus manos.
Para raspar pintura
La pistola de aire caliente calienta la superficie y hace que la pintura se reblandezca, en caso lo做不到 se le pueda qitar raspando. Algunas de estas pinturas peuvent reblandecerse excepte no se formen ampollas enellas;algunas others poder venoverse elasticas y otheras mas podrian requireir un calor mas elevado.
Cuando se trabaja con varias capas de pintura, el proceso de raspado se acelerará calentando la superficie completeness, hasta临港 a la madera. En seguida, todas las capas se pueda raspar a la vez.
La mejor herramIENTa que pueda usarse en las superficies intrincadas es un cepillo de alambre suave. Las pinturas y acabados minerales, como son la pintura de cemento y la porcelana, no se reblandecen con el calor, de manière que el usar una herramienta de calentimiento no servirá para quitar la pintura.
El mejor método para quitar la pintura
Mueva la pistola lentamente y con firmeza hacía adelante, en ángulo recto con la superficie, dirigiendo la punta de la boquilla en la direction del movimiento. Esto le permite raspar con seguridad, fuera de la corriente de aire caliente, además de que mantiene tanto al raspador como a la superficie raspada más frios.
A. El aire caliente calienta previamente la superficie.
B. La pintura se reblandece por medio de aire caliente.
A+B. Una penetración profunda del calor sobre toda el área.
C. La pintura se pueda qitar raspando fácilmente tan pronto como se reblandezca y la pistola se mueva hacía adelante.
D. La superficie raspada sedea enfiar.

Note: No utilise la pistola tírmica sobre superficies que se pueda darar con el calor, como paneles revestidos con vinilo, chapas de paredes y Marcos de ventanas.
Cuando se elimina la pintura de los Marcos de ventanas, la masilla se reblandece. Trate de no arrancar la masilla con el raspador, esta se volverá a endurecer cuando se haya enfriado.
No utilise la pistola tírmica sobre láminas de vidrio aislante, como el Thermopane. La expansión de los cantos del vidrio pourrait el sello de ellos.
Cuando raspe impostas, no sobrecaliente los bordes de los tejamaniles de asfalto que sobresalgan por encima del revestimiento exterior. Demasiado calor derretirá el asfalto.
IMPORTANTE: Quitar la pintura con una pistola de aire caliente sera un proceso seguro si se siguen las directrices anteriores, pero mantenga siempre tanto un recipiente con agua como un extintor de incendios de clasificacion ABC al alcance.
IMPORTANTE: Lea las secciones de operación general y de información de seguidad de este manual del propietario antes de usar la pistola de aire caliente.
Limpieza y mantenimiento
Mantenga la toma de aire de la cubierta limpia y libre de obstrucciones. Use un cepillo suave y seco para limpar regularmente las tomas. Use solamente un trapo humedo para limpiar la pistola de aire caliente. Muchos detergentes domesticos tienen sustancias químicas que podran causar serios daños a la cubierta.
No utilise gasolina, trementina, lacas o disolventes de pintura, sustancias químicas para la limpieza de ropa o produits similares para limpar la pistola térmica. Jamás permita que penetrten liquidos en la herramienta nisumerj parte alguna de esta en algo n liquidido.
Almacenamento
Mantenga estemanual juntoa la pistola de aire caliente.
Deje que la boquilla de la pistola de aire se enfié a la temperatura ambiente antes de partirla almacenada.
La boquilla se obscurecerá con el tiempo a Causea del elevado calor. Esto es normal y no afectaré el functiOnamento ni la duracion de la unidad.
Accesorios
Los accesos siguientes��envenir conelpistola de aire caliente o+puede ser comprados separadamente llamando al 1-800-727-4023.
La pistolaTERMICApuede incluirunaomasde lassiguientespiezasoptionales.
Boquilla concentradora Pieza No. 10355
Boquilla abocinada Pieza No. 10357
Tobera de raspado Pieza No. 10356



Raspador con hojas intercambiables

IMPORTANTE: Use siempre guantes cuando utilise la pistolaTERMICA
Para colocar una pieza optional en la pistola:
-
Enderece la pistola y colóquela sobre una superficie horizontal hasta que se enfré la punta.
-
Coloque la pieza en la punta de la pistola y empujela firmamente con la mano hasta que calce en posicion.
Para retirar una pieza optional:
-
Enderece la pistola y colóquela sobre una superficie horizontal hasta que se enfré la punta.
-
Tire de la pieza para retirarla.

Paraonianlas hojas del raspador:
-
Retire la tuerca que está en el mango, debajo de la hoja.
-
Deslice y retire la hoja existente y deslice en posicion la hoja que desea utiliser.
-
Atornille y apriete la tuerca en el mango.


Registro del producto
Registrelo del producto en linea en www.wagnerspraytech.com. El registrar apropiado servirá como comprobante de compra en caso de que se extravíe el recibo de compra original. Registrelo del producto acelerará el proceso de su garantía.
Garantia Limitada de Wagner - Conservese en sus ARCHivos
Este producto, fabricado por Wagner Spray Tech Corporation (Wagner), está garantizo contra defectos de materiales y mano de obra durante 2 años, contados a partir de la Fecha de compra, siempre que el producto se opere de acuerdo a las recomendaciones e instrucciones impresas por Wagner.Esta garantía no cubre ningún defecto o daño que的结果de usos indebidos, accidentes, negligencia del usuario o desgaste normal.Esta garantía no cubre ningún defecto o daño occasionado por mantenimiento o reparación efectuado por在哪quiera persona o entrega que no sea un centro de servicios autorizados de Wagner.
CUALQUIER GARANTIA IMPLICITA DE COMERCIALIZATION O IDONEIDAD PARA CUALQUIER PROPOSITO EN PARTICULAR QUEDA LIMITADA A DOS ANOS A PARTIR DE LA FECHA DE COMPRA. WAGNER NO SERA RESPONSABLE EN NINGUN CASO POR DANOS INCIDENTALES O CONSECUENCALES DE CUALQUIER TIPO, YA SEAN POR INCUMPLIMIENTO DE LA GARANTIA O POR CUALQUIER OTRA RAZON. ESTA GARANTIA NO SE EXTIENDE A LOS ACCESORIOS.
ESTE PRODUCTO HA SIDO DIENADO EXCLUSIVAMENTE PARA USOS DOMESTICOS. SI SE USA CON MOTIVOS COMERCIALES O PARA ALQUILER, LA GARANTIA TENDRA UNA DURACION DE 30 DIAS A PARTIR DE LA FECHA DE COMPRA.
Si cualquier producto presente defectos de materiales o de mano de obra durante el periodo de garantía, devuélvalo jusqu'à con la factura de compray y transporte prepagado a Wagner Spray Tech, 1770 Fernbrook Lane, Minneapolis, MN 55447. Wagner reparó o reemplazará el producto (a la option de Wagner) y lo regresará a usted mediante flete prepagado.
ALGUNOS ESTADOS NO PERMITEN LIMITACIONES EN LA DURACION DE UNA GARANTIA IMPLICITA O EN LA EXCLUSION DE GARANTIAS INCIDENTALES O CONSECUENCIALES, ASI QUE LAS LIMITACIONES Y EXCLUSIONES INDICADAS ANTERIORMENTE PUEDEN NO APLICAR A USTED.
ESTA GARANTIA LE OTORGA A USTED DERECHOS LEGALES ESPECIFICOS. USTED PUEDE TENER OTROS DERECHOS, LOS CUALES VARIAN DE UN ESTADO A OTRO.


Wagner Spray Tech
1770 Fernbrook Lane
Plymouth, MN 55447
Tel: 1-800-727-4023
Copyright © Wagner Spray Tech Corporation. Reservados todos los derechos, incluyendo el derecho de reproduccion de cualquier clase, ya sea total o parcial. Impreso en China.
ManualFácil