DXDPF7 - Marco de fotos digitales Dynex - Manual de uso y guía de instrucciones gratis
Encuentra gratis el manual del aparato DXDPF7 Dynex en formato PDF.
Preguntas frecuentes - DXDPF7 Dynex
Questions des utilisateurs sur DXDPF7 Dynex
0 question sur cet appareil. Repondez a celles que vous connaissez ou posez la votre.
Poser une nouvelle question sur cet appareil
Descarga las instrucciones para tu Marco de fotos digitales en formato PDF gratis! Encuentra tus instrucciones DXDPF7 - Dynex y toma tu dispositivo electrónico nuevamente en la mano. En esta página están publicados todos los documentos necesarios para el uso de su dispositivo. DXDPF7 de la marca Dynex.
MANUAL DE USUARIO DXDPF7 Dynex
Introduccion 15
Informacion de seguidad 15
Characteristicas. 15
Preparando su marco digital paraotos. 16
Usando su marco digital paraotos. 16
Mantenimiento de su marco digital paraotos. .18
Localizacion y correccion de fallas 18
Especificaciones 18
Garantía limitada de 90 días .19
Introduccion
Felicitaciones por su compra de un producto de alta calidad de Dynex. Su DX-DPF7 representa el más moderno Diseño de Marcos digitales paraotos y está conocido para brindar un rendimiento confiable y sin problemas.
Información de seguridad
Siempre siga estas precauionesasicas de seguridad cuando use su marco digital paraotos. Esto reducirale riesgo de incendio,choque eletrico y lesiones.
Advertencia: Para reducir el riesgo de fuego oCHOque electrico no exponga el marco digital paraotosa la lluvia o humedad.
Advertencia: Para prevenir el riesgo deCHOque electrico, no quite la cubierta. No existen partes reparables por el usuario en el interior. Remita todas las reparaciones a personal calificado.
Corriente y cable de alimentacion — Proteja el cable de alimentacion. Los cables de alimentacion deben colocarse deforma que no se pisen ni se los aplaste con articulos colocados sobre ellos o contra ellos. Preste atencion en particular al punto donde el cable se conecta al marco digital paraotos.
Solo use el adaptor de CA incluido con el marco digital paraotos.Usar
cualquieroanother adaptorde alimentacionanularasu garantia.
Desconnecte el cable de alimentacion del tomacorriente cuando el marco digital paraotos no se estasusingo.
Ubicación — Para reducir el riesgo de incendio oCHOque electrico, no exponga este marco digital paraotosa la lluvia o humedad.No coloque este producto sobre un carro,una plataforma,un tripode, un soporte o una mesa inestable para evitar que se caiga.Mantengalo alejado de magnetismo fuerte, fuentes de calor,contacto directo con la luz solar y polvo excessivo.
Instalación — Verifique que el marco está instalado de acuerdo con las instrucciones e ilustraciones suministradas en este manual.
Objetos y liquidos — No inscribe objetivos de ningún tipo a工程技术 de las aberturas, no derrôme o rocie liquidos de网通una clase sobre o Dentro del marco (esto pueda resultar en un incendio oCHOque electrico). No coloque nada pesado sobre la unidad. Para asegurar una ventilación y operación apropiada, nunca cubra o bloquee las ranuras y aberturas con un pajo u other material.
Desensamblaje — No intente desensamlear el marco. Existe el riesgo deCHOque electrico.Comuniquees con el personal de service calificado si su marco necesita reparacion.
Limpieza de su marco — Cuando limpie la unidad, asegúrese de que el marco está desconectado de la fuente de alimentación. No use productos de limpieza liquidos o en aerosol. Use un paño ligeramente humedecido con agua solamente para limpiar el exterior del marco.
Characteristicas
El marco digital paraotos cuenta conlasingularlescaracteristicasclave:
- Una pantalla LCD (Pantalla de Cristal Líquido) de 7" con relacion de aspecto de 16:9.
- Las tarjetas de memoria compatibles incluyen SD, MMC, MS, XD y CF, asi como dispositivos de memoria USB.
Que hay en la caja
- Un marco digital paraotos de 7 ^ "
- Adaptador de alimentación de CA a CC
- Guía del usuario
Control remoto con pila (CR2025)
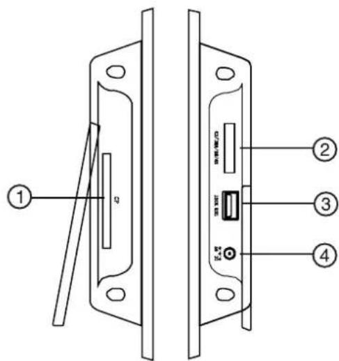
Vista lateral izquierda y derecha

| #Descripción | |
| 1 Ranura para tarjetas CF | |
| 2 Ranura para tarjetas SD, MS/MMC, XD | |
| 3 | P u e r t o U |
| 4 | P u e r t o C |
S
C
Vista superior

| # | E I e m e n t o D e s c r |
| 1 | Indicador LED de encendido Se ilumina cuando la unidad se oculta enccendida. |
| 2 | Botón de ENCENDIDO Permite encender el marco. Presione nuevomente para apagar el marco. |
| 3 | Botón Permite confirmar una selección,PGAUSAR/peatar de diapositivas oCambiar de modo (Diapositivas,Examiner,Miniaturas). |
| # Elemento Descripción | |
| 4 Botón SALIR Permite ingresa a la pantalla principal. En la pantalla principal, presiónelo para ingresa a la pantalla de selección de tarjeta. | |
| 5 Botón ARRIBA /COPIAR/BORRAR | Permitte navegar los menús de pantalla, copiar una foto, o borrar una foto (las-optiones se muestran cuando se presiona el botón). |
| 6 Botón ABAJO GIRAR | Permitte navegar los menús de pantalla o girar una foto. |
| 7 Botón ANTERIOR | Permitte navegar los menús de pantalla o ver una foto anterior. |
| 8 Botón SIGUIENTE | Permitte navegar los menús de pantalla o ver lasuma foto. |
Controlremoto

| # Botón Acción | ||
| 1 | MENÜ | Permitte ingresar al Menu de configuración. |
| 2 | ANTERIOR | Permitte mover el cursor hacía la izquierda o acceder a la Foto anterior. |
| 3 COPIAR/BORRAR Permite copiar una fotó a la memoria del marco o borrar una fotó del marco. | ||
| 4 SALIR Permite regresar al menú principal o ingresar a la pantalla de selección de tarjeta cuando se muestra el Menu Principal. | ||
| 5 AMPLIAR Permite ampliar la Fotoasnada a 100%, 117%, 133%, 150%, o 200%. | ||
| 6 | ARRIBA | Permitte mover el cursor hacía arriba. |
| 7 REPRODUICIR/PAUSAR/MODO | Permitte confirmar una selección, pausar una presentación de diapositivas o cambiar de modo (Diapositivas, Examinar, Miniaturas). | |
| # Botón Acción | ||
| 8 | SIGUIENTE | Permitte ir a la",[si?]gúinte foto. |
| 9 | ABAJO /GIRAR | Permitte navegar los menús de pantalla o girar una foto. |
| 10 | PRESENTACION DE DIAPOSTIVAS | Permitte ingresar al modo de presentación de diapositivas. |
Preparación del control remoto
Nota: Tire de la pestaña de plástico que sale del control remoto. Ésta protege la pila. El control remoto no puede functionar a menos que se remueva la pestaña.
Para instalar o reemplazar la pila del control remoto:
1 Sostenga el control remoto con los botones hacía abajo.
2 Mientras presiona el area corrugada de la cubierta de la pila, tire de la bandeja hacía afuera.
3 Reemplace la pila vieja, si es Needed.
4 Coloque una pila de Litio CR2025 en la bandeja con el lado positivo + viendolo austed.
5 Cierre la bandeja.
Preparando su marco digital paraotos
Para preparar su marco digital paraotos:
1 Extienda el soporte de la parte posterior de su marco digital paraotos.
2 Gire la base para posicionar el marco ya sea vertical u horizontalmente.
3 Colque su marco digital paraotos sobreuna superficie plana.
4 Conecte un extremo del adaptor de alimentacion de CA en su marco digital paraotos.
5 Enchufe el除外 extremo del cable de alimentacion de CA en un tomacorriente de pared.
6 Inserte una tarjeta de memoria o un dispositivo USB en la ranura apropriada.
Nota: La tarjetasolecabenuna direccion.No la obligueaentr.Laratjetadeferasteajustaducuando seha insertadocorrectamente.
7 Presione el botón POWER (Encendido) en la parte superior de su marco digital paraotos para encenderlo.
Usando su marco digital paraotos
Para encender su marco y selectionar una Foto:
1 Presione el botón POWER (Encendido) en la parte superior de su marco digital paraotos para encenderlo.
2 Inserte una tarjeta en una de las ranuras para tarjetas o inserte un dispositivo de memoria USB en la ranura de USB. Lasotos se做不到an automatistically.
3 Presione EXIT (Salir). Se abre el Menu Principal.

4 Presione-Newamente EXIT (Salir) para ingresar a la pantalla de SeLECTION de tarjeta y presione el boton PREV (Anterior) o NEXT (Siguiente) para selectionar la tarjeta que guste.
5 Presione PLAY/PAUSE/MODE II (Reprodcir/Pausar/Modo) para ingresar al modo de presentacion de diapositivas. Esto muestra las fotos, bajo en la configuracion de los efectos de transicion.
6 Presione-Newamente PLAY/PAUSE/MODE II (Reprodcer/Pausar/Mode) para ingresar al modo de examinar. Su marco muestra una sola foto.
7 Presione PREV (Anterior) o NEXT (Siguiente) para seleccionar una Foto.
8 Presione PLAY/PAUSE/MODE (Reproducir/Pausar/Modo) por tercera vez para ingresar al modo de miniaturas. Las imagenes de miniatura aparecen en la pantalla en una mesa.
9 Presione PREV (Anterior), NEXT (Siguiente), ARRIBA , o ABAJO para selectionar una miniatura y presione PLAY/PAUSE/MODEII (Reprodir/Pausar/Modo) paraitariana foto.
1 Presione el botón POWER (Encendido) en la parte superior de su marco digital paraotos para encenderlo.
2 Si su marco se encuesta en el modo de presentacion de diapositivas, presione EXIT (Salir). Se abre el Menu Principal. Si el Menu Principal ya está abierto, salte al suiviente paso.

3 Inserte una tarjeta en una de las ranuras para tarjetas o inserte un dispositivo de memoria USB en la ranura de USB.
4 Presione PLAY/PAUSE/MODE (Reproducir/Pausar/Modo) una o más vezes para ingresar al modo de presentación de diapositivas o al modo de examinar.
5 SeLECTIONA la Foto que desea copiar y presione UP/COPY/DELETE (Arriba/Copiar/Borrar). El marco le preguntará si desea copiar la Foto.
6 Presione PREV (Anterior) o NEXT (Siguiente) para的选择ar YES (Si) y presione PLAY/PAUSE/MODE (Reprodir/Pausar/Estado). La foto se copiará.
El marco puede copiar hasta 40otos en la memoria.
Nota: Mientras se encuentra en el modo de presentacion de diapositivas可以更好 girar la Foto en su marco presionando ABAJO/ROTATE (Girar).
Para borrarotosde la memoria de su marco:
1 Saque la tarjeta de SD/MMC/MS/XD, la tarjeta de CF, o el dispositivo de memoria USB del marco.
2 Presione el botón POWER (Encendido) en la parte superior de su marco digital paraotosparaencenderlo.
3 Presione PREV (Anterior) o NEXT (Siguiente) para的选择ar la foto que desea barrar.
4 Presione ARRIBA/COPY/DELETE (Copiar/Borrar) Su marco le preguntar si desea borrar la Foto.
5 Presione PREV (Anterior) o NEXT (Siguiente) para的选择ar YES (Si) y presione PLAY/PAUSE/MODE (Reprodir/Pausar/Modo). La Foto se borra.
Nota: La direccion de borrar solo borra las fotos de la memoria del marco.
Esta no borra las fotos de la tarjeta o del dispositivo de memoria USB.
Para seleccionar la fuente de la Foto:
1 Presione el botón POWER (Encendido) en la parte superior de su marco digital paraotosparaencenderlo.
2 Presione EXIT (Salir) en el control remoto para ingresar a la pantalla de seleccion de fuente. (Con el Menu Principal en pantalla, presione EXIT (Salir). En el modo de presentacion de diapositivas, presione dos veces EXIT (Salir).)
3 Presione PREV (Anterior) o NEXT (Siguiente) para seleccionar la fuente que desea usar y presione PLAY/PAUSE/MODE (Reproducir/Pausar/Modo) para ingresar al modo de presentacion de diapositivas y ver lasotos.
Nota: No puede selectionar una tarjeta que no ha sido insertada en su marco.
Configuración de su marco digital paraotos
Para configurar su marco digital paraotos:
1 Presione el boton POWER (Encendido) en la parte superior de su marco digital paraotosparaencenderlo.
2 Si su marco se encuesta en el modo de presentacion de diapositivas, presione EXIT (Salir). Se abre el Menu Principal. Si el Menu Principal ya está abierto, salte alARRYarse.

3 Presione PREV (Anterior) o NEXT (Siguiente) para seleccionar SETTING (Configuracion) y presione PLAY/PAUSE/MODE (Reproducir/Pausar/Modo). Se abre la pantalla Setup Menu (Menu de configuracion).

4 Presione PLAY/PAUSE/MODE (Reproducir/Pausar/Modo) para selectionar uno de losSES submenus para abrirlo y presione NEXT (Siguiente) para ingresar al submenu.
5 Presione ARRIBA 品 , o ABAJO para selectionar en el submenu y presione PLAY/PAUSE/MODE (Reprodcir/Pausar/Modo) para confirmar.
6 Presione MENU (Menu) para returnar al menu anterior. SiGsuei te Tabla lista todos los submenus y las options de submenu:
| Submenu Configuración | |
| Brightness (Brillo) | • Standard (Estándar) • Softness (Suávidad) • Enhanced (Mejerado) |
| Slide Show Time (Tiempo de presentación de diapositivas) | • 5 sec. (segúnodos) • 10 sec. (segundos) • 30 sec. (segundos) • 15 min. (minutos) • 1 hour (hora) |
| Transition Mode (Effectos de transmisión) | ·Random (Aleatorio) ·No Effect (Sin efecto) ·Cover Up (Revealía高三) ·Cover Down (Revealía bajo) ·Cover Left (Revealía la izquierda) ·Cover Right (Revealía la derecha) |
| OSD Language (Idioma del OSD) | ·English (Inglés) ·French (Francés) ·Spanish (Espanol) |
| Default (Predefinido) | ·Reset (Restaurar) |
| Exite Setup Menu (Salir del menú de configuración) | Presione PLAY/PAUSE/MODE (Reproducir/Pausar/Modo) o EXIT (Salir) para salir del menú de configuración. |
Mantenimiento de su marco digital paraotos
Limpieza de la pantalla LCD
Tenga uno cuidado cuando limpie la pantalla de LCD. La pantalla está hecha de vidrio y se pueda rayar o quebrar.
Para limpiar huellas digitales o polvo de la pantalla LCD, le recomendamos que utilise el paño suministrado o un paño que no sea aspero tal como un paño para limpiar lentes de lárnara.
Si utilizes un kit de limpieza de LCD comercial, no appliquee el liquido de limpieza directamente a la pantalla LCD. Limpie la pantalla LCD con el paño de limpieza humedecido con el liquido.
Limpiando su marco digital paraotos
Limpie la superficie exterior de su marco digital paraotos (excluyendo la ).
pantalla) con un pano suave humedecido con agua.
Localization y corrección de fallas
| Problema Soluciones | |
| Su marco digital paraotos no se activa. | El adaptador no está conectado fácilamente a su marco digital paraotos o el interruptor de encendido no está en la posición de encendido. |
| Una tarjeta de memoria está insertada en su marco digital paraotos pero no pueda ver susotos. | ·Asegürese de que la tarjeta de memoria es una de los formatos compatibles y que los ARCHivos en la tarjeta son archivos de imagen JPEG. ·Encienda su marco digital paraotos y asegürese de que la tarjeta de memoria está insertada Completely en la ranura de tarjeta y que está insertada corRECTamente. ·Active el marco. Depues de uno cuando seguidos, deben ver su第一位oto. ·Nota: Algunas cármas digitales guardan las imagen en formatos que no son JPEG. Refiérase al manual de su cárma si sus fotografías no son archivos JPEG. |
| El marco muestraalgunasotos más lento yotras más rápido | Fotografiales de alta resolution sescartan más lento. Intente usar fotografiales de unaResolution más baja o convierta sus imagenes. Refiérase almanual de operación del su cármara para Obtener detalles acerca de como convertir sus fotografiales. |
Especificaciones
| Formato de la fotografia | JPEG |
| Formatos de tarjetas de memoria | Secure Digital™, Multi Media Card™, Compact Flash™, xD Memory Stick™, y unidades USB de Flash |
| Tamaño del panel 7" en diagonal | |
| Fuente de alimentación | Adaptador de CA a CC (9 V CC) |
| Consumo de energia FCC/PSE (Adaptador) | |
| Temperatura de operación | 41 a 90 °F (5 a 35 °C) |
| Peso 1.04 lb. (0.47 kg) | |
| Dimensiones (Ancho × Alto × Profundidad) | 9.6 × 6.8 × 1.2 pulgadas (235 × 167 × 30 mm) |
Avisos legales
FCC Parte 15
Este dispositivo satisface la parte 15 del reglamento FCC. La operation de este producto está suseta a las dos conditiones sugentes: (1) Este dispositivo no vale causer interferencia danina, y (2) este dispositivoIBE acetoar qualier interfencia recibida incluyendo interfencias que poderan causar una operation no deseada.
Advertencia de la FCC
Cualquier cambio o modificacion que no este aprobado expresamente por la parte responsable por el complimiento con el reglamento de FCC pueda anular la autoridad del usuario para operar el equipo.
Certificación de seguidad de DHHS y FDA
Este reproductor está hecho yprobado para cumplir con los estandares de seguidad de los requisitos del FCC y con el rendimiento de seguidad del Departamento Estadounidense de Salud y Servicios Humanos, y también con los estandares de rendimiento de radiación del FDA 21 CFR, subcapitulo J.
Declaración del ICES-003 de Canadá
Este aparato digital de Clase B cumple con el ICES-003 canadiense.
Declaración de RSS 310
Para reducir el potencial de interferencia de radio a othersDMI, el tipo de antenna y su ganancia deben ser elegidos de tal forma que la potencia radiada equivalente (EIRP) no sea mas que la permitteda para una comunication exitosa.
Derechos de reproduccion
© 2007 Dynex. DYNEX es unamarca commercial de Best Buy Enterprise Services, Inc. Otras marcas y nombres de produits son marcas commerciales o marcas registradas de sus respectivosuestos. Las specifications y caracteristicas están susJECTED a cambio sin avis previo u obligation.
Para增值服务 y asistencia技术水平 al (Para增值服务 al cliente favor llame al 1-800-305-2204.
Restricción del uso de las imágenes
El uso de las imagenes precargadas en su marco digital paraotos este limitado al uso personal sin fines commerciales. El cliente no suele modifier, duplicar, distribuir, retransmitir, republicar, reproducir, o crear obras derivadas de las imagenes precargadas.
Garantía limitada de 90 días
Dynex Products ("Dynex") le garantía a estudé, el comprador original de este nuevo DX-DPF7 ("Producto"), que está en達到 libre de defectos de material o de mano de agua en su fabricación original por un periodo de 90 (noventa) días a partir de la Fecha de compra del Producto ("Periode de Garantía"). Este Producto debe ser comprado en un distribuidor autorizzato de products Dynex y empacado con esta交代ación de garantía.Esta garantía no cubre Productos reconditionados. Si notifies a Dynex durante el Periode de Garantía sobre un defecto cubierto por esta garantía que requires reparación, los关键时刻 de esta garantía se aplican.
Cuánto dura la garantía?
El Periode de Garantía dura por 90 (noventa) días a partir de la Fecha en que compró el Producto. La Fecha de compra se incluye impresa en el recibo que recambio con el producto.
¿Qué es lo que cubre esta garantía?
Durante el Periode de Garantía, si un centro de reparación autorizzato de Dynex conduce que la fabricación original del material o la mano de obr de Producto se encontrar tran defectuosDynex(cómo su option exclusiva): (1) reparar el Producto con repuestos新开os o reconditionados; o (2) reemplazar el Producto con uno nuevo o con uno reaciondo con repuestos equivalentes. Los Productos y repuestos reemplazados bajo esta garantía se volveran propidad de Dynex y no se le regresaran austed. Si se requiere la reparacion de Productos y partes afterwards de que se vence el Periode de Garantía, usted deben pagar todos los costos de mano de obr y de repuestos.Esta estara vigente con tal que united sea el dueño de su producto Dynex durante el Periode de Garantía. El alcance de la garantía se termina si united vende o transfiere el producto.
¿Cóme se obtiene la reparación de garantía?
Si ha comprado el Producto en una tienda de ventas, Ive su recibo original y el Producto a la tienda en donde lo compró. Asegurese de que vuelva a colocar el Producto en su empaque original o en un empaque que proVEA la misma proteccion que el original. Si compró el Producto en un situ Web, envie por correso u recibo original y el Producto a la direc tion postal listada en el situ Web. Asegurese de colocar el Producto en su empaque original o en un empaque que proVEA la misma proteccion que el original. Para obtener service de garantia a domicilio para un tevisor conuna pantalla de 25 pulgadas o mas, Ilame al 1-888-BESTBUY. El soporte tcnico diagnostaray corrigiréle problema por Telefono oenviaru un techniciano certificado por insignia a su casa.
Endondeesvalida lagarantia?
Esta garantía sólo es valida al comprador original del Producto en los Estados Unidos y en Canadá.
¿Qué es lo que no cubre la garantía?
Esta garantía no cubre:
- Capacitación del cliente
- Instalación
- Ajustedeconfiguración
Danooscosmeticos - Danos debido a actos de la naturaleza, tal como rayos
Accidentes
·Maluso - A b u s o
- Negligencia
Uso comercial
Modificacion de una parte del Producto - Un panel de planta de plasma dñaado por la persistencia de imagénes estáticas (sin movimiento),esoradas por periodos de tiempo extendido (efecto "burn-in").
Esta garantía tampoco cubre:
- Dano defaulted al uso o mantenimiento Incorrecto
- La connexión a una fuente de voltaje Incorrecta
- El intento de reparación por algoguien que no sea una compañero autorizada por Dynex para reparar el Producto
- Productos vendidos tal cui (en el estado en que se encuentran) o con todas sus fallas
- Productos consumibles, tal como fusibles o baterias
- Productos en los cuales el número de série asignado en la fabricula ha sido alterado o Removedido
EL REEMPLAZO DE REPARACION SEGUN PROVISTO BASO ESTA GARANTIA ES SU UNICO RECURSO. DYNEX NO SERA RESPONSABLE POR DANOS INCIDENTALES O CONSECUENTES DEBIDO AL INCUMPLIMIENTO DE CUALQUIER GARANTIA EXPRESA O IMPLICITA RELACIONADA CON ESTE PRODUCTO, INCLUYENDO PERO SIN LIMITARSE A LA PÉRDADE INFORMACION, LA PÉRDADE DE NEGOCIOS O DE GANANCIAS. DYNEX PRODUCTS NO HACE NINGUNA OTRA GARANTIA EXPRESA E IMPLICITA RELACIONADA A ESTE PRODUCTO, INCLUYENDO PERO SIN LIMITARSE A, CUALQUIER GARANTIA IMPLICITA DE O CONDISSIONES DE COMERCIALIZACION O IDONEIDAD PARA UN USO PARTICULARULAR, ESTÁN LIMITADAS EN DURATIO AL PERÍODO DE GARANTIA DECLARADO ANTERIORMENTE Y NINGUNA GARANTIA YA SEA EXPRESA O IMPLICITA SE APLICARÉ DESPUÉS DEL PERÍODO DE GARANTIA. ALGUNOS ESTADOS, PROVINCIAS Y JURISDIÇCIONES NO PERMITEN RESTRIECIONES EN CUANTO A LA DURACION DE UNA GARANTIA IMPLICITA, ASI QUE LA RESTRIÇÃO ANTERIOR PUEDE NO APLICARSE EN SU CASO. ESTA GARANTIA LE DA DERECHOS LEGALES ESPECIFICOS, Y USTED PUESE FRETE OS PRASES O DESRECHLOS QUE VARIAN DE ESTADO A ESTADO, O DE PROVINCIA A PROVINCIJA.
Pongase en contacto con Dynex:
Para增值服务 al cliente favor llamar al 1-800-305-2204
www.dynexproducts.com
DYNEX es unamarca comercial registrada de Best Buy Enterprise Services, Inc. Distribuido por Best Buy Purchasing, LLC
DYNEX es unamarca registrada de Best Buy Enterprise Services, Inc. Todos los demas Productos y marcas son marcas commerciales de sus respectivos dueños.
Distribuido por Best Buy Purchasing, LLC
ManualFácil