DA03 - Sistema de alta fidelidad DENON - Manual de uso y guía de instrucciones gratis
Encuentra gratis el manual del aparato DA03 DENON en formato PDF.
Preguntas de los usuarios sobre DA03 DENON
0 pregunta sobre este aparato. Responde a las que conoces o haz la tuya.
Hacer una nueva pregunta sobre este aparato
Descarga las instrucciones para tu Sistema de alta fidelidad en formato PDF gratis! Encuentra tus instrucciones DA03 - DENON y toma tu dispositivo electrónico nuevamente en la mano. En esta página están publicados todos los documentos necesarios para el uso de su dispositivo. DA03 de la marca DENON.
MANUAL DE USUARIO DA03 DENON
INSTRUCCIONES DE OPERACION

Consulte la página 58, 59 para ESPAÑOL.
[Bottom / Bas / Parte de abajo]

■ DISPLAY / AFFICHAGE / PANTALLA DE VISUALIZACIÓN

text_image
1 2 3 4 C1 MENU PSE AUTO INF ST MOV0 MEMO FILE SLEEP SDB MP3 TONE TITLE FOLDER ARTIST ALBUM PROG RAND 2 5 6 2- As an aid to better understanding the operation method, the illustrations used in this manual may differ from the actual system.
- Pour faciliter la compréhension de la méthode de fonctionnement, les illustrations utilisées dans ce manuel peuvent être différentes de celles de la chaîne réelle.
- Como ayuda a un mejor entendimiento del método de funcionamiento, las ilustraciones utilizadas en este manual puede diferir del sistema real.
ENGLISH FRANCAIS ESPAÑOL
NOTE ON USE / OBSERVATIONS RELATIVES A L'UTILISATION / NOTAS SOBRE EL USO
Avoid high temporatures.Allow for sufficient heat dispersionwhen installed on a rack.Eviter des températures élevees.Tenir compte d'une dispersion de chaleursufficiente lors de l'installation sur uneetagées.Evito altas temporaturas. Permito lasuficiente dispersión del color cuandoesà instalada en la consola. | Keep the set tree from moisture, water,and dust.Proteger l'appareil contre l'humidie, l'esueet lapoussière.Mantenga el equipo libre de numedsó,agua y povo. | Do not let foreign objects in the set.Ne pas taller des objets estrangers dansl'appareil.No doo objetos extraños dentro ociequipo |
Unplug the power supply cord whannot using the set for long periods ottime.Debancher le cordon d'alimentationlonque l'appareil n'est pas utilise pendantde longues périodes.Desconecte el cordon de energía cuanceno utilice el equipo par mucho tiempo. | Do not let insectoides, benzene, andthinner come in contact with the set.Ne pas mettre en contact dos insectoides,du benzene et un diluant avec l'appareil.No permita el contacto de insectoides,gascline y diluyantes con el equipo. | |
* (For sets with ventilation holes)Do not obstruct the ventilation holes.Ne pas abstruer les trous d'ération.No obstruya los orificios de ventilación. | Never disassemble or modify the set inany way.Ne jamas domontar ou modifier l'appareild'une manière ou d'une autre.Nunica desima o modificate el equipo deninguna manera. |
• INSTALLATION PRECAUTIONS
Para que el calor se dispe, deje por lo menos 10 cm de espacio entre las partes superior, posterior y laterales de subwoofer y la pared u otros componentes.

text_image
10 cm or greater 10 cm ou plus 10 cm o más Wall Mur Pared— TABLE OF CONTENTS —
1 Características 55
2 Antes de su utilización .....55
3 Conexiones 56-58
4 Nombre de las piezas, funciones y
visualizaciones....58, 59
5 Mando a distancia 60, 61
6 Abrí y cerrar la puerta del disco
y cargar discos 62
7 Funciones del menú 63, 64
8 Ajuste del reloj 64
9|Escucha de radio....65, 68
10Utilización del temporizador 67-70
11|Ajuste del tono 71
12Reproducción de CDs....71\~75
13Reproducción de ficheros MP3 75\~78
14Limpieza 78
15 CDs 78
16 Resolución de problemas 79
17 Especificaciones....79
■ ACCESORIOS
Compruebe los siguientes artículos para asegurarse de que están inlcuidos en el embalaje junto con la receptor de CD, subwoofer y altavoces:
①Soporte (Unidad principal) ....1
Tornillo (4-10) 2
②Soporte (Caja acustica) 2
Tornillo (4-10) 4
③Canalota 1
④Cable conector del sistema....1
⑤Unidad de control (RC-909)....1
⑥Pilas R03/AAA 2
⑦Cables de altavoces 2
⑧Antena de cuadro AM .....1
⑨Antena FM....1
Plantilla de papel ....1
1) Instrucciones de operacion....1
12Lista de estaciones de servicio....1
①
②









1 CARACTERÍSTICAS
- Potencia de calidad para sonido de alta calidad Amplificador de alta calidad de 20 W+20 W (6 Ω/ohmios, 1 kHz, T.H.D. 0,9 %) y 40 W (12 Ω/ohmios, 100 Hz, T.H.D. 0,9 %) y terminales para grandes altavoces.
• Control TONE y SDB
El control TONE puede utilizarse por separado para los bajos (BASS) y los agudos (TREBLE), mientras que el control SDB (Super Dynamic Bass) permite obtener tonos bajos potentes al escuchar el sonido con niveles de volumen más bajos. Esta unidad dispone de posición directa de fuente para dosactivar TONE/SDB.
- Mando a distancia de sencillo manejo
- Reproducción MP3
- Reproducción CD-RW
2 ANTES DE SU UTILIZACIÓN
Condensación
■Condensación
La condensación puede verse en forma de getas de agua que se forman en las ventaras de una habitación con calefacción en invierno.
■ Condiciones para la formación de condensación
En inviarto, cuando la unidad se coloce en un lugar interior cálido, o cuando la temperatura ambiente sube de repente por la presencia de una cafeación, se acumulará condensación en las partes operativas de la unidad y data no podrá funcionar adecuadamente. La condensación también puede formarse en verano cuando las emisiones de un aparato de aire acondicionado alcanzan directamente la unidad. Si esto ocurre, cambie la localización de la unidad.

■Medidas que se pueden tomar después de que se haya formado la condensación
- Si ya se ha formado la condensación, encienda la unidad y manténgala así durante un rato. Aunque el tiempo puede variar dependiendo de las condiciones del entorno, la unidad debería poderse utilizar en 1 o 2 horas.
- Si se forma condensación sobre el disco, limpie el disco
Otras precauciones
Las ilustraciones utilizadas con propósito descriptivo pueden ser diferentes de los elementos reales.
■Conserve el manual de instrucciones.
Después de leer este manual de instrucciones,
guárdejo en un lugar seguro junto a la garantía.
Precauciones referidas a la localización de la unidad
■Daje un espacio de más de 10 cm entre cualquier cara de subwoofer y paredes o cualquier otro equipo do sonido/video, etc.
Durante el funcionamiento de esta unidad o de cualquier otro aparato electrónico que contenga microprocesadores al mismo tiempo que utiliza un sintonizador o una televisión, pueden aparocer ruidos o interferencias en la pantalla en el sondo y en la imagen del sintonizador o de la televisión. Si esto sucede, preste mucha atención a los siguientes puntos. - Sopare la unidad del sintonizador o de la televisión tanto como sea posible. - Separe el cable de la antena del sintonizador o de la televisión del cable de alimentación y de los cables de conexión de entrada/salida de esta unidad tanto como sea posible. - Las antenas interiores y los cables de alimentación de 300 Ω/ohmios son especialmente susceptibles a estas interferencias. Recomendamos el uso de antanas exteriores y cable coaxial de 75 Ω/ohmios.

Cable de alimentación de 300 L2/ohmios

Cable coexial de 75 Q/chmios
Cuando no utilice el D-107
■En condiciones normales
- Extraiga siempre el disco y apague la unidad. - Cuando este ausente de su domicilio durante largos períodos de tiempo, asegúrose de desenchufar el cable de alimentación eléctrica
■ Cuando mueva el D-107
- No exponga el D-107 a ningún tipo de golpe.
- Compruebe siempre que ha extraído el disco y que los cables de conexión están desconectados antes de mover el D-107.

ESPAÑOL
3 CONEXIONES
NOTAS:
- No enchufe el cable de alimentación en la toma de corriente eléctrica hasta que todas las conexiones hayan quedado realizadas.
- Compruebo los canales y asegúrese de conectar izquierdo con izquierdo (L—blanco) y derecho con derecho (R—rojo).
- Introduzca el enchufe firmemente. Si la conexión no está bien realizada se pueden producir ruidos.
- Cuando desenchufe el cable de alimentación espere unos 5 segundos antes de volver a enchufarlo.
- Comprucible que los cables que van desde los terminales de los altavoces a los sistemas de altavoces quecan conectados en la misma posición (+ - en + - en -). Si se cambian las potandades, el sonido del centro será débil, la posición de los distintos instrumentos no quedará clara y se perderá el efecto estéreo.
- No junto los cables de conexión (enchufe macho), ni los coloque carca de otros aparatos eléctricos, como televisores, ya que esto podría causar zumbidos y otros ruidos.

text_image
Altavoces [USC-107 Panel trasero] Acerca de las conexiones del sistema • El D-107 no funcionará a menos que se realizen las conexiones del sistema. • Desconectar el cable del sistema, otc., durante el funcionamiento podría ocasionar una averla. Asegüresa de desanchufar el cable de alimentación de la salida de alimentación antes de cambiar las conexiones. Receptor de CD [D-107 Panel lateral] Véase la página 57 Subwoofer [USW-107 Panel trasero] Cables de altavoces Cables de altavoces Cable de sistema Cable de altavoces Cable de altavoces Altavoces [USC-107 Panel trasero] Altojo Grabadora de CD • La fuente que se selecciona pulsando el botón FUNCTION sale desde los terminales AUX OUT. Sin embargo, si la función se ajusta a "AUX", el sonido del componente conectado a los terminales AUX IN no sale desde los terminales AUX OUT. • No pulse al botón FUNCTION mientras que se graba una fuente de D-107 en una grabadora externa. NOTA: El puisar el botón FUNCTION mientras que se graba una fuente de D-107 en una grabadora externa hará que se cambia la fuente que se está grabando. TERMINALES DE ANTENA Antena exterior de FM Antena de bucle de AM ANTENA AM CNE / MCAAN DE Antena de interior de FM Vózse la página 58. Enchufe de corriente eléctrica CA 120 V, 60 HzESPAÑOL
Conexión de un receptor de CD y un subwoofer
■Acerca del montaje de la base de la unidad principal
Necesitará un destornillador para montar.
①Conecte el cable del sistema a la parte inferior de la unidad principal.

text_image
Parte superior [Conector] Pulsar Pulsar conecte con la parte más ncha del conector del cable del istema de cara hacia arriba.
text_image
Introduzca el enchufe deblicamente, metiéndolo hacia adantro todo lo que se pueda.②Pase el cable del sistema por la parte de atrás, alinie colocación de la base de la unidad principal, incluida, con el agujero en la unidad principal, y luego montelo con los tornillos incluidos.

text_image
Porte delanceraAgujero de la clevija de colocección
③ Conecte el enchufe que se encuentra en el lado contrario del cable del sistema al subwoofer.

Conecto con la parte más ancha del conector del cable del sistema de cara hacia arriba. Introduzca el anchufe debidamente, metiéndolo hacia adentro todo lo que se pueda.
■Acerca del montaje de la base de la canaleta [Al montar sobre la pared] (Véase la página
Pase el cable del sistema por la parte de atrás, alínie la clavija de colocación
de la base de la canalista, incluida, con el agujero en la unidad principal, y luego móntelo con los tornillos incluidos.
![DENON DA03 - ■Acerca del montaje de la base de la canaleta [Al montar sobre la pared] (Véase la página - 1](/content/2026/02/380340/images/ee4faff48b5f9b2a44a2fab122d0ccffd1ed7ea11b830692d71b516f47322741.jpg)
text_image
Equipo de la ciecia Civia de coloración Forte coloráteraAgujero de la clavija de colocación
Conexión de los altavoces
■Acerca del montaje de la base del altavoz
EPresta atención al colocar la base del altavoz, incluida, en la debida posición delantera/trasera, almio la clavija de colocación con el agujero en al altevoz, y luego montelo con los tornillos incluidos y aprételo debidamente.

text_image
Cavoz Clavja de colocación Parte de antera Aguiera de la clavja de colocación■ Conexión de los altavoces y cables
- Utilice los cables del altavoz, incluidos, para conectar los altavocos y al subwoofer.
- Conecte el altavoz del canal izquierdo (la parte izquierda según se mira por delante) a los terminales "L", el altavoz del canal derecho a los terminales "R".

flowchart
graph TD
A["① Bajo la palance."] --> B["② Introduzca el cable del altavoz."]
B --> C["③ Vuelva la palance a su posición inicial."]
C --> D["Alambre de núcleo (de color cobre)"]
D --> E["Alambre de núcleo (de color plate)"]
E --> F["Tire suvarmente del cable para comprostar que se encuentra debidamente conectado."]

text_image
Alembre de núcleo (de color sobre) Empiujo hacia abajo o introduzca el cable del atevoz. Alembre de núcleo lde color plate SPEAKER SYSTEM IMPEDANCE:6~18Ω R LNOTAS:
- Asegúrose de desenchular el cable de alimentación antes de conectar los altavocos.
- Asegurase de conectar los cables del altavoz adecuadamente (+ a +, - a -, L a L y R a R).
- No provoque un cortocircuito en los cables del altavoz. Si la alimentación esta activada, el provocar un cortocircuito accidentalmente en los cables del altavoz podría provocar daños o accidentes.
- Asegúrese de conectar el altavoz a los terminales del altavoz con las polaridades adecuadas (+ a +, - a -). Si las polaridades son incorrectas, el sonico desde el centro será débil, la colocación
de los instrumentos no será clara y el efecto
estérao será pobre.
- Nunca reproduzca continuamente tales señales especiales como ondas seno o señales de avance rápido de una grabadora de cinta.

Instalación de la antena interior de FM
Sintonico una emisora de FM Ivóass (la página 65), coloque la antena en una posición en la cual la distorsión y el ruido sean mínimos, luego sujete el extremo de la antena en su posición, utilizando cinta o un alfiler.

text_image
Antenna de interior de FM Antenna do oulo de AM ANTENNA M. GNO FM/COX-750Conexión de una antena exterior de FM
Si con la antena que se incluye en el equipo no se pueden sintonizar bien las emisoras, utilice una antena exterior de FM, conecte un adaptador de convertidor al cable coaxial y conecte el adaptador del convertidor al terminal FM COAX (75 Ω/ohmios) del equipo.
Selección de la ubicación de la antena exterior de FM
- Coloque la antena de modo que apunte hacia la antena de transmisión de la emisora.
- Si tiene edificios o montañas delante, coloque la antena en la posición en la que consiga mejor recepción, probando también cambiando la dirección de la antena.
- No instale la antena debajo de líneas eléctricas.
- Hacerlo resulta muy peligroso, ya que los cables de la línea eléctrica podrían tocar la antena. Instale la antena alejada de carreteres y pistas, para evitar el ruido de los coches o trenes.
- No instale la antena en una posición demasiado alta, ya que podría ser golpeada por los rayos.
Instalación de la antena de bucle de AM
Sintonica una omisora de AM (véase la página 65), coloque la artema tan aredada del equipo como lo permita la posición en la que la distorsión y el ruido sean mínimos. En algunos casos es mejor invertir las polaridades. Las transmisiones en AM no pueden recibirse bien si la artema de bucle no está conectada o si está situada cerca de objetos metálicos.
Montaje de la antena de bucle de AM
Monte la antena de bucle de AM que se incluye de la forma en que se indica en la ilustración.

Conexión de la antena de bucle de AM
Conecte la antena de bucle de AM que se incluye a los terminales de antena, tal como se indica en la ilustración.
①Baje la palanca
②Introduzca el cable del altavoz.
③Vuelva la palance a su posición inicial.



Instalación de una antena exterior de AM
Conecta al cable de señales de la antena exterior de AM al terminal de la antena. Asegúrese de que la antena queda puesta a tierra y conecte el cable de tierra a la terminal GND. Compruebe que la antena de bucle de AM qua se incluya con el equipo también queda conectada.

text_image
AM/TENNA AM/CAA Tiera Antenna exterior de AM Aproxadamente 12 metros 8 metros c másAl montar sobre una pared
■ El D-107 y los altavoces (USC-107) pueden montarse sobre una pared.
1 Conecte el cable del sistema a la parte inferior del D-107. (Véase la página 57.)
* No hace falta montar la base.
2 Conecte los cables a los altavoces. (Véase la página 57.)
No hace falta montar la base.
3 Monte el D-107 y los altavoces a la pared utilizando tornillos comercialmente disponibles y los agujeros en los paneles de la parte trasera del D-107 y los altavoces.
* Al montar los tornillos en la pared, por conveniencia se puede utilizar la plantilla incluida para determinar de antemano las posiciones de los tornillos.
* Seleccione los tornillos refiriéndose al diagrama de abajo.
(Agujero, para montar sobre la pared, en el panel trasero de la unidad principal y altavoces)

4 Utilice los agujeros que hay en los paneles de la parte trasera del D-107 y los altavoces para montar el D-107 y los altavoces sobre los tornillos en la pared.
5 Conecte el cable del sistema y los cables del altavoz al subwoofer. (Véase la página 57.)
4 NOMBRE DE LAS PIEZAS, FUNCIONES Y VISUALIZACIÓN
(1) Receptor de CD (D-107), Altavoces (USC-107) et Subwoofer (USW-107)
① Botón ON/STANDBY
- Cuando se presiona y se situa en la posición "ON", la alimentación eléctrica se activa. Presiónelo de nuevo para situario en la posío "STANDBY".
- El color del indicador cambia de la siguiente forma de acuerdo con la condición:
Con la alimentación activada: Verde Durante el modo STANDBY: Rojo
Durante el modo TIMER STANDBY: Naranja
Al estar en espera en el modo económico: Luz desactivada
② Botón FUNCTION
- Utilícelo para seleccionar la función. - Cada vez que pulse este bolón, la función cambiará en el siguiente orden:

ESPAÑOL
③ Botón ■/BAND
- En la función CD, presione este botón para detener la reproducción.
- En la función TUNER, cada vez que presione este botón, la banda y el modo recepción de FM cambiarán de la siguiente forma:
- Pulse los botones ▶▶▶ly ▶◀▶para desplazarse hasta el principio de una pista específica mientras se encuentra en la función CD. (Véase la página 72.)
- Cuando se ajusta la función a "TUNER", pulse este botón para seleccionar el número preajustado. (Véase la página 66.)
- Pulse este botón para seleccionar la función del menú. (Véasa la página 63, 64.)
⑤ Botones VOLUME Y ^
- Pulse estos botones para ajustar el volumen general.
- El volumen aumenta cuando se pulsa el botón ▲ y disminuye cuando se pulsa el botón ▼
- Cuando se pulsa uno de los botones, el nivel del volumen cambia en 65 pasos. El nivel se indica en la pantalla de visualización, oscilando desde "Volume 00" (mínimo hasta "63" luego "Max". IControl Electrónico)
⑥ Puerta del disco
- Pulsal botón ▲ para abrir y cerrar la puerta.
- Cuando se carga un disco, se mete hacia adentro automáticamente y la puerta se cierra.
- La puerta se cierra automáticamente si se deja abierta durante aproximadamente 1 minuto.
7 Botón ▲
- Pulse esta botón para abrir y cerrar la puerta del disco.
- Cuando se pulsa en el modo en espera, la alimentación se activa y la puerta del disco se abre.
⑧ Pantalla de visualización
• Véase la página 59.
⑨ Sensor remoto
- Cuando utilice el mando a distancia (RC-909), dirijalo hacia este sensor.
⑩ Botón ▶/II
- Presione este botón para iniciar la reproducción de un disco.
- Se ajusta el modo pausa cuando se pulsa este botón mientras se está reproduciendo un CD. Cuando se pulsa mientras que está en el modo pausa, vuelve a comenzar a reproducir.
- Cuando se pulsa mientras que la puerta del disco está abierta, la puerta del disco se cierra y comienza la reproducción.
- Si lo presiona mientras se encuentra en el modo STANDBY, la alimentación se activará automáticamente y se iniciará la reproducción [Función de encendido automático]
- Cuando se pulsa mientras que la función está ajustada a cualquier cosa distinta a "CD", la función cambia a "CD" y el CD comienza a reproducir. [Selección automática de función]
⑪ Base de la unidad principal
- Monte utilizando los tornillos incluidos. (Véase la página 57.)
- Ninguna señal sale desde estos terminales cuando la función se ajusta a "AUX".
⑮ Terminal de antena FM
(ANTENNA FM)
• Véase la página 58.
⑯ Terminales de antena AM
(ANTENNA AM)
• Vease la página 58.
⑰ Terminal SYSTEM CONTROL
⑱ Terminales de altavoces
19 Base del altavoz
20 Terminal SYSTEM CONTROL
② Enchufe de corriente eléctrica
② Terminals SPEAKER SYSTEM
(2) Pantalla de visualización
① Visualización del modo de pista
(Sección del temporizador)
- Esto indica el estado del temporizador.
: Esto se ilumina cuando el temporizador se ajusta a "ON". También se ilumina cuando el temporizador se encuentra en el modo en espera. Cuando el temporizador se ajusta a "OFF", el indicador se desactiva, incluso si las horas del temporizador están ajustadas.
SLEEP : Esto se ilumina cuando el temporizador de dormir está activado.
② Visualización del modo de pista
(Sección del reproductor de CD)
- Esto indica el modo de CD.
▶: Se ilumina durante la reproducción
III: Se ilumina durante la pausa.
Se ilumina de la siguiente
durante la reproducción rep
Esto se lumina de la siguiente monera cada vez
siguente: maneda cada que se pulse el botón
REPEAT

(RC-906)
[Para un CD de música]

No iluminado (Repetición del modo desactivado)
[Para ficheros MP3]

(Repetición del modo (Repetición de todas
MP3 : Esto se ilumina cuando se carga un
disco que contiene ficheros de formato MP3.
FILE : Esto se ilumina cuando se visualiza el nombre del fichero en la etiqueta del MP3 ID3.
TITLE : Esto se ilumina cuando se visualiza el nombre del título en la etiqueta del MP3 ID3.
FOLDER : Esto se ilumina en el modo selección de carpeta.
ARTIST : Esto se ilumina cuando se visualiza el nombre del artista en la etiqueta del MP3 ID3.
ALBUM : Esto se ilumina cuando se visualiza el nombre del álbum en la etiqueta del MP3 ID3.
PROG : Se ilumina de la siguiente manera durante la reproducción programada.
RAND : Se ilumina durante la reproducción aleatoria. Esto se ilumina de la siguiente manera cada vez que se pulse el botón RANDOM:

(ПС-909)
[Para un CD de música]
RAND
(Modo aleatorio de
todas las pistas)
No iluminado
(Modo eleatorio
desactivado)
[Para ficheros MP3]
→ FOLDER RAND → RAND
(Modo aleatorio de todas (Modo aleatorio de todas las pistas de 1 carpetal) Las pistas)
No Iluminado de desactivado
③ Sección de visualización de la función del menú
- Esto se ilumina cuando se encuentra en la función del menú.
4 Visualización del modo de pista
(Sección del sintonizador) - Esto indica el modo sintonizador
P.SET : Esto parpadea al preajustar las emisoras AM/FM, luego deja de parpadear cuando la emisoro está preajustado.
AUTO : Esto se ilumina cuando el modo "FM AUTO" se selecciona con el botón ■/BAND.
(1) F : Esto se ilumina durante la recepción del sintonizador cuando una emisera AM o FM está debidamente sintonizada.
ST : Se ilumina cuando se selecciona e modo estéreo.
MONO : Esto se ilumina cuando se selecciona
■ (RAND) y cuando se recibe una
emisión monoaural mientras que se
encuentra en el modo "FM AUTO".
MEMO : Esto se ilumina al preajustar las omisoras AM/FM, luego so desactiva cuando la emisora esta preajustada.
⑤ Visualización del modo de pista (Sección de control del tono)
- Esto indica los modos de ajuste del sonido.
SDB : Esto se ilumina cuando la función SDB (Graves Super Dinámicas) se ajusta a "ON".
TONE : Esto se ilumina cuando el nivel se ha ajustado utilizando los controles del tono (BASS, MID y TREBLE).
⑥ Visualización del modo de pista
(Sección de visualización múltiple)
- Esto indica las varias funciones
- Cuando la función se ajusta a "TUNER", la banda de recepción, la frecuencia de recepción, la hora y las horas de ajuste del temporizador se visualizan aquí.
- Cuando la función se ajusta a "CD", el número de disco, el número de pistas, el número de la pista actual, el tiempo de reproducción y los varios modos de funcionamiento se visualizan aquí.
- Cuando se pulsa el botón MENU, la pantalla de visualización cambia a las visualizaciones de los varios modos.

(1C-909)
ESPAÑOL
5 MANDO A DISTANCIA
■ La unidad de mando a distancia incluida (RC-809) puede utilizarse para manejar el D-107 a distancia
(1) Inserción de las pilas
①Extraiga la tapa posterior de la unidad de mando a distancia.

(2) Inserte dos pilas R03 (AAA) en el compartimiento de pilas en la dirección indicada por las marcas que hay dentro del compartimiento.

③Vuelva a colocar la tapa posterior.

Precaución con las pilas
- En la unidad de mando a distancia debe utilizar pilas R03/AAA1.
- Las pilas deben cambiarse por otras nuevas aproximadamente una vez al año, aunque esto deponderá de la frecuencia con que se utiliza la unidad de mando a distancia.
- Aunque las pilas tengan menos de un año, cámbielas por otras nuevas si la unidad de mando a distancia ya no fuenciona a corta distancia de la unidad principal.
- La pila incluida es sólo per verificare il funzionamento. Cámbiela por otra nueva lo antes posible.
- Cuando ponga pilas nuevas, espere unos dos minutos después de extraer las pilas agotadas antes de insertar las nuevas.
- Asegúrese de colocar las pilas en la dirección correcta ⊕ y ⊙, tal como lo indican las marcas del compartimiento de pilas de la unidad de mando a distancia.
- Cuando no vaya a utilizar la unidad de mando a distancia por prolongados períodos de tiempo, extraiga las pilas.
- Para evitar explosiones y fugas del líquido:
- No utilice una pila nueva con otra usada.
- No utilice dos tipos distintos de pilas. - No realice corto circuitos, no desmonte, caliente o eche las pilas al fuego.
- Si hubiera fugas del líquido de la pila, limpie todo el compartimiento de pilas y luego inserte pilas nuevas.
(2) Uso de la unidad de mando a disntacia

text_image
Aproximadamente 7 metros 30° 30°- Cuando utilice la unidad de mando a distancia dirjala a la unidad principal tal como se ilustra en el diagrama.
- La unidad de mando a distancia puede utilizarse desde una distancia directa de aproximadamente 7 metros de la unidad principal. Esta distancia puede acortarse, sin embargo, si hubiera algún obstéculo o cuando se utiliza desde un ángulo.
- La unidad de mando a distancia funcionará en un ángulo horizontal de hasta unos 30°.
NOTAS:
- La unidad de mando a distancia puede que no funciono bien si el sensor de mando distancia está expuesto a la luz solar directa o a luz artificial fuerte, o si hubiera un obstáculo entre la unidad y el sensor de mando a distancia.
- No pulse los botones de la unidad principal y del mando a distancia al mismo tiempo. De lo contrario puede producirse una averla.
ESPAÑOL
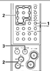
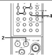
(3) Nombres y funciones de los botones del mando a distancia

text_image
Los botones que no se explican aquí, funcionan de la misma forma que los botones correspondientes situados en la unidad central. Botones de números (1-10, +10) • Pulse este botón para seleccionar el número de pista deseada cuando lo función se ajuste a "CD". • Pulse este botón para llamar a omisoras AV y FM preajustadas utilizando sus números preajustadas cuando lo función se ajuste a "TUNER". Botón TIME La visualización del tempo cambie forma se muestra a continuidon cada vez que se pulse este botón micratos que un CD se encuentra en el modo reproducción o pausa. Tiempo transcurrido de b para que se está reproduciendo actualmente Tiempo restante de la pista que se está reproduciendo actualmente Tiempo restante total del disco (Normalmente se visualiza el tiempo transcurrido de la pista que se está reproduciendo actualmente). Durante la reproducción programada, se visualiza el tiempo restante total de las pistas programadas en vez del tiempo restante total del disco. Para ficheros M*3, se visualiza sólo el tiempo transcurrido de la pista que se está reproduciendo actualmente.) Botón TONE/SDB • El sonido se puede ajustar para que corresponda con sus gustos utilizando los controlles de lato (BASS, M.D y TREFLO) y a función SDB (Vésele la página 71.1) • Csoa vez que se puasa este botón, la penta la cambia como sigue: • Bass 0dB Mid 0dB SDB Off ← Treve 0dB • Los botones - y - se pueden utilizar para aumentar y disminuir el nivel de los gravos, escala moda o agudas cuando el ocescondiente indicador se encuentra il limpieo. • Cuando e indicador SDB (Graves Super Dinámicos) se ilumina, pulse los botones + y - para cambiar la función SDS de activado e desactivado. • La pantalla de visualización vuelve sucondicamente e normal aproximadamente 6 segundos después de que se haya efectuado una operación. Botón POWER Pulse este interruptor para actuar la alimentación de todo el sistema o para ajustar la alimentación en el modo STANDSY. Botón PROG/DIRECT Presione este botón para cambiar entre la reproducción PROGRAM y DIRECT. Vésele la página 70, 74, 78, Botón CALL • Pulse este botón para comprobar los pistas programadas cuando lo función se ajusta a "CD". Vésele la página 74.1 • Pulse este botón para comprobar el número preajustada que está siendo actuamente e sintonzada cuando la función se ajuste a "TUNER". Vésele la página 86.1 Botón CLEAR Presione este botón para eliminar la pista del programa. Botón REPEAT Presione este botón para realizar la reproducción repetida. Vésele la página 74, 78, 77, 78, Botón SLEEP Presione este botón para ajustar el programador de dormir. Vésele la página 70, Botón FUNCTION Botón MUTE Pulse este botón para armudecer temporalmente el sonido. Botones ←→ Botones Y, ▲ • Cuando la función se ajuste a "CD", pulse este botón para avance rápido o retroceso rápido. Vésele la página 72.1 • Cuando se ajusta la función a "TUNER", pulse este botón para sintonizar omisores. Vésele la página 86.1 Botón ■STOP/BANDBotón ▲OPEN/CLOSE
Botón TITLE
Cuando se pulse este mientras que se encuentra en el modo parada con una pista seleccionada y la función ajustada a "CD" con un disco, que cortiene una ctoueta PM3 ID3, cargaco, se visualize el nombre del licero. Cuando se pulse durante la reproducción, a visualización cambio como se muestra a continuación. (Vesse la página 75.)
Tiempo transcumpo de la pista que
se esta reproduiccendo actualmente
Nombre del fichero de la pista actualmente reproducida
Nombre del título
Nombre del artista
Nombre del álbum
Botón DISPLAY
La pantalla de visualización cambio de la siguiente forma cada vez que se pulsa este botón:
[Cuando la función se ajusta a "CD" o "AUX"]
Visualización del estado de
operation
Visualización del tempo
Visualizacinto del volumen
(1)
- Luz desactivada
[Cuando la función se ajusta a "TUNER"] Visualización del estado de
presajuste Icuando se presaista
una emisión
Visualización de la Recuencia
↓
Visualización del tempo
Visualización del volumen
↓

Botón RANDOM
Presione este botón para ajustar las pistas en orden aleatorio. (Véase la página 74, 77.)
Botón FOLDER
Cuando la función se austa a "CD" y se carga un disco que contiene ficheros de formato MP3, pulse el botón FOLDER en el modo parada y luego pulse los botones + y - para seleccionar una carpeta. Cuando se pulse durante la reproducción, se visualiza el nombre de la carpeta que contiene el fichero actualmente reproducció (Véase la página 78.)
Botón MENU
- Esto se utiliza para operer y ajustar venas funciones de D-107. IVéase la página 63.)
- Esto cambia de la siguiente forma cuando se pulse el botón + c - después de pulsar el botón MENU
Ajuste del enilo de la pantalla
de visualizació
Ajuste del modo temperizador
↓
Ajuste 59
Ajuste del modo sintonizador
1
Ajuste del modo económico
(1)
Ajuste del modo desactivación
Ajuste del modo temporizador
- Esto cambia de la siguiente forma cuando se pulsa el botón + o - mientras que se visualiza "Timer Mode":
Aiuste de la hora del
temporizador
;
Auste de ACTIVACION
DESACTIVACIÓN del temporizador
↓
Comprobación del ajuste del
temporizador
Ajuste del modo sintonizador
- Esto cambia de la siguiente forma cuando se pulse el botón + o - mientras que se visualiza "Tuner Mode":
Preajustes
Ajuste del nombre de emisora
ESPAÑOL
6 ABRIR Y CERRAR LA PUERTA DEL DISCO Y CARGAR DISCOS
1 Pulse el botón para conectar la alimentación.
luminado en verde

Unidac

(EC-909)
2 Pulse el botón FUNCTION y ajuste la función a "CD".
FUNCTION

Unidad
principal

(RC-909)
3 Pulse el botón ▲ • La puerta del disco
- Cuando se pulsa en el modo en espera, la
alimentación se
activa y la puerta del disco se abre.

(unidad principal)

(RC-909)
4 Una vez que "Insert Disc" aparece en la pantalla de visualización, cargue el disco en el soporte del disco con la parte etiquetada de cara hacia usted.
* Tenga cuidado de no tocar la superficia de señal del disco.
Asegúrese de que la puerta del disco se encuentra completamente abierta al cargar un disco. (Fig. 1)
* La puerta se abre y se cierra cuando la función se ajusta a cualquier cosa distinta a "CD", pero en este caso la visualización no cambia.
5 El disco se mete hacia adentro automáticamente y la puerta se cierra.
※ Para expulsar el disco, pulse el botón ▲.
* Cuando se pulsa el botón ▶,lldespués de que se haya cargado el disco, la puerta del disco se cierra y comienza la reproducción.

(Unidad principall

(RC-909)

Bandeja del portadisco
※ El soporte de discos es el espacio en la puerta del disco, aquí se coloca el disco.
Fig.1

text_image
Disco de 12 cmNOTAS:
- No cargue discos en el soporte de discos mientras que la puerta del disco se está abriendo o cerrando. El hacerlo podría causar que el disco se caiga del soporte. Asegúrose de que se visualiza "Insert Disc" antes de cargar el disco.
- Si se pillara usted el dedo, etc., mantenga la calma y pulse el botón ▲.
- No introduzca objetos extraños en el soporte del disco. El hacerlo podría causar daños.
- No presione la puerta del disco hacia adentro cuando la alimentación está desactivada.
Retirar un disco que se ha caído del soporte del disco
①Con la puerta del disco abierta, pulse simultáneamente el botón de bajar el VOLUME √ y el botón ▶/III de la unidad principal, luego pulse el botón ■/BAND en el plazo de 3 segundos.
- Se visualiza "Holder Down" y el soporte del disco baja.

(Unidad
principality

(Unidad
principal

dc 3
seg

|Unided
principal
②Déle la vuelta a la unidad colocándola boca abajo y retire el disco.
* Tenga en cuenta que el disco podría estar rayado.
③La alimentación se desactiva.
Alluminado en rojo

[Unidad principal]
7 FUNCIONES DEL MENÚ
■ Asegúrese de fijar la hora real con anterioridad.
■ Se pueden operar varias funciones y se pueden realizar varios ajustes utilizando la función del menú. Pulse el botón + o - después de pulsar el botón MENU para efectuar los ajustes enlistados a continuación.
| Ajuste del ítem | Ajuste de detalles | Página | |
| DisplayNode[Ajuste del brillo de la pantalla de visualización] | Ajuste del brillo de la pantalla de visualización.Saleccione "Normal", "Dimmer-1" o "Dimmer-2". | 63 | |
| Timer Mode[Ajuste del modo temporizador] | Timer-Set?[Ajuste de la hora del temporizador] | Utilice esto para establecer los ajustes del temporizador para todos los día y del temporizador para una vez. | 67, 68 |
| Timer-On/Off[Ajuste de ACTIVACIÓN/DESACTIVACIÓN del temporizador] | Utilice esto para pesar el temporizador para todos los días y el temporizador para una vez a "ON" o "OFF". | 68 | |
| Timer-Check?[Comprobación del ajuste del temporizador] | Utilice esto para comprobar los ajustes del temporizador para todos los días y del temporizador para una vez. | 69 | |
| ClockAdjust[Ajuste del tiempo] | Utilice esto para ajustar la hora actual. | 64 | |
| Tuner Mode[Ajuste del modo sintonizador] | Tuner-Preset[Preajustes] | Utilice esto para almacenar la banda de recepción y la frecuencia en los botones de números. | 65 |
| StationName[Ajuste del nombre de emisora] | Utilice esto para dar nombres a emisoras ajustadas automáticamente. | 66 | |
| Eco Mode[Ajuste del modo económico] | Utilice esto para un consumo de alimentación inferior en el modo en espera.Ajuste a "On" o "Off". | 63 | |
| AutoOf Mode[Ajuste del modo desactivación automática] | Esta función se puede utilizar para ajustar automáticamente la alimentación al modo en espera si el equipo permanece en el modo parede durante la cantidad de tiempo establecida con la función ajustada a "CD". Ajusta a "On" o "Off" y seleccione el tiempo I5, 10, 20 o 30 minutos. | 64 | |
■ El botón MENU funciona en el modo parada y reproducción.
■ Pulse el botón MENU para cancelar la función del menú que se está actualmente ajustando.


Para volver a ajustar las funciones del menú a los valores por defecto, pulse simultáneamente los botores FUNCTION y ▶/■ en la unidad principal, y luego en el plazo de 3 segundos pulse el botón ■/RAND
Se visualiza "RAM CLEAR" durante aproximadamente 2 segundos y los valores se vuelven a ajustar a los valores por defecto.

Ajuste del brillo de la pantalla de visualización

1 Pulse el botón MENU.

DisplayMode
2 Pulse el botón ENTER.

Normal?
3 Pulse los botones +/- para seleccionar el brillo de la pantalla de visualización.
× Cada vez que se pulsa este botones, la pantalla cambia como sigue:
4 Pulse el botón ENTER.
- El ajuste está completado

NOTA:
La pantalla de visualización y los indicadores pemanecen desactivados mientras que el modo en espera está ajustado en el modo económico. Para activar la alimentación, pulse el botón ON/STANDBY de la unidad principal o el botón POWER en la unidad de mando a distancia. (La función de activación de alimentación automática no funciona).
ESPAÑOL
Ajuste del modo económico
■ Asegúrese de fijar la hora real con anterioridad.

1 Pulse el botón MENU.

DisplayMode
2 Pulse el botones +/- para seleccionar "ECO Mode".

ECO Mode
3 Pulse el botón ENTER.

ECO On/OFF?
4 Pulse los botones +/- para hacer que "On" o "Off" destellen.
* El ajuste seleccionado ("On" o "Off" I cambia cada vez que se pulse el botones +/- El ajuste que destella es el que está seleccionado.

5 Pulse el botón ENTER. • El indicador de "MENU" se desactiva y el ajuste está completado.

ESPAÑOL
Ajuste del modo desactivación automática
■ Asegúrese de fijar la hora real con anterioridad.

text_image
1 3, 5, 7 2, 4, 61 Pulse el botón MENU.


2 Pulse el botones +/- para seleccionar "AutoOffMode".


3 Pulse el botón ENTER.


4 Pulse los botones +/- para hacer que "On" o "Off" destellen.

* El ajuste seleccionado ("On" o "Off") cambia cada vez que se pulsa el botoras +/-
El ajuste que destella es el que está seleccionado.
5 Cuando se selecciona "Off"
Pulse el botón ENTER.
- El indicador de "MENU" se desactiva y el ajuste está completado.

Cuando se selecciona "On"
Pulse el botón ENTER.
* Proceda con el paso 6.


6 Pulse los botones +/- para ajustar la hora.
* Cada vez que se pulsa este botones, la pantalla cambia como sigue.
7 Pulse el botón ENTER.
- El indicador de "MENU" se desactiva y la alimentación se ajusta al modo en espera después del tiempo ajustado.
8 AJUSTE DEL RELOJ
■ Asegúrese de fijar la hora real con anterioridad.
[Ejemplo] Para ajustar la hora actual a "7:30 PM Wednesday" (modo de visualización de 12 horas).

text_image
1 2 3,5,7,9 4,6,8,101 Pulse el botón para conectar la alimentación.

2 Pulse el botón MENU.

DisplayMode
3 Pulse el botones +/- para seleccionar "ClockAdjust".

ClockAdjust
4 Pulse el botón ENTER.

Sun 12:00AM
5 Pulse el botones +/- para seleccionar "Wed".

-12:00AM
6 Pulse el botón ENTER.

Wed -1 24:00AM
7 Pulse el botones +/- para ajustar el año "7 PM".

Wed - 00PM
8 Pulse el botón ENTER.

Wed 7:300PM
9 Pulse el botones +/- para ajustar el mes "30".

Wed 7:30PM
10 Pulse el botón ENTER al sonar el sonido que indica que la hora actual es 7:30.

La hora actual se visualiza, el indicador del "MENU" se desactiva y el ajuste está completado.
Wed 7:30PM
* El reloj puede que se desactive hasta 1 minuto por mes. Si está desactivado, vuelva a ajustar la hora.
9 ESCUCHA DE RADIO
(1) Sintonización
[Ejemplo] Sintonización en FM 87,50 MHz


text_image
1 2 3 51 Pulse el botón para conectar la alimentación.
laminado en verde

Unided

(RC-9091)
2 Pulse el botón FUNCTION y ajuste la función a "TUNER".

(Unidad
(RC-909)
3 Pulse el botón ■/BAND para seleccionar "FM".

(Unidad
(RC-909)
4 Pulse el botones
TUNING para llegar a la frecuencia FM 87,50
Cuando se sintoniza una
emisora, el indicador
" III " se ilumina.

(RC-909)
■ Sintonización automática
Cuando se pulse el botón durante más de 0,5 segundos, la exploración se iniciará automáticamente y el sintonizador se parará en la primera amisora difusora que pueda recibirse.
La sintonización no se detendrá automáticamente si el nivel de recepción de la antona os baja (si el indicador " (ITY " no se enciende).
- Para detener la sintonización automática, pulse una vez el botones TUNING (durante menos de 0,5 segundos).
■ Sintonización manual
La frecuencia de recepción cambia cada vez que se pulsa uno de los botores (durante menos de 0,5 segundos).
5 Pulse los botones VOLUME para ajustar el volumen.

(Uniclad onnc ball)

RC-0091
Recepción de programas de FM en estéreo
- Cuando el modo de recepción se ajusta a "FM AUTO" y se sintoniza una emisión en estéreo, el indicador "ST" se ilumina y la emisión se reciba en estéreo.
- Si el nivel de entrada de la antera es bajo y la recepción de ostéreo es inestable, ajuste el modo de recepción a "FM MONO" para recibir en mono y lograr un mejor sonido. El último modo de recepción ajustado se almacera en la memoria.
NOTA:
Cuando hay una televisión cerca puede oirse un zumbido mientras se reciben programas de AM. Si fuera así, separe el equipo lo más posible de la televisión.
(2) Sintonización prefijada
■ Asegúrese de fijar la hora real con anterioridad. ■ Podrá almacenar 30 emisoras de AM y FM en la memoria y llamarlas pulsando un botón.
[Ejemplo] Preajuste de la emisora de FM 87,50 MHz en el número 3.

text_image
7 1, 10 3, 4, 6, 8 5 2, 7 51 Pulse el botón MENU.

DisplayMode
2 Pulse el botones +/- para seleccionar "Tuner Mode".

Tuner Mode
3 Pulse el botón ENTER.

TunerPreset
4 Pulse el botón ENTER.

Fm 87.50MHz
5 Pulse el botón ■/BAND y botones TUNING, recibe la emisora de radio "FM 87,50 MHz" que quiere almacenar en la memoria de preselección.

6 Pulse el botón ENTER.

7 Pulse el botones +/- o de números para mostrar el número que quiere almacenar.

8 Pulse el botón ENTER.

9 Repita los pasos 3 a 7 para ajustar otras emisoras o para cambiar una emisora preajustada.
10 Pulse el botón MENU para completar el ajuste.
- El indicador de "MENU" se desactiva.

* Para cancelar la operación en la mitad, pulse el botón MENU antes de efectuar al paso 7.
NOTAS:
- Si se ha preajustado una emisora en un número en el que ya hay una emisora preajustada, la emisora anterior se sustituida por la nueva
La memoria de preajuste no se borra inmediatamente cuando se desenchufa el cable de alimentación, pero si se borra si este cable queda desenchufado durante un largo periodo de tiempo. Si ocurriera así, vuelva a preajustar las emisoras.
ESPAÑOL
(3) Dar nombres a emisoras preajustadas
■ Asegúrese de fijar la hora real con anterioridad.
■ Se pueden dar nombres de hasta 11 caracteres a emisoras preajustadas.

1 Efectúe los pasos 1 y 2 bajo "Listening to preset stations" de arriba para visualizar el número preajustado de la emisora a la cual desea usted dar un nombre.


text_image
3 Pulse el botones +/- para seleccionar "Tuner Mode". Tuner Mode

text_image
5 Pulse el botones +/- para seleccionar "StationName". StationName6 Pulse el botón ENTER.
- El modo de entrada del caracter está ajustado.


7 Vuelva a pulsar el botón ENTER.

8 Pulse los botones +/- para seleccionar un caracter, luego pulse el botón ENTER o ▶▶ para introducir ese caracter.

- Se introduce el caracter seleccionado, el cursor se mueve al siguiente espacio y la unidad se ajusta al modo en espera de la siguiente entrada de carácter.

* El caracter cambia de la siguiente forma cada vez que se pulsa el botón +. (Orden de visualización) (El caracter cambia en el orden contrario cuando se pulsa el botón -).
ABCDEFGHIJKLMNOPQRSTUVWXYZ012345 6789 · ( ) *+, -. / espacio
Para corregir un caracter que ya haya usted introducido, pulse el botón ◀ para mover el cursor al caracter que desee corregir, luego salaccione el nuevo caracter;

9 Después de introducir el último caracter que desee introducir, pulse el botón MENU.

- El número preajustado seleccionado en el paso 1 destella.
10 Pulse el botón ENTER.
- Se visualiza "Station Name" después de que se visualiza el nombre que haya usted introducido.

11 Para continuar dando nombres, pulse los botones +/- después del paso 6 para visualizar el número preajustado de la emisora a la cual desea usted dar un nombre, luego efectüe los pasos del 7 al 10.
12 Pulse el botón MENU para completar el ajuste.
- El indicador de "MENU" se desactiva.

Para cancelar la operación en la mitad, pulse el botón MENU antes de efectuar el paso 9.
(4) Para llamar la emisora memorizada
[Ejemplo] Escuche la omisora del número de preselección "3" que ha sido fijada en el paso (2).

1 Pulse el botón FUNCTION y ajuste la función a "TUNER".

2 Pulse los botones +/- para seleccionar el número preajustado o pulse el botones de número "3" para visualizar "Preset03".

* Para visualizar el número preajustado, pulsa el botón CALL mientras que escucha una emisora preajustada.
10 UTILIZACIÓN DEL TEMPORIZADOR
(1) Antes de usar el temporizador
■ Asegúrese de fijar la hora real con anterioridad. (Véase la página 64.)
■ El temporizador no se puede ajustar a menos que la hora actual esté ajustada.
■ Asegúrese de preajustar una emisora al utilizar la función del temporizador con el sintonlizador. (Véase la página 65.)
■ Tipos de operaciones con el programador
EVERYDAY TIMER: Utilícelo para activar la alimentación y la reserva a la misma hora todos los días.
ONCE TIMER : Utilicelo para activar la alimentación y la reserva una vez.
SLEEP TIMER : Utilicelo para que la alimentación entre en el modo reserva transcurridos do 10 a 60
minutos, en incrementos de 10 minutos realizado mediante el mando a distancia).
(2) Ajuste del temporizador para todos los días o para una vez
[Ejemplo] Ajuste de la hora para todos los días para reproducir el número preajustado 3 (FM 87,50 MHz) desde 12:35 PM de la tarde a 12:56 PM de la tarde con al volumen ajustado a "24"

1 Pulse el botón para conectar la alimentación.

2 Pulse el botón MENU.

DisplayMode
3 Pulse el botones +/- para seleccionar "Timer Mode".

Timer Mode
4 Pulse el botón ENTER.

Timer Set?
5 Pulse el botón ENTER para seleccionar "Every".

Every Once?
* El ajuste seleccionado ("Every" o "Once") cambia cada vez que se pulsa el botón +/- El ajuste que destella es el que está seleccionado.
6 Pulse el botón ENTER.

On -12400AM
Pulse el botones +/- para especificar las horas de la hora de inicio.

On -1 2400PM
8 Pulse el botón ENTER.

12
9 Pulse el botones +/- para especificar los minutos de la hora de inicio.

On 12:35PH
10 Pulse el botón ENTER.

012388AM
11 Pulse el botones +/- para especificar las horas de la hora de parada.

04F12500PM
12 Pulse el botón ENTER.

0+12-90Pn
13 Pulse el botones +/- para especificar los minutos de la hora de parada.

04+1256PH
ESPAÑOL
14 Pulse el botón ENTER.

CD/Tuner?
* El ajuste seleccionado ("CD" o "Tuner") cambia cada vez que se pulsa el botón +/- El ajuste que destella es el que está seleccionado.
15 Pulse el botones +/- para seleccionar "Tuner Mode".

CD/Tune?
16 Pulse el botón ENTER.

17 Pulse el botones +/-, seleccione la emisora de radio deseada.

18 Pulse el botón ENTER.

19 Pulse el botones +/- para ajustar el volumen.

Tuner Vol 124
ESPAÑOL
20 Pulse el botón ENTER.


flowchart
graph TD
A["On 12:35PM"] --> B["Off 12:56PM"]
B --> C["TunerVol 124"]
C --> D["Ajuste de olumen"]
A -->|Tempo de inicia| B
B -->|Tempo final| C
21 Pulse el botón ENTER.


22 Pulse el botones +/- para seleccionar "TimerOn/Off".


23 Ajuste de ACTIVACIÓN/
DESACTIVACIÓN del temporizador
Pulse el botones +/- para seleccionar "Every".


* El ajuste seleccionado ("Every" o "Once") cambia cada vez que se puisa el botón +/- El ajuste que destella es el que está seleccionado.
24 Pulse el botón ENTER.


25 Pulse los botones +/- para hacer que "On" destellen.


26 Pulse el botón ENTER.
- Esta completa el ajuste del temporizador Alluminado


27 Pulse el botón MENU.


28 La alimentación se desactiva.
- Queda ajustado el modo en espera. (El indicador de la alimentación se vuelve de color naranja).
- El temporizador se activa cuando se a carza la hora de inicio del temporizador.
■ Cambio de los ajustes del temporizador Vuelva a ajustar el temporizador desde el comienzo utilizando los ajustes deseados. Los ajustos previos se borran y so ajustan los nuevos ajustes.
■ Si hay un apagón
- Si hay un apagón o si el cable de la alimentación está desenchufado de la toma de alimentación, los ajustes de hora se borran. Vuelve a ajustar la hora actual.
- Los ajustes del temporizador para una vez se borran. Vuelva a ajustar el temporizador.
- Si los ajustes del temporizador para una vez y los preajustes del sintonizador se borran, vuelva a realizar los preajustes.
[Ejemplo] Escuchar un CD utilizando el temporizador para una vez

1 Pulse el botón ▲ y cargue el CD.
- La alimentación s activa y la puerta del disco se abre.

(Unidad principal) [RC-909]
2 Ahora siga los pasos del 2 al 27 en la página 67, 68.
* Seleccione "Once" en el paso 6, "CD" en el paso 16 y "Once" en el paso 23.
NOTA:
Al ajustar la función mientras que ajusta el temporizador, el temporizador se puede ajustar seleccionando "CD" incluso si no hay un disco cargado.
En este caso, aparoco "Insert Disc" en la pantalla de visualización. Pulse el botón ▲ e introduzca un disco.
ESPAÑOL
(3) Activando y desactivando el temporizador para todos los días y el temporizador para una vez
■ Los temporizadores se pueden activar y desactivar.

1 Pulse el botón MENU.

DisplayMode
2 Pulse el botones +/- para seleccionar "Timer Mode".

Timer Mode
3 Pulse el botón ENTER.

Timer Set?
4 Pulse el botones +/- para seleccionar "TimerOn/Off".

TimerOn/Off
5 Pulse el botón ENTER.

6 Pulse los botones +/- para hacer que "On" o "Off" destellen.

* El ajuste seleccionado
("On" o "Off") cambia cada
vez que se pulsa el botones
+/-
El ajuste que destella es el que está
seleccionado.
7 Pulse el botón ENTER.

[Ejemplo]
Cuando el temporizador
para todos los días haya sido seleccionado
E. Timeroff?

8 Pulse los botones +/- para hacer que "On" o "Off" destellen.
* El ajuste seleccionado
("On" p. "Off") cambia cada
vez que se pulsa el botones
+/-
El ajuste que destella es el que está
seleccionado.
9 Pulse el botón ENTER.

Timer Mode
10 Pulse el botón MENU para completar el ajuste.
- El indicador de "MENU" se
desactiva.
(4) Para comprobar el ajuste del temporizador

1 Pulse el botón MENU.

DisplayMode
2 Pulse el botones +/- para seleccionar "Timer Mode".

Timer Mode
3 Pulse el botón ENTER.

Timer Set?
4 Pulse el botones +/- para seleccionar "TimerCheck".

TimerCheck?
5 Pulse el botón ENTER. [Ejemplo]
Cuando el temporizador para todos los días se ajusta a "On" y el temporizador para una vez se ajusta a "Off"
。

6 Pulse los botones +/- para hacer que el indicador del temporizador que des usted comprobar destelle.

* El ajuste seleccionado ("On" o "Off") cambia cada vez que se pulsa el botones +/-. El ajusto que destella es el quo esta seleccionado.
* Los ajustes del temporizador se pueden comprobar siempre que estén ajustados, incluso cuando el temporizador está desactivado.
7 Pulse el botón ENTER.
[Ejemplo]
Cuando al temporizador para
todos los días haya sido
seleccionado
Tiempo de inicio
On 12:35PM

8 Pulse los botones +/- para comprobar los ajustes del temporizac
Cada vez que se pulsa este botones, la pantalla cambia como sigue:
On 12:35PM
Tiempo de inicio
- OFF12:56PM
Tiempo final
TunerVol24
Ajuste de función y volumen
9 Pulse el botón ENTER.

Timer Mode
10 Pulse el botón MENU para completar el ajuste.
- El indicador de "MENU" se desactiva.

ESPAÑOL
(5) Orden de prioridad del temporizador para todos los días y para una vez
■ Si las horas ajustadas de los temporizadores para todos los días y para un día se sobreponen, el temporizador para un día tiene prioridad.
[Ejemplo 1] Cuando se alcanza la hora de inicio del temporizador para una vez después de que la alimentación se haya activado con el temporizador para todos los días ①

text_image
EVERYDAY TIMER ON OFF ON OFF ON Once TIMER La función cambia a como está ajustada con los ajustes del temporizador para una vez. Alimentación desactivada[Ejemplo 2] Cuando se alcanza la hora de inicio del temporizador para una vez después de que la alimentación se haya activado con el temporizador para todos los días (2)

flowchart
graph LR
A["EVERYDAY TIMER"] --> B["ON"]
B --> C["OFF"]
D["ON"] --> E["La función cambia a como está ajustada con los ajustes del temporizador para una vez."]
E --> F["Alimentación desactivada"]
[Ejemplo 3] Cuando se alcanza la hora de inicio del temporizador para todos los días después de que la alimentación se haya activado con el temporizador para una vez ①

flowchart
graph LR
A["EVERYDAY TIMER"] --> B["ON"]
B --> C["OFF"]
D["ONCE TIMER"] --> E["ON"]
E --> F["OFF"]
G["Alimentación desactivada"] --> H["La función no cambia a como está ajustada con los ajustes del temporizador para cada día."]
[Ejemplo 4] Cuando se alcanza la hora de inicio del temporizador para todos los días después de que la alimentación se haya activado con el temporizador para una vez (2)

text_image
EVERYDAY TIMER ONCE TIMER ON ON OFF La función no cambia a como esta ajustada con los ajustes del temporizador para cada día. Alimentación desactivada OFF[Ejemplo 5] Cuando las horas de inicio del temporizador para cada día y del temporizador para una vez son igualos

flowchart
graph LR
A["EVERYDAY TIMER"] --> B["ON"]
C["ONCE TIMER"] --> D["ON"]
B --> E["OFF"]
D --> F["OFF"]
G["La unidad opera como está ajustada con los ajustes del temporizador para una vez."] --> H["Alimentación desactivada"]
(6) Operación de desconexión automática
■ La hora de apagado se puede establecer hasta en 60 minutos en intervalos de 10 minutos.
[Ejemplo] Ajustar de forma que la alimentación se ajuste al modo de en espera después de 50 minutos

1 Pulse el botón FUNCTION para seleccionar la función deseada y comenzar la reproducción.
2 Pulse el botón SLEEP dos veces.
- Se iluminará el indicador "SLEEP".


* Cada vez que se pulsa este botón, la pantalla cambia como sigue:

3 La alimentación se ajusta al modo en espera después de 50 minutos
☒ Pulse repetidamente el botón SLEEP hasta que el indicador "SLEEP" se apague. El temporizador de dormitado también se anula si se apaga al equipo.
NOTAS:
- Cuando se pulsa el botón SLEEP mientras que el temporizador de dormir está operando, el ajuste de la hora vuelve a "60". Termine el ajuste.
- Cuando las horas del temporizador de dormir, del temporizador para todos los días y del temporizador para un día se sobreponen, el temporizador de dormir tiene prioridad.
| Ajustes del temporizador para cada día/ temporizador para una vez | 8:00 PM | 9:00 PM | 10:00 PM |
| ON | OFF |


- El temporizador para cada día y el temporizador para una vez no operan si sus horas de inicio se encuentran durante el tiempo en el que el temporizador de dormir opera.
| Ajustes del temporizador para cada día/temperizador para una vez | 8:00 PM | 9:00 PM | 10:00 PM |
| No opera | |||
| ON | OFF | ||
| + | ON | OFF | |
ESPAÑOL
11 AJUSTE DEL TONO
■ Las graves (BASS), escala media (MID), agudas (TREBLE) graves super dinámicas (ISDB) cada una puede ser ajustada para conseguir el tono desado.

1 Pulse el botón TONE/SDB para ajustar el tono y visualizar el modo.
* Cada vez que se pulsa ostó botón, la pantalla cambia como sigue:


2 Para ajustar las graves, escala media o agudas
Pulse los botones +/- para ajustar el nivel.
- El nivel se puede ajustar en la escala del -10 al 0 al +10 en pasos de 2.
- El indicador de "TONE" se visualiza cuando el nivel se ajusta a cualquier cosa distinta a 0dB.
Para ajustar el SDB
■ El volumen del sonido grave aumenta según el volumen global y el ajuste BASS da arriba.
Pulse el botones +/- para seleccionar "On" o "Off". - Cuando se ajusta a "On", el indicador "SDB" se ilumina.

3 El valor ajustado se visualiza durante aproximadamente 5 segundos, después de los cuales la visualización vuelve a normal.
Acerca de la instalación
La calidad del sonido que producen los altavoces depende del tamaño de la habitación, del tipo de habitación (estilo japonés o estilo occidental) y de como están montados los altavoces. Ajuste el sonido para que corresponda con sus gustos.
■ Acerca de la instalación de la unidad principal
Al instalar sobre un escritorio o una mesa, monte la base incluida y coloque la unidad verticalmente. (Véase la página 57.)
El disco puede que se caiga del soporte de discos si se coloca la unidad de cualquier otra forma que no sea la vertical. (Véase la página 62.)
■ Acerca de la instalación del altavoz
- Ajuste los altavoces lo suficientemente separados el uno del otro para lograr un efecto estéreo adecuado (sentido de expansión).
- Se recomienda colocar los altavoces a por lo menos 7 cm de la D-107. (Vea el diagrama a continuación).
■ Acerca de la instalación del subwoofer
- La estabilidad del sonido del equipo se ajusta asumiendo que el subwoofer se encuentra instalado en el suelo.
- Si se coloca el subwoofer contra una pared, el sonido grava puede que parazca ampliado debido a que el sonido rebota en la pared. Ajuste el sonido grave (BASS) para que corresponda con sus gustos.
* Vea "Ajuste del toro" para conseguir instrucciones de ajuste del sonido grave IBASSI.

text_image
7 cm e más En el suelo12 REPRODUCCIÓN DE CDs
(1) Reproducción de CDs

text_image
1 2 3
text_image
1 2 31 Pulse el botón para conectar la alimentación.
lluminado en verde

|Unidad principal|

(RC-909)
2 Cargue el CD. (Véase la página 62.)

principal)

IRC-909|Un|dec
3 Pulse el botón ▶/II para iniciar la reproducción.

principal

IRC-909|Un|dad
(2) Detener la reproducción

1 Pulse el botón ■/BAND durante la reproducción.
■ / BAND

(Unidad principal)

(RC-909)
NOTAS:
- Se visualiza "No Disc" cuando no se carga ningún disco o el disco está cargado de cara hacia abajo.
- De acuerdo con la calidad de grabación, algunos CD-R/RW no se pueden reproducir.
- El tiempo restante de todas las pistas/1 pista, no se visualiza si la información del disco se no puede leer adecuadamente debido a rayaduras o suciedad. En este caso, tardará algún tiempo en indicar.
- Cuando se pulsa el botón ▲o ▶/Imientras que se encuentra en el modo de en espera, la alimentación se activa y se efectúa la operación de carga /descarga del disco o la operación de reproducción.
- No utilice discos con adhesivo de celo o la etiqueta de un disco de alquilar despegados o con restos de adhesivo después de quitar la etiqueta. Si se utiliza un disco en estas condiciones, puede ocurrir que el disco no sea expulsado o que se rompa.
ESPAÑOL
(3) Búsqueda de la posición deseada mientras se oye la música .... [Búsqueda danual]
■ Utilice esta función para saltar rápidamente por el disco mientras escucha la música.
Esta función es muy útil cuando se desea encontrar una sección determinada dentro de una pista larga.
Búsqueda hacia adelante
![DENON DA03 - Búsqueda de la posición deseada mientras se oye la música .... [Búsqueda danual] - 1](/content/2026/02/380340/images/0a6c71263dae76ff9d90ee9ab05a65fe3151bd408f3ad6748996f2689ad8730e.jpg)
1 Durante la reproducción, pluse y mantenga pulsado el botón ▶▶.

- El indicador "►" destella.
- Se reanuda la reproducción normal desde el punto en que se haya liberado el botón.

(Reproducción) Salto SaltoSaltoSaltoSalto
* La reproducción se detiene si se llega al final de la última pista mientras se pulsa el botón ▶▶.
Para una búsqueda hacia adelante a alta velocidad sin que se oiga la música, pulse el botón ▶▶ mientras esta en el modo pausa.
NOTA:
Puede que se produzca una ligera interrupción de audio al volver a la reproducción normal desde el modo de búsqueda manual.
Búsqueda hacia atrás

1 Durante la reproducción, pluse y mantenga pulsado el botón ◀◀.
- El indicador "►" destella
- La reproducción normal se reanuda desde el punto en el que se ha soltado el botón.
Pluse y mantienga pulsado el botón ◀◀.

La búsqueda manual se detiene y comienza la reproducción si se llega al principio de la primera pista mientras se pulsa el botón ▶▶.
Para una búsqueda hacia atrás a alta velocidad sin que se oiga la música, pulse el botón ▶▶ mientras está en el modo pausa.
(4) Búsqueda del comienzo de las pistas durante la reproducción
[Búsqueda automática]
Ir al comienzo de la pista siguiente

1 Durante la reproducción, pulse el botón ▶▶▶.
Durante la operación de búsqueda, pulse el botón ▶▶Imuovamente para seguir más hacia adelante hasta el principio de la siguiente pista.


IRC-909;Unidsc principa)

Vuelta al principio de la pista actual

1 Durante la reproducción, pulse el botón I◀◀.
Durante la operación de búsqueda, pulse el botón 🔍️▲▲ nuevamento para ir más hacia atrás hasta el comienzo de la pista anterior.


(RC 909)(Unidad principal)

ESPAÑOL
(5) Detención temporal de la reproducción .... [Pausa]
■ Utilice esta función para detener temporalmente la reproducción, luego reanude desde el mismo punto.
![DENON DA03 - Detención temporal de la reproducción .... [Pausa] - 1](/content/2026/02/380340/images/a045c20fea53ccb3340daabdc17cbbbcc30281ae0384a507e5ed82785ad01cf4.jpg)
text_image
1 Durante la reproducción, pulse el botón 2 10![DENON DA03 - Detención temporal de la reproducción .... [Pausa] - 2](/content/2026/02/380340/images/3b5aa95c03a93944be56467ca7f0b8257a871df7adecdb90b2cd6fdf2d67c63e.jpg)
![DENON DA03 - Detención temporal de la reproducción .... [Pausa] - 3](/content/2026/02/380340/images/f27246d1e6fd734125c435cc70e5086fe9e7567d57a16f8155da84c15f1bcff9.jpg)
flowchart
graph TD
A["4° piota"] --> B["3° piota"] --> C["6° piota"]
D["Durante la reproducción, pulse el botón ▶II."] --> E["Queda ajustado el modo pausa."]
F["1° Pausal"] --> G["Durante la pausa, pulse el botón ▶III."]
H["La reproducción comienza."]
☒ Pulse el botón ▶,II para reanuder la reproducción desde el punto en el que se había activado el modo de pausa.
(6) Reproducción de una pista determinada .... [Búsqueda directa]
![DENON DA03 - Reproducción de una pista determinada .... [Búsqueda directa] - 1](/content/2026/02/380340/images/6280df26f1c0daed68a2ba5c465c39858817ee637a93006c2706e4a009359636.jpg)
1 Pulse los botones de números para dar entrada al número de la pista deseada.
- La reproducción comenzará desde esta pista.
[Ejemplo]
Para reproducir a pista número 4: ④
Para reproducir a pista número 12
Para reproducir a pista número 30
![DENON DA03 - Reproducción de una pista determinada .... [Búsqueda directa] - 2](/content/2026/02/380340/images/b21b9d158ad04f91ced3e21277f85b51533f8af8f78f393c71b14f921b60fb2d.jpg)
![DENON DA03 - Reproducción de una pista determinada .... [Búsqueda directa] - 3](/content/2026/02/380340/images/0a4b236d574cf3dd0fbe0b55ed39d72194e89111531f9e547e4697882dcadd7c.jpg)
![DENON DA03 - Reproducción de una pista determinada .... [Búsqueda directa] - 4](/content/2026/02/380340/images/5ca058eb62a8a1e1abd5c704c383124f7b9fa2937c503085051614fa0d319c6e.jpg)
Para utilizar la función de reproducción directa durante la reproducción programada, primero detanga la reproducción y luego pulsa el botón PROG/DIRECT para cancelar el modo de reproducción programada.
(7) Detener la reproducción después de la indicación .... [Pausa]
Indicar utilizando la función de búsqueda directa
El modo pausa se puede ajustar después de que una pista es indicada utilizando la función de búsqueda directa por conveniencia al grabar en un cinta o MD.

1 Durante la reproducción, pulse el botón ▶/III.

2 Pulse los botones de números o ▶▶▶, I◀◀ para dar entrada al número de la pista deseada.


* Pulse el botón ▶/II para comenzar la reproducción.
Indicar con la función de búsqueda programada

1 Inicie el modo de reproducción programada. (Véase la página 74.)
2 Pulse el botón ▶/II. • Quada ajustado el modo pausa

3 Pulse los botones ▶▶lo 1◀◀para dar entrada al número de la pista deseada.

* Pulse el botón ▶/■ para comenzar la reproducción.
ESPAÑOL
(8) Reproducción de pistas en un orden determinado .... [Reproducción programada]
■ Utilice esta función para seleccionar ciertas pistas del disco y prográmelas para que se reproduzcan en un orden determinado.
■ Se pueden programar hasta 30 pistas.
![DENON DA03 - Reproducción de pistas en un orden determinado .... [Reproducción programada] - 1](/content/2026/02/380340/images/330314244eddcd35272b1b566b8874f228dd9fa3d69b5cd6a3b17409cc6f2dbf.jpg)
1 Estando en el modo de parada, pulse el botón PROG/DIRECT.
- Se iluminará el indicador "PROG".
![DENON DA03 - Reproducción de pistas en un orden determinado .... [Reproducción programada] - 2](/content/2026/02/380340/images/d800fecc9750dd0b8222912e4da03d83d16d26ad21e11255116592cb3c8173ff.jpg)
2 Pulse los botones de números para seleccionar las pistas de la reproducción programada. (Ejemplo)
Para programar la 5 ^o , 12 ^o y 7 ^s pistas, pulse ⑤, ⑩, ② ⑦.
3 Pulse el botón ▶/II.
- Las pistas son reproducidas en el orden programado.
![DENON DA03 - Reproducción de pistas en un orden determinado .... [Reproducción programada] - 3](/content/2026/02/380340/images/25d375271cf86275603e8c0c14039032fd06ef6c1744f2c9b8568dfd3a8610cd.jpg)
Para comprobar el contenido del programa, pulse el botón CALL. Cada vez que se pulse el botón CALL aparecerán las pistas programadas en el orden programado en la pantalla do visualización.
Para cambiar los ajustes del programa, pulse el botón PROG/DIRECT, borre todo el programa, y después repita los pasos del 1 al 3.
Para borrar todo el programa, pulse el botón PROG/DIRECT mientras está en el modo de parada.
Para utilizar la función de reproducción directa, primero pulse al botón PROG/DIRECT mientras que se encuentra en el modo parada para cancelar el modo programa
* La última pista programada se borra cada vez que se pulsa el botón CLEAR.
NOTAS:
- La programación no os posible en el modo reproducción o pausa.
- La búsqueda directa no es posible durante la reproducción programada.
- No se puede ajustar el modo de una pista durante la reproducción programada.
- La reproducción aleatoria no es posible durante la reproducción programada.
(9) Reproducción en orden aleatorio ...... [Reproducción aleatoria]
■ Utilice esta función para reproducir todas las pistas del disco en orden aleatorio.
![DENON DA03 - Reproducción en orden aleatorio ...... [Reproducción aleatoria] - 1](/content/2026/02/380340/images/a85c1af63a8c0224e98ae497dba0fcbc0b042aec4c6619e6bd4e910d43901670.jpg)
1 Estando en el modo de parada, pulse el botón RANDOM.
- Se iluminará el indicador "RAND"
![DENON DA03 - Reproducción en orden aleatorio ...... [Reproducción aleatoria] - 2](/content/2026/02/380340/images/1477f901e83087f30887e7c7c58d844b246c1bfdc374413fa239f97ab284b5bd.jpg)
2 Pulse el botón ▶/III.
- Las pistas se reproducen automáticamente en orden alcatorio.
![DENON DA03 - Reproducción en orden aleatorio ...... [Reproducción aleatoria] - 3](/content/2026/02/380340/images/ce4e1eadcc455af73ef0afbf70c7e1036a48769255dc7961b42c88c683b0e116.jpg)
☒ Pulse el botón REPEAT durante la reproducción aleatoria para ajustar el modo repetición aleatoria de todas las pistas. Se reproducen todas las pistas de una vez en orden aleatorio, luego se rapitan en otro orden aleatorio.
Para cancelar el modo de reproducción aleatorio, ponga el modo de parada o bien pulse el botón RANDOM otra vez.
NOTAS:
- El modo de reproducción aleatoria no se puede ajustar mientras se encuentra en el modo reproducción o pausa.
- El modo de repetición de una sola canción no so puede activar durante la reproducción alestora.
- El tiempo restante de todas las pistas no se visualiza durante la reproducción aleatoria.
- El modo de reproducción aleatoria no se puede ajustar cuando se encuentre en el modo repetición de todas las pistas.
(10) Repetición de la reproducción ...... [Repetición de reproducción]
Repetición de la reproducción de todas las pistas [Repetición de todas las pistas]
![DENON DA03 - Repetición de la reproducción ...... [Repetición de reproducción] - 1](/content/2026/02/380340/images/f030d63ebacf90f0dbc60fb4030d9b2c861578f8c9eca0bd37a7b69ee121afb0.jpg)
1 Estando en el modo de parada, pulse el botón REPEAT dos veces.
- Se iluminará el indicador " ⊆ "
![DENON DA03 - Repetición de la reproducción ...... [Repetición de reproducción] - 2](/content/2026/02/380340/images/f729b6cc96b8f9812b0fce38bc43c7047fc50eb5cfc3f878f30c49670fe4d4e3.jpg)
2 Pulse el botón ▶/II.
- El disco es reproducido repeticamente.
- Una vez de que se haya reproducido la última pista del disco, la reproducción continúa desde el principio de la primera pista.
* El modo de repetición de todas las pistas también se puede activar pulsando el botón REPEAT dos veces durante la reproducción.
* Si se pulsa el botón REPEAT durante la reproducción programada, se reproducen todas las pistas repetidamente en el orden programado.
* Para cancelar el modo de repetición de todas las pistas, pulse el botón REPEAT repetidamente hasta que el indicador " ⊃" se apague.
NOTA:
El modo de reproducción aleatoria no se puede ajustar cuando se encuentra en el modo repetición de todas las pistas.
Repetición de la reproducción de una sola pista
[Repetición de una sola pista]
![DENON DA03 - [Repetición de una sola pista] - 1](/content/2026/02/380340/images/05b62fb33d6da00b3e2b51c221e4ab758daf25fc8c589a2e09f2b3ee2680116e.jpg)
text_image
1 2 31 Pulsar el botón REPEAT una
vez.
- Se iluminará el indicador " ⊆1 "

2 Pulse los botones de números o ▶▶▶▶, ▶◀◀ para dar entrada al número de la pista deseada.


* El paso 3 se puede saltar cuando una pista se selecciona utilizando los botones de números.
3 Pulse el botón ▶/II.
- La reproducción comienza. - Una vez que haya terminado la pista seleccionada, vuelve a ser reproducida desde el principio.
Pulse el botón REPEAT una vez.

※ El modo de repetición de una sola pista también puede activarse pulsando el botón REPEAT durante la reproducción. La pista que esté reproduciéndose en ese momento vuelve a repetirse.
Para cancelar el modo de repetición de una sola pista, pulse el botón REPEAT repetidamente hasta que el indicador “⊆” se apague.

[Non-Text]

ESPAÑOL
13 REPRODUCCIÓN DE FICHEROS MP3
■ Hay muchos lugares en Internet desde donde puede usted descargar ficheros de música en formato MP3. Estos ficheros se pueden descargar siguiendo las instrucciones en el lugar y almacenarlos en discos CD-R/RW que pueden ser reproducidos en el D-107.
La música en los CDs de música disponibles comercialmente se puede convertir en ficheros MP3 en un ordenador utilizando programas de codificación MP3. Una vez hecho esto, los datos se reducen a aproximadamente 1/10 del tamaño original. Estos datos MP3 se pueden luego almacenar en un disco CD-R/RW, permitiéndole crear un simple disco de 12 cm CD-R/RW que contiene alreadedor de 10 veces más música que un CD de música normal, lo que significa unas 100 pistas o más (*).
* Esto es un valor aproximado para ficheros MP3 de pistas de aproximadamente 5 minutos de duración convertidos a una razón estándar de bit (128 kbps) y almacenarlos en un disco CD-R/RW con una capacidad de 650 MB.
* Las grabaciones que usted realice son para su uso exclusivo y no deberían de utilizarse de forma que infrinja los derechos de autor así como las leyes del copyright.
NOTAS:
- El D-107 es compatible con "MPEG-1 Audio Layer-3" y "MPEG-2 Audio Layer-3" estándar Ifrecuencias de muestreo -32 kHz, 44,1 kHz y 48 kHz. No es compatible con "MPEG-2.5 Audio Layer-3", MP1 o MP2 estándar.
-
Al escribir ficheros MP3 en un disco CD-R/RW, ajuste el formato del programa de escritura a "ISO9660 level 1" o "ISO9660 level 2", "Joliet" o "Romeo". Los ficheros MP3 escritos en otros formatos puede que no se reproduzcan como es debido. Con algunos programas de escritura no es posible grabar en formato "ISO9660". Utilice un programa de escritura de formato "ISO9660".
-
Hablando en general, cuanto mayor sea la razón de bit del fichero MP3, mejor es la calidad del sonido. Con el D-107 se recomienda utilizar ficheros MP3 escritos con una razón de bit de 128 kbps o superior.
- El programa de escritura puede cambiar la posición de las carpetas y ficheros al escribir ficheros MP3 en el disco CD-R/RW, de forma que los ficheros puede que no se reproduzcan en el orden esperado.
- Asegúrese de dar a los ficheros MP3 la extensión "MP3". Los ficheros con extensiones distintas a "MP3" o sin extensiones no se pueden reproducir. (En ordenadores Vladintas, se pueden reproducir los ficheros MP3 añadiendo la extensión "MP3" después del nombre del fichero consistiendo en un máximo de 8 letras mayúsolas de tipo Roman y/o numorales cuando se graban en un disco CD-R/RIWI.
-
Para proteger el copyright, no salen señales digitales al reproducir ficheros MP3.
-
Se puede reproducir un máximo de 512 carpetas en el D-107. Sin embargo, carpetas que se encuentren a unas 8 capas por debajo, no se puede reproducir. El número máximo de ficheros es también 512. Si hay 513 ficheros, sólo se reproducirán los primeros 512. ¡No es posible la reproducción aleatoria si hay 257 ficheros o más. Los ficheros distintos a los que tienen la extensión “MP3” no se cuentan).
- En el D-107, los nombres de carpeta y fichero se pueden visualizar como títulos. Se muestran letras mayúsculas de tipo Roman y/o numerales y “...” (subrayar). ¡Sin embargo, se puedan visualizar un máximo de 12 caracteres en el modo “Joliet” y 32 caracteres en el modo “Romeo”). Además, los nombres de carpetas y ficheros que utilican otros símbolos no se visualizarán adecuadamente.
- El D-107E es compatible con la etiqueta ID3 (Ver 1.º).
- Puode que no sea posible reproducir algunos discos CD-R/RW debido a la suciedad, a rayaduras o a las características del disco.
- No aplique sellos o cinta a la etiqueta o al lado de la señal de los discos CD o CD-R/RW. La cola podría llegar a la superficie del disco, haciendo que el disco se queda atascado dentro del equipo.
- El D-107 es multi-sesión compatible. Sólo se pueden reproducir CDs de música si la primera sesión es un CD de música, y sólo se pueden reproducir ficheros MP3 si la primera sesión consiste en ficheros MP3.
- El D-107 no es compatible con paquetes de programas da escritura.
- El D-107 no es compatible con listas de reproducción.
ESPAÑOL
(1) Reproducción de una pista determinada .... [Reproducción de carpetas o ficheros]
![DENON DA03 - Reproducción de una pista determinada .... [Reproducción de carpetas o ficheros] - 1](/content/2026/02/380340/images/d238becf9189820e61fe6573b95bccb6502de7bc8a377e640351372dc701f657.jpg)
![DENON DA03 - Reproducción de una pista determinada .... [Reproducción de carpetas o ficheros] - 2](/content/2026/02/380340/images/da0392c6dd885331f60cc7d661b722592468436c7464b0755604ed6fa4c8d281.jpg)
[Ejemplo] Cuando el número de carpetas es "120" y el número de ficheros es "512"
MPS 120F-512M
2-1 Para seleccionar una carpeta
① En el modo parada, pu el botón FOLDER para activar el indicador "FOLDER".
② Pulse los botones +/- para seleccionar la carpeta que desee escuchar.
- El nombre de la carpeta aparece en la pantalla de visualización.


(RC 909)
2.2 Para seleccionar un fichero
① En el modo parada, pulse el botón TITLE para activar el indicador "FILE".
* Esta operación es necesaria solo cuando aparece el indicador "FOLDER".
② Pulse los botones +/ para seleccionar el fichero que desee escuchar.
- El nombre del fichero aparece en la pantalla de visualización.

(NC-909)
3 Pulse el botón
▶/II.
- Después de visualizar el número de la pista, el
nombre de carpeta o (Unité principal) fichero aparece en la pantalla de visualización y comienza la reproducción.
- El modo parada se ajusta automáticamente una vez que se haya reproducido la última pista en el disco.
* Cuando durante la reproducción se pulsa el botón TIME, el indicador "FOLDER" o "FILE" se desactiva y se visualiza el número de la pista del tiempo de pista transcurrido.

(RC-906)
visualización cambia de la siguiente forma da vez que se pulsa el botón TITLE durante la producción:
ombre del fichero (Se iluminaré el indicador "FILE".)
Nombre del título (Se iluminata el indicador: "TITLE")
Nombre del artista (Se iluminará el indicador "ARTIST").
Nombre del álbum (Se iluminará el indicador "ALBUM")
- Tiempo transcurrido de la pista que se esta reproduciendo actualmente
Se visualiza "No Title", "No Name" y "No Album Name" si no hay datos para el nombre del título, nombre del artista o nombre del álbum, respectivamente.
(2) Reproducción de pistas en un orden determinado
[Reproducción programada de carpetas o ficheros]
■ Utilice esta función para seleccionar ciertas pistas del disco y prográme las para que se reproduzcan en un orden determinado.
■ Pueden ser programados un máximo de 30 ficheros y carpetas. (Los programas pueden incluir tanto ficheros como carpetas).
![DENON DA03 - [Reproducción programada de carpetas o ficheros] - 1](/content/2026/02/380340/images/6c1636c58858e5f3918b81c6c1a5493e9ef0bb7a829536f7685b1a37b0fa52c7.jpg)
1 Estando en el modo de parada, pulse el botón PROG/DIRECT.
- Se iluminará el indicador "PROG"
![DENON DA03 - [Reproducción programada de carpetas o ficheros] - 2](/content/2026/02/380340/images/28691518dd35dbc3b92b1ac09e7eef6146456624ce18db7fe60d5c673df171b3.jpg)
2-1 Para seleccionar una carpeta
① Pulse el botón FOLDER para activar el indicador "FOLDER".
② Pulse los botones de números para seleccionar la carpeta que desea usted programar.

[Ejemplo] Cuando se programa la carpeta "5" en el primer lugar

NOTAS:
- La programación no es posible en el modo reproducción o pausa.
- La búsqueda directa no es posible durante la reproducción programada.
2-2 Para seleccionar un fichero
① Pulse el botón TITLE para activar el indicador "FILE".
* Esta operación es necesaria solo cuando aparece el indicador "FOLDER".
② Pulse los botones de números para seleccionar el fichero que desea usted programar.

[Ejemplo] Cuando se programa la pista 21 en
al segundo lugar

3 Pulse el botón ▶/II.
- Las pistas son reproducidas en el orden programado.
* Cuando durante la reproducción se pulsa el botón TIME, el indicador
"FOLDER" o "FILE" se desactiva y se visualiza el número de la pista del tiempo de pista transcurrido.
Para comprobar el contenido del programa, pulse el botón CALL. Cada vez que se pulse el botón CALL aparecerán las pistas programadas en el orden programado en la pantalla de visualización.
* Para cambiar los ajustes del programa, pulse el botón PROG/DIRECT, borre todo el programa, y después repita los pasos del 1 al 3.
* Para horrar todo el programa, pulse al botón PROG/DIRECT mientras está en el modo de parada.
* Para utilizar la función de reproducción directa, primero pulse el botón PROG/DIRECT mientras que se encuentra en el modo parada para cancelar el modo programa.
* La última pista programada se borra cada vez que se pulsa el botón CLEAR.
ESPAÑOL
(3) Reproducción en orden aleatorio
[Reproducción aleatoria
■ El D-107 es compatible con discos que contienen hasta 256 pistas
Escuchar todas las pistas en orden aleatorio [Reproducción aleatoria de todas las pistas]
■ Utilice esta función para reproducir todas las pistas del disco en orden aleatorio.
![DENON DA03 - Escuchar todas las pistas en orden aleatorio [Reproducción aleatoria de todas las pistas] - 1](/content/2026/02/380340/images/4f3629ca99bf537e0b1a2523a5bfef52c71698d35c5ecdb028809c8c7026e0c7.jpg)
1 Estando en el modo de parada, pulse el botón RANDOM dos veces.
• Se iluminará el indicador "RAND".
![DENON DA03 - Escuchar todas las pistas en orden aleatorio [Reproducción aleatoria de todas las pistas] - 2](/content/2026/02/380340/images/aa3262d556e9af8e72bd087a0a5134e2e25503c6ba3aecef71c5cdcb79b97f8a.jpg)
2 Pulse el botón ▶/II.
• Las pistas se reproducen automáticamente en orden aleatorio.
![DENON DA03 - Escuchar todas las pistas en orden aleatorio [Reproducción aleatoria de todas las pistas] - 3](/content/2026/02/380340/images/107356a4ee1e7c46475c4ff4977a450ff99ee79353fc62339681feeccfdbc2d3.jpg)
☒ Pulse el botón REPEAT durante la reproducción aleatoria para ajustar el modo repetición aleatoria de todas las pistas. Se reproduce con todas las pistas de una vez en orden aleatorio, luego se repiten en otro orden aleatorio. ☒ Para cancelar el modo de reproducción aleatoria de todas las pistas, pulse el botón RANDOM repetidamente hasta que el indicador "RAND" se apague.
NOTAS:
- El modo de reproducción alatoria no se puede ajustar mientras se encuentre en el modo reproducción o pausa.
- El medo de repetición de una sola canción no se puede activar durante la reproducción aleatoria.
- El tiempo restante de todas las pistas no se visualiza durante la reproducción aleatoria.
- El modo de reproducción aleatoria no se puede ajustar cuando se encuentre en el modo repetición de todas las pistas.
Escuchar todas las pistas de una carpeta simple en orden aleatorio [Reproducción aleatoria de 1 carpeta]
■ Utilice esta función para reproducir una vez todas las pistas de una carpeta simple en orden aleatorio.
![DENON DA03 - Escuchar todas las pistas de una carpeta simple en orden aleatorio [Reproducción aleatoria de 1 carpeta] - 1](/content/2026/02/380340/images/43b49a571d154e1e5ede8131a799df1bdb0b9b97357bb51ad393892c525257fb.jpg)
1 Estando en el modo de parada, pulse el botón FOLDER.
- Se iluminará el indicador "FOLDER".

2 Pulse los botones I◀◀y ▶▶▶Ipara seleccionar la carpeta a reproducir en orden aleatorio.
- El nombre de la carpeta aparece en la pantalla de visualización.

3 Pulsar el botón RANDOM una vez.
- Se iluminará el indicador "RAND" y "FOLDER".

4 Pulse el botón ▶/II.
- Se selecciona automáticamente una pista de la carpeta seleccionada y comienza la reproducción.

- El modo parada se ajusta automáticamente una vez que se hayan reproducido todas las pistas de la carpeta.
* Cuando durante la reproducción se pulsa el botón TIME, se visualiza el número de la pista del tiempo de pista transcurrido. (El indicador "FOLDER" no se desactiva.)
Para cancelar el modo de reproducción aleatoria de 1 carpeta, pulse el botón RANDOM repetidamente hasta que el indicador "RAND" se apague.
El modo repetición de todas las pistas de 1 carpeta no puede establecerse durante la reproducción alcatoria.
(4) Repetición de la reproducción
[Repetición de reproducción]
Repetición de la reproducción de una sola pista
[Repetición de una sola pista]
![DENON DA03 - [Repetición de una sola pista] - 1](/content/2026/02/380340/images/9d93d7ce253fa232df979ac6aade76f8db3391367675a23cee1258144bdeaaa9.jpg)
text_image
1 2 3 21 Pulsar el botón REPEAT una vez.
- Se iluminará el indicador " ⊆1"

2 Pulse los botones de números o ▶▶▶, I◀◀ para dar entrada al número de la pista deseada.


El paso 3 se puede saltar cuando una pista se selecciona utilizando los botones de números.
3 Pulse el botón ▶/II.
- La reproducción comienza. - Una vez que haya terminado la pista seleccionada, vuelve a ser reproducida desde el principio.
Pulse el botón REPEAT una vez.

El modo de repetición de una sola pista también puede activarse pulsando el botón REPEAT durante la reproducción. La pista que esté reproduciéndose en ese momento vuelve a repetirse.
Para cancelar el modo de repetición de una sola pista, pulse el botón REPEAT repetidamente hasta que el indicador “ ⊆” se apague.

ESPAÑOL
Escuchar repetidamente todas las pistas de una carpeta [Reproducción repetida de todas las pistas de 1 carpeta]

1 Estando en el modo de parada, pulse el botón FOLDER. • Se iluminará el indicador "FOLDER".

2 Pulse los botones I◀◀y ▶▶Ipara seleccionar la carpeta que desee escuchar. • El nombre de la carpeta aparece en la pantalla de visualización.

3 Pulse el botón REPEAT dos veces. • Se iluminará el indicador " ⊆ " y "FOLDER".

- Pulse el botón ▶/II.
- La reproducción comienza desde la primera pista en la carpeta seleccionada.
- Una vez de que se haya reproducido la última pista de la carpeta seleccionada, se reanuda la reproducción desde el principio de la primera pista en la carpeta seleccionada y las pistas se repiten.
- Cuando durante la reproducción se pulsa a botón TIME, se visualiza el número de la pista del tiempo de pista transcurrido. (El indicador "FOLDER" no se desactiva.)
- El modo de repetición de todas las pistas también se puede activar pulsando el botón REPEAT dos veces durante la reproducción. - Si se pulsa el botón REPEAT durante la reproducción programada, se reproducen todas las pistas repetidamente en el orden programado. - Para cancelar el modo reproducción repetida de todas las pistas de 1 carpeta, pulse repetidamente el botón REPEAT hasta que el indicador "C" se desactiva.
Repetición de la reproducción de todas las pistas [Repetición de todas las pistas]

1 Pulse el botón REPEAT 3 veces mientras que se encuentra en el modo parada. • Se iluminará el indicador "C".

2 Pulse el botón ▶/II.
- El disco es reproducido repetidamente. - Una vez de que se haya reproducido la última pista del disco, la reproducción continúa desde el principio de la primera pista.
* También se ajuste el modo de reproducción repetida de todas las pistas cuando se pulsa botón REPEAT 3 veces en el modo reproducción. * Si se pulsa el botón REPEAT durante la reproducción programada, se reproducen todo las pistas repetidamente en el orden programado. * Para cancelar el modo de repatriación de todas pistas, pulse el botón REPEAT repetidamente hasta que el indicador "C" se apague.
NOTA:
El modo de reproducción aleatoria no se pueda ajustar cuando se encuentra en el modo repetición de todas las pistas
NOTA:
El modo reproducción aleatoria no puede establecerse mientras se encuentra en el modo reproducción repetida de todas las pistas de 1 carpeta.
14 LIMPIEZA
Limpiar la unidad principal
■ Utilice un paño suave y limpie suavemente para quitar la suciedad del equipo y del panel de funcionamiento. - Si utiliza un paño que contenga algún tipo de producto químico, siga las precauciones establecidas para él.
■No utilice bencina, disolventes o cualquier otro disolvente orgánico o insecticida para limpiar la unidad, ya que esto podría causar un cambio en su calidad o color.

NOTA:
No utilice aerosoles para discos o productos para evitar la electricidad estática. No utilice benzeno, diluyente u otros productos químicos volátiles.

Limpieza de discos
Cuando el disco tenga marcas de huellas de dedos o suciudad, limpielo antes de usuario. La suciedad no afectará a la señal del disco, pero la calidad de sonido puede disminuir y puedo haber saltos de sonido. Tenga en cuenta que cuando la superficie de un disco CD-R/RW está sucia, puede que no se grabe correctamente.
■Para limpiar el disco utilice kits de limpieza de discos disponibles en el mercado o un paño limpio

I impie suavemente en la dirección que va del centro hecla estuere, al porce.

No limpie en forma circular
15 CDs
Discos
Esta unidad utiliza CDs (discos de audio digital óptico) que leven la marca situada la derecha.

Observe que los CDs de forma especial, por ejemplo con forma de corazón o hexagonales no pueden ser reproducidos. No intento usar tales CDs puesto que podrían causar averías en la unidad.


Manipulación de discos
Evite tocar la superficie del disco al insertario o al extraero.
Tenga cuidado para no dejar huellas de dados en la superficie de grabación de soñales.

Precauciones con la manipulaci
- Trato de avitar que so adhieran huellas de dados, aceite o sociedad. - Tenga cuidisco de no producir arañazos en la superficie, especialemente al extraer o guardar el disco on su estuche. - No doble el disco. - No caliante el disco. - No agrande el orificio central. - No escriba en la superficie de etiqueta (v.g. el lado impresso con bolígrafos o lápices). - Cuando se traslada subitamente un disco desde un sitio frio como el exterior, a otro cálico pueden formarse gotas de agua en la superficie del disco. En casos como estos, no intente secar el disco con un secador de pelo.
Precauciones con el almacenamiento
- Asegúrese de expulsar el disco después de la reproducción. - Guarde siempre el disco en su estuche para evitar el polvo, arañazos o deformaciones. - No deaje el disco en los siguientes sitios: 1. Donde expediente a la luz solar directa durante períodos de tiempo prolongados. 2. Donde haya mucha humedad y polvo. 3. Donde expediente al calor, como el de un calefactor.
16 RESOLUCIÓN DE PROBLEMAS
Compruebe otra vez lo siguiente antes de suponer que el sistema tiene un problema.
■ ¿Están bien hechas las conexiones?
■ ¿Se ha utilizado el equipo según se explica en las instrucciones?
Si el sistema no funciona correctamente, compruebe la lista que figura a continuación. Si ninguna de estas comprobaciones responde al problema, el sistema puede que esté funcionando mal. Desconecte el cable de alimentación inmediatamente y póngase en contacto con su proveedor.
| Sintoma Causa | Remedio Página | |||
| Generalidades | El sistema no se enciende al presionar el botón de oconodío. | ¿El cable de alimentación no está enchulado al tomacorriente?¿Estó el cable del sistema debidamente conectado? | • Enchuíle el cable de alimentación de forma segura en el tomacorriente.• Conocte los cables en forma seguro. | 5857 |
| El equipo no funciones bien cuando se emplea la unidad de contro remoto. | ¿Las pilas están agoladas?¿Está la unidad de mando a distancia comosado lojos del equipo? | • Reemplicles por pilas nuevas.• Mueva la unidad del mando a distancia más cercos del equipo. | 6060 | |
| Sección del receptor | La pantalls de visualización no se ilumina y no se produce ningún sonido. | ¿Los cables de los altavoces no están debidamente conectados?¿Está la función debridamente ajustada?¿Estó el volumon ajustado a "00"? | • Conecte los cables en forma segura.• Ajuste el interruptor a la posición correcta.• Ajuste el volumon. | 575859 |
| Sóló un lado produce sonido. | ¿Los cables de los altavoces no están debidamente conectados?¿Los cables de entrada no están debidamente conectados? | • Conecte los cables en forma seguro.• Conecte los cables en forma seguro. | 5758 | |
| Al reproducir fuentes esterecónicas, la posición de los instrumentos aparocó involvids. | ¿Los cables aquierdos y derechos de altavoces o los cables de entrada han sido conectados al reyes? | • Revise las conexión izquierda/derecha. | 57 | |
| Se eye un siblido en los programas de FM. | ¿La antena no está bien dirigida? | • Cambve la dirección de la antena.• Instala una antena externa. | 5858 | |
| Se eye un siblido en los programas de AM. | ¿Es el ruido de un televisor a una interferencia de una emisoria retenamileora? | • Apague el televisor.• Cambve la dirección de la antena de cuadro. | -58 | |
| Se eye un zumido en los programas de AM. | ¿Las señales del cable de alimentación están siendo modulecas por la frecuencia o la fuente de alimentación? | • Inserte el cable de alimentación en la dirección contraea. | - | |
| Sección del reproductor de CD | Se visuelizan cercos cuando se carga un disco. | ¿Está el disco cargado debidamente?¿He finalizsco el disco CD-R/RW?? | • Cargus el disco deidiamente.• Finalizar el disco CD-R/RW. | 62- |
| El modo reproducción no se ajuste cuando se pulsa el botón ▶III. | ¿Está el disco suolo o rayado? | • Limpio la suicidos del disco o remoñace el disco. | 78 | |
| No se produce ningún sonido, o el sonido está distorsionado. | ¿Se encuentran los varios ajustes y establecimientos en el receptor aprovado? | • Compruebe los botanes del receptor y el ajuste de función de su entrega y ajuste como sec nocesario. | 58, 71 | |
| No se reproduce una parte escocífico del disco. | ¿Está el disco suolo o rayado? | • Limpio la suicidos del disco o remoñace el disco. | 78 | |
| No se pueden reproducir ficheros MP3. | ¿Está el disco grabado en formato "ISO9660 Level 1", "ISO9660 Level 2", "Joliet" o "Romeo"?¿Tiera el fichero MP3 una extensión?¿O os la extensión distinta a "MP3"? | • Grave el disco en formato "ISO9660 Level 1", "ISO9660 Level 2", "Joliet" o "Romeo"?Asegúreas de dar a los ficheros MP3 la extensión "MP3". | 7575 |
17 ESPECIFICACIONES
■Sección del amplificador
Potencia máxima práctica:
■Sección del receptor
Tomas de audio de entrada/salida:
Banda de frecuencia de recepción:
Sensibilidad de recepción:
Separación estéreo FM:
■ Sección del reproductor de CD
Fluctuación y trémolo:
Frecuencia de muestreo:
Fuente óptica:
■ Sección del temporizador del reloj
Sistema de reloj:
Funciones del temporizador:
■General
Fuente de alimentación:
Consumo:
Dimensiones externas máximas:
Satélite: 20 W + 20 W (6 Ω/ohmios, 1 kHz, T.H.D. 0,9 %)
Subwoofer: 40 W (12 Ω/ohmios, 100 Hz, T.H.D. 0,9 %)
Terminal de entrada/salida AUX,
Por debajo de los límites medibles (±0,001% W. pico)
44,1 kHz
Semiconductor
Sistema de sincronización de oscilación de cristal
(Un minuto cada mes)
Temporizador diario (1 ajuste)
Temporizador de una vez (1 ajuste)
Temporizador para dormir (máximo 60 minutos)
80 W
(En el modo an espera: 2 W o menos cuando se ajusta el
modo económico, normalmente 20 W)
※ Con la base desmontada
※ Con la base desmontada
■Mando a distancia (RC-909)
Sistema de control remoto:
Fuente de alimentación:
Dimensiones externas máximas:
Peso:
Impulsos infrarrojos
3 V CC (Utilizando 2 pilas del tipo R03/AAA)
120 g (incluyendo las pilas)
Para facilitar la introducción de mejoras, las especificaciones y funciones quedan sujetas a cambios sin previo aviso.
DENON,Ltd.
ManualFácil
Avoid high temporatures.Allow for sufficient heat dispersionwhen installed on a rack.Eviter des températures élevees.Tenir compte d'une dispersion de chaleursufficiente lors de l'installation sur uneetagées.Evito altas temporaturas. Permito lasuficiente dispersión del color cuandoesà instalada en la consola.
Keep the set tree from moisture, water,and dust.Proteger l'appareil contre l'humidie, l'esueet lapoussière.Mantenga el equipo libre de numedsó,agua y povo.
Do not let foreign objects in the set.Ne pas taller des objets estrangers dansl'appareil.No doo objetos extraños dentro ociequipo
Unplug the power supply cord whannot using the set for long periods ottime.Debancher le cordon d'alimentationlonque l'appareil n'est pas utilise pendantde longues périodes.Desconecte el cordon de energía cuanceno utilice el equipo par mucho tiempo.
Do not let insectoides, benzene, andthinner come in contact with the set.Ne pas mettre en contact dos insectoides,du benzene et un diluant avec l'appareil.No permita el contacto de insectoides,gascline y diluyantes con el equipo.
* (For sets with ventilation holes)Do not obstruct the ventilation holes.Ne pas abstruer les trous d'ération.No obstruya los orificios de ventilación.
Never disassemble or modify the set inany way.Ne jamas domontar ou modifier l'appareild'une manière ou d'une autre.Nunica desima o modificate el equipo deninguna manera.