58002 - Maquina de cafe Focus Electrics - Manual de uso y guía de instrucciones gratis
Encuentra gratis el manual del aparato 58002 Focus Electrics en formato PDF.
Preguntas de los usuarios sobre 58002 Focus Electrics
0 pregunta sobre este aparato. Responde a las que conoces o haz la tuya.
Hacer una nueva pregunta sobre este aparato
Descarga las instrucciones para tu Maquina de cafe en formato PDF gratis! Encuentra tus instrucciones 58002 - Focus Electrics y toma tu dispositivo electrónico nuevamente en la mano. En esta página están publicados todos los documentos necesarios para el uso de su dispositivo. 58002 de la marca Focus Electrics.
MANUAL DE USUARIO 58002 Focus Electrics
Manual de instructaciones

Registre este y otros produits West Bend® Housewares a trovés de我们的址io web. www.westbend.com
Precauciones importantes. 2
Precauciones relativas al calor. 2
Precauciones electricas 3
Precauciones de uso cerca de niños 4
Cómo usar su cafeteria 4-5
Cómo limpiar su cafeteria. 6
Garantía. 7
CONSERVE ESTE MANUAL DE INSTRUCCIONES PARA FUTURAS CONSULTAS
PRECAUCIONES IMPORTANTES

PRECAUCION
Paraatarlesionespersonaleso daos materiales,lea y acate todas las instruccionesyadvertencias.
Al utilizes artefactuals electrodomesticos, sempre deben acatarse las precauiones bássicas de seguridad incluyendo las siguientes:
- Lea todas las instrucciones, incluyendo estas precauciones importantes, asi como las instrucciones de uso y cuidado en este manual.
- No utilise el aparato para usos distinctos del indicado.
No lo colque sobre o circa de un calentador eletrico o a gas, o en unorno caliente. - No lo opere cuando no funciona correctamente o haya sido dañado de algunos modo. Para información relativa al serviceo vea la頁ina de garantías.
- El uso de accesorios no recommendados por West Bend® Housewares pudieraCausear fuegos, descargas electricas o lesiones a la personas.
- No trate de reparar este aparato electrodométrico usted mesmo.
No use este aparato electrodomestico sobre el tope de la estufa o cocina, bajo de una parrilla, en el hora, o en el refrigerador o congelador. - Sólo para uso dométrico.

PRECAUCION
Paraatarquemaduras,lesiones personales o daños materiales,lea y acate todas las instrucciones y advertencias.

PRECAUCIONES RELATIVAS AL CALOR
- No toque las superficies calientes. Use las asas o perillasonde esten provistas. Use almohadillas termicas o quantes para homo al manipular superficies calientes.
- Debe tenerse extremo cuidado al mover cualesquier artefacto electrodomestico que contenga aceite caliente u otros liquidos calientes.
- Asegúrese de que la tapa, la cesta, el vástago y el cordón electrico estén correctamente colocados antes de enchufar la cafeteria. No deben sacarse parte una de la cafeteria durante el ciclo de preparación del café ya que pudiera causar escaldaduras.

PRECAUCION
Para evaporar descargas electricas, lesiones personales o daños materiales, lea y acate todas las instrucciones y advertencias.

PRECAUCIONES ELECTRICAS
- Como proteccion contra fuegos, descargas eletricas y lesiones a las personas, nuncasumaerjalecordonelectrico,los enchufes oqualquier parteelectrica en agua uotrosliquidos.
No opere aparato electrodomestico algo n con el cordon eletrico o el enchufe daado. - No use este aparato electrodomestico a la intemperie.
- Siempre conecte primero el enchufe al aparato electrodomístico, yuego enchufe el cordón electrico al tomacorriente. Para desconecta, colquerialquier control en la posicón "OFF" (apagado), yuego desenchufe del tomacorriente.
Siempre desenchufe el aparato cuando no está en uso y antes de limpiarlo y permita que se enfierte antes de colocarle o sacarle partes. - Su aparato electrodométrico tiene un cordón electrico corto como medida de precaución para impeder el halado, tropiezo o enredo accidental con el本身就是. Coloque el cordón electrico de talmania que no cuelgue del borde de un mostrador, mesa u othera superficie o toque areas calientes.
- No se recomienda usar un cable de extension, pero si debe hacerlo, cercórese de que el vataje del本身就是 sea igual o superior al de la cafeteria (el vataje está estampado bajo de la base). Coloque el cable de extension de tal modo que no@cuelgue del borde de un mostrador, mesa u other superficie a fin de impedir que se hale, tropiece o enrede en el本身就是.
- Use un tomacorriente apto para el enchufe polarizzato del aparato electrodomestico. En un enchufe polarizzato, una hoja es más ancha que la othera. Invierta el enchufe si este no encaja Completely en el tomacorriente o el cable de extension. Si el enchufe todas a no encaja, consulte con un electricista calificado. No trate de modifier el enchufe de manera alguna.
- No use un tomacorriente o cable de extension en elrial enchufe calza flojamente, o si el tomacorriente o el cable de extension se calientan.
- Mantenga el cordón eletrico alejado de las partes calientes del electrodoméstico,m润滑as este este operandose.

PRECAUCION
Para prevenir quemaduras u另一边 lesiones en los niños, lea y acate todas las instrucciones y advertencias.
PRECAUCIONES DE USO CERCA DE NINOS
- Siempre supervise deriba cuando haya niños.
No permita que los niños usen o estén cerca del electrodoméstico ya que las superficies externas de este se calientan al usarse. - No permitted that el cordón eletrico cuelgue de algunos borde donde pueda ser alcancado por los niños. Coloque el cordón eletrico de modo que se eviten lesiones que resulten del dolor, tropezarse o enredarse en el本身就是.
CONSERVE ESTAS INSTRUCCIONES
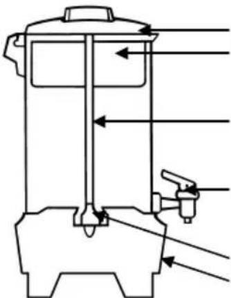
Cómo USAR SU CAFETERA

Tapa
Cesta de café
Vastago
Grifo
Pozo de la unidad calentadora
Luz de serviceo
Antes de utiliser la cafeteria por primera vez, limpiela a fondo. Refiérase a la sección "como limpar su cafeteria".
| Nivel de agua | Cantidad de café molido | Nivel de agua | Cantidad de café molido |
| 42 tazas | 2 1/2 tazas | 24 tazas | 1 1/2 tazas |
| 36 tazas | 2 tazas | 22 tazas | 1 1/2 tazas |
| 30 tazas | 1 3/4 tazas | 18 tazas | 1 1/4 tazas |
| 28 tazas | 1 2/3 tazas | 12 tazas | 1 taza |
NOTA ESPECIAL SOBRE LA MOLIENDA DE GRANOS DE CAFÉ Si usted本身就是 mulele los granos de café, para los最好的 resultados muélalos a una granulación media. NO los muela demasiado fino (como polvo) ya que thisca cause que se inunde la cesta. Use tazas de medicación estandar para medir el café. No permita que el cafe molido caiga bajo del vástago. Lacantidad recomendada de cafe producirá cafe ligero, que es el que prefiere la mayoría de la gente.
- Con la cesta y el vástago retirados, llene la cafeteria con agua FRÍA hasta el nivel deseado usingo como guía las marcas de tazas bajo de la cafeteria. No prepare a la vez menos de 12 tazas o más de la capacité maxima de la cafeteria.
- Coloque el vástago bajo de la unidad calentadora en el fondo de la cafetera, y bajo colque la cesta sobre el vástago. Esparza parejamente la cantidad recomendada de café bajo del cesta. Vea la tabla. Use café molido regular para cafetera electrica o café molido para todo tipo de cafetera. No use café molido bajo ni para cafeteras por goteo ya que la cesta pueda inundarse.
- Gire la taps en su situ en la cafeteria. Para reducir los derrames de café, especially si la cafeteria se vuelca, asegúrese de que la taps se haya girado en la direction de las agujas del reloj hasta quedar totalmente fija en las ranuras del asa. (Fijese en las flechas en la taps para girarla correctamente.) Si se volcase la cafeteria, la taps reduce temporalmente el derrame de café, por lo que debe tenerse cuidado cuando se traslade la cafeteria.
- Coloque la cafetera sobre una superficie seca y nivelada. Fije el cordón electrico a la cafetera y enchufelo SOLAMENTE a un tomacoriente de corriente alterna de 120 voltios.
- La cafetera deja de elaborar café automatically. (Cada taza de café requiere alrededor de 1 minuto de tiempo de preparación.) La luz de servicios se encenderá cuando el café estálists. Antes de servir,use un tomaolla para qutar la tapa,uego retire con cuidado el vástago y la cesta de la cafeteria ya que el café y el molido está CALIENTES. Si no se quitan,dentro del café gotearan aceites amargos del cafe molido.Vuelva a colocar la tapa asegurándose de que esté bien fija en las ranuras del asa.
- El café seamacriente en su temperatura de serviceo,minteras la cafeteria este conectada al tomacorriente.(si tiene una cafetera aislada, el aislamento de aire sellado要坚持ra el cafe caliente hasta dos horas sin electricidad.) Para servir,coloque la taza y el platillo bajo el grifo y presione la palanca hacia abajo.Si se desea un flujo continuo para llenar una jarra, levante la palanca derecho hacia arriba hasta que quede fija en la posicfon abierta. Cuando quede aproximamente una taza en la cafeteria, desconctela del tomacorriente.
PARA PREPARAR MÁS CAFÉ Si se desea otra jarra de café inmediatamente, parcialmente llene la unidad con agua fria para reajustar el termostato. Vierta el agua y vuelva a llenar con agua fria; y repita los pasos 1-6 anteriores.
PARA CALENTAR AGUA PARA BEBIDAS INSTANTÁNEAS: Puede calentarse agua sola en la cafetera para usarse con bebidas instantáneas. Basta con llenar la cafetera limpia con agua fría hasta el nivel desedo de tazas, y luego colocar el vástago y la cesta de café vacía en su situ. Con el vástago y la cesta vacía el agua se calentará más uniformamente. Asegure la tapa en su situ y enchufe la cafetera. Caliente el agua hasta que launidad deje de funciona y se encienda la luz de service. Desenchufe la cafeteria cuando quede menos de 1 taza. Aparte de preparar café o calendar agua, no debe calentarse ningún或其他 liquido en la cafetera ya que pueda dañarse launities calentadora.
Cuando se usa la cafeteria para calentar agua solamente, el metal del interior se decolorará, lo cual es normal y no afecta el desempeño ni el agua calentada en la cafeteria. Consulte las "Instrucciones especiales de limpieza" contentsas en este folleto para eliminar la decoloración asi como los depósitos minerales que se forman bajo de la cafeteria al calentar agua. Si no se eliminan这些 depósitos, el metal inferior pueda picarse y producir daños a la cafeteria. Consulte la sección sobre como limpar su cafeteria.
Cómo LIMPIAR SU CAFETERA
La limpieza incorrecta de la cafeteria, y en especial la del pozo de la unidad calentadora, afectar el desempo de la cafeteria, produciendo café poco cargado y tibio, e incluso puede hacer que la cafeteria deje de funciona. Para mantener a su cafeteria functioningo correctamente, es importante seguir las siguientes instrucciones de limpieza tras cada uso.
- Desenchufe la cafeteria y permita que se enfié antes de limpiarla.
- Limpie la cesta, el vástago y la taps en agua caliente jabonosa con un paño de cocina, enjuágelos y sequelos. Las manchas de café en la parte inferior de la taps o en el vástago能把 eliminarse fugando con un paño humedo y un limpiador no abrasivo.
- Limpie el interior de la cafeteria lienandola con agua caliente hasta que quede aproximadamente un tercio llena. Agregue unalittlecantidad de detergente liquido para lavar platos y lave con un paño de cocina o esponja. Luego limpie el pozo de la unidad calentadora (donde se coloca el vástago) con una esponja abrasiva para eliminar el residuo de cafe. Gire la esponja bajo del pozo de la unidad calentadora para limpiarlo bien IMPORTANTE: Si no se mantiene limpio al pozo de la unidad calentadora, la cafeteria no funciona bien.
- Después de limpiar la cafeteria por dentro, escurra el agua y enjuague el interior. Limpie el grifo dejoando correr agua a trovés de el al fregadero, a la vez que se mueve la palanca del grifo hacía arriba y hacía abajo. Escurra el agua del interior de la cafeteria y séquela.
- Limpie el exterior de la cafeteria con un paño humedo y sequelco con un paño suave. No use esponjas o limpiadores abrasivos sobre la parte externa de la cafeteria puis la rayará.
NO LAVE LAS PIEZAS DE LA CAFETERA EN UN LAVAPLATOS AUTOMÁTICO.
INSTRUCCIONES ESPECIALES DE LIMpieZA
Para eliminar depósitos minerales Si la cafetera se usa a diario, es Necessary darle una limpieza especial cada 2 semanas O BIEN cada semana si se usa para calentar agua. Llene la cafeteria con 1 cuarto de galón (0,95 l) de agua y除外 de vinagre blanco destilado. (Si se ha formado una acumulación de mineral blanco en el interior de la cafeteria, use 2 tazas adiconiales de vinagre.) Coloque el vástago y la cesta de café vacía en su situo, asegure la tapa en la cafeteria y enchufela. Deje que la cafeteria lleve a cabo su ciclo, y bajo déjela estar 10 a 15 horas. Desenchufe la unidad y escurra la cafeteria. Deje que se enfré y siga las instrucciones generales de limpieza.
Para eliminar la decoloración El interior de la cafetera pueda decolorarse al utilizesse para calentar agua, loquel es normal. Para eliminar o aclarar la decoloracion,llene la cafetera con agua hasta el nivel de la decoloracion (por lo menos hasta el nivel de 12 tazas, pero no mas alla del nivel maximo de tazas). Coloque el vastago y la cesta vacia en su situ. Por cada 12 tazas de agua que secoloquen en la cafeteria,añada 2 cucharaditas de cremor tartaro a la cesta. Asegure la tapa en la cafeteria, enchufe el cordón eletrico a la cafeteria y bajo al tomacamente y deje que la unidad complete su ciclo. Déjela estar 15 a 20 instantos o hasta que la decoloracion se borre lo más possible. Desenchufe el cordón eletrico y escurra la cafeteria. Deje que se enfié y siga las instrucciones generales de limpieza.
No use bicarbonato de sosa para limpiar la cafeteria ya que decoloraré el metal interior.
Tras un uso frecuente, puede acumarse residuo de café dentro del grifo. Para limparlo, desatomille la mitad superior del grifo. Mueva un poucoño cepillo hacía arriba y hacía abajo a工程技术 del grifo. Inserte el cepillo por la abertura Dentro de la cafeteria para limpar la conexión al grifo. Enjuague y vuelva a colocar la mitad superior del grifo.
GARANTÍA DEL PRODUCTO
Garantía limitada de 1 año del aparato electrodoméstico
West Bend® Housewares, LLC garantiza que este aparato no presenta rfallas de material ni fabricacion durante 1 ano a partir de la fecha original de compra, sempre y cuando el aparato sea operado y mantenido tal como se indica en el manual de instruetiones de West Bend® Housewares, LLC. toda pieza del aparato que presente fallas sera reparada o reemplazada sin costo algoa criterio de West Bend® Housewares, LLC.Esta garantia rige solamente para el uso domestico en interiores.
La garantía de West Bend® Housewares, LLC no cubre ningún dano, incluyendo la decoloración, de superficie antiadherente alguna del aparato electrodomésico. La garantía de West Bend® Housewares, LLC quedará nula e invalida, según lo determine exclusivamente West Bend® Housewares, LLC, si el aparato electrodomésico resultase dañado debido a accidentes, uso indebido o abuso, rayas, sobrecalentimiento o si es alterado de algunos modo o no se usa en forma domésica y en interiores.
Esta garantía le otorga derechos legales espécíficos. Usted también puede tenerthers droits,los cuales poder variar de una jurisdieccion a other.
ESTA GARANTIA REEMPLAZA A TODAS LAS DEMÁS GARANTías IMPLICITAS, INCLUYENDO AQUELLAS DE COMERCIABILIDAD E IDONEIDAD PARA UN FIN O USO EN PARTICULAR, LAS CUALES QEDAN EXCLUIDAS MEDIANTE EL PRESENTE DOCUMENTO. WEST BEND® HOUSEWARES, LLC RECHAZA TODA RESPONSABILIDAD POR DANOS, YA SEAN DIRECTOS, INMEDIATOS, INCIDENTALES, PREVISIBLES, CONSECUENTES O ESPECIALIES QUE SURJAN DEL USO DEL APARATO ELECTRODOMÉSTICO O GUARDEN RELACION CON EL MISMO.
Si dentro del periodo de garantía usted considera que el aparato electrodométrico presente fallas o requirese servicios, devuélvalo al lugar de compra original. Para Obtener mayores detalles comuniquese con el Departamento de Servicio al Cliente al (262) 334-6949 o por correto electrónico a housewares@westbend.com. Los gastos de devolución no son reembolsables. Los recibos他们在 un solo no son validos. West Bend Housewares, LLC no se hace responsable de las devoluciones perdidas en tránsito.
Valido solo en EE.UU. y Canada
REPUESTOS
Solicit los repuestos a West Bend® Housewares, LLC directamente en linea en www.westbend.com, "Replacement Parts", llamando o enviando un mensaje de correo electrónico al departamento de servicios al número/dirección antedichos o escribiendo a: West Bend Housewares, LLC Repuestos O puede llamarnos o enviarnos un mensaje de correo electrónico al departamento de servicios al número/dirección antedichos o escribiéndonos a:
West Bend, WI 53095, EE.UU.
Cercórese de incluir el número de catalogo/modelo del aparato electrodométrico (situito en la parte inferior/posterior de la unidad) como lo descripción y la�性 de repuestos que necesita. Junto con esta información, incluya su nombre, direccion postal, número de tarjeta de credito Visa o MasterCard, la Fecha de vencimiento y el nombre tal como aparece en la tarjeta. Los cheques deben hacerse pagarados a West Bend Housewares, LLC. Llame a Servicio a la Clientela para que le informen el monto de la compra. Sesuma al total el impuesto de vente estatal que corresponda, más un cargo por despacho y procesamento. La entrega tarda dos (2) semanas.
Este folleto contiene informacion importante y utilise sobre el uso seguro y el cuidado de su nuevo producto de West Bend Housewares, LLC. Para su propia referencia, archive aqui el recibo fechado que sirve de recomprobante de compra para la garantia, y anote la?singularmente informacion:
Fecha en que compró o recirollo launidad como regalo:
Donde se efectuó la compra y el preco, si lo sabe:
Numero y direccion de Fecha del producto (aparece en la parte inferior/posterior de la unidad):
ManualFácil