MCC1514 - Motosierra electrica MCCULLOCH - Manual de uso y guía de instrucciones gratis
Encuentra gratis el manual del aparato MCC1514 MCCULLOCH en formato PDF.
| Tipo de dispositivo | Motosierra eléctrica |
| Alimentación | Eléctrica |
| Longitud de la guía | No especificado |
| Tipo de cadena | No especificado |
| Sistema de seguridad | Doble aislamiento |
| Peso | No especificado |
| Uso recomendado | Corte de madera |
| Origen | Fabricado en China |
| Servicio al cliente | Disponible en EE.UU. y Canadá |
| Número de servicio | 1-800-521-8559 |
| Instrucciones de seguridad | Leer antes de usar |
| Mantenimiento | No especificado |
| Garantía | No especificado |
| Accesorios incluidos | No especificado |
| Tipo de mango | No especificado |
| Manual de usuario | Incluido |
Preguntas frecuentes - MCC1514 MCCULLOCH
Descarga las instrucciones para tu Motosierra electrica en formato PDF gratis! Encuentra tus instrucciones MCC1514 - MCCULLOCH y toma tu dispositivo electrónico nuevamente en la mano. En esta página están publicados todos los documentos necesarios para el uso de su dispositivo. MCC1514 de la marca MCCULLOCH.
MANUAL DE USUARIO MCC1514 MCCULLOCH
Para problemas o preguntas, NO devolver este produit a la tienda Contacte a su Agente de Servicio al CLIENTE.
McCulloch
Una性强a suelta peut ser gastar la barra y cubed esta cortando, lo mesmo que desgastar la barra y cubed arena. Una性强a muy aparecada可以使 darar la sierra. Enequalquier situacion, una性强a muy suelta o muy aparecada,可以使 resultar en serias lesiones personales.
4 - INSTRUCTIONS D'UTILISATION
4-4. CABLES DE EXTENSION
Cuando utilise una sierra deadena electrica, conectela con el cable de extension solamente cuando está lista para cortar madera. Conecte la extension a un tomacorriente de 110/120 voltios.
NOTA: Para prevenir una desconceccion en el cable de extension, haha un nudo suelo antes de conectar las puntas (Figura 4-4A).manija delantera.
ATTENTION
Cuidese del contragolpe. Siempre sostenga la sierra de capena firmamente con ambas manos cuando la está usingo. Por su propia seguridad, por favor lea y siga las precauaciones de seguridad en este manual antes de intentar operar su sierra de capena. Uso impropio pueda causar serias lesiones.
INTRODUCCION
FAVOR DE LEER
Estimado CLIENTE,
Gracias por comprar un producto McCulloch. Con una operation y mantenimiento adecuado, le proveerá con años de servicios.
Para hacer el mejor uso de su inversion, ASEGURESE de familiarizarse conTodo el contenido en el manual del usuario antes de intentar operar y mantener suunal.
- Asegúrese de que sigue las instrucciones de inizio, funciona y mantenimiento de este producto que se incluyen en este manual.
En este manual se encontraran las siguientes expresiones de advertencia: NOTE:, ADVERTENCIA, PRECAUCION y GARANTIA.
UnA NOTA: se utilizes para comunicar informacion adicular, para resaltar una explicacion en particular, o para expandir la descripcion de un paso.
ADVERTENCIA o PRECAUCION identifican un procedimiento el qual no debe ser tornado o en caso de ser tornado peute resultar en serias lesiones personales y/o daño a la unidad.
La (SIMBOLO DE GARANTIA) notifica que a menos que se sigan las instrucciones o procedimientos,rialquier daño causado anulará la garantía y las reparaciones correrán a cuenta del propietario.
Ponga atencion particular a las precauiones de seguridad. Estan esritas para su proteccion y contienen informacion importante que usted debe saber para operar sin riesgo su sierra-de-cadena.
SI PRECISA SERVICIO DE GARANTIA O MANTENIMIENTO, PONGASE EN CONTACTO CON SU CENTRO DE SERVICIO AUTORIZADO McCULLOCH MÁS CERCANO - LOCALICE SU CENTRO DE SERVICIO MÁS CERCANO LLAMANDO AL NUMERO GratisUTO QUE APARECE EN Este MANUAL.
1 - INFORMACION GENERAL


1-1. INFORMACION GENERAL
- Cadena paraURTAR
- Guia de Barra
- Maneral Frontal
- Cable de Poder
- Seguro del Interruption de Apagado
- Interruptor de Encendido/Apagado
- Maneral Trasero
-
Guarda para Manos
-
Tapon de Tanque Aceite
- Motor electroico
- Guarda de maneral trasero
- Punta de Guia de Barra
- Cubierta del Engrane
- Protector de Cadena
- Tuerca sutetadora de Barra
- Picos
- Tornillo para ajuste de tension
1 - INFORMACION GENERAL
1-2. ASPECTOS DE SEGURIDAD
Los nombres que preceden a la descripción corresponden con los nombres en la頁a anterior para poderle a localizar los aspectos de seguridad.
1 CADENA PARA SIERRA DE CONTRAGOLPE BAJOroof significativamente a reduir el contragolpe, o la intensidad del mesmo,deferido a los eslabones de resguardo y al hondo calibre especialmente diseado.
2 GUIA DE BARRA La barra reducida de la guía de la comisión cofidencial reduce la intensidad de comisión confidencial.
5 El BOTON DE SEGULO / LIBRE previene la acceleracion accidental del motor de la sierra. El gatillo no可以选择 ser apretado a menos de que el boton de seguro / libre está presionado.
6 El INTERRUPTOR DEL GATILLO DE ENCENDIDO / APAGADO detiene el motor de la sierra cuando es abatido.
8 La GUARDAMANOS protege la mano ezquierda del operador en caso de que se resbale de la manija frontal cuando la sierra esta en marcha.
10 El MOTOR ELECTRICO está doblemente aislado para mayor seguidad.
14 El ENGANCHE DE LA CADENA reduce el peligro de una lesión en caso de que laadena de la sierra se roomp a descarrile durante la operación. El enganche de laadena esta Diseñado para interceptar el azote de unaadena.
ESPECIFICACIONES
MODELO .MCC1514
Entrada 120V\~,60Hz,8Amp
CaboI de fuerza maximos 1.5HP
Largo de Barra 14" (35cm)
Capacidad de Aceite 1.7 ounces (50ml)
Peso neto 7.5 lbs. (3.4Kg)
2 - PRECAUCIONES DE SEGURIDAD
PRECAUCIONES DE SEGURIDAD PARA USUARIOS DE SIERRAS DE CADENA
(ANSI B175.1-1991, Annex C) (CAN3-Z62.1-M85 FEB85, Appendices A, B)
Su Sierra de Cadena McCulloch esta proveía con una etiqua de seguridad localizo en la manija del GUARDAMANOS.Esta etiqueta,+junto con las instrucciones de sécurité en estas páginas,deferán ser leidas antes de intentar operar estas unidades.
2-1. COMO LEER SIMBOLOS Y COLORES:
ROJO ADVERTENCIA
Utilizzato para prevenir de un procedimiento inseguro que no deben ser executado
VERDE RECOMENDACION
Procedimientos de cortado recomendados.
ADVERTENCIA
(Figure 2-1A)
- Cuidado con el contragolpe.
- No intente sostener la sierra con una mano.
- Evite el contacto con la cabeza de barra.
RECOMMENDACION
- Sostenga la sierraADECUADAMENTE con ambas manos.
1

4
3
2-1A
ADVERTENCIA
2-2. iPELIGRO! iCUIDARASE DEL CONTRAGOLPE!
El contragolpe puede conducir a una peligrosa perdida de control de sierra de capena y resultar en serias o fatales lesiones al operador de la sierra o cualquier persona que se ENCuentre cerca. Siempre está alerta. El contragolpe rotacional y el contragolpe por pellizco, son los mayores pilgrós operaciones de la sierra, y la causa principal de la mayoría de los accidentes.
ATTENTION AUX :
REBONDS ROTATIFS (Figure 2-2A)
2 - PRECAUICONES DE SEGURIDAD
2-3. INSTRUCCIONES IMPORTANTES DE SEGURIDAD
ADVERTENCIA
Cuando utilise una sierra de capena electrica, las precau- ciones de seguridadasicasdeferan ser seguidas para reducir el riesgo de unCHOque electrico, incendio, y lesiones personales, incluyendo las siguientes:
LEATODASLASLAS INSTRUCCIONES
- Doblemente aislada - No conta con Partes de Servicio para el Nombre adentro de la sierra.
- Para reducir el riesgo de unCHOque electrico,este equipo cuenta con en enchufe polarizzato (una cuchilla de contacto mas ancha que la othera). Este enchufe encajara exclusivamente en una toma de corriente polarizada, en caso de que no entre completeness, invierta el enchufe. Si aun no encaja, consulte a un electro calificado para que le instale una toma de corriente adecuada. Por ningun motivo cambie el enchufe.
- Con una comprensión báscala del contragolpe, usted pueda reducir o eliminar el elemento de sorpresa. la sorpresa repentina contribuye a los accidentes.
- MANTENG A EL AREA DE TRABAJO LIMPIA: Areas de trabajo sucias inducen lesiones. No empiece aURTar hasta que no teng a un area de trabajo limpia, seencuentre seguramente parado y haya planeado el sendero de retirada del arbol que caerá.
- PREVENGASE CONTRA UN CHOQUE ELECTRICO: Prevenga su cuerpo del contacto con superficies que hagan tierra (i.e., tubos de metal, cercas de alambre, etc.).
- CONSIDERE ELMEDIO AMBIENTE DEL AREA DE TRABAJO: Utilice extrema precaución cuando corte arbustos pequeños, áboles jóvenes,做到了 que material delgado pueda ser atrapado por la sierra y azotado en direccion de usted, o sacarlo de balance. No opere la sierra en un árbol a menos de que usted se enquiryre asignamente entrada para hacer lo. Cuando corte ramas que contengan tensión, está alerta del resorteopara que usted no sea golpeado cuando la tensión de la fibras de la madera sea liberada. No exponga la sierra de capena en presencia de liquidos o gases flammable.
-
MANTENG A NINOS Y ESPECTADORES ALEJADOS: No permita que los visitantes tengan contacto con la sierra o la extension de poder. Todos los visitantes deben serostenidos fuera del area de trabajo.
-
ALMACENE LA SIERRA DE CADENA: Cuando no seswana, la sierra de cadena deberá ser almacenada fuera del alcance de los niños, en un lugar seco, elevado, y asegurado.
- NO FORCE LA SIERRA DE CADENA: La sierra de cadaena realizará un trabajo mejor y más seguro cuando se usa a el promedio para el which fue disñana.
- UTILICE LA HERRAMIENTA ADECUADA: Corte solamente madera. No utilise la sierra de cadena para propositos para los cuales no fue disénada. Pro ejempio, no utilise la sierra de cadena paraURTar plasticos, mamposteria, o materiales que no Sean para la construcción.
- VISTASE PROPIAMENTE: No se Vista con ropa sueleta o joyeria ya que pueda ser atrapadas por las partes en movimiento. Ligas o calzado contra el resbalo son recommendados cuando trabajo al aire libre. Utilice cubiertas protectivas para cabello para sostener el cabello长大o.
- UTILICE GAFAS DE SEGURIDAD: Utilice también calzado de seguridad, cubrepantalón de seguridad, prendas ajustadas, guantes protectores y protección para lackeza.
- ESTE ALERTA: Fijese lo que este hace. Utilice el sentido comun. No opere la sierra cuando se encuentre fatigado. Mantenga todas las partes de su cuerpo alejadas de la sierra deadena cuando el motor seswanae en operacion. Antes de arrancar la sierra, asegurette de que laadena de la sierra no está能做到 contacto con nada.
- MANTENGALA SIERRA DE CADENA CON CUIDADO: Inspeccione los cables de la sierra periodacamente, y si se encuentran danados, mandelos reparar pour un Centro de Servicio Autorizzato. Mantenga el cable libre de la cadena y el operador todo el tiempo. Nunca transporte la sierra del cable o lo jale para disconnectarla del receptor. Mantenga los cables alejados de aceite y puntas filosas. Inspecciones los cables periodicamente y reemplacelos si se encuentran danados. Mantenga las herramentas limpias y afiladas par un mejor y más seguro rendimiento. Siga las instrucciones para la lubricacion y el cambio de accesorios. Mantenga las manijas secas y libres de aceite y grasa.
- DESCONECTE LA SIERRA DE CADENA: Desconecte la sierra de capena cuando no seswana esencuentre en uso, antes de cada servicios, y cuando cambie accesorios y aditentes tales como la capena de la sierra y el resguardo.
- CABLES PROLONGADOS PARA EXTERIORES: Utilice únicamente cables prolongadores destinados al uso en exteriores y marcados al efecto.
2 - PRECAUCIONES DE SEGURIDAD
- RIVISE LAS PARTES DANADAS: Antes de cualquier uso de la sierra de capena, el resguardo u另一边 parte que se enquirytre dañada deben ser ciuidadosamente revisado para determinar si operará propiamente y realizará la función para la cuales fue disénada. Revise et alineamento de las partes movibles, y cualquier othera condidión que pueda afectar la operation correcta de la unidad. Un resguardo o cualquier othera parte dañada deben ser propiamente reparada o reemplazada por un centro de servicios autorizzato, a menos de que elmanual indique otra casa.
Solicit a un centro de serviceo autorizzato la sustituc-. tion de los interruptores defectuosos. No utilise la sierra de cadena si no可以选择 utiliser el interruptor para encenderla y apagarla. No utilise una sierra de cadena que se encontrar dañada, mal ajustada o ensamblada de forma insegura o incompleta. Asegúrese de que la cadena de la sierra se detiene al soltar el gatillo.
-
TRANSPORTANDO LA UNIDAD: Transporte la sierra por la manija frontal con la sierra apagada. Mantenga su dedo fuera del interruptor, y aseguirese de que labarra guía y la cadena de la sierra se.Encuentren hacía extras.
-
PROTEJASE CONTRA EL CONTRAGOLPE:
PRECAUCION
EL CONTRAGOLPE puede occurrir cuando la nariz o la punta de la barra guía toca un objecto, o cuando la madera se cierra y pellizca la sierra de cadena cuando esta cortando. Si la punta de la barra hace contacto, pueda causar un a reccion reversiva relampago, pateando la barra guía hacía arriba y atrás en dirección del operado. Pellizcando la sierra de cadena a lo largo de la barra guía pude empujar la barra rápidamente hacer atrás en dirección el operador. Cualquiera de estas reaciones能把 causar queasted pierda el control de la sierra, lo which could be resultar en serias lesiones personales. Las siguientes precauaciones deben ser seguidas para minimizar el contragolpe.
A. AGARRE LA SIERRA FIMMEMENTE: Sostenga la sierra firmamente con ambas manos cuando el motor está en marcha. Mantengo un buena agarre en la sierra con ambas manos, la mano derecha en la manija posterior, y la mano izquierda en la manija frontal, cuando el motor este en marcha. Utilice un agarre firme con los dedos y el pulgar al rededor de las manijas de la sierra.
B. No sobrepase su alcance.
C. Mantenga los pies propiamente balanceados todo el tiempo.
D. No permitted that the nariz de la barra guíaonga contacto con un tronco, rama, el suelo u另一边 obstruccion.
E. No corte arriba de la alta del hombre.
F. Utilice Mechanismos tales como cadenas de contragolpe bajo, protectores para la nariz de la barra guía, chain brakes y barras guías especiales, los cuales reducen los peligros relacionados con el contragolpe.
G. Utilice solamente barras y cadenas especificadas por su fabricante o el equivalente.
H. No existenotiostocomponents de repuestos para lograr proteccion del contragolpe de acuero con CSA Z62.3.
FUENTE DE PODER: Conecte la sierra de cada n al voltaje correcto; asegurese de que el voltaje proveido es el本身就是 que se especifica en la placac de la herramienta.
21. NO opere la sierra de capena cuando está danada, impropiamente ajustada, o no segura y Completely ensamblada. Asegúrese de ue la capena de la sierra deje de moverse cuando el gatillo de estrangulación sea liberado.
22. NO intente hacer operaciones más allá de su capacité o experiencia.
23. jNO opere la sierra de capena con una mano! Serias lesiones al operador, ayudantes, expectadores, orialquier combinacion de estas personas pueda resultar por la operation con una mano. La sierra esta destinada para el uso con dos manos
24. PARA REDUCIR el potencial de unCHOque electrico. no opere la sierra en superficies mojadas o resbalosas, o durante tormentas de nieve, lluvia, oequalquier othera condidion de tiempo adversa.
25. NO permitted that tierra, escombros o polvo se acumule en el motor o los orificios de ventilacion.
26. Siga las instrucciones de acontecimiento y mantenimiento para su sierra deadena de su fabricante.
27. Corte a alta velocidades del motor.
28. La operación de la sierra de cada de ser restringida a individuos propiamente instruidos.
29. Su sierra de cada ha sido disnada para el uso domestico occasional. No ha sido fabricada para el uso continuo en aplicaciones de alto rendimiento.
30. NO FORCE una sierra(PC)que para hacer un trabajo que requiera una unidad de trabajo pesado.
31. EXAMINE LOS INTERRUPTORES ELECTRICOS. No utilize la sierra de capena si los interruptores no se encienden y apagan correctamente. No intente hacerrialquier reparacion en los interruptores electricos. Lleave su sierra un Centro de Servicio Autorizzato McCulloch.
32. MANTENIMIENTO DE LOS CABLES DE EXTENSION. Revise los cables periodically y reemplaces si se encuentran dañados. Utilice solamente
2 - PRECAUCIONES DE SEGURIDAD
cables de poder que hayan sido marcados para uso al aire libre.
- NO OPERE SU SIERRA DE CADENA cerca o alrededor de liquidos o gases flammable, excepte se encuentre en ambientes cerrados o al aire libre. Una explosión y/o incendiouedegradable.
34.Esta sierra de capena con motor electrico fue clasificada por la CSA como una sierra de classe 2C.Y fou destinada para el uso infrecuente por duengos caseros, excursionistas, jounaleros. Para aplicaciones generales tales como el limpiado, PODado, cortado de leña para chimenea, etc.No fou disénada para un uso prolongado.Si el uso destinado envuelve el uso prolongado de los periodos de operación,esto puede causar problemas circulatorios en las manos del usuario debido a la vibración.Puede ser apropiado el utiliser la sierra tenerando un mecanismo de anti-vibrado. - NUNCA REMUEVA, modifie o haga inoperativo特殊情况 de los mecanismos de seguridad construididos en su unidad.
- Utilice las prendas de seguridad exigidas por las organizaciones de sécurité y reglamentos gubernamentales que le Sean de aplicacion, como como por su Empresa; alternatively, utilize prendas ajustadas, calzado de sécurité, cubrepantalón decurity, guantes de security y proteccion auricular.
- Cuando tale mantenga por lo menos dos (2) árboles de distancia entre usted y suseworkadores.
- Todo el servicios de la sierra de capena,除外 que los articutos listedos en las instrucciones de seguridad y mantenimiento en el manual del usuario,deferán ser
ejecutadas por un personal de servicios de sierras de cada napa competente. No intente reparla ustedismo; no se eyecharan piezas de servicios para el usuario adentro de la sierra.
NOTA: unaadena para sierra de contragolpe bajo es unaadena que ha cumplido con los requisimientos de rendimiento del contragolpe de la ANSI B175.1-1991 y está de(acuero con CSA Z62.3.No utilize unaadena de repuesto diferente a menos que llene这些东西 requisitos para su modelos particular.
- NO USE NINGUN OTRO ADITAMENTO O ACCESORIO DE CORTE. Use solo repuestos y accesorios McCulloch, los cuales están dibelados especialmente para mejor el desempo y maximizar la operation segura de nuestros productos. No hacerlo asi, pueda producir un pobre desempo y posiblemente una lesión. Use solo la cadena y la barra que se suministran con este producto. No use ningún除外 aditamento de corte. El uso de tales aditimientos anulará su garantía de febrica y pueda producir una lesión Serbia a su cuerpo.
GUARDE ESTAS INSTRUCCIONES

El uso de这些东西 articulos de seguridad personal es alta.
mente recomendado para reduir el riesgo de lesiones
accidentales.

Lea Manual de Nombre.
3 - INSTRUCCIONES DE ENSAMBLE
3-1. INTRODUCCION
Estaunidad ha sido disenada para uso casero occasional y no deben ser usada con propósitos commerciales sujetos a un uso de trabajo pesado continuo.
Su sierra de cadareshuela quepeedserutilizada parauna variedad de proyectos tales como cortar leña para chime-neas,hacer cercasde madera,talar arbolespequeños, desramado,y carpinteria ligera.corte solo madera y productos de madera con su sierra.
3-2. DESEMPACANDO
- Remueva todos los articulos del carton.
- Revise todos los articulos que no se hayan lastimado en el transporte. Si enquirytra algo lastimado o si alguna parte falta, inmediamente informe al personal que le vendio estaupon.
3-3. REQUERIMIENTOS PARA ELENSAM-BLADO
Su motosierra nuevo necesita ser ajustada de laadena y debe llenar de aceite el tanque que lubricara laadena, todo thiso antes de iniciair su uso. No encienda su motosierra hasta que este preparada adecuadamente.
Lea su manual de instruccionesADECADamente.No instale除外 tameno de barra ycedena differente al recomendado para su motosierra.
3-4. BARRA GUIA / CADENA INSTALLACION DE REMPLAZO
ADVERTENCIA
Utilice guantes de trabajo pesado para protegerse contra los eslabones de cortado filosos cuando maneje la sierra de capena.
- Remueva la tuerca de la barra, empuje tornillos de la barra hacía adentro y deslice el soporte del engrane hacía bajo.(Ver Fig. 3-4A)
- Remueva la guia de barra vieja y la cadena usada.
- Usando un desarmador recto, gire el tornillo de ajustede capena contra el reloj tan lejos como pueda.
- Coloque lacedena sobre el engrane con las orillas de corte de lacedena apuntando hacia la direccion de rotacion de esta.
- Coloque las ranuras de la barra sobre los tornillos guias de tal forma que secoloque en el orificio inferior de la barra guia.
- Asegourese que la cadena siga la ranura de la barra guia. Deslice el soporte del engrane hacía arriba y presione los tornillos de la barra a travers del soporte del engrane.
- Instale las tuercas de sujecion y apriete unicamente con la mano. (Proceda al ajuste de tension de la cadena).


3-4A
3-5. AJUSE DE LA TENSION DE LA CADENA DE LA SIERRA
Una tensión propia de laceda de la sierra es extremamente importante y debe de ser revisada antes de arrancar la sierra, al igual que duranteequalquier operation de cortado. El tomar tiempo para hacer los ajustes necessarios para la sierra de cedena resultara en un mejor rendimiento y una vida prolongada para su sierra de cedena.
NOTA: Unacedena y barraneaqueeriranunrealmente despuesed por lo menos 5 cortes. Esto es normal Dentro del periodode acondicionamento,y el intervalo dentro del losproximosajustesse alagarapronto(Figura3-5A).
3 - INSTRUCCIONES DE ENSAMBLE
PRECAUTION
Si la cadena se encuesta muy SUELTA o muy APREDA, la barra, cadena y los rodimientos del ciguenal se desgastaran más rápidamente. Estudie la Figura 3-5A para información respecto a la tensión fria correcta (A), tensión caliente correcta (B), y como una guía para cuando la cadena de la sierra requiera algo最後 (C).
PARA AJUSTAR TENSION DE LA CADENA DE CORTE:
- Afloje las tuercas retenedoras de la barra (D) de tal forma que esten apretadas a mano. (Ver Fig.3-5B)
- Manteniendo la nariz de la brra hacía arriba, utilise el desarmador para girar el tornillo de ajuste de la barra guia (E) (Fig 3-5C) a favor de las manecillas del reloj para apltar laceda. Girando el tornillo en contra de las manecillas del reloj afloja laceda de la barra guia.
- Despues del ajuste y usingo quantes gruesos, mueva lacedena de corte hacia atras y hacia adelante para asegurarse que lacedena se mueve libremente y esta colocada correctamente en el engrane. No muevacedena con manos descubiertas.
NOTA: Si la cadena muestra dificultad de movimiento, significa que demasiada tension se le ha dato a la cadena y deben de ser reajustada. Para reducir tension, gire el tornillo de ajuste contra las manecillas el reloj lentamente. Mueva la cadena hacía ayas y hacía adelante hasta que se mueva libremente.
- Manteniendo la nariz en posicion hacía arriba, apriete bien al tuerca de la barra (70 pulgadas libras)

3-5A

3-5B

3-6. ACEITAR LA CADENA
Para aceitar la cadena de corte, presione la tapa del aceite. Se alimentara aceite a la barra guia. Presione al menos una vez el tapon de aceite antes de iniciair el corte. No intente operar el aceitador cuando this cortando con la unidad.
3-7. LLENANDO EL TANQUE DE ACEITE
Usando un embardo, llene el tanque con aceite para barras, cadenas y ruedas dentadas McCulloch. Limpierialquier derrame. Asegürese de que no entree tierra bajo del tanque de aceite.
3-8. SELECTIONANDO EL CABLE DE EXTENSION CORRECTO
| Escala Minima del Alambre | |||||
| Modelo de Sierra | Promedio de Amperaje | Voltios AC | Longitud del Cable de Poder | ||
| 25 ft. / 7.5m | 50 ft. / 15m | 100 ft. /30m | |||
| MCC1514 | 8 | 120 | 18 Escala | 16 Escala | 14 Escala |
- Cuando use el aprato, un cable de extension del tamanio adecuado deben ser uso para seguridad y para prevenir la perdida de poder y sobre calentimiento.
- El cable de extension debe estar diseñado especialmente para uso exteriores y marcado con SW-A, SOW-A, STW-A, STOW-A, SJW-A, SJOW-A, SJTW-A o SJTW.
4 - INSTRUCCIONES DE OPERATION
4-1. PARA ARRANCAR LA SIERRA
- PORFAVOR LEA TODAS LAS ADVERTENCIAS
- Asegourese que el tanque de aceite este lleno.
ADVERTENCIA
Asegúrese de que el cable de extension es del tiempo y tipo apropiado para su sierra.
3. Conecte el cable (A) con la extension (B) del temano apropriado. Conecte en cable de extension bajo de un tomacorriente de 110/120 voltios AC, 15 AMP (Figura 4-1A).
ADVERTENCIA
Asegürese de que el cable de extension no entre en contacto con la barra guía y la cadena de la sierra.
- Sostenga la sierra con ambas manos, la mano izquierda sosteniendo la manija frontal y la mano derecha sosteniendo la manija trasera. El pulgar y los dedosdeeran rodear ambas manijas (Figura 4-1B).
- Con su PULGAR DERECHO, oprima el botón de SEGURO / LIBRE (C) al lado de la manija trasera, y al mismo tiempo apriete el gatillo. Para detener la sierra, libre el gatillo (Figura 4-1D).
NOTA: No es Necessary elmanter presion en el boton de SEGURO / LIBRE una vez que gatillo es apretado y el motor esta en marcha. El boton de SEGURO / LIBRE es un mecanismo de seguidad para prevenir el encendido accidental.

4-1A

4-1B

4-1C
4-2. PARA APAGAR EL MOTOR
El motor de la sierra se detendra automatistically cuando el gatillo es liberado. El botón de SEGURO / LIBRE funciona que estar oprimido y el gatillo apretado para rearrancar el motor.
4-3. LUBRICACION DE BARRA Y CADENA
Siempre revisar;nvel de aceite antes de usar unidad. Para aceitar lacedena, presione la tapa de aceite.No intente operar el aceitador,m吲nas este cortando con la unidad.El aceite se alimentara a lacedena y a la barra. Verifique;nvel del aceite a bajo.
PRECAUCION
Nunca deje que le falte aceite de lubricacion a la barra yadena. Comiendo una sierra SECA o con MUY POCO ACEITE reducirá la eficiencia en el cortado, acortar la vida de su sierra, causando un desafilado rápido de laadena y un desgaste excessivo de la barra por sobre calentimiento. Muy poco aceite es detectado por humano o decoloracion de la barra.
NOTA: Laadena de la sierra se alarga durante el uso, particulamente cuando es新加, y un ajuste occasional seranecessary. Unaadena nuevo requiere mas frecuente quando de un ajuste durante el periodo de acondicionamento. Esto es normal. Vea laSECTION 3-5 para las instrucciones de Ajuste de la TensiOn de la Cadena de la sierra.
ADVERTENCIA / PRECAUCION
Una性强a suelta可以选择 saltarse de la barra,mimoriasusted esta cortando, lo mesmo que desgastar la barra ycadena. Una性强a muy aparenda peut darar la sierra. Enequalquier situacion,una性强a muy sueita o muyapretada,puede resultar en serias lesiones personales.
4 - INSTRUCCIONES DE OPERATION
4-4.CABLES DE EXTENSION
Cuando utilise una sierra deadena electrica, conectela con el cable de extension solamente cuando está lista paraURTAR madera. Conecte la extension a un tomacorriente de 110/120 voltios.
NOTA: Para prevenir una desconceccion en el cable de extension, haha un nudo suelo antes de conectar las puntas (Figura 4-4A).manija delantera.
PRECAUCION
Un cable que se siente caliente al contacto está sobrecargado.
- Cuando use el aparato, un cable de extension del tameno adecuado deben ser utilizado parapreventir la perdida de poder y sobre calentimiento.
- El cable de extension debe estardisnadoespecialmente para uso enexteriores ymarcado con SW-A, STW-A,STOW-A,SJW-A,SJOW-A,SJTOW-A, SJTW-A,o SJTW.
- Inspeccione el cable de extension de alambres sueltos o expuestos y daños en el aislado. Si se encuentra dañado, reemplacelo antes de usar el aparato.
ADVERTENCIA
No opere su sierra de capena en ambientes mojados. No exponga su sierra a la lluvia, nieve o aguanieve. El vapor causara cortos circuitos. Reemplace o reparerialquier daño o cables de extension desgastados antes deutilizar su sierra.
Mantenga el cable alejado del area de corte y coloque el cable de manos que no quede atorado con ramus u otros objetos durante el cortado.

4-4A
GUARDE ESTAS INSTRUCCIONES
AISLACION DOBLE NO HAY PARTES DE SERVICIO PARA EL USUARIO ADENTRO DE LA SIERRA
No utilise el cable o lo conecte si está dañado. Su aparato esta doblemente aislado parta ayudar pa proteger contra unCHOQUE ELECTRICO. Una Construccion de aislacion doble consiste en dos hileras separadas de aislacion eletrica.
Aparatos construidos con este sistemas de aislacion no son disnados para hacer tierra. Como resulto, el cable de extension利用率 para su aparato可以选择 ser enchufado a cualquier tomacorriente convencional de 120 voltios.
ADVERTENCIA
Su aparato de aislacion doble noiene partes de service para el usuario adentro de la sierra. No intente reparo usedismo. Para infomacion de service,contacte el Departamento de Servicio del Producto McCulloch al numero Gratis lo listado en la portada posterior de este manual.
5 - INSTRUCCIONES DE CORTADO GENERALES
5-1.TALADO
Talado es el termino que se da alURTAR un arbol. Arboles微量元素 hasta de 15-18cm (6-7") de diametro son generalmente cortados en un solo corte. Arboles mas grandes requieren de cortes de ranura. Cortes de ranura determinan la direccion en que el arbol caera.
DESRAMANDO UN ARBOL:
ADVERTENCIA
Un sendero de retirees (A) deben de ser planeado y despejado como se necesite antes de que empiece los cortes. El sendero de retirees deben extendarse haceras進一步 diagonalmente a la parte posterior de la linea de caía esperada, como se ilustra en la Figura 5-1A.
PRECAUCION
Si se tala un árbol en un terreno con pendiente, el operador de la sierra de capena deben mantenerse en la parte de arriba del terreno, debido a que el árbol Tiende a rodar o deslizarse hacía abajo afterwards de que es talado.
NOTA: La direccion de la caía (B) es controlada por el corte de ranura. Antes de querialquier corte sea realizado, considere la localización de las ramas mas largas y la inclínación natural del árbol para determinar la forma en que caera.

5-1A
ADVERTENCIA
No corte un árbol durante vientos rápidos o cambiantes o si hay peligro para una propiedad. Consulte a un profesión al de árboles.
No corte un árbol si haypeligro de que alambresdéservicio sean golpeados;notifique a la compañero de servicei antes de hacerequalquiercorte.
REGLAS GENERALES PARA EL TALADO DE ARBOLES:
Normalmente el talado consiste en dos (2) operaciones de corte principales, haciendo la ranura (C) y realizando el corte de talado (D).
Empiece hacer el corte de ranura (C) superior en la parte del árbol apuntando a la direccion de caía (E). Asegúrese de no hacer el corte inferior muy profundo bajo del tronco.
La ranura (C) deben ser lo bastante profunda para create una articulacion (F) de suficiente anchura y fuerza. La ranura deben ser lo suficiente ancha para dirigir la caida del arbol por el mayor tiempo possible.
ADVERTENCIA
Nunca camine en fronte de un árbor que haya sido ranurado.
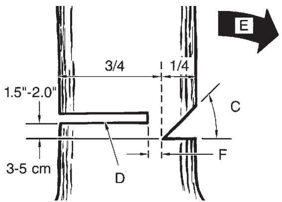
Realice el corte de talado (D) desde la othera parte del arbol y 3-5cm (1.5 - 2.0")arriba del borde de la ranura (C) (Figura 5-1B).

5-1B
Nunca corte Completely a征求意见 del tronco. Siempre deje una articulación. La articulación guía el árbol. Si el tronco es Completely cortado a征求意见, se pierde el control sobre la direction de la caía.
Inserte una cúa o una barra de talado en el corte antes de que el árbol se vuela inestable y empiece a moverse. Esto-prevendra que la barra guía se doble en el corte si usted juzga mal la direccion de la caía. Asegúrese de que ningún expectador hayaentrado Dentro del alcance del árbol antes de empujarlo.
ADVERTENCIA
Antes de realizar el corte final, siempre revise el area de expectadores, animales u obstáculos.
5 - INSTRUCCIONES DE CORTADO GENERALES
CORTE DE TALADO:
- Utilize cuñas de madera o plástico (G) para prevenir el doblamiento de la barra o caenda (H) en el corte. Las cuñas también controlan la caía (Figura 5-1C).
- Cuando el diametro de la madera es más grande que la longitud de la barra, realice 2 cortes como se muestra (Figura 5-1D).
ADVERTENCIA
Al tiempo que el corte de talado se acerca a la articulación, el árbol deben de empezar a caer. Cuando el árbol empiece a caer, remueva la sierra del corte, apague el motor,pongla sierra en el suelo,y abandonelárea lo largo del sendero de retirada (Figura 5-1B).

5-1C

5-1D
5-2. DESRAMADO
El desramado es el proceso por elrial se remueven las ramas de un arbol caido.No remueva las ramas de soporte (A) hasta que que el tronco es aserrado (cortado) en piezas (Figura 5-2A). Las ramas bajo tensondeferan ser cortadas desde abajo para evaporat el doblado de la sierra de-cadena.
ADVERTENCIA
Nunca corte las ramas del árbol cuando se ENCuent parado sobre el tronco del árbol.

5-2A
5-3.LENADO
Leñado esURTAR un tronco caido en pedazos. Asegúrese de tener una buena base para los pies y pararse hacer arriba del tronco cuando corte en un terreno con pendiente. Si es posible, el tronco deben ser apoyado deforma que el extremo que sera cortado no repose en el suelo. Si el tronco esta apoyado en los dos extremos yastediene queURTAR en la mitad,realice un corte inclinado hasta la mitad bajo del tronco y luego realice el corte por abajo. Estó evitará que el tronco pellizque la barra y cadena. Tenga cuidado de que la cadena no corte bajo del sueño cuando leñe,esto causa un rápido desafilado de la cadena.
Cuando leña en una pendiente, siempre parese en la parte de arriba.
- Tronco apoyado a lo largo de toda la longitud: Corte desde arriba (leñar por arriba),siendo cuidadoso para evitarURTAR Dentro del suelo (Figura 5-3A).
- Tronco apoyo en 1 extremo: Primero, corte desde abajo (leñar por abajo) 1/3 del diametro del tronco para evaporar astillamento. Segundo, corte desde arriba (leñar por arriba) para encontrar el primer corte y evaporar el pellizcado (Figura 5-3B).
- Tronco apoyado en ambos extremos: Primero, Lene por arriba 1/3 del diametro del tronco paraeatingastillamento.Segundo,lene por abajo para encontrar el primer corte yeatingel pellizcado (Figura 5-3C).
NOTA: La mejor forma de sostener un tronco cuando es leñado es usar un caballete de leñado. Cuando este no es posible, el tronco deben ser levantar y soportado por las ramas soporte o usingo troncos de soporte. Asegúrese de que el tronco que esta siendo cortado este seguramente apoyado.

5-3A
5 - INSTRUCCIONES DE CORTADO GENERALES

5-3B

5-3C
5-4. LENADO USANDO UN CABALLETE PARA ASERRAR
Para seguidad personal y un cortado mas sencillo, la posic-. tion correcta para el lenado vertical es esencial (Figura 5- 4A).
CORTANDO VERTICALMENTE:
A. Sostenga la sierrafirmamente con ambas manos y mantenga la sierra a la derecha del cuerpo@m吲ras esta cortando.
B. Mantenga el brazo izquierdo lo más recto possible.
C. Conserve su balance sobre ambos pies.
PRECAUCION
Mientras la sierra esta cortando, asegúrese que la barra yadena estén siendo propiamente lubricadas.

5-4A
6 - MANTENIMIENTO DE LA BARRA / CADENA
6-1. MANTENIMIENTO DE LA BARRA GUIA ADVERTENCIA
Asegürese de que los cables de poder estén desconectados antes de realizar cualquier mantenimiento en su sierra.
Un propio mantenimiento de la barra guía, como se explicá en esta sección, es esencial paramantener su sierra en buena conditiones de servicios.
MANTENIMIENTO DE LA BARRA GUIA:
La mayoría de los problemas de la barra guía puede ser prevenidos simplemente conservando la sierra de cada bien Maintainida.
Un llenado Incorrecto y uno eslabones de cortado y ajuste en la medida de profundidad no uniformes son la causa de la mayoría de los problemas de la barra guía, resultando primeramente en un desgaste desproporcionado de la barra. Al tiempo que le barra se desgasta desproporcionalmente, los rieles se agrandan, lo cual peutCauseearstruendo en la cadena y dificultad al hacer cortes derechos.
Una insufiente lubricación de la barra guía y operation de la sierra con laceda DEMASIADO APRETADA contribuirá a un desgaste rápido de la barra (vea la Sección 6-2).
Para poder a minimizar el desgaste de la barra, los siguientes procedimientos de mantenimiento para la barra guía son recomendedos.
DESGASTE DE LA BARRA - De vuelta a la barra guía frecuentemente a intervalos regulares (por exemple, después de cada 5 horas de uso), para asegurarse de un desgaste parejo en la parte superior e inferior de la barra.
RANURAS DE LA BARRA - Las ranuras de la barra (o rieles que soportan y conducen la cadena) deben ser limpiados si la sierra ha sido utilizado para servicios pesado o si la sierra manifiesta suciedad. Los rieles deben de ser limpiados cada vez que la cadena de la sierra es removida.
PASAJES DE ACEITE - Los pasajes de aceite en la base de la sierra deben de ser limpiados, para asegurar una lubricacion propia de la barra y cadaena durante la operation. Este puede ser realizado using an alambre blanco lo suficientmente微量元素 para insertarlo bajo del agujero de descarga de aceite.
PARALIMPIAR LOS RIELES DE LA BARRA:
- Remueva la cubierta del piñón, la barra yadena (vea la Sección 3-4).
- Utilizando un desarmador, navaja, cepillo de alambre orialquier otro instrumento similar, limpie residues de los rieles de la barra guía. Estomantendrá los pasajes abiertos para proveer una lubricación adecuada a la barra y cadena (Figura 6-1A).
- Reinstale la barra,ceda y las tuercas retenedoras de la barra.(Vea la Seccion 3-4.)

6-2. INSTRUCCIONES DE MANTENIMIENTO DE LA CADENA
PRECAUCION
A menos de que ustedonga experiencia y análisis especializzato para tratar con el contragolpe (vea las Precauciones de Seguidad), siempre utilise unaceda para sierra de contragolpe bajo, la cui reduce significativamente el peligro de un contragolpe. Unaceda de contragolpe bajo o "cadena de precauction" nuncadeferá serreferida como proteccion total contra una lesion.
Siempre utilizes cadenas para sierras de reemplazo designadas como "contragolpe bajo" o unaceda para sierra que reuna los requisitos de rendimiento del contragolpe de la ANSI (Instituto Nacional Americano de Normas).
- Una性强a para sierra convencional (una性强a que no tiene los eslabones de resguardo para reducir el contragolpe) solamente deben ser utilizado por un operador de sierras de性强a profesional experimentado.
Que es una Cadena de Contragolpe Bajo?
Una受害者 de contragolpe bajo es una受害者 la which has completed the requirements of rendimiento del contragolpe de la ANSI B175.1. No utilise una受害者 de repuestos differente a menos que llene these requisitos para su modelo particular.
Mediante el mantenimiento del laceda de la sierra en buena conditions de trabajo y dandole servicios correctamente como se recomienda en este manual, ustedouldamantener elsystemadeprecauacionde su sierra mas alla de la vida del producto.
ADVERTENCIA
Nunca remueva, modifique o haga inoperativorialquier mecanismo de seguridad construido en su unidad. El Guardamanos y laceda de contragolpe bajo son los mayores aspectos de seguridad proveisos para us proteccion.
ADVERTENCIA
Siempre utilizes guantes de proteccion para trabajo pesado y desconecte el cable de extension cuando trabajo en la sierra.
6 - MANTENIMIENTO DE LA BARRA / CADENA
TENSION DE LA SIERRA:
Revise la tension frecuentemente y ajustela tan antes como se necesite para mantener laceda ajustada a la barra, pero lo suficientamente sueña para ser jalada con la mano. (Vea la sección 3-5, Ajuste de la Tensión de la Cadena de la Tierra.)
Una barra ycedena nuevo requererirán un reajusteuponés de tan poco como cinco (5) cortes. Esto es normal del periodo de acondicionamento, y los intervalos Dentro del proximos ajustes se alagaran rapidamente. Sobre un periodo de tiempo, de在哪ier manera, las partes movibles de la sierra se gastarán, dando como resultado lo que es llamado ALARGMIENTO DE LA CADENA. Esto es normal. Cuando no es possible obtener el ajuste de tension correcto, un elabon技术支持 que serremovida para acortar la cedena. Vea a su Centro de Servicio Autorizzato McCulloch, listeda bajo "SIERRAS" en las Páginas Amarillas de su Directorio Telefonico, pararealizar esta reparación.
ADVERTENCIA / PRECAU-CION
Nuncaonga mas de tres (3) elabonesvielodel haro de la sierra. Este puede causar daño al piñón.
7 - INSTRUCCIONES DE MANTENIMIENTO
7-1.MANTENIMIENTO PREVENTIVO
ADVERTENCIA
En este aparato de aislado doble, 2 sistemas de aislamento, en lugar de una connexion de tierra, son proveidos. El que no ha la红线 de tierra significa que es proveido en un aparato con doble aislamento, no que una红线 de tierra deberte ser adherida al aparato. No se encontraran partes de servicios para el usuario adentro de la tierra. Un aparato con doble aislamento es marcado con las siguientes palabras, "AISLAMENTO DOBLE" or "DOBLEMENTE AISLADO". El simbolo (cuadro bajo el aparato) también pourrait ser marcado en el aparato.
- Ponga el interruptor en la posicion de APAGADO y desconecte la fuente de poder antes de que el apartoonga servicios, limpiado, o mantenimiento es realizado.
- Mantenga la toma de aire limpia y los orificios de ventilación libres de escombros para prevenir el sobre calentimiento del motor.
- Limpie con una esponja y poco jabón. No la rocie con una manguera de agua o moje con agua u otros liquidos.
- Inspeccione laceda de la sierra parauna tension propia antes de cada uso y frecuentemente durante el cortado.Afiela como se requiera.
- Limpie la barra guía y el cojín de la barra para asegurarse de que el sendero se enquiryre libre para aceite.
- Voltee la barra despues de cada uso para que se desgaste igualmente.
- No es necesaria la lubricacion del motor. El motor esta equipado con engranes lubricados de por vida
- Si la sierra no opera, coloque el interruptor en la posi- ción de APAGADO y desconnecte el cable de exten-sión, primero de la fuente de poder, después de la sierra. Inspeccione la fuente de poder de fusibles quemados o interruptores automaticos sueltos. Si sigue sin operar, contacte el Departamento de Servicio del Producto McCulloch, a travaz del número gratis lista en la portada trasera de este manual para informacion de service. No intente reparala ustedismo. No se enquirytran partes de service para el usuario adentro de la sierra.
8 - GARANTÍA LIMITADA DE UN ANO
1. DURACION
La duración de la garantía de este producto McCulloch es la asignante: UN (1) ANO desde la Fecha de la compra original sólo cuando se usa para uso personal, familiar, casero, en granja o rancho, y siempre que no se subarriende o alquile; NOVENTA(90) Días desde la Fecha de compra original cuando se usa para fines commerciales, profesionales, instituciones o de subarriendo.Esta garantía le proportiencia derechos legales espécíficos. también pueda proportionscarleculosdechocquevariande estado a estado.MCCULOCHLLRCUNCIAACUALQUIERGARANTÍA IMPLICITA UNA VZ QUE LA FEACHA DE EXPIRACION DE LA GARANTÍA EXPRESADA CORRESPONDIENTE HA EXPIRADO.
(Algunos estados no permiten limitaciones en la duracion de una garantia implicita, por lo que las limitaciones arriba mentionadas peuvent no ser aplicables en su caso).
2. EMISOR DE ESTA GARANTÍA
McCulloch U.S.A
1-800-521-8559
A. El comprador del producto McCulloch (a menos que utilise el producto para fines de subarriendo o alquiler).
B. Cualquier persona a la que le sea transferida dicho producto legalmente durante la duracion de la garantia implicata o escrita aplicable al producto.
C. Cualquier otra persona autorizada segun los tereinos establecidos en la garantia o que,segun la ley del estado,coulda obligar al emisor de la garantia a aplicarla. (Las partes arriba mentionadas se denominaran a partir de ahora como "el Usuario").
4. ÁMBITO DE APLICACION DE ESTA GARANTÍA
La garantía se aplicá durante la duración spécifique sobre problemas derivados de defectos en los materiales o en su fabricación.
5. ASPECTOS NO CUBIERTOS POR esta GARANTÍA
A. Cualquier daño accidental o derivado que pueda producir fallos o un funciona incorrecto Incorrecto del producto McCulloch.(Algunos estados no permitted la exclusion de dichos daños accidentales o derivados, por lo queDICas limitaciones peuvent no ser aplicables en su caso).
B. Cualquier fallo derivado de accidentes, uso incorrecto, negligencia o uso indebido del producto según las instru ciones incluidas en el manual de usuario adjunto al producto, o que se produzca como resultado de un mantenimiento incorrecto realizado por un service de reparacion no autorizzato.
C. Ajustes ordinarios explicados en el manual de usuario adjunto al producto.
D. Cualquier pieza o accesorio no vendido o fabricado por el emisor de la garantía.
E. Ajuste anterior a la entrega o ensamblaje de piezas.
F. This guarantia no es aplicable a los accesos, ajustes o alostenimiento ordinario del producto什么样ados en el manual de usuario
6. RESPONSABILIDADES DEL EMISR DE LA GARANTÍA SEGún LAS CONDICIONES DE LA MISMA
A. Reparar o sustituir las piezas defectuosas durante la duracion de la garantia aplicable sin COSTE algo para el usuario
B. Garantizar que el taller reparador autorizzato recibe el reembolso correspondiente a los gastos de las piezas y mano deoba realizados como resultado de una reparacion bajo garantia segun lo prescrito en los procedimientos y directrices de la garantia establisha.
7. RESPONSABILIDADES DEL USUARIO SEGUN LA GARANTIA
A. El usuario se compromete aentarag o enviar el producto McCulloch original protegido por esta garantia al vendedor al que adquirido el producto originalmente o al serviceo autorizzato mas cercano. Es necessario presentar una prueba de compral del producto.
B. Los gastos derivados de cualquier envío correrán a cargo del usuario.
C. El usuario debe manegar con cuidado el producto cuando vaya a hacerlo funcinr o a almacenarlo, tal y como se especifica en el manual de usuario.
8. PERÍODO DE CUMPLIMIENTO DE LAS OBLIGACIONES DERIVADAS DE LA GARANTÍA POR PARTE DE SU EMISOR
A. La reparación de productos bajo garantía se programará según la calidad de trabajo existente en el servicios de reparación y dependiendo de la disponibiliidad de las piezas de recambio.
B. Si el periodo de reparacion supera los diez (10) dias a partir del momento en que el producto fue entregado al service de reparacion, la garantia se ampliará a los días en los que el producto permanece inutil.
C. Si el usuario no estuviera satisfecho con el trabajo del service de reparacion,iene la posibidad de ponerse en contacto con McCulloch a trovés de el numero de téléphone gratis.
| SPECIFY MODEL NO. WHEN ORDERING PARTS | DATE | REVISED DATE | |
| 14" CHAIN SAW | 11/19/2007 | 6/8/2009 V1 | |
| MODEL NO. | MCC1514 | ||
| 7A 7 8 | 27A 27 38 23 25 26 | 27 38 23 25 26 | |
| No. | Parts No. | Description | Q | P Code |
| 1 | 6097-210935 | LABEL | 1 | 100 |
| 2 | 6SDABB04-18 | SCREW | 4 | 100 |
| 3 | 6038-210801 | HOUSING (R) | 1 | 100 |
| 4 | 6NHZ-1/4 | NUTS | 2 | 100 |
| 5 | 6214-210802 | FIXED SCREW | 1 | 100 |
| 6 | 6043-210801 | SPROCKET SUPPORT | 1 | 100 |
| 7A | AO6073-210802-US888 | SPROCKET / BEARINGS (INCL 7, 8) | 1 | 100 |
| 7 | 6073-210802 | SPROCKET-GEAR | 1 | 100 |
| 8 | 6131-210801 | ROLLER BEARING | 2 | 100 |
| 9 | 6073-210801 | MOTOR GEAR | 1 | 100 |
| 10 | 6SDABB04-14 | SCREW | 7 | 100 |
| 11 | 6086-210801 | MOTOR COYER ASSEMBLY | 1 | 100 |
| 12 | 6272-830301 | RUNNER STICK | 1 | 100 |
| 13 | 6SQABB05-55 | SCREW | 2 | 100 |
| 14 | 6263-210801 | WIND GUIDE | 1 | 100 |
| 15 | 6MB-608-06 | BEARING | 1 | 100 |
| 16 | 6260-210802 | ARMATURE ASS'Y | 1 | 100 |
| 17 | 6220-210803 | 14" CHAIN | 1 | 100 |
| 18 | 6040-210001B | 14" BAR | 1 | 100 |
| 19 | 6MB-607-07 | BEARING | 1 | 100 |
| 20 | 6156-830401 | ANTI-VIBRATILLAGE PAD | 1 | 100 |
| 21 | 6261-210802 | FIELD ASS'Y | 1 | 100 |
| 22 | 6014-210801 | ANTI-SPELLAGE PAD | 1 | 100 |
| 23 | 6102-210801 | ADJUSTING PLATE | 1 | 100 |
| 24 | 6066-210801 | OIL TANK | 1 | 100 |
| 25A | AO6228-210807-US888 | ADJUSTING KIT (INCL 23, 25. 26) | 1 | 100 |
| 25 | 6214-210801 | ADJUSTING SCREW | 1 | 100 |
| 26 | 6056-210802 | ADJUSTING NUT | 1 | 100 |
| 27A | AO6067-210801-US888 | OIL CAP ASS'Y (INCL 27, 38) | 1 | 100 |
| 27 | 6067-210801 | OIL CAP | 1 | 100 |
| 28 | 6022-210801 | LOCK-OFF SWITCH | 1 | 100 |
| 29 | 6011-210802 | POWER CORD | 1 | 100 |
| 30 | 6216-830601 | BRUSH | 2 | 100 |
| 31 | 6017-210801 | FRONT-HAND GUARD | 1 | 100 |
| 32 | 6SXDZ-1/4-60 | SCREW | 2 | 100 |
| 33 | 6052-210806 | WARNING TAG | 1 | 100 |
| 34 | 6038-210802 | HOUSING (L) | 1 | 100 |
| 35 | 6086-210802 | REAR COVER | 1 | 100 |
| 36 | 6052-210803 | LABEL | 1 | 100 |
| 37 | 6159-830601 | BRUSH SETS | 2 | 100 |
| 38 | 6014-210802 | OIL CAP GASKET | 1 | 100 |
| 39 | 6SVABB3.5-12 | SCREW | 2 | 100 |
| 40 | 6SDABB04-40 | SCREW | 2 | 100 |
| 41 | 6086-210803 | CASE (R) | 1 | 100 |
| 42 | 6043-210803 | MOUNT PLATE | 1 | 100 |
| 43 | 6072-210801 | FIXTURE | 1 | 100 |
| 44 | 6087-210801 | BUSHING | 2 | 100 |
ManualFácil