MCC1514 - Electric chainsaw MCCULLOCH - Free user manual and instructions
Find the device manual for free MCC1514 MCCULLOCH in PDF.
Download the instructions for your Electric chainsaw in PDF format for free! Find your manual MCC1514 - MCCULLOCH and take your electronic device back in hand. On this page are published all the documents necessary for the use of your device. MCC1514 by MCCULLOCH.
USER MANUAL MCC1514 MCCULLOCH
For problems or questions, DO NOT return this product to the store. Contact your Customer Service Agent .
1030 Stevens Creek Road
Augusta, GA 30907
USER MANUAL Electric Chain Saw
Model: MCC1514
Beware of kickback. Hold chain saw firmly with both hands when using. For your own safety, please read and follow the safety precautions in this manual before attempting to operate your chain saw. Improper use can cause serious injury.
INTRODUCTION
PLEASE READ
Dear Customer,
Thank you for purchasing a McCulloch product. With proper operation and maintenance, it will provide you with years of service.
In order to make the best use of your investment, be CERTAIN to familiarize yourself with the contents of the ENTIRE user manual before attempting to operate and maintain your unit.
Be sure to carefully follow the step-by-step instructions in this manual to start, operate and maintain your new product.
In the manual there will be the following call-outs: NOTE:, WARNING / CAUTION and WARRANTY.
A NOTE: is used to convey additional information, to highlight a particular explanation, or to expand a step description.
A WARNING or CAUTION identifies a procedure which, if not undertaken or if improperly done, can result in serious personal injury and/or damage to the unit.
The (WARRANTY SYMBOL) serves notice that unless instructions or procedures are followed, any damage caused will void the warranty and repairs will be at owner's expense.
Pay particular attention to the safety precautions. They are written for your protection and contain important information you must know to safely operate your chain saw.
FOR WARRANTY OR SERVICE CONTACT THE NEAREST AUTHORIZED SERVICE CENTER - LOCATE YOUR NEAREST SERVICE CENTER BY CALLING THE TOLL FREE NUMBER IN THIS MANUAL.
1 - GENERAL INFORMATION


1-1.GENERAL IDENTIFICATION
- Saw Chain
- Guide Bar
- Front Handle
- Power Cord
- Lock-off Button
- Trigger Start/ Stop Switch
- Rear Handle
-
Hand Guard
-
Oil Tank Cap
- Electric Motor
- Rear Hand Guard
- Guide Bar Nose
- Sprocket Cover
- Chain Catcher
- Bar Retaining Nuts
- Spikes
- Tension Adjustment Screw
1 - GENERAL INFORMATION
1-2. SAFETY FEATURES
Numbers preceding the descriptions correspond with the numbers on preceding page to help you locate the safety feature.
1 LOW-KICKBACK CHAIN helps significantly reduce kickback, or the intensity of kickback, due to specially designed depth gauges and Guard links.
2 GUIDE BAR Reduced kickback guide bar reduces the intensity of kickback.
5 LOCK / OFF BUTTON prevents accidental acceleration of the saw motor. The trigger cannot be squeezed unless lock/off button is depressed.
6 TRIGGER START / STOP SWITCH stops saw motor when released.
8 HAND GUARD protects the operator's left hand in the event it slips off the front handle while saw is running.
10 ELECTRIC MOTOR is double insulated for added safety.
14 CHAIN CATCHER reduces the danger of injury in the event saw chain breaks or derails during operation. The catcher is designed to intercept a whipping chain.
SPECIFICATION
MODEL .MCC1514
Input 120V\~,60Hz,8Amp
Peak Horsepower 1.5HP
Bar Length 14" (35cm)
Chain Oil Capacity 1.7 ounces (50ml)
Net Weight 7.5 lbs. (3.4Kg)
2 - SAFETY PRECAUTIONS
SAFETY PRECAUTIONS FOR CHAIN SAW USERS
(ANSI B175.1-1991, Annex C) (CAN3-Z62.1-M85 FEB85, Appendices A, B)
Your McCulloch Chain Saw is provided with a safety label located on the HAND GUARD. This label, along with the safety instructions on these pages, should be carefully read before attempting to operate your saw.
2-1. HOW TO READ SYMBOLS AND COLORS:
RED WARNING
Used to warn that an unsafe procedure should not be performed.
GREEN RECOMMENDED
Recommended cutting procedure.
WARNING
(Figure 2-1A)
- Beware of kick back.
- Do not attempt to hold saw with one hand.
- Avoid bar nose contact.
RECOMMENDED
- Hold Saw properly with both hands.
1

2
3

2-1A
4
WARNING
2-2. DANGER! BEWARE OF KICKBACK!
Kickback can lead to dangerous loss of control of the chain saw and result in serious or fatal injury to the saw operator or to anyone standing close by. Always be alert because rotational kickback and pinch kickback are major chain saw operational dangers and the leading cause of most accidents.
BEWARE OF:
ROTATIONAL KICKBACK (Figure 2-2A)
A = Kickback path
B = Kickback reaction zone

2-2A
THE PUSH (PINCH-KICKBACK) AND PULL REACTIONS (Figure 2-2B)
A = Pull
B = Solid objects
C = Push

2-2B
KICKBACK may occur when the NOSE or TIP of the guide bar touches an object, or when wood closes in and pinches the saw chain in the cut.
Tip contact in some cases may cause a lightning-fast reverse reaction, kicking the guide bar up and back toward the operator.
PINCHING the saw chain along the BOTTOM of the guide bar may PULL the saw forward, away from the operator.
PINCHING the saw chain along the TOP of the guide bar may PUSH the guide bar rapidly back toward the operator.
Any of these reactions may cause you to lose control of the saw, which could result in serious personal injury.
2 - SAFETY PRECAUTIONS
2-3. IMPORTANT SAFETY INSTRUCTIONS WARNING
When using an electric chain saw, basic safety precautions should always be followed to reduce the risk of fire, electric shock, and injury to persons, including the following:
READ ALL INSTRUCTIONS
- Double insulated - No Serviceable Parts Inside.
- To reduce the risk of electric shock, this equipment has a polarized plug (one blade is wider then the other). This plug will fit in a polarized outlet only one way. If the plug does not fit fully in the outlet, reverse the plug. If it still does not fit, contact a qualified electrician to install the proper outlet. Do not change the plug in any way.
- With a basic understanding of kickback, you can reduce or eliminate the element of surprise. Sudden surprise contributes to accidents.
- KEEP THE WORK AREA CLEAN: Cluttered areas invite injuries. Do not start cutting until you have a clear work area, secure footing, and a planned retreat path from the falling tree.
- GUARD AGAINST ELECTRIC SHOCK: Prevent body contact with grounded surfaces (i.e., metal pipes, wire fences).
- CONSIDER THE WORK AREA ENVIRONMENT: Use extreme caution when cutting small sized brush and sapling, as slender material may catch the saw chain and be whipped toward you or pull you off balance. Do not operate a chain saw in a tree unless you are specifically trained to do so. When cutting a limb that is under tension, be alert for spring back so that you will not be struck when the tension in the wood fibers is released. Do not expose the chain saw to rain. Do not use the chain saw in damp or wet locations. Do not use the chain saw in the presence of flammable liquids or gases.
- KEEP CHILDREN AND BYSTANDERS AWAY: Do not let visitors contact the chain saw or extension cord. All visitors should be kept away from the work area.
- STORING YOUR CHAIN SAW: When not in use, chain saws should be stored out of the reach of children, in a dry, high or locked-up place. When storing saw, use a scabbard or carrying case.
- DO NOT FORCE THE CHAIN SAW: The chain saw will do a better and safer job when used at the rate for which it was intended.
-
USE THE RIGHT TOOL: Cut wood only. Do not use the chain saw for purposes for which it was not intended. For example, do not use the chain saw for cutting plastic, masonry, or non-building materials.
-
DRESS PROPERLY: Do not wear loose clothing or jewelry, as they can get caught in moving parts. Nonskid footwear is recommended when working outdoors. Wear protective hair covering to contain long hair.
- USE SAFETY GEAR: Use safety glasses, safety footwear, safety chaps, snug fitting clothing, protective gloves, and protective hearing and head gear.
- STAY ALERT: Watch what you are doing. Use common sense. Do not operate the chain saw when you are tired. Keep all parts of your body away from the saw chain when the motor is operating. Before you start the saw, make sure the saw chain is not contacting anything.
- MAINTAIN YOUR CHAIN SAW: Inspect the chain saw cords periodically and, if damaged, have them repaired by an authorized service facility. Keep the cord clear of the chain and operator at all times. Never carry the saw by the cord or pull it to disconnect from receptacle. Keep the cord from oil and sharp edges. Inspect the extension cords periodically and replace if damaged. Keep tools sharp and clean for better and safer performance. Follow instructions for lubricating and changing accessories. Keep handles dry, clean and free from oil and grease.
- DISCONNECT THE CHAIN SAW: Disconnect the chain saw when not in use, before servicing, and when changing accessories and attachments such as saw chain and guard.
- OUTDOOR EXTENSION CORDS: UsE onlY extensi-in cords intended for use outdoor use and so marked accordingly.
- CHECK DAMAGED PARTS: Before further use of the chain saw, a guard or other part that is damaged should be carefully checked to determine that it will operate properly and perform its intended function. Check for alignment of moving parts, binding of moving parts, breakage of parts, mounting, and any other conditions that may affect its operation. A guard or other part that is damaged should be properly repaired or replaced by an authorized service center, unless otherwise indicated in this instruction manual. Have defective switches replaced by authorized service centre. Do not use chain saw if switch does not turn it on and off. Do not operate a chain saw that is damaged, improperly adjusted, or is not completely and securely assembled. Be sure that the saw chain stops moving when the trigger is released.
- CARRYING THE SAW: Carry the saw by the front handle with the saw stopped. Keep your finger off the switch, and make sure that the guide bar and saw chain are to the rear.
2 - SAFETY PRECAUTIONS
19. GUARD AGAINST KICKBACK:
WARNING
Kickback may occur when the nose or tip of the guide bar touches an object, or when the wood closes in and pinches the saw chain in the cut. Tip contact in some cases may cause a lightning-fast reverse action, kicking the guide bar rapidly back towards the operator. Pinching the saw chain along the top of the guide bar may push the guide bar rapidly back towards the operator. Either of these reactions may cause you to lose control of the saw, which could result in serious injury to the user. The following precautions should be followed to minimize kickback.
A. GRIP SAW FIRMLY: Hold the chain saw firmly with both hands when the motor is running. Keep a good firm grip on the saw with both hands, the right hand on the rear handle, and the left hand on the front handle.
B. Do not over reach.
C. Keep proper footing and balance at all times.
D. Do not let the nose of the guide bar contact a log, branch, ground or other obstruction.
E. Do not cut above shoulder height.
F. Use devices, such as low-kickback chain, guide bar nose guards, chain brakes and special guide bars, which reduce the risks associated with kickback.
G. Use only replacement bars and chains specified by the manufacturer or the equivalent.
H. There are no other replacement components for achieving kickback protection in accordance with CSA Z62.3.
20. POWER SUPPLY: Connect the chain saw to correct voltage; be sure that the voltage supplied is the same as that specified on the nameplate of the tool.
21. DO NOT operate a chain saw that is damaged, improperly adjusted, or not completely and securely assembled. Be sure that the saw chain stops moving when the trigger is released.
22. DO NOT attempt operations beyond your capacity or experience.
23. DO NOT operate a chain saw with one hand! Serious injury to the operator, helpers, or bystanders may result from one-handed operation. A chain saw is intended for two-handed use.
24. TO REDUCE potential for electric shock, do not operate the saw on wet or slippery surfaces, or during snow storms, rain storms, and other adverse weather conditions.
- DO NOT allow dirt, debris or sawdust to build up on the motor or outside air vents.
- Follow the manufacturer's sharpening and maintenance instructions for the saw chain.
- Cut at high motor speeds.
- Operation of a chain saw should be restricted to mature, properly instructed individuals.
- Your chain saw is intended for occasional homeowner use. It is not made for continuous heavy duty use.
- DO NOT FORCE a small saw to do a job requiring a heavier duty unit.
- EXAMINE THE ELECTRICAL SWITCHES. Do not use the chain saw if the switches do not properly turn on and off. Do not attempt to make any repairs to the electric switches. Take your saw to a McCulloch Authorized Service Center.
- MAINTAIN EXTENSION CORDS. Inspect the extension cords periodically and replace if damaged. Only use power cords that are suitably marked for outdoor use.
- DO NOT OPERATE YOUR CHAIN SAW near or around flammable liquids or gases, whether in or out of doors. An explosion and/or fire may result.
- This electric powered saw is classified by CSA as a Class 2C saw. It is intended for infrequent use by homeowner's, cottagers and campers, and for such general applications such as clearing, pruning, cutting firewood, etc. It is not intended for prolonged use. If the intended use involves prolonged periods of operation, this may cause circulatory problems in the user's hands due to vibration. It may be appropriate to use a saw having an anti-vibration feature.
- NEVER REMOVE, modify or make inoperative any safety device furnished with your unit.
- Safety clothing required by your safety organizations, government regulations, or your employer should be used; otherwise, snug fitting clothing, safety footwear, safety chaps and hand and ear protection should be worn.
- When felling, keep at least two(2) tree lengths between yourself and your fellow workers.
- All chain saw service, other than the items listed in the user manual safety and maintenance instructions, should be performed by competent chain saw personnel. Do not attempt to repair it yourself; there are no user serviceable parts inside.
NOTE: Low-kickback saw chain is chain that has met the kickback performance requirements of ANSI B175.1-1991 and is in accordance with CSA Z62.3. Do not use other replacement chain unless it has met these requirements for your specific model.
2 - SAFETY PRECAUTIONS
- DO NOT USE ANY OTHER CUTTING ATTACHMENT OR ACCESSORIES. Use only McCulloch replacement parts and accessories, which are designed specifically to enhance the performance and maximize the safe operation of our products. Failure to do so may cause poor performance and possible injury. Use only the chain and bar supplied with this product. Do not use any other cutting attachment. Use of such attachments will void your factory warranty and could result in serious bodily injury.

Use of these personal safety items is highly recommended to reduce the risk of accidental injury.

Read User Manual.
3 - ASSEMBLY INSTRUCTIONS
3-1. INTRODUCTION
This unit is designed for occasional homeowner use and should not be used for commercial purposes or subjected to heavy continuous use.
Your new chain saw can be used for a variety of projects such as cutting firewood, making fence posts, felling small trees, limbing, pruning at ground level, and light carpentry. Cut only wood or wood products with your saw.
3-2. UNPACKING
- Remove all items from carton.
- Check all items for any shipping damage. If you find any damage or if any parts are missing, promptly inform dealer where you bought the pole saw.
3-3. ASSEMBLY REQUIREMENTS
Your new pole saw will require adjustment of chain and filling the oil tank with lubricating oil before the unit is ready for operation. Do not start the saw motor until the unit is properly prepared.
Read all instructions carefully. Do not install any other size bar and chain than what is recommended for your model.
3-4. GUIDE BAR/SAW CHAIN REPLACEMENT INSTALLATION
WARNING
Whenever handling the saw chain, wear work gloves for protection against sharp cutting edges.
- Remove bar nuts, push bar bolts in and slide sprocket support down. (See Fig. 3-4A)
- Remove old guide bar and chain.
- Using a straight screwdriver, turn the chain adjustment screw counterclockwise as far as it will go, or until tang is to the end of its travel.
- Loop saw chain over drive sprocket with the cutting edges of the chain pointing in the direction of rotation.
- Place the slotted end of guide bar over the bar bolt so the tang fits into the lower hole in the guide guide bar.
- Make sure the chain follows the slot in the guide bar. Slide the sprocket support up and push the bar bolts through the sprocket support.
- Install the bar retaining nuts hand tight, (Proceed to saw chain tension Adjustment).


3-4A
3-5. SAW CHAIN TENSION ADJUSTMENT
Proper tension of the saw chain is extremely important and must be checked before starting, as well as during, any cutting operation. Taking the time to make needed adjustments to the saw chain will result in improved cutting performance and prolonged chain life.
NOTE: A new chain and bar will need readjustment after as few as 5 cuts. This is normal during the break-in period, and the interval between future adjustments will lengthen quickly (Figure 3-5A).
CAUTION
If a chain is TOO LOOSE or TOO TIGHT, the bar chain and saw bearings will wear more rapidly. Study Figure 3-5A for information concerning correct cold tension (A), correct warm tension (B), and as a guide for when saw chain needs adjustment (C).
3 - ASSEMBLY INSTRUCTIONS
TO ADJUST SAW CHAIN TENSION:
- Loosen the bar retaining nuts (D) so they are hand tight. (See Fig. 3-5B)
- Holding the nose of the bar up, use the screwdriver or scrench if provided in your User's Kit to turn the guide bar adjustment screw (E) (Fig. 3-5C) clockwise to tighten the chain. Turning the screw COUNTER-CLOCKWISE LOOSENS THE CHAIN on the guide bar.
- After adjustment and while wearing heavy duty work gloves, move the saw chain back and forth on the guide bar to be sure the chain moves freely and is in proper mesh with sprocket. Do not move chain with bare hands.
NOTE: IF the chain is difficult to rotate or if it binds on the guide bar, too much tension has been applied and must be adjusted. To decrease tension, turn the adjustment screw counterclockwise slowly. Move the chain back and forth until it moves freely.
- Holding the nose in upper position, securely tighten the bar retaining nuts (70 inch lbs.)


3-5B

3-6. OILING CHAIN
To oil chain, press oil cap. Oil will feed onto guide bar and chain. Press oil cap at least once before each cut. Always check oil level before using pole saw. Do not attempt to operate the oiler while cutting with the pole saw.
3-7. FILLING OIL TANK
Using a funnel, fill oil tank with McCulloch Chain, Bar and Sprocket oil. Wipe up any spills. Make sure no dirt gets into the oil tank.
3-8. SELECTING THE PROPER EXTENSION CORD FOR YOUR SAW MODEL
| Minimum Gauge Wire | |||||
| Saw Model | Ampere Rating | Volts AC | Length Power Cord | ||
| 25 ft. / 7.5m | 50 ft. / 15m | 100 ft. /30m | |||
| MCC1514 | 8 | 120 | 18 Gauge | 16 Gauge | 14 Gauge |
- When using the chain saw, an extension cord of adequate size must be used for safety and to prevent loss of power and overheating.
- The extension cord must be specifically intended for outdoor use and marked SW-A, SOW-A, STOW-A, SJW-A, SJOW-A SJTOW-A, SJTW-A, OR SJTW.
4 - OPERATING INSTRUCTIONS
4-1. TO START SAW
- PLEASE READ ALL WARNING.
- Make sure oil reservoir is full.
WARNING
Ensure the extension cord is of the proper size and type for your saw.
- Plug the cord (A) into the appropriate size extension cord (B). Plug the extension cord into a 110/120 volt AC, 15 AMP receptacle (Figure 4-1A).
WARNING
Make sure the extension cord does not come in contact with the guide bar and saw chain.
- Grip the saw with both hands, left hand holding the front handle and the right hand holding the rear handle. Thumbs and fingers should encircle both handles (Figure 4-1B).
- With your RIGHT THUMB, depress the LOCK/OFF button (C) on the side of the rear handle, and at the same time squeeze the trigger. To stop the saw, release the trigger (Figure 4-1C).
NOTE: It is not necessary to maintain pressure on the LOCK/OFF button once the trigger is squeezed and the motor is running. The LOCK/OFF button is a safety device to avoid accidental starting.


4-1B

4-2. TO STOP MOTOR
The saw motor will automatically stop when the trigger is released. The LOCK/OFF button will have to be depressed and the trigger squeezed to restart the motor.
4-3. CHAIN AND BAR LUBRICATION
Always check oil level before using saw. To oil chain, press oil cap. Do not attempt to operate the oiler while cutting with the saw. Oil will feed onto guide bar and chain. Press oil cap at least once before each cut. Check oil level often.
CAUTION
Never starve the bar and chain of lubrication oil. Running the saw DRY or with TOO LITTLE OIL will decrease cutting efficiency, shorten chain saw life, and cause rapid dulling of the chain and excessive wear of the bar from overheating. Too little is evidenced by smoke or bar discoloration.
NOTE: The saw chain stretches during use, particularly when it is new, and occasional adjustment will be needed. A new chain requires more frequent adjustment during the break-in period. This is normal. See Section 3-5 for Saw Chain Tension Adjustment instructions.
WARNING / CAUTION
A loose chain can jump off the bar while you are cutting, as well as wear the bar and chain. A chain that is too tight can damage the saw. Either situation, chain too loose or too tight, could cause serious personal injury.
4 - OPERATING INSTRUCTIONS
4-4. EXTENSION CORDS
When using an electric chain saw, plug it into the extension cord only when you are ready to cut wood. Connect the extension cord to a 110/120 voltage outlet.
NOTE: To prevent disconnection of the extension cord, tie a loose knot before connecting the ends together (Figure 4-4A).
CAUTION
A cord that is hot to the touch is overloaded.
- When using the chain saw, an extension cord of adequate size must be used for safety and to prevent loss of power and overheating.
- The extension cord must be specifically intended for outdoor use and marked SW-A, SOW-A, STW-A, STOW-A, SJW-A, SJOW-A, SJTOW-A, STJW, or SJTW.
- Inspect the extension power cord for loose or exposed wires and damaged insulation. If damaged, replace before using the appliance.
WARNING
Do not operate your chain saw in a wet or damp environment. Do not expose the saw to rain, snow or sleet. Moisture will cause short circuits. Replace or repair any damaged or frayed extension cords before using your saw. Keep the cord away from the cutting area and position the cord so that it will not be caught on branches or other objects during cutting.

4-4A
SAVE THESE INSTRUCTIONS
DOUBLE INSULATION NO SERVICEABLE PARTS INSIDE
Do not use if the cord or plug is damaged. Your appliance is double insulated to help protect against electric shock. Double insulation construction consists of two (2) separate "layers" of electrical insulation.
Appliances built with this insulation system are not intended to be grounded. As a result, the extension cord used with your appliance can be plugged into any conventional 120 volt electrical outlet.
Normal safety precautions must be observed when operating an electrical appliance. The double insulation system is only for added protection against injury resulting from a possible internal electrical insulation failure.
WARNING
Your double insulated appliance has no serviceable parts inside. Do not attempt to repair it yourself. For service information, contact the McCulloch Product Service Department toll-free number listed on the back cover of this manual.
5 - GENERAL CUTTING INSTRUCTIONS
5-1. FELLING
Felling is the term for cutting down a tree. Small trees up to 6-7" (15-18cm) in diameter are usually cut in a single cut. Larger trees require notch cuts. Notch cuts determine the direction the tree will fall.
FELLING A TREE:
WARNING
A retreat path (A) should be planned and cleared as necessary before cuts are started. The retreat path should extend back and diagonally to the rear of the expected line of fall, as illustrated in Figure 5-1A.
CAUTION
If felling a tree on sloping ground, the chain saw operator should keep on the uphill side of the terrain, as the tree is likely to roll or slide downhill after it is felled.
NOTE: Direction of fall (B) is controlled by the notching cut. Before any cuts are made, consider the location of larger branches and natural lean of the tree to determine the way the tree will fall.

5-1A
WARNING
- Do not cut down a tree during high or changing winds or if there is a danger to property. Consult a tree professional.
- Do not cut down a tree if there is a danger of striking utility wires; notify the utility company before making any cuts.
GENERAL GUIDELINES FOR FELLING TREES:
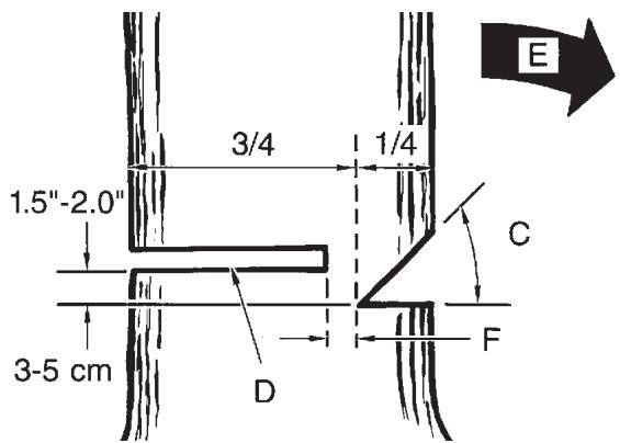
Normally felling consists of two (2) main cutting operations, notching (C) and making the felling cut (D).
Start making the upper notch cut (C) on the side of the tree facing the felling direction (E). Be sure you don't make the lower cut too deep into the trunk.
The notch (C) should be deep enough to create a hinge (F) of sufficient width and strength. The notch should be wide enough to direct the fall of the tree for as long as possible.
WARNING
Never walk in front of a tree that has been notched.
Make the felling cut (D) from the other side of the tree and 1.5'' - 2.0'' (3-5cm) above the edge of the notch (C) (Figure 5-1B).

5-1B
Never saw completely through the trunk. Always leave a hinge. The hinge guides the tree. If the trunk is completely cut through, control over the felling direction is lost.
Insert a wedge or felling lever in the cut well before the tree becomes unstable and starts to move. This will prevent the guide bar from binding in the felling cut if you have misjudged the falling direction. Make sure no bystanders have entered the range of the falling tree before you push it over.
WARNING
Before making the final cut, always recheck the area for bystanders, animals or obstacles.
FELLING CUT:
- Use wooden or plastic wedges (G) to prevent binding the bar or chain (H) in the cut. Wedges also control felling (Figure 5-1C).
- When diameter of wood being cut is greater than the bar length, make 2 cuts as shown (Figure 5-1D).
WARNING
As the felling cut gets close to the hinge, the tree should begin to fall. When tree begins to fall, remove saw from cut, stop engine, put chain saw down, and leave area along retreat path (Figure 5-1A).

5-1C
5 - GENERAL CUTTING INSTRUCTIONS

5-1D
5-2. LIMBING
Limbing a tree is the process of removing the branches from a fallen tree. Do not remove supporting limbs (A) until after the log is bucked (cut) into lengths (Figure 5-2A). Branches under tension should be cut from the bottom up to avoid binding the chain saw.
WARNING
Never cut tree limbs while standing on tree trunk.

5-2A
5-3. BUCKING
Bucking is cutting a fallen log into lengths. Make sure you have a good footing and stand uphill of the log when cutting on sloping ground. If possible, the log should be supported so that the end to be cut off is not resting on the ground. If the log is supported at both ends and you must cut in the middle, make a downward cut halfway through the log and then make the undercut. This will prevent the log from pinching the bar and chain. Be careful that the chain does not cut into the ground when bucking as this causes rapid dulling of the chain.
When bucking on a slope, always stand on the uphill side.
- Log supported along entire length: Cut from top (overbuck), being careful to avoid cutting into the ground (Figure 5-3A).
-
Log supported on 1 end: First, cut from bottom (underbuck) 1/3 diameter of log to avoid splintering. Second, cut from above (overbuck) to meet first cut and avoid pinching (Figure 5-3B).
-
Log supported on both ends: First, overbuck 1/3 diameter of log to avoid splintering. Second, underbuck to meet first cut and avoid pinching (Figure 5-3C).
NOTE: The best way to hold a log while bucking is to use a sawhorse. When this is not possible, the log should be raised and supported by the limb stumps or by using supporting logs. Be sure the log being cut is securely supported.

5-3A

5-3B

5-3C
5-4.BUCKING USING A SAWHORSE
For personal safety and ease of cutting, the correct position for vertical bucking is essential (Figure 5-4A).
VERTICAL CUTTING:
A. Hold the saw firmly with both hands and keep the saw to the right of your body while cutting.
B. Keep the left arm as straight as possible.
C. Keep weight on both feet.
CAUTION
While the saw is cutting, be sure the chain and bar are being properly lubricated.
5 - GENERAL CUTTING INSTRUCTIONS

5-4A
Ensure that the power cord is disconnected before performing any maintenance on your saw.
Proper maintenance of the guide bar, as explained in this section, is essential to keep your saw in good working order.
GUIDE BAR MAINTENANCE :
Most guide bar problems can be prevented merely by keeping the chain saw well maintained.
Incorrect filing and non-uniform cutter and depth gauge settings cause most guide bar problems, primarily resulting in uneven bar wear. As the bar wears unevenly, the rails widen, which may cause chain clatter and difficulty in making straight cuts.
Insufficient guide bar lubrication and operating the saw with a chain that is TOO TIGHT will contribute to rapid bar wear (see Section 6-2).
To help minimize bar wear, the following guide bar maintenance is recommended.
BAR WEAR - Turn guide bar frequently at regular intervals (for example, after 5 hours of use), to ensure even wear on top and bottom of bar.
BAR GROOVES - Bar grooves (or rails which support and carry the chain) should be cleaned if the saw has been heavily used or if the saw chain appears dirty. Rails should always be cleaned every time the saw chain is removed.
OIL PASSAGES - Oil passages at bar pad should be cleaned to ensure proper lubrication of the bar and chain during operation. This can be done using a soft wire small enough to insert into the oil discharge hole.
TO CLEAN GUIDE BAR RAILS:
- Remove sprocket cover, bar and chain (see Section 3-4).
- Using a screwdriver, putty knife, wire brush or other similar instrument, clear residue from the rails on the guide bar.
This will keep the oil passages open to provide proper lubrication to the bar and chain (Figure 6-1A).
- Reinstall the bar, chain and bar bolt retaining nuts. (See Section 3-4).

Unless you have experience and specialized training for dealing with kickback (see Safety Precautions), always use a low-kickback saw chain, which significantly reduces the danger of kickback. Low-kickback saw chain does not completely eliminate kickback. A low-kickback or "safety chain", should never be regarded as total protection against injury.
A low kick saw chain should always be used in combination with other kickback protection devises such as a hand guard and reduced kickback guide bar supplied with the your unit.
Always use a replacement saw chain designed as "low-kickback" or a saw chain which meets the low-kickback performance.
A standard saw chain (a chain which does not have the kickback reducing guard links) should only be used by an experienced professional chain saw operator.
WHAT IS A LOW-KICKBACK SAW CHAIN?
A low-kickback saw chain is a chain which has met the kickback performance requirements of ANSI B175.1. Do not use other replacement chain unless it has met these requirements for your specific model.
By keeping the saw chain in good working condition and correctly serviced as recommended in this manual, you will be able to maintain the safety system of your chain saw over the life of the product.
WARNING
Never remove, modify or make inoperative any safety device furnished with your unit. The hand guard, reduced kickback guide bar and low kick back saw chain are major safety features provided for your protection.
WARNING
Always wear heavy duty protection work gloves and disconnect the extension cord when working on the saw chain.
CHAIN TENSION:
Check the chain tension frequently and adjust as often as necessary to keep the chain snug on the bar, but loose enough to be pulled around by hand. (See Section 3-5, Saw Chain Tension Adjustment).
BREAKING IN A NEW SAW CHAIN
A new chain and bar will need readjustment after as few as five (5) cuts. This is normal during the break-in period, and the interval between future adjustments will begin to lengthen quickly.
Over a period of time, however, the moving parts of the saw chain will become worn, resulting in what is called CHAIN STRETCH. This is normal. When it is no longer possible to obtain correct chain tension adjustment, a link will have to be removed to shorten the chain. See your McCulloch Authorized Service Center to have this repair performed.
WARNING / CAUTION
Never have more than three (3) links removed from a loop of chain this could cause damage to the sprocket.
7 - PREVENTIVE MAINTENANCE
7-1. PREVENTATIVE MAINTENANCE
WARNING
SERVICING A DOUBLE INSULATED CHAIN SAW
In this double insulated chain saw, 2 systems of insulation, instead of grounding, are provided. No grounding means is provided on a double insulated chain saw, nor should a means for grounding be added to the chain saw. No serviceable parts are inside. A double insulated chain saw is marked with the words, "DOUBLE INSULATION" or "DOUBLE INSULATED". The symbol (square within a square) may also be marked on the chain saw.
- Place switch in OFF position and unplug the power supply before the chain saw is serviced, cleaned, or maintenance is performed.
- Keep the air intake clean and air vents free of debris to avoid overheating the motor.
- Clean with a damp sponge and mild soap. Do not squirt with a water hose or douse with water or other liquids.
- Inspect the saw chain for proper tension before each use and frequently during cutting. Sharpen as required.
- Clean the guide bar and bar pad to ensure free path for oil.
- Turn the bar over after each use to achieve even wear.
- No motor lubrication is necessary. The motor is equipped with lifetime lubricated bearings.
- If the saw does not operate, turn switch to OFF position and disconnect the extension cord, first from the power supply, then from the saw. Check the power supply for blown fuses or tripped circuit breakers. If it still does not operate, contact the McCulloch Product Service Department, through the toll-free number listed on the back cover of this manual, for service information. Do not attempt to repair it yourself. No serviceable parts are inside.
8 - ONE YEAR LIMITED WARRANTY
1. DURATION
The duration of the warranty for this McCulloch product is as follows: ONE (1) YEAR from date of original purchase only when used for personal, family, household, farm or ranch, purposes, provided the unit is not used for rental purposes; NINETY (90) DAYS from date of original purchase when used for commercial, professional, institutional or rental purposes. This warranty gives you specific legal rights. You may also have other rights which vary from state to state. MCCulloCH CORPORATION HEREBY DISCLAIMS ALL IMPLIED WARRANTY AFTER THE APPLICABLE EXPIRATION DATES OF THIS EXPRESS LIMITED WARRANTY. (Some states do not allow limitations on how long an implied warranty lasts, so the above limitations may not apply to you.)
2. WHO GIVES THIS WARRANTY
McCulloch U.S.A
1-800-521-8559
1030 Stevens Creek Road, Augusta, GA 30907
3. WHO RECEIVES THIS WARRANTY
A. The buyer (other than for purposes of resale) of the McCulloch Product.
B. Any person to whom such product is lawfully transferred within the duration of the implied or written warranty applicable to the product.
C. Any other person who is entitled by the terms of the warranty or under applicable state law to enforce against the Warrantor the obligation of the warranty. (The above mentioned parties are hereinafter referred to as "User.")
4. WHAT IS COVERED UNDER THIS WARRANTY
Any failure that occurs within the applicable duration of the warranty period that is the result of defects in materials or workmanship.
5. WHAT IS NOT COVERED UNDER THIS WARRANTY
A. Any incidental or consequential damages that may result from the failure or malfunction of the McCulloch product. (Some states do not allow the exclusion or limitation of incidental or consequential damages, so these limitations may not apply to you.)
B. Any failure that results from an accident, User abuse, neglect or failure to operate the product in accordance with the instructions provided in the User Manual(s) supplied with the product, or that results from improper servicing by an unauthorized repair facility.
C. Normal adjustments which are explained in the User Manual(s) provided with the product.
D. Any component(s) or accessories not sold or manufactured by the Warrantor.
E. Predelivery setup or assembly of units.
F. This warranty does not apply to accessories, normal maintenance or adjustment(s) of the product set forth in the User Manual(s).
6. RESPONSIBILITIES OF THE WARRANTYER UNDER THIS WARRANTY
A. Repair or replace components which have failed within the duration of the applicable warranty period at no cost to the User.
B. Ensure that the authorized repair station is reimbursed for parts and labor costs incurred due to performance of a warranty repair in accordance with established warranty policies and procedures.
7. RESPONSIBILITIES OF THE USER UNDER THIS WARRANTY
A. The User must deliver or ship the McCulloch product covered under this warranty to the dealer from whom it was originally purchased or to the nearest Authorized Service Center. Proof of purchase is required.
B. Freight costs, if any, will be borne by the user.
C. Use reasonable care in maintenance, operations and storage of the product as explained in the User Manual(s).
8. WHEN WARRANTYOR WILL PERFORM OBLIGATION UNDER THIS WARRANTY
A. Repair of warrantable products will be scheduled according to the normal work flow at the servicing location, depending on the availability of replacement parts.
B. Repair time which exceeds ten (10) days from the time the product was delivered to the servicing agent will extend the warranty coverage by the number of days the product remains inoperable.
C. If User does not receive satisfactory results from local servicing outlet, User must contact McCulloch Corporation, by calling our toll-free telephone number.
MANUEL DE UTILISATION
Poids net 7.5 lbs. (3.4Kg)
2 - MEASURES DE SECURITE
MESURES DE SECURITE POUR UTILISATEURS DE TRONCONNEUSES
(ANSI B175.1-1991, Annexe C) (CAN3-Z62.1-M85 FEB 85, Appendices A, B)
LES REACTIONS (REBOND COINAGE) ET DE PROPULSION (Figure 2-2B)
1030 Stevens Creek Road, Augusta, GA 30907
3. QUI EST COUVERT PAR CETTE GARANTIE
LES REACTIONS (REBOND COINAGE) ET DE
PROPULSION (Figure 2-2B)
1030 Stevens Creek Road, Augusta, GA 30907
EasyManual