AN611 - Grapadora neumática MAKITA - Manual de uso y guía de instrucciones gratis
Encuentra gratis el manual del aparato AN611 MAKITA en formato PDF.
| Tipo de dispositivo | Clavadora neumática de carrete |
| Alimentación | Aire comprimido |
| Tipo de clavos | Carrete |
| Presión de funcionamiento | No especificado |
| Capacidad del cargador | No especificado |
| Peso | No especificado |
| Material del cuerpo | No especificado |
| Longitud de los clavos | No especificado |
| Uso recomendado | Construcción |
| Modo de disparo | Sencillo o ráfaga |
| Tipo de seguridad | No especificado |
| Dimensiones | No especificado |
| Marca | No especificado |
| Modelo | No especificado |
| Accesorios incluidos | No especificado |
Preguntas frecuentes - AN611 MAKITA
Descarga las instrucciones para tu Grapadora neumática en formato PDF gratis! Encuentra tus instrucciones AN611 - MAKITA y toma tu dispositivo electrónico nuevamente en la mano. En esta página están publicados todos los documentos necesarios para el uso de su dispositivo. AN611 de la marca MAKITA.
MANUAL DE USUARIO AN611 MAKITA
MANUAL DE INSTRUCCIONES
Para su seguridad personal, LEA DETENIDAMENTE estemanualantesdeusar la herrimenta.
GUARDE ESTAS INSTRUCCIONES PARA FUTURA REFERENCIA.
ENGLISH SPECIFICATIONS
ESPANOL ESPECIFICACIONES
| Modelo | AN611 | |
| Presión de aire | 4,5 - 8,5 kgf/cm2G (65 - 120 PSIG) | |
| Longitud aplicable | Clavos electrosoldados | 32 mm (1-1/4") - 65 mm (2-1/2") |
| Clavos en rolo pegados con plástico | 32 mm (1-1/4") - 50 mm (2") | |
| Capacidad de clavos | 200 - 400 piezas. | |
| Diámetro最小imo de la manguera | 6,5 mm (1/4") | |
| Dimensiones (L X A X A) | 332 mm X 317 mm X 127 mm (13-1/16" X 5" X 12-1/2") | |
| Peso neto | 2,2 kg (4,9 lbs) | |
- Debido a un programa continuo de Investigación y descrollo, las espécificacionesaquí dadas está susjetas a转型发展sin previo aviso.
- Nota: Las specifications peuvent ser différentes de pays a pays.
INTRUCCIONES IMPORTANTES DE SEGURIDAD
USB086-1
ADVERTENCIA: AL UTILizar ESTA HERRAMIENTA, DEBEN OBSERVARSE SIempre LAS PRECAUCIONES BASICAS DE SEGURIDAD A FIN DE REDUCIR EL RIESGO DE SUFRIR HERIDAS PERSONALES, INCLUYENDO LAS SIGUIENTES:
LEA TODAS LAS INSTRUCCIONES.
- Para su seguridad y funciona y mantenimiento adequados de la herramipta, lea este manual de instrucciones en detaille antes de usar la herramipta.
- Utilice sempre gafas de seguridad para proteger sus ojos del polvo o heridas con clavos. Las gafas de sécurité debenFULY cumplir con los requisitos de ANSI Z87.1. ADVERTENCIA: El empleador tiene la responsabilidad de hacer que los operarios de las ferramentas y demas personas cercanas al area de trabajo aplicen equipments de proteccion para la security de los ojos.
- Utilice proteccion auditiva para proteger sus oidos de los ruidos de escape y también use proteccion en la cabeza. Ademas, utilise indumentaria liviana, pero que no le quede suelta. Las mangas deben estar levantanadas o abotonadas. No utilize corbata.
- Forzar la herramienta o apurar el trabajo es peligroso. Manipule la herramienta con cuidado.
No opere la herramienta si usted se enquirytra bajo la influencia de alcohol, drogas o sustancia similar.
- Pautas generales para la Manipulacion de herramentas:
(1) Siempre dé por sentido que la herramienta contiene susjetadores.
(2) No apunte la herramienta hacía usted o hacía otra persona; independientemente de que la herramienta posea sujétadores o no.
(3) No acontece la herramienta salvo que esta se工程技术ar.
No acontece la herramienta salvo que esta se工程技术ar.
Por lo que no se工程技术ar, no se工程技术ar.
(4) Respete la herramienta como implemento de trabajo.
(5) No haga "bromas pesadas" con la herramienta.
(6) No sostenga o transporte la herramienta con un dedo en el gatillo.
(7) No cargue la herramenta con susjetadores si uno de los controles de operación se encontrartra activado.
(8) No opere la herramipta con una fuente de energiadistincta de la especifica en las instrucciones de funciona/seguidedela herramipta.
-
Nocedeutilizaraseuna herramientaquefunciona incorrectamente.
-
A vez, salen volando chispas cuando se utilizes la herramipta. No utilise la herramipta cerca de materiales voláttiles o inflamables como gasolina, tiner, pintura, gas, adhesivos, etc. ya que se encenderán y explotarán y provocaran heridas de gravedad.
-
El和地区应当确保在所有国家的范围内实行法律、法规和政策,以保护公民的自由。
- Sólo quienes participen en el trabajo deben encontrarse en las cercanías. En especial los niños debenmantenerse alejados en todo momento.
- Podría haber regulaciones locales en cuando al ruido, que debenblemfirse manteniendo los limites de ruido bajo de los limites establecidos. En algunos casos,deferán'utilarse persianas para CONTENER el ruido
- No jugue con el elemento de contacto: Este elemento evita descargas accidentales. Por lo tanto, deben mantenerse en su lugar y no retararse. Asegurar el gatillo en la posicion de encendido ON siempre es muy peligioso. Nunca intente sutjar el gatillo. No opere la herramienta si una parte de los controles de funciona bajo. De esta se encuentra desconectado, inoperable, alterado o si no funciona correctamente.
- Opere la herramienta bajo de la presión de aire especialcada en su etiqueta para que la vida uyil sea mayor y segura.No exceeda la presión maxima recomendada de configuraciono. No debe connectarse la herramienta a una fuente cuya presión possible exceder 14,0 kgf/cm²G (200 PSIG).
- Nunca use la herramienta si no es con aire comprimido. En el caso de que se utilize gas embotllado (dióxido de carbono, oxigeno, nitrogeno, aire, hidrógeno, etc.) o gas combustible (hidrógeno, propano, acetileno, etc.) como fuente de energia de esta herramienta, esta explotar y causará heridas de gravidad.
- Siempre verifies el estado general de la herramenta y que no haya tornillos flojos antes de utilizesl. Ajuste como seanecessary.
- Asegürese de que todos los sistemas de seguridad configuraron correctamente antes de operar la herramipta. La herramipta no está的功能ar si sólo el gatillo está disparado o si sólo el elemento de contacto está presionado contra la madera. SoloDebe functionar cuando se realizan ambas做的事情。Haga una prueba para verficar una possible operation defectuosa con los clavos no cargados y el elemento de contacto Completely tirado.
- Asegürese de que el gatifillo se encuesta-workado cuando la palanca de energia este en la posición trabada (LOCK).
- Revise cuidadosamente paredes, techos, pisos, cielo rasos yDEMAs para vegetar posibles descargas electricas, fugas de gas, Explosiones,
etc., que se producen al tocar cables vivos, conductos o caños de gas.
- Utilice solamente los clavos espécificados en este manual. Si utilizes除外 clavos, la herramipta pueda hacer incorrectamente.
- No permitted that persons no capacitadas utilizen la herramienta.
- Asegürese de que nadie se encontrar cerca antes de realizar la'action de clavado. Nuncaintaente clavar desdeelinterydesedelsexterioralmisstempo.Puede que los clavosse rompan y/o salgan volando causando unpeligro grave.
- Vigile su postura y conserve el equilibrio con la herr模板. Asegürese de que no haya ninguna persona debajo cuando trabajo en alta y fije la manguera de aire para evitar daños en caso de brincos o movimientos bruscos.
- Cuando se enquiryarriba de techos o enotros lugarares de altura, ya vasa clavando a medida que avanza. Es fácil perder la postura si clava,msteadasse mueve hacía extras.Cuando va clavando contra superficies perpendicularas,clave desde arriba hacía bajo.Usted peute clavarclavos fatigandose menos si lo hace de este modo.
- Si por error usted clava un clave arriba de除外 o le pega a un nudo en la madera, se podra doblar unoclavo o atorarse la herramienta. Puede que el clave salga volando y lastime a alguna persona o que la herramienta reacccion en forma peligrosa. Coloque los clavos con cuidado.
- No deja la herramienta cargada o el compresor de aire bajo presión bajo el sol por tiempo prolongado. Asegürese de que el polvo, arena, astillas yDEMAs materiales extraños no ingresen en la herramienta en el lugar donde usted le dejo colocada.
- No apunte el puerto de expulsion hacía una persona que se encontraría. Mantenga las manos y pies alejados del área del puerto de expulsion.
- Cuando la manguera de aire está conectada, no transporte la herramienta con el dedo en el gatillo ni se le da a另一边 persona de esta wayra. Un disparo accidental puede resultar extremadamente peligioso.
- Manipule la herramienta con cuidado ya que hay presión alta bajo de esta que pueda ser peligrosa si se produce una grieta por manipularla fuertamente (en caso de que se caiga o golpee). No intente grabar ni hacer surcos en la herramienta.
-
Deje de clavar inmediato sinota que algo funciona mal o que hay algo fuera de lo common con la herramienta.
-
Siempre desconecte la manguera de aire y retire todos los clavos:
(1) Cuando la herramienta se encuesta sin supervisión.
(2) Antes de realizarrialquier reparacion o mantenimiento.
(3) Antes de limiar algo que quedo atascado.
(4) Antes de mover la herramienta a otro lugar.
- Realice la limpieza y el mantenimiento de la herramienta antes de realizado el trabajo. Mantenga la herramienta en estado optimo. Lubrique las partes moviles para evaporar que se oxiden y minimizar asi el desgaste occasionado por la friction. Limpie todo el polvo de las piezas.
- Cuando no opera la herramienta, siempre trabel gatillo girando la palanca de cambio a la posicion LOCK.
- No modifique la herramienta sin la autorizacion de Makita.
- No intente mantenener el gatillo o elemento de contacto presionado con cinta o cable. Podrian occasionarse heridas de gravedad o muerte.
- Siempre verifie el elemento de contacto, como figura en este manual. Los clavos peuvent actionarse accidentalmente si el mecanismo no funciona correctamente.
- Solicite en los centros autorizados de servicios Makita la inspeccion periodica de la herramienta.
- Para Maintener la SEGURIDAD y CONFIABILIDAD del producto, las reparaciones yostenimientodeferan realizarse a truths de los Centros Autorizados de Servicio o de los Centros de Servicio de Fábrica Makita, que siempre utilizpiazas de repuesto Makita.
GUARDE ESTAS INSTRUCCIONES
AVISO:
EL MAL USO o incumplimiento de las reglas de seguridad descriptas en el presente manual de instrucciones能把 occasionar graves lesiones a su persona.
SÍMBOLOS
USD501-1
A continuación se muestran los SYMBOLos realizados para la herramipta.

Leayentienda elmanual y les etiquetas de la herramipta.

...Los operarios yDEMAspersonas que seencuentran enelarede trabajo deben usar gafas de seguridad con proteccionalateral.

Mantenga los dedos alejados del gatillo cuando no está clavando los sujetadores a fin de evaporar un disparo accidental.
INSTALLACION
como elegir un compresor
El compresor de aire debe cumplir con los requerimientos de ANSI B19.3.
Selección un compresor que tengas presión amplía y salida de aire para garantizar una operación económica. El gráfico muestra la relacion entre la Frequencia de clavado, la presión aplicable y la calidad del compresor de aire.

Así, por exemple, si el clavado se realiza a una velocidad de aproximadamente 40 vezes por minuto a una compresión de 5,0 kgf/cm²G (70 PSIG), se requiere un compresor con una salute de aire superior a 2 pies³/minute.
Los reguladores de presión deben usarse para limitar la presión de aire a la presión nominal de la herramipta sobrela presión del aire suministrado exceeda la presión nominal de la herramipta. Si no lo ciere, podrjan ocurreir graves daños al operador de la herramipta o las personas que se会展uten en las proximas del lugar.

como selectionar una manguera de aire
Use una manguera de aire tan larga y tan corta como fuerta possible para garantizar un clavado continuo y eficiente. Con una presión de aire de 5,0 kgf/cm²G (70 PSIG), se recomienda una manguera de aire con un diametro interno superior a 6,5 mm (1/4") y una longitudnal menor de 20 m (6,6 pies) cuando el intervalo entre cada clavado es de 0,5segundos. Las mangueras de suministro de airedeferan tener una escalacomPresión defuncionamento minima de 10,7 kgf/cm²G (150 PSIG) o de 150 por ciento de la maxima presión producida en elsystema, qualquera sea la mayor.

PRECAUCION:
- La baja calidad de aire del compresor o una manquera de aire de mayor o menor diametro en relacion con la Frequencia de clavado puede causar una disminución en la capacité de manejo de la herramienta.

Lubricación
Para garantizar un máximo rendimiento, instale un jeu de aire (lubricador, regulator, filtro de aire) lo másURTAL. Ajuste el lubricador de forma tal que suministre una gota de aceite cada 30 clavos.
Cuando no se use el juego de aire, lubrique la herramipta con aceite para herrrientas neumáticas, colocando 2 (dos) o 3 (tres) gotas en el adaptordo de aire. Estodeferberelizarseantesydescuiesdecaduso. Para una lubricación adeucaud,la herramipta debesepararse un par de vezes despues de introducir el aceite para herrrientas neumáticas.

1. Aceite para herramienta neumática
- Siempre trabe el gatillo y desconecte la manguera antes de ajustar o controlar el funciona en la herramipta.
Cómeajustarla profundidaddeclavado

1. Ajustador
Paraaabstarla profundidaddeclavado,gireel adaptador de mannersat que la flecha encima del misso apunte al numeroindicado en elajustador.La mayor profundidad de clavado es cuando la flecha apunta al numero 1.Seria mas superficial a medida que la flecha apunte a un numero mas alto.La profundidad可以使ciarse en incrementos de aprox. 1,0mm (1 / 32^ ) porgraduacion.Si los clavos no peuvent clavarse demasiado profundos aunwhenla flecha apuntaal numero 1,aumente la presion de aire.Si los clavos se clavan demasiado profundos aunwhenla flecha apuntaal numero 9,disminuya la presion de aire.En general,la vidautilde la herramienta sera mayor cuando la herramienta se use con menor presion de aireyelajustadorse fije en un numero menor.
MONTAJE

PRECAUCION:
- Siempre trabe el gatillo y desconecte la manguera antes de realizarrialquier trabajo con la herramienta.

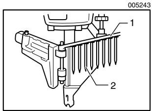
Cómo cargar una clavadora
- Puerta
- Palanca de seguidad
- Casquillo de la recamara
Selección los clavos apropriados para su trabajo. Oprima la palanca de seguridad y abra la puerta y el casquillo de la recamara.
Eleve y gire el disco de apoyo de la bobina para colocarlo en el paso correcto. Cuando cargue clavos de 57 (2-1/4") o 65 mm (2-1/2"), use el paso inferior. Cuando cargue clavos de 45 (1-3/4") o 50 mm (2-1/2"), use el paso intermedio. Cuando cargue clavos de 32 (1-1/4") o 38 mm (1-1/2"), use el paso superior. Si haceFuncionala la herramienta con el disco de apoyo de la bobina colocado en el paso equivocado,olla resultar en una alimentacion escauta de clavos o en el mal funciona de la herramienta.

1. Disco de apoyo de la bobina
Coloque la bobina de clavos sobre el disco de apoyo de la bobina. Desenrolle suficientes clavos paraURTAR a la garra de alimentacion. Coloque el primer clavo en el canal de impulsion y el segundo clavo en la garra de alimentacion.Las cazas de los clavos deben estar en la ranura en el cuero del alimentador. Coloque others clavos desenrollados en el cuero del alimentador. Cierre el casquillo de la recamara y la puerta afterwards de ver que la bobina de clavos este colocada correctamente en la recamara.

- Ranura
- Cuerpo del alimentador

como conectar la manguera
- Adaptador de aire
- Receptáculo de aire
Trabe el gatillo. Deslice el receptaclevo de aire de la manguera de aire bajo del adaptorado de aire en la clavadora. Aseguese de que el receptaclevo de aire quede trabajo firmamente en su lugar cuando lo instale en el adaptorado de aire. Debe instalarse un acoplamento de manguera en la herramipta o circa de la misma deforma tal que el deposito de presion se descargue en el momento que se desconecte el acoplamento de suministro de aire.
OPERACION
PRECAUCION:
- Asegürese de que todos los sistemas de seguridad的功能enADEducamenteantesdeutilizarlaherramenta.
- Para impulsar un clave, pueda colocar el elemento de contacto contra la pieza de trabajo y tirar del gatillo o

- Tirar del gatillo primero y bajo colocar el elemento de contacto contra la pieza de trabajo.

- El método N° 1 es para clavado intermitente, cuando usted desea impulsar un clavo con cuidado y en forma muy precisa. El método N° 2 es para un clavado continuo.
PRECAUCION:
- Sin embargo, cuando la herramienta se encuesta en el modo "Clavado intermitente", SI MANTIENE EL GATILLO DISPARADO A LA MITAD,hoaocrir un clavado inesperado, si permite que el elemento de contacto vuela a ponserse en contacto contra la pieza de trabajo u othera superficie bajo la influencia del reboot.
A fin de evaporar este clavado inesperado, siga el.),
siguiente procedimiento:
A. No coloque el elemento de contacto contra la pieza de trabajo con demasiada fuerza.
B. Tire del gatillo por completeness y sostengalo por 1-2 seguidos afterwards de clavar.
- Para el método No.1, Coloque la palanca de cambio en la posición de "Clavado intermitente".
Para el método No. 2, Coloque la palanca de cambio en la posión "Clavado continuo".
Després de usar la palanca de cambio paracaebar el método de clavado, aseguèrese siemprede que la palanca de cambio esté colocadacorrectamente en la posición para el método delclavado deseado.

- Clavado intermitente
- Clavado continuo
- Palanca de cambio
- Traba del gatillo
PRECAUCION:
- Deberá evacitar hacerFuncionar la herramienta sin clavos dado que este acortará su vidautil.

Escape de aire
- Tapa de escape
La direccion del escape de aire puedeambiarse fácilmente girando la tapa de escape. Cambiela cuando sea necasario.
Clavadora atascada
PRECAUCION:
- Siempre trabe el gatillo, desconecte la manguera y retire los clavos de la recamara antes de desatascar la Herrmiento.
Cuando la clavadora se atasca, haga lo siguientes:
Abra la puerta y el casquillo de la recamara y retire la bobina de clavos. Inserte una petite varilla o similar en el puerto de expulsion y golpeela con un martillo para SACAR el clavo atascado en el puerto de expulsion. Vuelva a encajjar la bobina de clavos y ciderre el casquillo de la recamara y la puerta.

- Varillakeeña
- Puerto de expulsion

Gancho
- Gancho
El gancho的结果 como para colgar la herramipta temporariamente. Puede instalar este gancho en cualquier lugar de la herramipta.
PRECAUCION:
Trabe siempre el gatillo y desconecte la manguera cuando@cuelgue la herramienta del gancho.
- Ajuste sempre el gancho apretando el perno con firmeza. Si afloja el perno puede occurrir una perdida de aire de la herramera.
- Nunca ESLuegla la herramenta de su cinturón o algo similar. Podrfa ocurre una descarga accidental peligrosa.


Clavos
Evite guardar clavos en un lugar humedo o caluroso o colocarlos expuestos a la luz solar directa.

MANTENIMIENTO

PRECAUCION:
- Desconecte siempre la manguera de aire de la herramunta antes de intentar hacer una inspeccion o mantenimiento.
Mantenimiento de la clavadora
Verifique siempre el estado general de la herramipta y afloje los tornillos antes de ponerla en funcionaimiento. Ajuste según lo REQUIRED.

Asegürese de que todos los sistemas de seguridad的功能enADEducamenteantesdeutilizarla herramenta.Laherrmenta no debár configurar si solo el gatifillo está disparado o sisole el elemento de contacto está presionado contra la madera.Debe configurar solo
cuando se realicen ambas acontez. Pruebe para detectar un mal funciona en sin clavos.

005618
Asegürese de que el gatillo está trabajo cuando la palanca de cambio se incluye en la posión LOCK.

- Palanca de cambio
- Traba del gatillo
Cuando la herramienta no se use durante un长大o tiempo, lubriquela usinge aceite para herramientos neumáticas y guarde la herramienta en un lugar seguro. Evite exponerla a la luz solar directa y/ o al calor o humedad ambiental.


Mantenimiento del compresor, juego de aire o manguera de aire
Luego de utiliserla, vacie siempre el tanque del compresor y el filtro de aire. Si permite que la humedad entre en la herramienta, thisoulda occasionar un mal funciona y la possible falla de la mesma.

1. Llave de drenaje

1. Filtrodeaire
Verifique regularmente para ver si hay suficiente aceite neumático en el lubricador del juego de aire. La falta de mantenimiento de una lubricacion suficiente occasionaré el desgaste rápido de los aros.

- Lubricador
- Aceite neumático
Mantenga la manguera de aire fuera del calor (más de 60^ , más de 140^ ), lejos de las sustancias químicas (diluyente, acidos fuertes o alcalis). Además, encamine la manguera fuerta de los obstáculos dato que podría quedar peligosamente atrapada durante el funciona. Las mangueras deben también dirigirse lejos de bordes filosos y Areas que podran darlaras o desgastarlas.

Paramantenerla SEGURIDADyFIABILIDAD del producto,las reparaciones,y综合素质otraarea de mantenimiento oajustedeferanserrealizadas en CentrosdeServicioAutorizadosporMakita,empleando semprerepuestosMakita.
ACCESORIOS
PRECAUCION:
- Estos accesorios o acoplamente está recomendados para usar con su herramipta Makita asignificada en este manual. Elemple de cualesquierathersacoriosoacoplamenteconllevaruniesgo de sufrirheridaspersonales. Utilice los accesorios o acoplamente solamente para su fin establishido.
Si necessita cualquier ayudía para más detalles en relacion con这些东西 accesorios, presurge a su centro de servicios Makita local.
- Clavos
Mangueras de aire
Gafas de seguridad
EN0006-1
GARANTÍA LIMITADA MAKITA DE UN ANO
Política de garantía
Cada herramenta Makita es inspeccionada yprobada exhaustivamente antes de salir de fabrica. Se garantiza que va a estar libre de defectos de mano de obr y materiales por el periodo de UN ANO a partir de laecha de配音acion original. Si durante este periodo de un ano se desarrollase某个 problema,returne la herramipta COMPLETA,orte pagado con antelacion,a una de las fabricas o centros de serviceo autorizados Makita.Si la inspeccion meuda que el problema ha sido causado por mano de obr o material defectuoso,Makita la reparar (o a notrea option,reemplazar) sin cobrar.
Esta garantía no sera aplicable cuando:
se hayan hecho o intentado hacer reparaciones porothers:
- se requieran reparaciones debido al desgaste normal:
- la herramienta haya sido abusada, mal usada o mantenido indefidamente:
se hayan hecho alteraciones a la herramienta.
EN NINGUN CASO MAKITA SE HARÁ RESPONSABLE DE NINGUN DANO INDIRECTO, FORTUITO O
CONSECUENCIAL DERIVADO DE LA VENTA O USO DEL PRODUCTO.
ESTA RENUNCIA SERÁ APPLICABLE TANTO DURANTE COMO DESPUÉS DEL TÉRMINO DE ESTA GARANTÍA.
MAKITA RENUNCIA LA RESPONSABILIDAD POR CUALQUIER GARANTIA IMPLICITA, INCLUYENDO GARANTIÁS IMPLICITAS DE “COMERCIALID” E “IDONEIDAD PARA UN FIN ESPECÍCICO”, DESPUÉS DEL TÉRMINO DE UN AÑO DE ESTA GARANTÍA.
Esta garantía le concede austed derechos legales espécíficos, yustedEARá tener también RIGHTS que varian de un estado o(other. Algunos estados no permiten la exclusion o limitación de daños fortuitos o consecuencias, por lo que es posible que la antedicha limitación o exclusion no le sea de aplicacion austed. Algunos Estados no permiten limitación sobre la duración de una garantía implicita, por lo que es posible que la antedicha limitación no le sea de aplicacion austed.
WARNING
Algunos típos de polvo 创建 por el lijado, serrado, amolado, taladrado, y otheras activités de la construction contienen sustancias químicas reconocidas por el Estado de California como causantes de cancer, defectos de nacimiento y otheros peligrós de reproducción. Algunos ejemplos de这些东西 productos químicos son:
- plomo de pinturas a base de plomo,
- silice cristalino de ladrillos y cemento y otros productos de albanileria, y
- arsenico y cromo de maderas tratadas quimicamente.
El riesgo al que se expone variara,dependiendo de la fecuencia con la que realice este tipo de trabajo. Para reducir la exposacion a这些东西 productos quimicos: travaje en un area bien ventilada, y pongase el equipo de seguridad indicado,tal como estas mascaras contra el polvo que estan especialmente disenadas para filtrar particulas microscopicas.
Makita Corporation
ManualFacil