AN611 - Agrafeuse pneumatique MAKITA - Notice d'utilisation et mode d'emploi gratuit
Retrouvez gratuitement la notice de l'appareil AN611 MAKITA au format PDF.
| Type d'appareil | Cloueuse pneumatique |
| Alimentation | Air comprimé |
| Type de clous | Bobine |
| Pression de fonctionnement | Non précisé |
| Capacité du chargeur | Non précisé |
| Poids | Non précisé |
| Matériau du corps | Non précisé |
| Longueur des clous | Non précisé |
| Utilisation recommandée | Construction |
| Mode de tir | Simple ou rafale |
| Type de sécurité | Non précisé |
| Dimensions | Non précisé |
| Marque | Non précisé |
| Modèle | Non précisé |
| Accessoires inclus | Non précisé |
FOIRE AUX QUESTIONS - AN611 MAKITA
Téléchargez la notice de votre Agrafeuse pneumatique au format PDF gratuitement ! Retrouvez votre notice AN611 - MAKITA et reprennez votre appareil électronique en main. Sur cette page sont publiés tous les documents nécessaires à l'utilisation de votre appareil AN611 de la marque MAKITA.
MODE D'EMPLOI AN611 MAKITA
Construction Coil Nailer Clouese Pneumatique à Bobine Clavadora Neumática de Carrete
AN611

005235
WARNING:
Pour votre propre sécurité, priere de dire attentivement avant l'utilisation.
GARDER CES INSTRUCTIONS POUR REFERENCE ULTÉRIÉURE.
ADVERTENCIA:
| Modèle | AN611 | |
| Pression d'air | 4.5 - 8.5 kgf/cm²G (65 - 120 PSIG) | |
| Longueur applicable | Clous reliés par bande métallique | 32 mm (1-1/4") - 65 mm (2-1/2") |
| Clous reliés par bande de plastique | 32 mm (1-1/4") - 50 mm (2") | |
| Capacité de clouage | 200 - 400 pcs. | |
| Diamètre minimal du tuyau | 6.5 mm (1/4") | |
| Dimensions (L X H X L) | 332 mm X 317 mm X 127 mm (13-1/16" X 5" X 12-1/2") | |
| Poids net | 2.2 kg (4.9 lbs) | |
- Le fabricant se réserves le droit de modifier sans averissement les specifications.
Note: Les specifications peuvent varier selon les pays.
IMPORTANT CONSIGNES DE SECURITÉ
USB086-1
AVERTISSEMENT: PAR MESURE DE SECURITE, DES PRECAUTIONS DE BASE DOIVENT ETRE PRISES LORS DE L'UTILISATION DE CET OUTIL, AFIN DE RÉDUIRE LES RISQUES DE BLESSURE. CES MESURES COMPRENNT LES SUIVANTES:
LISEZ TOUTES LES INSTRUCTIONS.
- Par mesure de sécurité personnelle et pour assurer une utilisation et un entretien ajustats, veuilles lire attentivement ce manuel d'instructions avant d'utiliser l'outil.
- Portez toujours des lunettes de sécurité pour protéger vos yeux contre toute blessure au contact de la poussière ou d'un clou. Les lunettes de sécurité doivent répondre aux exigences de la norme ANSI Z87.1. AVERTISSEMENT: L'employeur à la responsabilité d'imposer le port d'un dispositif de protection des yeux aux utilisateurs des outils et à toute personne presente dans l'aire de travail.
-
Portez une protection d'oreilles pour les protégger contre le bruit, et portez un casque de sécurité. Les vêtements portés doivent être légers et ne doivent pas être amples. Veuillez boutonner ou rouler vos manches. Ne portez pas de cravate.
-
Il est dangereux de travailler trop vite ou d'appliquer une charge de travail excessive à l'outil. Manipuez l'outil avec prudence. N'utilise pas l'outil si vous consommé de l'alcool, des médicaments, etc.
- Conseils généaux pour l'utilisation de l'outil :
(1) Considerez toujours que l'util contient des clous.
(2) QQu'il contienne ou non des clous, l'outil ne doit jamais etre pointe vers vous-meme ou vers une autre personne.
(3) Ne mettez pas l'outil en marche avant qu'il ne soit fermement place contre la pièce à travailler.
(4) Respectez votre outil en tant qu'instrument de travail.
(5) Évitez tout chahut.
(6) L'outil ne doit jamais être saisi ou transporte avec le doigt posé sur la gachette.
(7) Ne mettez jamais de clous dans l'util alors que l'une de ses commandes est activée.
(8) Ne branchez jamais l'outil sur une source d'alimentation autre que celle spécifiée dans les instructions d'utilisation et consignes de sécurité qui l'accompagnent.
- Il ne faut jamais utiliser un outil défectueux.
- Des étincelles s'échappent parfois de l'outil pendant son utilisation. N'utilise pas l'outil pres de substances ou matériaux volatiles ou inflammables tels que l'essence, le diluant, la peinture, le gaz, les adhesifs, etc. Ilis risqueraient de prendre feu, d'explorer et de causer une blessure grave.
- L'aire de travail doit être suffisamment éclairée pour assurer la sécurité du travail. L'aire de
travail doit être maintainue propre et exemple de déchets. Prenez particulièrement soin d'avoir une bonne assise et une bonne position d'équilibre.
9. Seules les personnes qui participent au travail doivent se couver dans l'aire de travail. Les enfants, tout particulièrement, doivent être maintainus à l'ecart en tout temps.
10. Il se peut que des réglementations locales s'appliquent concernant les niveaux de bruit permis. Veuillez les respecter. Le cas échéant, des volets doivent être installés pour réduire le bruit.
11. Ne modifies pas l'objet de contact. Il permet de prévenir les déclenchements accidentels et doit donc être laxée en place. Il est également très dangereux de fixer la gachette en position de marche. Il ne faut jamais essayer d'immobiliser la gachette. N'utilise jamais un outil dont une des commandes est inutilisable, déconnectée, modifiée ou ne fonctionne pas correctement.
12. Faites fonctionner l'outil sans dépasser la pression d'air spécifiée sur sa plaque signalétique pour assurer votre sécurité et une durée de service plus longue pour l'outil. Ne dépasse jamais la pression maximale recommende. L'outil ne doit pas être connecté à une source dont la pression potentielle dépasse 14,0 kgf/cm²G (200 PSIG).
13. Cet outil doit être exclusivement utilisé avec de l'air comprime. L'utilisation d'une bouteille de gaz (dioxyde de carbone, oxygène, nitrogène, hydrogène, air, etc.) ou de gaz combustible (hydrogène, propane, acetylene, etc.) comme source de pression de cet outil entrainera une explosion et risque de causeur une blessure grave.
14. Avant d'utiliser l'outil, assurez-vous qu'il est en bon etat etqu'aucune de ses vis n'est desserrée. Le cas échéant, serrez les vis.
15. Assurez-vous que tous les dispositifs de sécurité sont en effet de fonctionner avant d'utiliser l'outil. Il ne faut pas que l'outil s'active lorsque vous appuyez uniquement sur la gachette ou si vous appliquez simplement l'élement de contact contre le bois. Il ne doit s'activer que lorsque ces deux actions sont executées. Retirez les clous de l'outil et tirez complètement l'élement de contact pour vérifier l'absence de tout vice de fonctionnement.
16. Assurez-vous que la gachette se verrouille lorsque vous place le levier de changement sur la position LOCK.
17. Pour éviter tout risque de chocolélectrique, de fuite de gaz, d'explosion, etc., provoqué par le contact avec des fils dénudés, des conduites ou des tuyaux de gaz, vérifie le mur, le plafond, le
plancher, le toit ou toute autre piece où vous clouez.
- Utilisez uniquement les clous spécifiés dans ce manuel. L'outil risque de mal fonctionner si vous utilisez tout autre type de clou.
- Seules les personnes ayant pris connaissance du fonctionnement de l'outil doivent être autorisées à l'utiliser.
- Avant de procéder au clouage, assurez-vous que personne ne se trouve pres de vous. N'essayez jamais de clouer une pièce en même temps par l'intérieur et par l'extérieur. Cela est très dangereux, puisque les clous risquent alors de défoncer la pièce ou d'être projetés.
- Regardez où vous posez les pieds et assurez-vous d'un bon équilibre pendant l'utilisation de l'outil. Assurez-vous qu'il n'y a personne sous vous lorsque vous travailliez dans un endroit élevé, et fixez le tuyau d'air de sorte qu'il ne risque pas de se détacher s'il est brusquement secoué ou s'il se coince.
- Sur les toits et autres endroits élevés, clouce en vous déplacant vers l'avant. Vous risquez de perdre pied si vous clouce en vous déplacant à reculons. Lorsque vous clouce sur une surface verticale, faites-le du haut vers le bas. De cette façon le travail de clouage sera moins exigeant physiquement.
- Le clou risque de se plier ou l'util de se bloquer si vous cloucez par inadvertance dans un nœud ou sur un autre clou. Le clou risque alors d'être projeté et de frapper quelqu'un, ou bien l'util lui-même risque de réagir de manière dangereuse. Choisissez l'emplacement des clous avec soin.
- N'abandonnez pas pour une période prolongée un outil charge ou un compresseur d'air sous pression exposé au soleil à l'extérieur. Assurez-vous de toujours déposer l'outil en un endroit où la poussière, le sable, les copeaux et corps étrangers ne risquent pas d'y pénétre.
- Ne pointez jamais la sortie d'éjection vers une personne se trouvant à proximite. Gardez les mains et les pieds à l'écart de la zone de la sortie d'éjection.
- Pour transporter l'outil ou le donner à quelqu'un alors que le tuyau d'air est raccordé, ne posez pas le doigt sur la gachette. Le déclenchement accidentel de l'outil peut être extrémement dangereux.
-
Manipuez l'outil prudemment. La pression elevée à l'intérieur de l'outil représentée un danger si une fissure est provoquée par une manipulation brusque (outil échépé ou heures). Ne tentez jamais de tailler ou graver une inscription sur l'outil.
-
Cessez immédiatement le clouage si vous mentionez une anomalie ou un fonctionnement inhabituel de l'outil.
-
Déconnectez toujours le tuyau d'air et retirez tous les clous dans les cas suivants :
(1) Lorsque l'outil est laissé sans surveillance.
(2) Avant d'effectuer tout travail d'entretien ou de réparation sur l'outil.
(3) Avant de retireur un clou coince dans l'outil.
(4) Avant de déplacer l'outil vers un autre lieu.
- Procedez au nettoyage et à l'entretien de l'outil dés votre travail terminé. Maintenez l'outil en excellente condition. Lubrifie les pieces mobiles pour éviter qu'elles ne rouillent et pour limiter l'usure entrainée par la friction. Retirez toute poussière déposée sur les pieces.
- Lorsque vous n'utilissez pas l'outil, verrouillez toujours la gachette en tournant le levier de changement de mode sur la position LOCK.
- Ne modifiez pas l'outil sans l'autorisation de Makita.
- Ne pas essayer de maintainir en position enforcée la gachette ou l'element de contact avec un bout de ruban ou de fil. Il y a risque de décès ou de blessure grave.
- Vérifiez toujours l'objet de contact, tel qu'indiqué dans ce manuel. Des clous risquent d'être projétés par accident si le mecanisme de sécurité ne fonctionne pas correctement.
- Confiez régulièrement l'outil à un centre de service après-venture agree Makita pour une inspection.
- Pour assurer la SECURITE et la FIABILITÉ du produit, l'entretien et les réparations doivent être effectés dans un centre de service après-vente ou une Usine Makita agrée(e), exclusivement avec des pièces de rechange Makita.
CONSERVEZ CES INSTRUCTIONS
AVERTISSEMENT: LA MAUVAISE UTILISATION de l'outil ou l'ignorance des consignes de sécurité du present manuel d'instructions peuvent entrainer une grave blessure.
SYMBOLES
USD501-1
Les symboles utilisés pour l'outil sontprésentés ci-dessous.

Veuillez dire les étiquettes et le manuel, en vous assurant d'en avoir bien compris le contentu.

L'utilisateur et toute personne presente dans la zone de travail doit porter des lunettes de sécurité avec protecteurs lateraux.

Pour éviter le déclenchement accidentel de l'outil, ne placez pas les doits près de la gachette lorsque vous n'étés pas en train de clouer.
Pose
Sélection du compresseur
Le compresseur d'air doit répondre aux exigences de la norme ANSI B19.3.
Choisissez un compresseur dont la capacité de pressurisation et de sortie d'air assurera un bon rapport qualite/ coult. Le graphique indique la relation entre la frquence de clouage, la pression applicable et la sortie d'air du compresseur.

Ainsi, si par exemple le clouage s'effectue à raison d'environ 40 fois par minute avec une compression de 5,0kgf/cm^2G (70 PSIG), il faudra un compresseur à sortie d'air supérieure à 2 pi³/minute.
Un régulateur de pression doit être utilisé si la pression d'air fournie dépasse la capacité nominale de l'oult. Autrement, l'utilisateur et les personnes représentes courent un risque de blessure grave.

Selection du tuyau d'air
Le tuyau d'air utilisé doit être le plus large et le plus court possible, pour assurer un travail de clouage continu et efficace. Avec une pression d'air de 5.0kgf/cm^2G (70 PSIG), nous recommendons tuyau d'air d'un diamètre interne supérieur à 6.5mm (1/4^) et d'une longueur inférieure à 20m (6,6 pi) pour un intervalle de 0,5 seconde entre chaque clou. Les tuyaux d'adduction d'air doivent avoir une pression de service minimale de 10.7 kgf/cm^2G (150 PSIG) ou de 1,5 fois la pression maximale produit par le système, la valeur la plus élevé parmi les precedentes s'appliquant.

ATTENTION:
- La capacité d'entrainment de l'outil risque de diminuer si la sortie d'air du compresseur est faible ou si le tuyau d'air est trop long ou d'un diamètre trop petit pour la fréquence de clouage.

Lubrification
Pour assurer une performance maximale, installez une chambre à air (qui contient le réservoir d'huile, le régulateur et le filtré à air) le plus pres possible de l'outil. Ajustez le réservoir d'huile de sorte qu'une goutte d'huile soit fournie à intervalles de 30 clous.
Si vous n'utilise pas de chambre à air, graissez l'outil en versant deux (2) ou trois (3) gouttes d'huile pour outil pneumatique dans le racord à air. Cette opération doit être effectue avant et après l'utilisation. Pour assurer une lubrication adequate, il faut faire déclencher l'outil à quelques reprises après l'insertion de l'huile pour outil pneumatique.

1. Huile pour outil pneumatique
DESCRIPTION DU FONCTIONNEMENT

ATTENTION:
- Verrouillez toujours la gachette et débranche le tuyau avant de régler l'outil ou de vérifier son fonctionnement.
Réglage de la profondeur de clouage

1. Dispositif de réglage
Pour régler la profondeur de clouage, tournez la bague de réglage de sorte que la flèche qui se trouve audressus de la bague pointe sur un des chiffres indiqués sur la bague. La profondeur de clouage est maximale lorsque la flèche pointe sur le chiffre 1. Plus la flèche pointe sur un chiffre élevé, plus la profondeur diminue. La modification de la profondeur s'effectue par pas d'environ 1,0mm (1 / 32) . Si les clous ne s'enforcent pas assez profondement même lorsque la flèche pointe sur le chiffre 1, augmentez la pression d'air. Si les clous s'enforcent trop profondement même lorsque la flèche pointe sur le chiffre 9, réduisez la pression d'air. En général, la durée de service de l'outil est plus longue s'il est utilisé avec une faible pression d'air et avec la bague de réglage placée sur un chiffre peu élevé.
ASSEMBLAGE

ATTENTION:
- Verrouillez toujours la gachette et déconnectez le tuyau avant d'effectuer tout travail sur l'outil.

Chargement de la clôuse
- Porte
- Levier de fermeture
- Bouchon du magasin
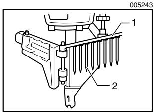
Choisisse des clous qui convennent au type de travail à effectuer. Enforcez le levier de fermeture, puis ouvre la porte et le bouchon du magasin.
Soulevez et tournez la plaque de soutien de la bande de clous pour la placer sur la bonne position. Lorsque vous chargez des clous d'une longueur de 57 mm (2-1/4") ou 65 mm (2-1/2"), utilisez la position inférieure. Lorsque vous chargez des clous d'une longueur de 45 mm (1-3/4") ou 50 mm (2"), utilisez la position moyenne. Lorsque vous chargez des clous d'une longueur de 32 mm (1-1/4") ou 38 mm (1-1/2"), utilisez la position supérieure. Si vous utilisez l'util alors que la plaque de soutien de la bande de clous n'est pas placée sur la bonne position, l'alimentation en clous risque d'être mauvaise et l'util risque de mal fonctionner.

1. Plaque de soutien de la bobine
Placez la bande clous sur la plaque de soutien. Debobinez assez de clous pour atteindre la griffe d'alimentation. Placez le premier clou dans le canal d'entrainment et le second clou dans la griffe d'alimentation. Les têtes de clou doivent être dans la fente du dispositif d'alimentation. Placez les autres clous non embobotés sur le dispositif d'alimentation. Fermez le bouchon et la porte du magasin après vous est assure que la bande de clous est correctement installée dans le magasin.

- Fente
- Dispositif d'alimentation

Raccordement du tuyau d'air
- Raccord à air
- Douille à air
Verrouillez the gachette. Glissez la douille a air du tuyau d'air dans le raccord a air de la clouese. Assurez-vous que la douille a air est verrouillée fermement en position lorsque vous installez le raccord a air. Un raccord à tuyau doit être installé sur ou pres de l'outil de sorte que le réserveir de pression se vide au moment de la déconnexion du raccord d'adduction d'air.
UTILISATION
ATTENTION:
Assurez-vous que tous les dispositifs de sécurité sont en état de fonctionner avant d'utiliser l'outil.
1. Pour clouser, vous pouvez placer l'objet de contact contre la pierce et appuyer sur la gachette, ou

- Vous pouvez aussi appuyer d'abord sur la gachette puis placer l'objet de contact contre la pièce.

La méthode 1 convient bien au clouage intermittent, lorsque vous désírez enforcer les clous soigneusement, avec une grande précision. La méthode 2 convient bien au clouage continu.
ATTENTION:
- Toutefois, si l'util est réglé en mode de "clouage intermittent", AVEC LA GACHETTE MAINTENUE À MI-COURSE, vous risquez de clouer par inadvertance si l'élement de contact touche à nouveau la pierce à travailler ou toute autre surface sous l'effet du recul.
Pour éviter ce clouage accidentel, procédez comme suit;
A. N'applique pas une force excessive en plaçant l'élement de contact contre la piece.
B. Appuyez à fond sur la gâchette et maintenez-la telle qu'elle pendant 1 ou 2 secondes après le clouage.
Pour la méthode 1, réglez le levier de changement sur la position de "clouage intermittent".
Pour la méthode 2, réglez le levier de changement sur la position de "clouage continu".
Après avoir utilisé le levier de changement pour changer de méthode de clouage, assurez-vous toujours qu'il est place correctement sur la position correspondant à la méthode de clouage désirée.

- Clouage intermittent
- Clouage continu
- Levier de changement
- Verrou de la gachette
ATTENTION:
- Vous doivent évidir d'utiliser l'outil sans clous, puisque sa durée de service serait alors réduite.

Sortie d'air
1. Couverage desorting
L'orientation de la sortie d'air se modifie facilement en tournant le couvercle de sortie. Changez-la lorsque nécessaire.
Clouese bloquée
ATTENTION:
- Verrouillez toujours la gâchette, débranchelez tuyau et retirez les clous du magasin avant de retarder un clou coincide.
Lorsque la clôueuse se bloque, procédez comme suit :
Ouvrez la porte et le bouchon du magasin, puis retirez la bande de clous. Insérez une petite tige ou un objet similaire dans l'orifice d'éjection et frappez avec un marteau pour retirer le clou coincide de l'orifice d'éjection. Remettez en place la bande de clous puis fermez le bouchon du magasin et la porte.

- Petitetige
2.Sortie d'éjection

Crocket
- Crochet
Le crochet est pratique pour accrocher temporairement l'outil. Ce crochet s'installe d'un cotoé comme de l'autre de l'outil.
ATTENTION:
- Verrouillez toujours la gachette et débranchelez le tuyau avant d'accrocher l'outil avec le crochet.
- Serrez toujours fermement le boulon de fixation du crochet. Il y a risque de fuite d'air sur l'outil si le boulon n'est pas bien serré.
N'accrochez jamais l'outil à un ceinturon. Il y a risque de déclenchement accidentel dangereux de l'outil.


Clous
Manipuez avec soin les bandes de clous et les boites de clous. Si unibandeclousest manipulée de maniere brusque,elle risque d'être déformée ou la connexion entre les clous risque de se détacher, causant une mauvaise alimentation en clous.
Evitez de ranger les clous dans un endroit très humide ou chaud, ou dans un endroit exposé directement aux rayons du soleil.

ENTRETIEN

ATTENTION:
- Déconnectez toujours le tuyau avant d'effectuer tout travail d'inspection ou d'entretien sur l'outil.
Entretien de la clôuse
Avant d'utiliser l'outil, assurez-vous qu'il est en bon et qu'aucune de ses vis n'est desserrée. Le cas échéant, serrez les vis.

Assurez-vous que tous les dispositifs de sécurité sont en état de fonctionner avant d'utiliser l'outil. Il ne faut pas que l'outil fonctionné lorsque vous appuyez uniquement sur la gachette ou appuyez simplement l'élement de contact contre le bois. Il ne doit fonctionner que lorsque ces deux actions sont executées. Retirez les clous de
l'outil pour vérifier l'absence de tout vice de fonctionnement.

005618
Assurez-vous que la gachette se verrouille lorsque vous placez le levier de changement sur la position LOCK.

005619
- Levier de changement
- Verrou de la gachette
Si vous prévoyez que l'outil restera inutilisé pendant une période prolongée, lubrifiez-le avec de l'huile à outil pneumatique et rangez-le dans un endroit sur. Évitez de l'exposer directement aux rayons du soleil et/ou de le laisser dans un environnement humide ou chaud.

005620

005621
Entretien du compresseur, de la chambre à air et du tuyau d'air
Après l'utilisation, videz toujours le réservoir du compresseur et le filtre à air. L'outil risque de mal fonctionner ou de tomber en panne si l'humidité y pénétre.

1. Robinet videange

1. Filtre à air
Vérifiez régulierement le,chambre à air pour vous assurer que le réservoir d'huile contient assez d'huile à outil pneumatique. Les joints toriques s'useront rapidement s'il ne sont pas toujours bien grazés.

- Reservoir d'huile
- Huile à outil pneumatique
Gardez le tuyau d'air à l'écart de la chaleur (plus de 60^ ou 140^ ) et des produits chimiques (diluant, acides puissants, substances alcalines). Il faut également faire couir le tuyau à l'écart des obstacles ou il risquérait de se coincer pendant l'utilisation de l'outil. Les tuyaux doivent également être placés à l'écart des bords tranchants et de toute surface pouvant entraîner l'endommagement ou l'abrasion du tuyau.

Pour maintenir la SéCURITÉ et la FIABILITÉ du produit, les réparations, tout autre travail d'entretien ou de réglage doivent être effectuels dans un centre de service Makita/agree ou un centre de service de l'usine Makita, exclusivement avec des pieces de rechange Makita.
ACCESSIONS
ATTENTION:
- Ces accessoires ou pieces complémentaires sont commandés pour l'utilisation avec l'util Makita spécifique dans ce mode d'emploi. L'utilisation de tout autre accessoire ou piece complémentaire peut composer un risque de blessure. N'utilise les accessoires ou pieces qu'aux fins auxquelles ils ont ete concus.
Si vous désírez obtenir plus de détails concernant ces accessoires, veuillez contacter le centre de service après-vente Makita le plus après.
Clous
Tuyau d'air
Lunettes de sécurité
EN0006-1
GARANTIE LIMITEE D'UN AN MAKITA
Politique de garantie
Chaque outil Makita est inspecté rigoureusement et testé avant sa sortie d'usine. Nous garantissons qu'il sera exempt de défaut de fabrication et de vice de matériel pour une période d'UN AN à partir de la date de son achat initial. Si un problème quelsconque avait survenir au cours de cette période d'un an, veuillez returner l'util COMPLET, port payé, à une usine ou à un centre de service après-vente Makita. Makita réparera l'util gratuement (ou le replacera, à sa dés RIction) si un défaut de fabrication ou un vice de matériel est découvert lors de l'inspection.
Cette garantie ne s'applique pas dans les cas ou:
des réparations ont été effectuees ou tentées par un tiers:
des réparations s'imposent suite à une usure normale:
- l'outil a eté malmené, mal utilisé ou mal entretenu:
- l'outil a subi des modifications.
MAKITA DECLINE TOUTE RESPONSABILITE POUR TOUT DOMMAGE ACCESSOIRE OU INDIRECT LIE À LA VENTE OU À L'UTILISATION DU PRODUIT. CET
AVIS DE NON-RESPONSABILITÉ, S'APPLIQUE À LA FOIS PENDANT ET APRES LA PÉRIODE COUVERTE PAR CETTE GARANTIE.
MAKITA DECLINE TOUTE RESPONSABILITÉ QUANT À TOUTE GARANTIE TACITE, INCLUANT LES GARANTIES TACITES DE “QUALITÉ MARCHANDE” ET “ADEQUATION À UN USAGE PARTICULIER” APRES LA PÉRIODE D'UN AN COUVERTE PAR CETTE GARANTIE.
Cette garantie vous donne des droits spécifiques reconns par la loi, et possiblement d'autres droits, qui varient d'un État à l'autre. Certains États ne permettant pas l'exclusion ou la limitation des dommages accessoires ou indirects, il se peut que la limitation ou exclusion ci-dessus ne s'applique pas à vous. Certains États ne permettant pas la limitation de la durée d'application d'une garantie tacite, il se peut que la limitation ci-dessus ne s'applique pas à vous.
Notice Facile