DW849 - Polisher DEWALT - Free user manual and instructions
Find the device manual for free DW849 DEWALT in PDF.
User questions about DW849 DEWALT
0 question about this device. Answer the ones you know or ask your own.
Ask a new question about this device
Download the instructions for your Polisher in PDF format for free! Find your manual DW849 - DEWALT and take your electronic device back in hand. On this page are published all the documents necessary for the use of your device. DW849 by DEWALT.
USER MANUAL DW849 DEWALT
text_image
Technical diagram of a power tool with labeled parts including a grinding wheel and two separate views (1 and 3).A

natural_image
Technical line drawing of a power tool with a rotating shaft and base, labeled with number 5 (no text or symbols on the diagram itself)B

natural_image
Diagram of a hand holding a small cylindrical object with a labeled part '4' (no text or symbols on the object itself)
text_image
Technical diagram of a mechanical power tool with numbered parts labeled 6 and 7C

text_image
8 6D

text_image
Diagram showing a mechanical or electrical component with labeled parts and directional arrows indicating movement or force.E

text_image
3 000F
PUDSEMASKINE DW849
Tillykke!
You have chosen a DEWALT tool. Years of experience, thorough product development and innovation make DEWALT one of the most reliable partners for professional power tool users.
Technical data
| DW849 | ||
| Voltage | V | 230 |
| (U.K. & Ireland only) | V | 230/115 |
| Power input | W | 1150 |
| No-load speed | min^-1 | 0 - 1,000/0 - 3,000 |
| Max. backing pad diameter | mm | 178 |
| Spindle | M14 | |
| Weight | kg | 3.1 |
| Fuses: | ||
| Europe 230 V tools 10 Amperes, mains | ||
| U.K. & Ireland 230 V tools 13 Amperes, in plugs | ||
| U.K. & Ireland 115 V tools 16 Amperes, mains | ||
The following symbols are used throughout this manual:

Denotes risk of personal injury, loss of life or damage to the tool in case of non-observance of the instructions in this manual.

Denotes risk of electric shock.

Fire hazard.
EC-Declaration of conformity

DW849
DEWALT declares that these power tools have been designed in compliance with: 98/37/EC, 89/336/EEC, 73/23/EEC, EN 50144, EN 55014-2, EN 55014-1, EN 61000-3-2 & EN 61000-3-3.
For more information, please contact DeWALT at the address below, or refer to the back of the manual.
Level of sound pressure according to 86/188/EEC & 98/37/EC, measured according to EN 50144:
| DW849 | ||
| L_pA (sound pressure) dB(A) | 1) | 92 |
| L_wA (acoustic power) dB(A) 103 |
1) at the operator's ear

Take appropriate measures for the protection of hearing.
Weighted root mean square acceleration value according to EN 50144:
| DW849 | |
| m/s2 | 4.2 |
Director Engineering and Product Development Horst Großmann

text_image
X. fopmanGeneral power tool safety warnings

Warning! Read all safety warnings and all instructions. Failure to follow the warnings and instructions listed below may result in electric shock, fire and/or serious injury.
Save all warnings and instructions for future reference.
The term "power tool" in all of the warnings listed below refers to your mains operated (corded) power tool or battery operated (cordless) power tool.
1 Work area safety
a Keep work area clean and well lit.
Cluttered or dark areas invite accidents.
b Do not operate power tools in explosive atmospheres, such as in the presence of flammable liquids, gases or dust.
Power tools create sparks which may ignite the dust or fumes.
c Keep children and bystanders away while operating a power tool.
Distractions can cause you to lose control.
2 Electrical safety
a Power tool plugs must match the outlet.
Never modify the plug in any way.
Do not use any adapter plugs with earthed (grounded) power tools.
Unmodified plugs and matching outlets will reduce risk of electric shock.
b Avoid body contact with earthed or grounded surfaces such as pipes, radiators, ranges and refrigerators.
There is an increased risk of electric shock if your body is earthed or grounded.
c Do not expose power tools to rain or wet conditions.
Water entering a power tool will increase the risk of electric shock.
d Do not abuse the cord. Never use the cord for carrying, pulling or unplugging the power tool. Keep cord away from heat, oil, sharp edges or moving parts.
Damaged or entangled cords increase the risk of electric shock.
e When operating a power tool outdoors, use an extension cord suitable for outdoor use. Use of a cord suitable for outdoor use reduces the risk of electric shock.
3 Personal safety
a Stay alert, watch what you are doing and use common sense when operating a power tool. Do not use a power tool while you are tired or under the influence of drugs, alcohol or medication.
A moment of inattention while operating power tools may result in serious personal injury.
b Use safety equipment. Always wear eye protection.
Safety equipment such as dust mask, non-skid safety shoes, hard hat, or hearing protection used for appropriate conditions will reduce personal injuries.
c Avoid accidental starting. Ensure the switch is in the off position before plugging in.
Carrying power tools with your finger on the switch or plugging in power tools that have the switch on invites accidents.
d Remove any adjusting key or wrench before turning the power tool on.
A wrench or a key left attached to a rotating part of the power tool may result in personal injury.
e Do not overreach. Keep proper footing and balance at all times.
This enables better control of the power tool in unexpected situations.
f Dress properly. Do not wear loose clothing or jewellery. Keep your hair, clothing and gloves away from moving parts.
Loose clothes, jewellery or long hair can be caught in moving parts.
g If devices are provided for the connection of dust extraction and collection facilities, ensure these are connected and properly used.
Use of dust collection can reduce dust-related hazards.
4 Power tool use and care
a Do not force the power tool. Use the correct power tool for your application.
The correct power tool will do the job better and safer at the rate for which it was designed.
b Do not use the power tool if the switch does not turn it on and off.
Any power tool that cannot be controlled with the switch is dangerous and must be repaired.
c Disconnect the plug from the power source and/or the battery pack from the power tool before making any adjustments, changing accessories, or storing power tools.
Such preventive safety measures reduce the risk of starting the power tool accidentally.
d Store idle power tools out of the reach of children and do not allow persons unfamiliar with the power tool or these instructions to operate the power tool.
Power tools are dangerous in the hands of untrained users.
e Maintain power tools. Check for misalignment or binding of moving parts, breakage of parts and any other condition that may affect the power tools operation. If damaged, have the power tool repaired before use.
Many accidents are caused by poorly maintained power tools.
f Keep cutting tools sharp and clean.
Properly maintained cutting tools with sharp cutting edges are less likely to bind and are easier to control.
g Use the power tool, accessories and tool bits etc., in accordance with these instructions, taking into account the working conditions and the work to be performed.
Use of the power tool for operations different from those intended could result in a hazardous situation.
5 Service
a Have your power tool serviced by a qualified repair person using only identical replacement parts.
This will ensure that the safety of the power tool is maintained.
Additional safety rules for sanders and polishers
- The tool has been designed for polishing and for sanding using the appropriate sanding discs. Always observe the warnings, instructions, images and data that have been supplied with the tool. Non-observance of the information may lead to risk of fire, electric shock and personal injury.
- This tool is not intended for grinding, wire-cup grinding and cutting applications. Any application for which the tool has not been designed, may cause hazards and injuries.
- Do not use accessories that have not been specified for this tool by the manufacturer. Even if the accessory can be fitted to your tool, it does not guarantee safe use.

do not sand or polish light metal with a magnesium content exceeding 80% since this type of metal is flammable.
- Use the accessories recommended by the manufacturer only.
- Do not use accessories that do not conform to the dimensions stated in the technical data. Do not use any spacers to make a disc fit onto the spindle.
- Ensure that the polishing or sanding accessory is mounted correctly before use.
- Let the tool run at no-load in a safe position for at least 30 seconds. If there is a considerable vibration or if any other defect occurs, stop the tool and check it to determine the cause.
- Do not operate the tool near flammable liquids, gases or dust. Sparks or hot chips from cutting or arcing motor brushes may ignite combustible materials.
- Do not operate the tool while standing in line with the disc. Keep other persons away from the work area.
- Ensure that the ventilation openings are kept clear when working in dusty conditions. If it should become necessary to clear the ventilation openings, disconnect the tool from the mains supply first and avoid damaging the internal parts by using non-metallic objects.
- Always wear eye and ear protection. Preferably wear other personal protective equipment such as dust mask, gloves and a helmet.
Package contents
The package contains:
1 Polisher
1 Backing pad
1 Threaded flange
1 Polishing bonnet
1 Side handle
1 Instruction manual
1 Exploded drawing
- Check for damage to the tool, parts or accessories which may have occurred during transport.
- Take the time to thoroughly read and understand this manual prior to operation.
Description (fig. A)
Your DEWALT polisher DW849 has been designed for professional polishing of painted metal surfaces (e.g. car bodies) and natural stone surface finishing.
1 Variable speed switch
2 Lock-on button
3 Speed control dial
4 Spindle lock
5 Side handle
Electrical safety
The electric motor has been designed for one voltage only. Always check that the power supply corresponds to the voltage on the rating plate.

our DEWALT tool is double insulated in accordance with EN 50144; therefore no earth wire is required.

115 V units have to be operated via a failsafe isolating transformer with an earth screen between the primary and secondary winding.
Mains plug replacement
(U.K. & Ireland only)
- Should your mains plug need replacing and you are competent to do this, proceed as instructed below. If you are in doubt, contact an authorized DEWALT repair agent or a qualified electrician.
- Disconnect the plug from the supply.
- Cut off the plug and dispose of it safely; a plug with bared copper conductors is dangerous if engaged in a live socket outlet.
- Only fit 13 Amperes BS1363A approved plugs fitted with the correctly rated fuse (1).
- The cable wire colours, or a letter, will be marked at the connection points of most good quality plugs. Attach the wires to their respective points in the plug (see below). Brown is for Live (L) (2) and Blue is for Neutral (N) (4).
- Before replacing the top cover of the mains plug ensure that the cable restraint (3) is holding the outer sheath of the cable firmly and that the two leads are correctly fixed at the terminal screws.

text_image
Technical diagram of a mechanical or electrical component with numbered parts labeled 1, 2, 3, and 4.
er use a light socket.
connect the live (L) or neutral (N)
wires to the earth pin marked E or 12
For 115 V units with a power rating exceeding 1500 W, we recommend to fit a plug to BS4343 standard.
Using an extension cable
If an extension cable is required, use an approved extension cable suitable for the power input of this machine (see technical data). The minimum conductor size is 1.5 mm^2 .
When using a cable reel, always unwind the cable completely.
Also refer to the table below.
| Conductor size (mm ^2 ) Cable rating (Amperes) | |
| 0.75 | 6 |
| 1.00 | 10 |
| 1.50 | 15 |
| 2.50 | 20 |
| 4.00 | 25 |
| Cable length (m) | ||||||||||
| 7.5 15 25 30 45 60 | ||||||||||
| Voltage Amperes Cable rating (Amperes) | ||||||||||
| 115 | 0 - 2.0 | 6 | 6 | 6 | 6 | 6 | 10 | |||
| 2.1 - 3.4 | 6 | 6 | 6 | 6 | 15 | 15 | ||||
| 3.5 - 5.0 | 6 | 6 | 10 | 15 | 20 | 20 | ||||
| 5.1 - 7.0 | 10 | 10 | 15 | 20 | 20 | 25 | ||||
| 7.1 - 12.0 | 15 | 15 | 20 | 25 | 25 | - | ||||
| 12.1 - 20.0 | 20 | 20 | 25 | - | - | - | ||||
| 230 | 0 - 2.0 | 6 | 6 | 6 | 6 | 6 | 6 | 6 | 6 | |
| 2.1 - 3.4 | 6 | 6 | 6 | 6 | 6 | 6 | 6 | 6 | ||
| 3.5 - 5.0 | 6 | 6 | 6 | 6 | 10 | 15 | ||||
| 5.1 - 7.0 | 10 | 10 | 10 | 10 | 15 | 15 | ||||
| 7.1 - 12.0 | 15 | 15 | 15 | 15 | 20 | 20 | ||||
| 12.1 - 20.0 | 20 | 20 | 20 | 20 | 25 | - | ||||
Assembly and adjustment

Prior to assembly and adjustment always unplug the tool.
Mounting the side handle (fig. B)
- Screw the side handle (5) tightly into one of the holes on either side of the tool.
Fitting and removing the backing pad (fig. C)
- Place the tool on a table, spindle up.
- Press the spindle lock (4) and turn the spindle until the lock engages.
- Place the backing pad (6) onto the spindle.
- Screw the threaded flange (7) onto the spindle.
- Tighten the threaded flange.
- Release the spindle lock.
- To remove the backing pad, loosen the threaded flange while the spindle lock is engaged.
Fitting the polishing bonnet (fig. D)
- Place the tool on a table, spindle up.
- Pull the polishing bonnet (8) over the backing pad (6).
Instructions for use

- Always observe the safety instructions and applicable regulations.
- Apply only a gentle pressure to the tool. Do not exert side pressure on the backing pad.
- Avoid overloading. Should the tool become hot, let it run a few minutes under no load condition.
Prior to operation:
- Be sure the threaded flange is mounted correctly.
- Make sure the pad rotates in the direction of the arrows on the accessory and the tool.
- Make sure any dirt is washed off the workpiece surface.
Polishing (fig. A)
- Always use clean polishing bonnets.
- Evenly apply a required amount of polishing paste over the polishing bonnet.
- Hold the polishing bonnet to the surface to be polished and switch on the tool.
- Move the tool evenly over the surface, without applying pressure.
- Switch off the machine before taking the tool from the surface.
- Check your work at short intervals.

High-speed rubbing action of the polishing bonnet upon the workpiece surface can build a static charge on the metal portions of this tool resulting in a static shock when touched.
Switching on and off (fig. E)
- To run the tool, press the variable speed switch (1). The pressure exerted on the variable speed switch determines the tool speed.
- For continuous operation, also press the lock-on button (2). The lock-on button works only in full speed.
- Switching off: press the on/off switch again.

Do not switch the tool on or off when under load.
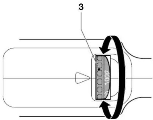
Speed control (fig. F)
The speed control dial (3) can be used for advance setting of the required maximum tool speed.
- Turn the speed control dial (3) to the desired position. The higher the number, the higher the maximum tool speed.
- Use a high speed setting for natural stone surface finishing. Use a low speed setting for polishing painted metal surfaces.

The speed setting must never exceed the maximum no-load speed rated on the accessory used.
Consult your dealer for further information on the appropriate accessories.
Maintenance
Your DEWALT power tool has been designed to operate over a long period of time with a minimum of maintenance. Continuous satisfactory operation depends upon proper tool care and regular cleaning.
Clearing the ventilation slots
To avoid build-up of dust inside the machine, we recommend to clear the ventilation slots on a daily basis.
- Unplug the machine.
- Blow dry compressed air through the ventilation slots.
- Clear the ventilation slots using a soft brush or dry cloth. Do not use metallic objects as these might damage the internal parts.

Lubrication
Your power tool requires no additional lubrication.

Cleaning
Keep the ventilation slots clear and regularly clean the housing with a soft cloth.
- Regularly handwash the polishing cover. Let it dry in the air.
Protecting the environment

separate collection. This product must not be disposed of with normal household waste.
Should you find one day that your DEWALT product needs replacement, or if it is of no further use to you, do not dispose of it with household waste. Make this product available for separate collection.

Separate collection of used products and packaging allows materials to be recycled and used again. Re-use of recycled materials helps prevent environmental pollution and reduces the demand for raw materials.
Local regulations may provide for separate collection of electrical products from the household, at municipal waste sites or by the retailer when you purchase a new product.
DEWALT provides a facility for the collection and recycling of DEWALT products once they have reached the end of their working life. To take advantage of this service please return your product to any authorised repair agent who will collect them on our behalf.
You can check the location of your nearest authorised repair agent by contacting your local DEWALT office at the address indicated in this manual. Alternatively, a list of authorised DEWALT repair agents and full details of our after-sales service and contacts are available on the Internet at: www.2helpU.com
GUARANTEE
- 30 DAY NO RISK SATISFACTION GUARANTEE If you are not completely satisfied with the performance of your DeWALT tool, simply return it within 30 days, complete as purchased, to the point of purchase, for a full refund or exchange. Proof of purchase must be produced.
- ONE YEAR FREE SERVICE CONTRACT If you need maintenance or service for your DEWALT tool, in the 12 months following purchase, it will be undertaken free of charge at an authorized DEWALT repair agent. Proof of purchase must be produced. Includes labour and spare parts for Power Tools. Excludes accessories.
• ONE YEAR FULL WARRANTY •
If your DEWALT product becomes defective due to faulty materials or workmanship within 12 months from the date of purchase, we guarantee to replace all defective parts free of charge or, at our discretion, replace the unit free of charge provided that:
- The product has not been misused.
- Repairs have not been attempted by unauthorized persons.
- Proof of purchase date is produced. This guarantee is offered as an extra benefit and is additional to consumers statutory rights.
For the location of your nearest authorized DEWALT repair agent, please use the appropriate telephone number on the back of this manual. Alternatively, a list of authorized DEWALT repair agents and full details on our after-sales service are available on the Internet at www.2helpU.com.
PULIDORA DW849
¡Enhorabuena!
Director Engineering and Product Development Horst Großmann

text_image
X. fopmanL'emballage contient:
POLIJSTMACHINE DW849
Gefeliciteerd!
Director Engineering and Product Development Horst Großmann

text_image
X. fopmanDEWALT, Richard-Klinger-Straße 11, D-65510, Idstein, Duitsland
POLERINGSMASKIN DW849
Gratulerer!
Director Engineering and Product Development Horst Großmann

text_image
X. fopmanDEWALT, Richard-Klinger-Straße 11, D-65510, Idstein, Tyskland
Director Engineering and Product Development Horst Großmann

text_image
X. fopmanDEWALT, Richard-Klinger-Straße 11, D-65510, Idstein, Alemanha
Director Engineering and Product Development Horst Großmann

text_image
X. fopmanDirector Engineering and Product Development Horst Großmann

text_image
X. fopmanDEWALT, Richard-Klinger-Straße 11, D-65510, Idstein, Tyskland
EasyManual