90S - Sewing machine AEG-ELECTROLUX - Free user manual and instructions
Find the device manual for free 90S AEG-ELECTROLUX in PDF.
Questions des utilisateurs sur 90S AEG-ELECTROLUX
0 question sur cet appareil. Repondez a celles que vous connaissez ou posez la votre.
Poser une nouvelle question sur cet appareil
Download the instructions for your Sewing machine in PDF format for free! Find your manual 90S - AEG-ELECTROLUX and take your electronic device back in hand. On this page are published all the documents necessary for the use of your device. 90S by AEG-ELECTROLUX.
USER MANUAL 90S AEG-ELECTROLUX
NADELN AUSTAUSCHEN 20
GLUHLAMPE ERNEUERN 20
MESSER AUSWECHSELN 21
DIFFERENTIAL TRANSPORT
When using an electrical appliance, basic safety precautions should always be followed, including the following:
Read all instructions before using your household sewing machine.
DANGER-To reduce the risk of electric shock:
Your household sewing machine should never be left unattended when plugged in. Always unplug your machine from the electric outlet immediately after using and before cleaning.
Change the light bulb only with the same type of bulb. Use a bulb 15W.
WARNING-to reduce: the risk of burns, fire, electric shock or injury to persons
- Do not allow to be used as a toy. Close attention is necessary when this sewing machine is used by or near children.
- Use this machine only for its intended use as described in this manual.
- Never operate this sewing machine if it has a damaged cord or plug, if it is not working properly, if it has been dropped or damaged or dropped into water. Return the sewing machine to the nearest authorized dealer or service center for examination, repair, electrical or mechanical adjustment.
- The supply cord cannot be replaced. If the supply cord connected with foot controller is damaged the foot controller shall be scrapped.
- Never operate the sewing machine with any air openings blocked. Keep ventilation openings of the sewing machine and foot controller free from the accumulation of lint, dust and cloth.
- Never drop or insert any object into the opening.
- Do not use outdoors.
- Do not operate where aerosol (spray) products are being used or where oxygen is being administered.
- Do not put anything on the foot controller because the machine may accidentally start and the motor or the foot controller may overheat.
- To disconnect turn all controls to the off position, then remove plug from outlet.
- Do not unplug by pulling on cord. To unplug, hold the plug, not the cord.
- Keep fingers away from all moving parts. Special care is required around the sewing needle.
- Always use the proper needle plate. The wrong plate can cause the needle to break.
- Do not use bent needles.
- Do not pull or push fabric while stitching. It may deflect the needle.
-
Switch the machine off when making any adjustments in the needle area, such as threading needle, changing needle or changing presser foot and the like.
-
Always unplug the sewing machine from the electric outlet when making any user servicing mentioned in the instruction manual.
- Use only identical replacement parts.
- This appliance can be used by children aged from 8 years and above and persons with
reduced physical, sensory or mental capabilities or lack of experience and knowledge if they
have been given supervision or instruction concerning use of the appliance in a safe way and understand the hazards involved.
- Children shall not play with the appliance.
- Cleaning and user maintenance shall not be made by children without supervision.
- Keep the instruction at a suitable place that close to the machine, and hand it over if you give the machine to a third party.
- Don't use the machine if it's wet or in humid environment.
- Always unplug the machine if you leave it unattended, to avoid injury by expeditiously switch on the machine.
SAVE THESE INSTRUCTIONS
Warning
When working close to the needle be very careful not to prick your fingers. When you use the machine for the first time, put a piece of cloth under the presser foot und run the machine without thread for some minutes. Dry any oil spots which may appear.
Please use for your sewing machine the ZHEJIANG FOUNDER presser foot, type KD-2902.
Power rating: 220 - 240V ~, 50/60Hz
Current rating: 1.0A
Protection Class : II
The sound pressure level under normal operating conditions is 78dB (A).
Do not dispose of electrical appliances as unsorted municipal waste, use separate collection facilities.
Contact your local government for information regarding the collection systems available.
If electrical appliances are disposed of in landfills or dumps, hazardous substances can leak into the groundwater and get into the food chain, damaging your health and well-being. When replacing old appliances with new once, the retailer is legally obligated to take back your old appliance for disposal at least for free of charge.

TABLE OF CONTENTS
NAME OF MAIN COMPONENTS 4-5
SETTING UP YOUR MACHINE 6-8
The position of thread pole 6
Cone holders 6
Spool caps 6
Connecting the foot control. 7
Controlling sewing speed. 7
Safety switch. 7
ACCESSIONS 8
USING THE MACHINE 9
Hand wheel. 9
Front cover. 9
Free arm 9
LOOPER THREADING 10
NEEDLE THREADING 11
TRIAL SEWING 12
ADJUSTING THREAD TENSIONS 13-14
Adjusting the needle thread tensions. 14
Adjusting the looper thread tensions 14
STITCH SELECTION AEG 760 15
MACHINE ADJUSTMENT CHART 16
CHANGING THE THREAD 17
BUILT-IN POCKET HANDLE 17
ADJUSTMENT OF STITICH LENGTH 18
Stitch length setting. 18
CUTTINGWIDTH 19
The proper cutting width 19
Adjust to a wider cutting width 19
Adjust to a narrower cutting width. 19
CHANGING THE NEEDLE 20
REPLACING THE BULB 20
REPLACING THE CUTTERS 21
THREE THREAD NARROW AND WIDE OVERLOCK STITCH 22
FREE ARM SEWING 23
CONVERTIBLE PRESSER FOOT 23
ROLLED AND NARROW EDGE 24-25
Rolled edge 24
Narrow edge 24
Rolled hemming 25
Narrow hemming 25
DIFFERENTIAL FEED 26-27
Differential feed mechanism 26
Adjusting the differential feed. 26
Wavy knits & Gathering 27
Stretching to prevent puckering 27
TROUBLE SHOOTING GUIDE 28
CLEANING AND LUBRICATING 29
SPECIFICATION OF MACHINE 29

- Thread pole
- Lower looper thread tension dial
- Spool pin
- Spool holder
- Handwheel
- Base
- Machine socket
- Power switch
- Front cover
- Support bed
- Free arm
- Needle plate
- Left needle thread tension dial
- Right needle thread tension of
- Upper looper thread tension dial
- Thread guide plate
Always disconnect the power supply when leaving the machine unattended. This will prevent the risk of accidents if the machine is switched on accidentally.

- Upper looper
- Lower looper
- Free arm
- Lower knife
- Cutting width adjustment knob
- Presser foot
- Upper knife
SETTING UP YOUR MACHINE
Set your Overlock machine on a sturdy flat surface.
[ THE POSITION OF THREAD POLE ]
Pull up thread pole to its highest point before threading.
Turn the thread pole so the thread guides come right above the spool pins.
![AEG-ELECTROLUX 90S - [ THE POSITION OF THREAD POLE ] - 1](/content/2019/10/4120/images/56d630d1e42bb5668fcc5d4d78f648fb17ddd8d1b3e56dbc14675484c51eebc1.jpg)
[ CONE HOLDERS ]
Both industrial cones and domestic type thread spools can be used on this machine.
For large diameter industrial cones use the cone holders with the large end at the top.
For small diameter cones, use the same cone holders with the small end at the top.
![AEG-ELECTROLUX 90S - [ CONE HOLDERS ] - 1](/content/2019/10/4120/images/250663ab4abcd518e30d12845c3ac9b04c35a82a90f21a5ce040df6bab242900.jpg)
[ SPOOL CAPS ]
When using domestic type thread spools, remove the spool holders and place spool caps over the thread spools.
![AEG-ELECTROLUX 90S - [ SPOOL CAPS ] - 1](/content/2019/10/4120/images/6220f93c4ba639f3c7f24aa1f8a79b7d9bf60f687a61ddbf8ae9cd8c992364f5.jpg)
[CONNECTING THE FOOT CONTROL]
Push foot control plug into the machine socket and then into main socket.
Turn on the power switch. This power switch controls both the machine power and sewing light.
![AEG-ELECTROLUX 90S - [CONNECTING THE FOOT CONTROL] - 1](/content/2019/10/4120/images/8165f2eef5d435c1d2fa7e96a7af4c346c971f2207d5e11e7dd1a45b729f5c9a.jpg)
[CONTROLLING SEWING SPEED]
The foot control regulates the sewing speed. The sewing speed can be adjusted by increasing or decreasing the pressure on the foot control.
[ SAFETY SWITCH ]
This machine is equipped with a micro safety switch.
The machine is automatically cut off from the motor electricity supply if front cover is open.
Close both free arm and front cover before you start sewing.
![AEG-ELECTROLUX 90S - [ SAFETY SWITCH ] - 1](/content/2019/10/4120/images/982bf4fdb96803a5761e58f2cee298222e2758bda060b0c199ab3cf3e084a11c.jpg)
![AEG-ELECTROLUX 90S - [ SAFETY SWITCH ] - 2](/content/2019/10/4120/images/3134662a51413fd7270407ee46dc4b1c7823d621c5a0f22835fcc36bcfb3b214.jpg)
ACCESSIONS

Tweezers

Oiler
Spare upper cutter


Needles

Machine cover

Screwdriver

Brush

Hexagon wrench key

Instruction manual

Spool caps
USING THE MACHINE
[HAND WHEEL]
Always turn handwheel toward you, i.e. the same direction as on a household sewing machine.
![AEG-ELECTROLUX 90S - [HAND WHEEL] - 1](/content/2019/10/4120/images/5dafb5a9a174331a8487abed47ac079859207316bf75d25694e1f411172a78d7.jpg)
[FRONT COVER]
To open front cover, slide the hollow to the right as far as it will go then pull front cover toward you.
The front cover won't close while the free arm is open.
![AEG-ELECTROLUX 90S - [FRONT COVER] - 1](/content/2019/10/4120/images/4bdd9c264df5f10bc589e7e77609ba610127cf257c17200416d4e35dbd01a77f.jpg)
[FREE ARM]
Open the free arm for threading.
- Remove the support bed as arrow.
2a. Press and pull up the free arm release lever.
2b. Pull up free arm as arrow way, when hinge be released from needle plate.
![AEG-ELECTROLUX 90S - [FREE ARM] - 1](/content/2019/10/4120/images/58e765f1225ba9a2dbab4e9d98eeecbe5dcddb454d6efb656461a5df59bf5450.jpg)
LOOPER THREADING
Warning: Before contriving please adjust main control switch to (OFF).
Correct threading is important otherwise uneven stitches or thread breakage may result.
A convenient threading chart is placed on the front panel inside the front cover.
In addition, each thread guide is colored for threading indication.
To help in threading, tweezers can be found in the accessory box.
Threading must be carried out in the following sequence.
- FIRST......Upper looper
- SECOND....Lower looper
- THIRD......Right needle
-
FINALLY.....Left needle
-
Open the front cover and free arm.
- Turn the handwheel toward you until the looper comes to best position for threading.
- Pass the upper looper thread and lower looper thread as illustrated.
Important: The thread must lie correctly between the two discs inside the tension dials.
- Pull out the thread end about 10 cm (4") long from the looper eyes. Raise the presser foot and place threads under it, then lower the presser foot.





NEEDLE THREADING
- Turn the hand wheel toward you until needles are fully raised.
- Pass the right and left needle threads as illustrated. Important: The thread must lie correctly between the two discs inside the tension dials. Pass through the needle eyes from front to back as illustrated.
- Pull out the thread end about 10 cm (4") long from the needle eyes. Raise the presser foot and place threads under it, then lower the presser foot.






TRIAL SEWING
When the overlock has been threaded for the first time or re-threaded because of thread breakage during sewing, start sewing in the following manner.
Holding the end of threads between your left finger tips, turn the handwheel slowly toward you two or three times and check the thread chain.

Place fabric for trial sewing under the presser foot and start sewing slowly.
The fabric will be automatically fed.
Guide the fabric as you serge.

When work is finished, continue sewing to form about 5cm (2") long thread chain from the end of fabric.
Cut the threads with a scissor.

ADJUSTING THREAD TENSIONS
Thread tensions will vary according to the type and thickness of both thread and fabric. Adjust the thread tension of the machine accordingly while checking the seam.
Thread tension: Turn dial toward smaller numbers, tension becomes loose.
Turn dial toward larger numbers, tension becomes tight.


[ADJUSTING THE NEEDLE THREAD TENSIONS]
The left needle thread tension is too loose.
![AEG-ELECTROLUX 90S - [ADJUSTING THE NEEDLE THREAD TENSIONS] - 1](/content/2019/10/4120/images/8b3b8c1cef69ceb4a31835edefc640c0841b192f736c377832eb600bb85d012f.jpg)
Tighten the left needle thread tension.
The right needle thread tension is too loose.
![AEG-ELECTROLUX 90S - [ADJUSTING THE NEEDLE THREAD TENSIONS] - 2](/content/2019/10/4120/images/a2ac36877a399ced5f2d485f495ed9978147eb44d507bc9c548faf83d4522bec.jpg)
Tighten the right needle thread tension.
[ADJUSTING THE LOOPER THREAD TENSIONS]
The lower looper thread is tight and/or the upper looper thread is loose.
![AEG-ELECTROLUX 90S - [ADJUSTING THE LOOPER THREAD TENSIONS] - 1](/content/2019/10/4120/images/3941e735d1976861c128afa0e23e1a493dbaa9f44366f917b14cb380f28ed8bf.jpg)
Loosen the lower looper thread tension and/or tighten the upper looper thread tension.
The upper looper thread is tight and/or the lower looper thread is loose.
![AEG-ELECTROLUX 90S - [ADJUSTING THE LOOPER THREAD TENSIONS] - 2](/content/2019/10/4120/images/75fa9d692679d73d73ea7a4450a65402722be86a842cf009ce8b6e01b67c2e53.jpg)
Loosen the upper looper thread tension and/or tighten the lower looper thread tension.
STITCH SELECTION AEG 760
| Threading path for 4-Thread Seam | right needle | left needle | right hook | left hook | |
| 3 | 4 | 1 | 2 | ||
| Type of stitch | Needle position left and right | Tension Dial: The following values are average values for medium-heavy material and normal polyester yarn | |||
| 4-Thread Stretch Safety Seam | 6 mm | red | yellow | green | blue |
| ●● | 2.5 | 2.0 | 2.5 | 2.0 | |
| 2-Needle 4-Thread stitch is ideal for medium to heavy stretch fabrics such as knitwear and swimwear | |||||
| Needle position left or right | |||||
| 3-Thread Overlock Seam wide and narrow | ○● | 3.0 | 2.5 | 2.0 | |
| ●○ | 2.5 | 2.5 | 2.0 | ||
| 1-needle, 3-thread stitch is used for finishing of normal fabric. Depending on the selected needle position there is an overlock seam width of 4.0 and 6.0 mm possible | |||||
| Needle position right | |||||
| 3-Thread hemming seam small | ○● | hem rolled | 3.0 | 2.0 | 8.0 |
| hem narrow | 4.0 | 4.0 | 4.0 | ||
| 1-needle;- 3-thread stick for small hemming seams as decorative edge e.g. chiffon scarfs | |||||
| Needle position left or right | |||||
| 3-Thread Flatlock wide and narrow | ○● | 0.5 | 5.5 | 5.5 | |
| ●○ | 0.5 | 5.0 | 6.0 | ||
| 1-needle, 3-thread stitch for decorative edges and decorative stitches with decorative yarn. Only thread the right hook with the color green. Depending on the selected needle position, a flatlock seam width of 4.0 and 6.0 mm is possible. | |||||
MACHINE ADJUSTMENT CHART
The best tension for one fabric may not be correct for another.
The required tensions depend upon stiffness and thickness of fabric, thread size and type. If necessary, readjust referring to the chart below.
| Fabrics | Threads | Needle | Stitch length | Standard Setting |
| Light-weight | · Cotton · Spun polyester · Polyester continuous No. 80 - 100 | HA x 1 No. 11 130 / 705H No. 80 | 2.0 - 3.5 mm · Standard 2.5 mm | 2/4 2/4 2/4 2/4 2/4 2/4 2/4 2/4 2/4 2/4 2/4 2/4 2/4 2/4 2/4 2/4 2/4 2/4 2/4 2/4 2/4 2/4 2/4 2/4 2/4 2/4 |
| Medium-weight | · Cotton · Spun polyester · Polyester continuous No. 60 - 100 | HA x 1 No.11-14 130 / 705H No. 80 - 90 | 2.0 - 3.5 mm · Standard 2.5 mm | 3/5 3/5 3/5 3/5 3/5 3/5 3/5 3/5 3/5 3/5 3/5 3/5 3/5 3/5 3/5 3/5 3/5 3/5 3/5 3/5 3/5 3/5 3/5 3/5 3/5 3/5 |
| Heavy-weight | · Cotton · Spun polyester · Polyester continuous No. 50 - 80 | HA x 1 No.14 130 / 705H No. 90 | 2.5 - 4.0 mm · Standard 3.0 mm | 5/7 5/7 5/7 5/7 5/7 5/7 5/7 5/7 5/7 5/7 5/7 5/7 5/7 5/7 5/7 5/7 5/7 5/7 5/7 5/7 5/7 5/7 5/7 5/7 5/7 5/7 |
| Denim Tweed Velour etc. |
CHANGING THE THREAD (TYING ON)
It is simple to change the thread in the following manner.
Cut the thread above the spool pin, and knot ends of old and new threads together. Set the tension dials to "O" and raise the presser foot.
Pull the other end of thread until knots come under the presser foot. For needle threads, pull the other ends of threads until knots come to needle eyes and cut the threads at the both sides of the knots. Then re-thread the needles.


BUILT-IN POCKET HANDLE
The Built in pocket handle is a convenient way to carry your machine.

ADJUSTMENT OF STITCH LENGTH
There are nine setting adjustments which can be made from 1.0 to 5.0mm
Most overlock work is done with a basic stitch length setting of 2.5-3.5 mm.

Stitch length adjustment knob (Inner dial)
[STITCH LENGTH SETTING]
| Stitches | Stitch length |
| Regular seaming | 2.0 – 5.0 mm 3.0 mm (Standard Setting) |
| Narrow seaming | 1.0 - 2.0 mm |
| Rolled edging | 1.0 - 2.0 mm |
| Picot edging | 3.0 - 4.0 mm |
CUTTINGWIDTH
The proper cutting width differs with the type of fabric. Check the seams each time, and adjust the cutting width as follows.
- Turn the hand wheel toward you until the needles are at the lowest position.
- Open the front cover and free arm.
- Turn the cutting width adjustment knob until the looper threads lie along the edge of the fabric.
Adjust to a narrower cutting width if the fabric edges curl when sewing. Turn the cutting width adjustment knob to the right.
Adjust to a wider cutting width if the thread loops off the edge of the fabric. Turn the cutting width adjustment knob to the left.

[ THE PROPER CUTTING WIDTH ]


[ADJUST TO A WIDER CUTTING WIDTH]

[ADJUST TO A NARROWER CUTTING WIDTH]
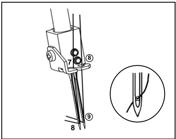
CHANGING THE NEEDLE
Turn the power switch to "OFF" before changing the needles.
Do not use any needle which is bent or blunt.
- Turn the hand wheel toward you until the needles are fully raised.
- Open the front cover and lower the presser foot.
- Using the hexagon wrench key from the accessory box, loosen the needle clamp screws and remove the needles. Upper left screw for left needle and lower right screw for right needle.
- Insert the new needle with the flat side to the back into the needle clamp, making sure it is inserted as far up as possible. Tighten the needle clamp screw firmly.
When the needles are set correctly, the left needle is slightly higher than the right one. If needles are not correctly inserted, skipped stitches will result.
This machine is equipped with needle systems. H.A*1 (Needle are household type).


REPLACING THE BULB
Turn the power switch to "OFF" before replacing the bulb.
- Loosen the screw until it is taken apart.
- Take off the lamp cover, as figure shown.
- Push and twist and then remove the old bulb.
- Insert the new bulb and twist to its position.
Important:
This machine is designed to use 15 watt bulb. The bulb is available from your local dealer.

REPLACING THE CUTTERS
Turn the power switch to "OFF" before replacing the cutter blades.
The lower cutter is made of special material and does not usually need to be replaced. However, should it become damaged, it can be replaced by your local dealer.
To replace the upper cutter when it becomes dull :
- Open the front cover and turn the hand wheel toward you until the needles are in the lowest position.
- Using the screwdriver from the accessory box, loosen the upper cutter set screw and remove the upper cutter.
- Replace the new upper cutter and slightly tighten the upper cutter set screw.
- Adjust the position of upper cutter so the edge of the upper cutter overlaps 0.5-1.0mm from the edge of lower cutter as shown below.
- Tighten the upper cutter set screw firmly and close the front cover.

THREE THREAD NARROW AND WIDE OVERLOCK STITCH
This machine is a 3/4 thread convertible.
overlock.
Remove either the right or left needle. Your machine is now ready for use as a 3-thread overlock.
Refer to "CHANGING THE NEEDLE".


Using the needle on the right only, the stitch width is 4 mm (0.16").

Using the needle on the left only, the stitch width is 6 mm (0.24").
FREE ARM SEWING
Remove the support bed as illustrated which easily converts from a flat bed to free arm. Convenient for sewing pant legs, sleeves and cuffs, etc.

CONVERTIBLE PRESSER FOOT
The special presser foot, is set for normal overlock with the letter N adjacent to the vertical screw at front of presser foot. When you need to sew a rolled edge, simply loosen the large screw slightly and move the finger that protrudes from left side of foot forward until is stops, then re-tighten the screw. The letter R will now be adjacent to screw.

ROLLED AND NARROW EDGE
To carry out either of the above sewing tasks proceed as follows.
(1) Refer to page 23 for special foot position setting.
(2) Turn the handwheel toward you until needles are fully raised.
(3) Open front cover and remove left needle. See page 20.
(4) Set stitch length between 1.0 - 2.0 mm . See page 18. Also ensure that differential control is set at 'N' position.
(5) Adjust stitch width, as shown on page 19.
(6) If not already threaded re-thread the machine.
(7) Place fabric under presser foot and start to sew.
Always test the stitch and tension settings on scrap fabric before sewing on an actual garment. When either Rolled or Narrow hemming, we recommend you change the threads as shown on page 25.
ALWAYS remember to re-set the special foot for normal serging after you have finished your rolled edge procedure.
[ROLLEDEDGE]
With a rolled edge the loops formed by the lower looper thread should be pulled to the underside of the fabric. This is done by setting the tensions as shown on page 25.
![AEG-ELECTROLUX 90S - [ROLLEDEDGE] - 1](/content/2019/10/4120/images/3f84c08ccd3ad27297543e1ee7e156135a3601b68290a94072e672c96b850c91.jpg)
[NARROW EDGE]
For seams on sheer or lightweight fabrics, set tensions as shown on page 25 for a balanced tension.
![AEG-ELECTROLUX 90S - [NARROW EDGE] - 1](/content/2019/10/4120/images/b18013f6a8c9dbb8b7a25907414fc520ab26e5b4bdb4e2772705e9d9bdd62497.jpg)
Important: If necessary, adjust the stitch length and cutting width.
| Fabrics | Threads | ||
| Rolled hemming | Narrow hemming | ||
| Georgette Lawn Crepe-de-chine | Needle thread | ·Spun polyester No. 50 - 80 ·Polyester continuous No. 50 - 80 | ·Spun polyester No. 50 - 80 ·Polyester continuous No. 50 - 80 |
| ·Silk ·Broadcloth ·Rayon ·Voile | Upper looper thread | ·Spun polyester ·Wooly-nylon ·Rayon thread | ·Wooly-nylon ·Spun polyester No. 50 - 80 ·Polyester continuous No. 50 - 80 |
| etc. | Lower looper thread | ·Spun polyester No. 50 - 80 ·Polyester continuous No. 50 - 80 | ·Spun polyester No. 50 - 80 ·Polyester continuous No. 50 - 80 |
![AEG-ELECTROLUX 90S - [NARROW EDGE] - 2](/content/2019/10/4120/images/a0596b7000fce0df3257f2f538b2bd58e2a05c9110a5860bd3820ced279585b6.jpg)
[ROLLED HEMMING]
![AEG-ELECTROLUX 90S - [NARROW EDGE] - 3](/content/2019/10/4120/images/ad7357bedc85b87d6d778e8d3b2bb90c9355c2c37cdc6864d9ad5872b7128c25.jpg)
[NARROW HEMMING]
DIFFERENTIAL FEED
The differential feed prevents wavy seams in knitted fabrics and also movement between the layers of fabric. It also ensures pucker-free seams on lightweight fabrics.
[DIFFERENTIAL FEED MECHANISM]
There are two sets of feed teeth, one front and one rear. The two sets of feed teeth move independently. Differential feed allows the two sets of feed teeth to move at different rates. Differential ratio 0.7-2.0.
![AEG-ELECTROLUX 90S - [DIFFERENTIAL FEED MECHANISM] - 1](/content/2019/10/4120/images/914894a644bc0f65fa62d02675c7d7b655a8d07cb0c207632af2e6534b527019.jpg)
[ADJUSTING THE DIFFERENTIAL FEED]
The differential feed can be adjusted by simply turning the differential feed adjustment knob in the direction desired. Adjustment of the differential feed can be made while sewing.
Important:
When sewing without differential feed, the adjustment knob for the differential feed should be set on the "N" position.

[WAVY KNITS & GATHERING]
For perfectly flat seams in stretchy knit garments, the front feed teeth need to feed faster than the rear feed teeth to prevent stretching the fabric. To Gather, the front feed teeth will also need to feed faster than the rear feed teeth. By using a long stitch length, (See page 26 to adjust). your fabric will easily gather. Set differential feed motion at "G".
![AEG-ELECTROLUX 90S - [WAVY KNITS & GATHERING] - 1](/content/2019/10/4120/images/693537ae1028f73ac8d82d5c3c61a759ff7a8a6204fa681198d7a8280b2986a8.jpg)
[STRETCHING TO PREVENT PUCKERING]
To avoid any puckering in seams on lightweight woven fabrics or smooth nylon, the rear feed teeth must feed faster than the front feed teeth. The front feed teeth, therefore, holds the fabric taut to prevent puckering. Set the differential feed motion at "S".
![AEG-ELECTROLUX 90S - [STRETCHING TO PREVENT PUCKERING] - 1](/content/2019/10/4120/images/b2ea3aca9e40f74dcc978bf6145ceb194d0b3cf86d72a92270634ed8b8db020a.jpg)
TROUBLE SHOOTING GUIDE
Check items below before calling for service.
| Problem | Cause | Corrective action | Page |
| Needles break | 1. Needles are bent, blunt or points are damaged. 2. Needles not inserted correctly. 3. You have forcibly pulled the fabric | 1. Replace with new needles. 2. Insert the needles correctly to the needle clamp. 3. Guide fabric gently with both hands. | 20 20 |
| Thread breaks | 1. Threading is incorrect. 2. Thread tension is too tight. 3. Needles not inserted correctly. | 1. Thread the machine correctly. 2. Reset the thread tension. 3. Insert the needles correctly to the needle clamp. | 10 · 11 13 · 14 20 |
| Skipped stitches | 1. Needles are bent, blunt or points are damaged. 2. Needles not inserted correctly. 3. Threading is incorrect. 4. Wrong needles used. | 1. Replace with new needles. 2. Insert the needles correctly to the needle clamp. 3. Thread the machine correctly. 4. Use correct needles. (HAX1 or 130/705H) | 20 20 10 · 11 20 |
| Stiches are irregular | 1. Thread tension is not correct. 2. Thread is caught. | 1. Correct the thread tension. 2. Check threading path of each thread. | 12 · 13 9 · 10 |
| Seam puckering | 1. Thread tension is too tight. 2. Threading is incorrect. 3. Thread is caught. 4. Differential feet not set. | 1. Correct the thread tension. 2. Thread the machine correctly. 3. Check threading path of each thread. 4. Set differential feed to “S”. | 13 · 14 10 · 11 10 · 11 27 |
| Fabric not cutting neatly | 1. Upper cutter is blunt or wrongly positioned. | 1. Replace or adjust the cutter. | 21 |
| Fabric edges curl | 1. Too much fabric is within the stitch. | 1. Re-adjust seam width. | 19 |
CLEANING AND LUBRICATING
Warning: When cleaning the machine or changing its lamp, disconnect it from the mains. You avoid accidents through electric shock.
To keep your machine running smoothly ; it is necessary to clean using the brush from the accessory box now and then.
This machine requires very little lubrication as the main components are made of special materials.
Occasionally, lubricate only the points illustrated.

SPECIFICATION OF MACHINE
| Description | Specification |
| Number of threads | 4 or 3 |
| Number of needles | 2 or 1 |
| Sewing speed | 1300 ± 200 r.p.m |
| Stitch width | 4 - thread............6 mm |
| 3 - thread............6 mm or 4 mm | |
| Stitch length | 1 ~ 5.0 mm |
| Lift of presser foot | 4.0 mm |
| Needles | HA x 1 No. 11-14 |
| 130/ 705H No. 75 - 90 | |
| Dimentions | 285 mm (W) x 285 mm (D) x 291 mm (H) |
| Weight | 6 kg (approx. 15 lbs.) |
36 month warranty
Sales receipt with purchase date required as proof of Purchase for the warranty. Therefore please keep your receipt.
If you have any questions or problems, please call our SERVICE HOTLINE TEL. +49 (0)6071 3902 - 926
A.S.M. Distribution ApS, Klokkestøbervej 4, 9490 Pandrup - Denmark
CONSIGNES DE SECURITÉ

POIGNEE INCORPOREE 17
MISE AU POINT DE LA LONGUEUR DE POINT 18
CHANGEMENT D'AMPOULE
Sales receipt with purchase date required as proof of Purchase for the warranty. Therefore please keep your receipt.
If you have any questions or problems, please call our SERVICE HOTLINE TEL. +49 (0)6071 3902 - 926
A.S.M. Distribution ApS, Klokkestøbervej 4, 9490 Pandrup - Denmark
EasyManual