90S - Nähmaschine AEG-ELECTROLUX - Kostenlose Bedienungsanleitung
Finden Sie kostenlos die Bedienungsanleitung des Geräts 90S AEG-ELECTROLUX als PDF.
Laden Sie die Anleitung für Ihr Nähmaschine kostenlos im PDF-Format! Finden Sie Ihr Handbuch 90S - AEG-ELECTROLUX und nehmen Sie Ihr elektronisches Gerät wieder in die Hand. Auf dieser Seite sind alle Dokumente veröffentlicht, die für die Verwendung Ihres Geräts notwendig sind. 90S von der Marke AEG-ELECTROLUX.
BEDIENUNGSANLEITUNG 90S AEG-ELECTROLUX
Beim Gebrauch eines Elektrogeräts sollenn stets grundlegende Sicherheitsmaßnahmen beachtet werden.
Lesen Sie sámttliche Hinweise vor Gebrauch ihre Haushaltsnahmaschine aufmerksam durch.
ACHTUNG - Zur Vermeidung von Verletzungen durch elektrischen Stromschlag:
Die Maschine nie unbeaufsichtigt setzen, wenn sie mit dem Stromnetz verbunden ist. Unmittelbar nach dem Gebrauch sowie vor jeder Reinigung den Stecker aus der Steckdoseziehen.
Vor dem Einsetzen einer neuen Glühbirne den Netzsteckerziehen.
Wechseln Sie die Gluhlampe nur gegen eine Gluhlampe gleichen Typs 15W.
VORSICHT - Zur Vermeidung von Bränden, elektrischen Stromschlagen und Personenschäden:
- Die Maschinearf nicht als Spielzeug benutzt werden. Hochste Aufmerksamkeit ist geboten, wenn die Maschine von Kindern oder im Beisein von Kindern benutzt wird.
- Die Maschinearf ausschlieblich zu dem in dieser Anleitung beschriebenen Zweck eingesetzt werden. Benutzen Sie ausschlieblich Zubehör, das vom Hersteller in dieser Anleitung empfohlen wird.
- Die Maschinearf auf keinen Fall betrieben werden, wenn Kabel bzw. Stecker beschädigt sind, die Maschine nicht ordnungsgemäß Funktioniert, zu Boden gefallen oder beschädigt bzw. nass geworden ist. Ist eine Überprüfung bzw. Reparatur notwendig oder sind elektrische bzw. mechanische Justierungen erforderlich, so bringen Sie die Maschine zum nachstgelegenen Service-Kundendienst.
- Die Netzanschlussleitung die mit dem Fußpedal verbunden ist kann nicht ersetzt werden. Bei Beschädigung der Leitung ist das Fußpedal zu verschritten.
- Die Maschinearf nicht mit verstopften Beluftungsöffnungen betrieben werden. Halten Sie die Beluftungsöffnungen der Maschine und des Fußanlassers frei von Flusen, Staub und losem Gewebe.
- Keine Gegenstände in die Öffnungen der Maschine stecken bzw. fallen halten.
- Die Maschine nicht im Freien verwenden.
- Die Maschinearf nicht an Orten betrieben werden, an denen Sprays oder reiner Sauerstoff verwendet werden.
- Keine Gegenstände auf den Fußanlasser stellen, da die Maschine unerwartet anlaufen können und Motor bzw. Fußanlasser heißlaufen konnten.
- Zum Ausschalten alle Schalter auf „AUS" stellen und anschließend den Stecker aus der Steckdoseziehen.
- Den Stecker nicht am Kabel Herausziehen, sondern beim Herausziehen am Stecker festhalten.
- Die Finger von allen beweglichen Teilen fernhalten. Besondere Vorsicht ist im
Bereich um die Nähnel geboten.
- Stets die korrekte Stichplatte verwenden. Eine falsche Stichplatte kann zu Nadelbruch führen.
- Keine verbogenen Nadeln verwenden.
- Das Nähgut beim Nahlen nichtziehen oder schieben. Dadurch konnte die Nadel verbogen werden bzw. brechen.
- Zur Durchführung von Arbeiten im Nadelbereich wie Einfädeln bzw. Auswechseln der Nadel oder Wechseln des Nährfußes die Maschine stets ausschalten.
- Zum Ausführren der in dieser Anleitung beschrieben Wartungsarbeiten stets den Stecker der Nähmaschine aus der Steckdoseziehen.
-Ausschließlich Original-Ersatzteile verwenden.
- Dieses Gerät kann von Kindern ab 8 Jahren und darüber sowie von Personen mit verringerten physischen, sensorischen oder mentalen Fähigkeiten oder Mangel an Erfahrung und Wissen benutzt werden, wenn sie beaufsichtigt oder bezüglich des sicheren Gebrauchs des Gerätes unterwiesen wurden und die darauf resultierenden Gefahren verstehen.
- Kinder)durfen nicht mit dem Gerat spielen.
- Reinigung und Benutzer-Wartung)duren nicht von Kindern ohne Beaufsichtigung durchgefuhrt werden.
- Bewahren Sie die Gebrauchsanweisung an einem geeigneten Ort in der Höhe des Gerätes auf. Handigen Sie die Gebrauchsanleitung bei der Weitergabe des Gerätes an Dritte ebenfalls mit aus.
- Benutzen Sie die Maschine nicht in feuchtem Zustand oder Umgebung.
- Ziehen Sie immer den Stecker aus der Steckdose, wenn Sie die Maschine unbeaufsichtigt setzen um Verletzungen durch versehentliches einschalten zu vermeiden.
DIESE ANLEITUNG BITTE GUT AUFBEWAHREN
Vorsicht:
Bei Arbeiten im Nadelbereich sorgsam vorgehen, damit keine Fingerverletzungen auftreten. Bei der ersten Inbetriebnahme der Maschine ein Stück Stoff unter den Nährfuß legen und die Maschine eine Minuten uneingeführelt laufen setzen. Eventuell austretendes Öl mit einem Lappen abwischen.
Bitte verwenden Sie für die Nähmaschine den ZHEJIANG FOUNDER - Fußregler, Typ KD-2902. Stromversorgung: 220-240V , 50/60Hz Schutzklasse: II Der Schalldruckpegel unter normalen Betriebsbedingungen beträgt 78dB(A). Entsorgen Sie elektrische Geräte nicht im Hausmüll, nutzen Sie die Sammelstellen der Gemeinde. Fragen Sie ihre Gemeindeverwaltung nach den Standorten der Sammelstellen. Wenn elektrische Geräte unkontrolliert entsorgt werden, konnen während der Verwitterung gefährliche Stoffe ins Grundwasser und damit in die Nahrungskette gelangen, oder die Flora und Fauna auf Jahre vergiftet werden.
Wenn Sie das Gerät durch ein neues ersetzen, ist der Verkäufige gesetzlich verpflichtet, das alte mindestens kostenlos zur Entsorgung entgegenzunehmen.

DIE WICHTIGSTEN TEILE 4~5
MASCHINENEINSTELLUNGEN 6~7
Einstellung der Fadenfuhrungsständer 6
Garnrollstift 6
Spulenkappen 6
Anlasser anschreiben 7
Steuern der Nähgeschwindigkeit 7
Sicherheitschalter 7
ZUBEHÖR 8
BEDIENUNG DER MASCHINE 9
Handrad 9
Frontklappe 9
Freiarm 9
FÄDEN IN DIE GREIFER EINFÄDELN 10
FÄDEN IN DIE NADELN EINFÄDELN 11
PROBELAUF 12
EINSTELLEN DER FADENSPANNUNG 13~14
Einstellung der Fadenspannung auf die Nadelfäden 14
Einstellung der Fadenspannung auf den die Greiferfaden 14
STICHAUSWAHL AEG 760. 15
GARN UND NADELTABELLE 16
FADENWECHSEL 17
VERSENKTER TRAGEGRIFF 17
EINSTELLUNG DER STICHLANGE 18
Einstellung der stichlange 18
SCHNITTBREITE 19
Die richtige Schnittbreite 19
Grössere Schnittbreite einstellen 19
Geringere Schnittbreite einstellen 19
VERSÄUBERUNGSNAHT BREIT - SCHMAL 22
ENTFERNEN DES ANSCHIEBETISCHES 23
VERSTELLBARER NAHFUSS FÜR NORMALE NAHARBEITEN UND ROLLSAUM.23
ROLLSAUM UND VERSÄUBERUNGSNAHT 24~25
Rollsmaunahen 24
Versäuberungsnaht nahlen 24
Rollsäumen 25
Versäuberungsnaht 25
DIFFERENTIAL TRANSPORT 26~27
Funktionsweise 26
Einstellen des Differentialvorschubs 26
GERAFFTE OVERLOCKNAHT 27
GEDEHNTE OVERLOCKNAHT 27
NAHSTÖRUNGEN UND IHRE BEHEBUNG 28
REINIGEN UND ÖLEN 29
TECHNISCHE DATEN 29

- Fadenführungen mit Ständer
- Fadenspannungswahler für den unteren Greifer
- Garnrollstift
- Garnrollhalter
- Handrad
- Grundplatte
- Steckerbuchse
- An- und Ausschalter
- Frontklappe
- Anschiebetisch
- Freiarm
- Stichplatte
- Fadenspannungswahler für die linke Nadel
- Fadenspannungswähler für die rechte Nadel
- Fadenspannungswahler für den oberen Greifer
- Fadenführung
Lassen Sie die Maschine nie unbeaufsichtigt wenn Sie mit dem Netz verbunden ist. Ziehen Sie den Stecker aus der Steckdose, wenn Sie die Maschine nicht gebrauchen.

- Oberer Greifer
- Unterer Greifer
- Freiarm
- Unteres Messer
- Nahtbreiteneinstellknopf
- Nähfuß
- Oberes Messer
MASCHINENEINSTELLUNGEN
Stellen Sie die Overlock-Maschine auf eine Stabile ebene Oberfläche.
[ MONTAGE DES FADENFUHRUNGSSTÄNDERS]
Ziehen Sie den Fadenbaum vor dem Einfädeln ganz hereaus. Positionieren Sie die Fadenführungen mittig über den Garnrollenstiften.
![AEG-ELECTROLUX 90S - [ MONTAGE DES FADENFUHRUNGSSTÄNDERS] - 1](/content/2019/10/4120/images/8f257fe22aec9cd7fa1472d961c24f27de93dfe755778990e97e4f19ed24eef0.jpg)
[GARNROLLENHALTER]
Bei dieser Maschine konnen sowohl Industriespulen als auch Haushaltsspulen verwendet werden.
Bei Industriespulen mit großem
Durchmesser setzen Sie die
Splenhalterung mit dem breiten Ende nach offen ein, fur Spulen mit keinem
Durchmesser setzen Sie die Halterung mit dem schmalen Ende nach offen ein.
![AEG-ELECTROLUX 90S - [GARNROLLENHALTER] - 1](/content/2019/10/4120/images/75c8e9ae18c8bf1f09e02d078054c41db9dd7c4898e7f485714a4cf752488816.jpg)
[SPULENKAPPEN]
Bei Verwendung von nicht-industriellen Garnspulelen entfernen Sie den Spulenhalter und setzen Sie Spulenkappen auf die Garnspulen.
![AEG-ELECTROLUX 90S - [SPULENKAPPEN] - 1](/content/2019/10/4120/images/731c0408abeec1a857b287abdf8f594b6f12fb62d570dd8dfeced1908be615c4.jpg)
[ANLASSER]
Stecken Sie den Stecker des Fußschalters in die Steckerbuchse und dann in die Steckdose. Schalten Sie den Strom ein. Der Stromschalter schaltet sowohl die Maschine als auch das Nährlicht. Beim Verlassen der Maschine oder vor Wartungsarbeiten den Netzstecker aus der Steckdose herausziehen.
![AEG-ELECTROLUX 90S - [ANLASSER] - 1](/content/2019/10/4120/images/a15d4cbfeecebbdb1d34c587c1eb2404f000ed6ad01a45b6d5863197a22eb9d8.jpg)
[STEUERN DER
NAHGESCHWINDIGKEIT]
Die Nähgeschwindigkeit wird über den Anlasser gesteuert. Die Nähgeschwindigkeit kann dadurch verändert warden, daß man mehr oder weniger Druck auf den Anlasser ausüb.
[SICHERHEITSSCHALTER]
These Maschine ist mit einem Mikro-Sicherheitschalter ausgestattet. Die Maschine wird automatisch vom Strom genommen, wenn entweder die Freiarmvorrichtung oder die Frontklappe offensteht. Schlieben Sie sowohl die Freiarmvorrichtung als auch Frontklappe, ehe Sie zu halten beginnen.
![AEG-ELECTROLUX 90S - [SICHERHEITSSCHALTER] - 1](/content/2019/10/4120/images/c21cde0309cf772d6d6f5cc92eb349afd13e6bfc39e88d90cf008fa0803a9858.jpg)
![AEG-ELECTROLUX 90S - [SICHERHEITSSCHALTER] - 2](/content/2019/10/4120/images/ff1ef9e04001dd86bc3b5508fe6e54254ac9666aca99edf0bd7eea0603848406.jpg)
ZUBEHÖR

Pinzette

Öler
Oberes Ersatzmesser


Nadelin

Abdeckhaube

Schraubenzieher

Bürste

Inbusschluss

Bedienungsanleitung

Spulenkappen
BEDIENUNG DER MASCHINE
[HANDRAD]
Drehen Sie das Handrad immer nur zu sich hin, also in der gleichen Richtung wie bei einer Haushaltsnahmaschine.
![AEG-ELECTROLUX 90S - [HANDRAD] - 1](/content/2019/10/4120/images/0a03c5e2e5df421c6601f7806789d88c05d263a3d6c9b73fba4796ed20162c2e.jpg)
[FRONTKLAPPE]
Um die Frontklappe zu öffnen, schiben Sie die Aussparung soweit wie möglich nach rechts und ziehen Sie den Frontdeckel dann zu sich hin. Die Frontklappe laßt sich nicht schließen, solange der Freiarm offen steht.
![AEG-ELECTROLUX 90S - [FRONTKLAPPE] - 1](/content/2019/10/4120/images/ce6f0b5118e6968347ab25ff3e08ca50844104e5bed5cb4d68f1328d4d97149a.jpg)
[ FREIARM ]
Öffnen Sie den Freiarm zum Einfädeln.
- Ziehen Sie den Freiarm nach links ab.
- Durch Drucken des Klemmhebels nach oben lösen Sie die Verriegelung, nun können Sie die Greiferabdeckung Herausziehen
![AEG-ELECTROLUX 90S - [ FREIARM ] - 1](/content/2019/10/4120/images/536448e49d40c1d58647c1de8a742e39814c0b662ca818387b3dc066f2dbc396.jpg)
FADEN IN DIE GREIFER EINFÄDELN
Achtung: Vor dem Einfädeln den Hauptschalter auf Aus (OFF) stellen.
Richtiges Einfädeln ist wichtig, damit die Stiche nicht unregelmäßig werden und der Faden nicht abreit.
Auf der Innenseite der Frontklappe befindet sich eine praktische Anleitung zum Einfadeln.
Zusätzlich sind die Fadenführungen verschiedene farbig gekennzeichnet.
In der Zubehörbox befindet sich eine Pinzette, mit der das Einfädeln einfacher besteht.
Das Einfädeln geschieht in dieser Reihenfolge:
- ERSTER SCHRITT . Oberer Greifer
- ZWEITER SCHRITT ......... Unterer Greifer
- DRITTER SCHRITT....... Rechte Nadel
- LETZTER SCHRITT............ Linke Nadel
1.Öffnen Sie Frontklappe und Freiarm.
2.Drehen Sie das Handrad zu sich hin, bis sich der Greifer in der gunstigsten Stellung zum Einfädeln befindet.
3.Fuhren Sie oberen und unteren Greiferfaden, wie abgebildet, ein.
Wichtig: Der Faden muß korrekt zwischen den beiden Scheiben der
Fadenspannvorrichtung liegen.
4.Ziehen Sie das Fadenende etwa 10 cm (4") aus den Greiferosen Heraus.
Heben Sie den Nährfuß an und schiben Sie die Faden darunter; senken Sie dann den Nährfuß wieder ab.





FADEN IN DIE NADELN EINFÄDELN
- Drehen Sie das Handrad zu sich hin, bis die Nadeln ganz oben stehen.
- Führer Sie rechten und linken Faden, wie abgebildet, ein. Wichtig: Der Faden muß korrekt zwischen den beiden Scheiben der Fadenspannvorrichtung liegen.
- Führn Sie das Garn, wie abgebildet,von vorne nach hinten durch die Nadelöhre.
- Ziehen Sie das Fadenende etwa 10cm (4") aus den Nadelöhren Heraus. Heben Sie den Nähfuß an und schiben Sie die Faden darunter; senken Sie dann den Nähfuß wieder ab.






PROBELAUF
Wenn zum ersten Mal Garn eingefädelt wird oder nach Fadenriß während des Nähens Garn neu eingefädelt wird, gehen Sie auf die folgende weise vor.
Halten Sie die Fadenenden zwischen den Fingerspitzen der linken Hand, drehen Sie das Handrad langsam zwei-oder dreimal zu sich hin und prüfen Sie, den Faden erneut.

Legen Sie den Stoff für einen Probelauf unter den Nähfuß und beginnen Sie, langsam zu Nahlen. Der Stoff wird automatisch zugeführrt.

Nach beendeter Arbeit nagen Sie weiter, bis sich eine etwa 5cm (2") Lange Fadenkette am Ende des Stoffes gebildet hat. Durchschnitten Sie die Faden mit einer Schere.

EINSTELLLEN DER FADENSPANNUNG
Die benöttigte Fadenspannung ändert sich je nach Art und Dicke von Faden und Stoff.
Prufen Sie die Nähte und stellen Sie an der Machine die Fadenstände entsprechend ein.
Fadenspannung :
Drehen Sie die Spannvorrichtung auf eine niedrigiere Zahl, die Spannung wird geringer.
Drehen Sie die Spannvorrichtung auf eine höhere Zahl, die Spannung wird hoher.


Richtige Fadenspannung
Für die hier gezeigten Nähte muß die Fadenspannung egestellt werden.
[EINSTELLUNG DER FADENSPANNUNG AUF DIE NADELFÄDEN]
Die Fadenspannung auf der linken Nadel ist zu locker.

Die Fadenspannung auf der rechten Nadel ist zu locker.

[EINSTELLUNG DER FADENSPANNUNG AUF DIE GREIFERFÄDEN]
DerunteGreiferfadenistfestund/oder derobereGreiferfadenistlocker.

DerunteGreiferfadenistfestund/oder derobereGreiferfadenistlocker.

STICHAUSWAHL AEG 760
| Einfädelweg für Vierfadennaht | rechte Nadel | linke Nadel | rechte Greifer | linker Greifer | ||
| 3 | 4 | 1 | 2 | |||
| Stichtyp | Nadelpositio-nen links und rechts | Spannungseinstellrad: Die nachfolgenden Werte sind Durchschnittswerte für mittel-schweren Stoff und normales Polyestergarn | ||||
| Vierfaden- Stretch-Sicherheitsnacht | 6 mm | rot | gelb | grün | blau | |
| ● ● | 2.5 | 2.0 | 2.5 | 2.0 | ||
| 2-Nadel-4-Fadenstich ist ideal für mittlere bis schwere Stretchstoffe wie Strickwaren und Badebekleidung. | ||||||
| Nadelposi-tionen links oder rechts | |||||
| Dreifaden-Overlocknaht breit und schmal | ○● | 3.0 | 2.5 | ||
| ●○ | 2.5 | 2.5 | |||

1-Nadel; 3-Fadenstich wird zum Versaubern von normalem Nähgut benutzt. Je nach gewähller Nadelposition ist eine Overlocknahtbreite von 4,0 bzw. 6,0 mm möglich.
| Nadel-positionenrechts | |||||
| Dreifaden-Rollsbaum schmal | ○● | Rollsbaum | 3.0 | 0.5 | 8.0 |
| Rollsbaum schmal | 4.0 | 4.0 | 4.0 | ||

1-Nadel-; 3-Fadenstich fur schmale Rollsäume als Zierkante; z.B. bei Chiffontüchern.

| Nadelposi-tionen links oder rechts | |||||
| Dreifaden-Flatlock breit und schmal | ◯◯ | 0.5 | 5.5 | 5.5 | |
| ◯◯ | 0.5 | 5.0 | 6.0 |
1-Nadel-; 3-Fadenstich fur Stumpfnähte und Zierstiche mit dekorativem Garn. Nur auf dem rechten Greifer Farbe Grün einfädeln. Je nach gewährter Nadelposition ist eine Flatlocknahtbreite von 4,0 bzw. 6,0 mm möglich..
GARN- UND NADELTABELLE
Die gänstige Einstellung der Fadenspannung für einen Stoff muß nicht unbedingt für einen anderen Stoff richtig sein.
Die erforderliche Fadenspannung richtet sich nach Steigkeit und Dicke des Stoffes sowie nach Art und Dicke des Fadens.
Wenn erforderlich, stellen Sie Spannung nach dieser Tabelle ein:
| Stoffe | Garn | Nadeln | Stichlänge | |
| Leicht | · Baumwolle · Gesponnenes Polyester · Endlospolyester Nr.80-100 | HA x 1 Nr. 11 130 / 705H Nr. 80 | 2,0 - 3,5 mm · Standard 2,5 mm | 2/4 2/4 2/4 2/4 |
| Georgette Musselin Batist. Kleiderstoff Crepe de Chine Seide usw. | ||||
| Mittelschwer | · Baumwolle · Gesponnenes Polyester · Endlospolyester Nr. 60 - 100 | HA x 1 Nr.11-14 130 / 705H Nr. 80 - 90 | 2,0 - 3,5 mm · Standard 2,5 mm | 3/5 3/5 3/5 3/5 |
| · Baumwolle · Popelin · Regenbaumwolle · Kord | ||||
| usw. | ||||
| Schwer | · Baumwolle · Gesponnenes Polyester · Endlospolyester Nr. 50 - 80 | HA x 1 Nr.14 130 / 705H Nr. 90 | 2,5 - 4,0 mm · Standard 3,0 mm | 5/7 5/7 3/5 3/5 |
| · Jeans-Stoff · Tweed · Velours | ||||
| usw. |
FADENWECHSEL (ANKNOTEN)
Nach der folgender Vorgehensweise ist der Fadenwechsel ganz einfach:
Schneiden Sie das Garn über Spindel ab und knoten Sie die Enden von altem und neuem Faden zusammen.
Heben Sie den Nähfuß an.
Ziehen Sie am anderen Ende des Garn, bis die Knoten unter den Nähfußkommen.
Beim Einfädeln in die Nadelnziehen Sie die anderen Enden, bis die Knoten in den Nadelöhren sind und schneiden Sie das Garn links rechts der Knoten ab. Fädeln Sie dann neu ein.

VERSENKTER TRAGEGRIFF
Mit dem versenkten Tragegriff können Sie ihre Maschine bequem transportieren.

EINSTELLUNG DER STICHLÄNGE
Die Stichlänge kann in neun Schritten von 1,0 bis 5,0 mm eingestellt werden. Fast alle Overlock-Arbeiten werden mit einer Stichlänge von 2,5 - 3,5 mm ausgeführrt.

Einstellknopf für die Stichlänge (Innerer Drehknopf)
[EINSTELLUNG DER STICHLÄNGE]
| Stiche | Stichlänge |
| Normale Nähte | 2.0 ~ 5.0 mm (Standardepositionung 3,0 mm) |
| Schmiele Einfassungen | 1.0 ~ 2.0 mm |
| Rollsbaum | 1.0 ~ 2.0 mm |
SCHNITTBREITE
Die geeignete Schnittbreite ist von Stoff zu Stoff verschiedene. Prufen Sie jeweils die Nähte und stellen Sie die Schnittbreite wie folgt ein:
- Drehen Sie das Handrad zu Ohnen hin, bis sich die Nadeln in der untersten Stellung befinden.
- Offnen Sie Frontklappe und Freiarm.
- Drehen Sie am Einstellknopf für die Schnittbreite, bis die Greiferfaden an der Stoffkante anliegen.
Wahlen Sie eine gingere Schnittbreite, wenn sich die Stoffkanten beim Nahren kräuseln. Drehen Sie dazu den Einstellknopf für die Schnittbreite nach rechts.
Wahlen Sie eine größere Schnittbreite, wenn das Garn über die Stoffkante hinausgenäht wird.
Drehen Sie hierzu den Einstellknopf für die Schnittbreite nach links.

[ DIE RICHTIGE SCHNITTBREITE ]


[GRÖSSERE SCHNITTBREITE EINSTELLEN]

[GERINGERE SCHNITTBREITE EINSTELLEN]
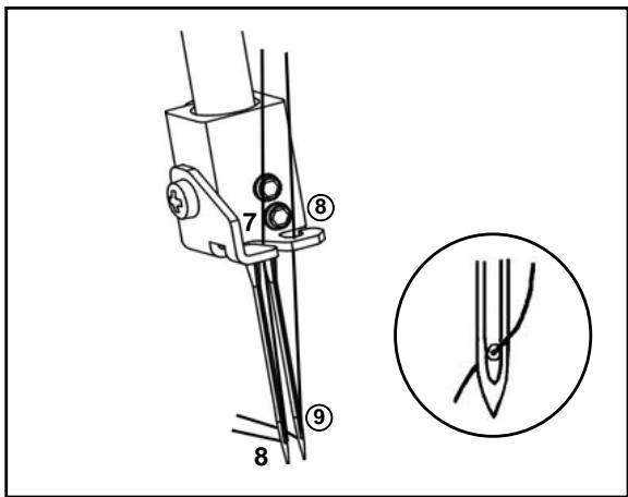
NADELN AUSTAUSCHEN
Achtung: Vor dem Wechseln der Nadel Hauptschalter auf Aus (OFF) stellen.
Verwenden Sie keine verbogenen oder stumpfen Nadeln.
- Drehen Sie das Handrad zu sich hin, bis sich die Nadeln in oberster Stellung befinden.
- Offnen Sie die Frontklappe und senken Sie den Nähfuß
- Losen Sie die Klemmschrauben von den Nadeln mit dem Inbusschlüssel aus der Zubehörbox und nehmen Sie die Nadeln hereaus: obere linke Schraube für die linke Nadel und andere rechte Schraube für die rechte Nadel.
- Schieben Sie die neue Nadel mit der flachen Seite nach hinten in die Nadelhalterung. Achten Sie hierbei darauf, daß sie so welt wie möglich eingeschoben ist. Drehen Sie die Klemmschraube der Nadel fest.
Wenn die Nadeln richtig eingesetzt worden sind, steht die linke Nadel eine Ideehigher als die rechte.Wenn die Nadeln nicht richtig eingesetzt wurden, werden beim Nahlen gelegentlich Stiche ausgelassen. Diese Maschine ist mit Nadeln des Type H.A*1 ausgestattet (fur Haushaltsmaschinen).


Flache Seite nach halten
GLÜHLAMPE ERNEUERN
Ziehen Sie den Netzstecker aus der Steckdose, ehe Sie die Glühlampe austauschen.
- Losen Sie die Schraube.
- Entfernen Sie die Lampenabdeckung s. Bild.
- Drücken und drehen und entfern den Sie die alte Gluhlampe.
- Setzen Sie die neue Gluhlampe ein und drehen Sie diese in Position.
WICHTIG:
Verwenden Sie nur 15-Watt-Lampen des gleichen Typs.

MESSER AUSWECHSELN
Ziehen Sie den Netzstecker aus der Steckdose, ehe Sie die Messer wechseln.
Das untere Messer besteht aus speziellem Material und braucht normalerweise nicht ausgewechselt zu werden. Wenn es trotzdem einmal beschädigt sein sollte, kann Ihr Fachhändler es austauschen.
So wechseln Sie das obere Messer aus, wenn es stumpf ist:
- Öffnen Sie die Frontklappe und drehen Sie das Handrad zu sich hin, bis sich die Nadeln in der niedrigsten Stellung befinden.
- Losen Sie mit dem Schraubendreher aus der Zubehörbox die Schraube am oberen Messerhalter und entfermen Sie das obere Messer.
- Setzen Sie ein neues oberes Messer ein undziehen Sie die Schraube der Halterung leicht an.
- Stellen Sie das obere Messer so ein, daß seine Schneide die Schneide des unteren Messers um 0,5-1,0 mm überragt, siehe Abbildung.
- Ziehen Sie nun die Halterung des oberen Messers fest an und schließen Sie die Frontklappe.

VERSÄUBERUNGSNAHT BREIT UND SCHMAL
These Maschine cann man beim Ketteln von vier auf drei Faden umstellen. Entfernen Sie entweder die rechte oder linke Nadel und den entsprechenden Faden. Nun ist die Maschine bereit zum Ketteln mit drei Faden.
"Siehe auch Wechseln der Nadel"


Bei ausschließlich Einsatz der rechten Nadel beträgt die Stlchlänge 4 mm (0,16").

Bei ausschließlich Einsatz der linken Nadel beträgt die Stlchlänge 6mm (0,24").
ENTFERNEN DES ANSCHIEBETISCHES
Entfernen Sie die Armauflage, wie auf der Abbildung gezeigt, um von Flachbett- auf Freiarmbetrieb zu wechseln.
Freiarmbetrieb eignet sich vorzüglich zum Nahlen von Hosenbeinen, Armeln, Manchetten, usw.

VERSTELLBARER NAHFUSS FÜR NORMALES NAHEN und ROLLSAUMNAHEN
Der spezielle Nähfuß ist in der Stellung N an der Senkschraube vorn am Nähfuß für normalen Nähbetrieb eingestellt. Wenn Sie einen Rollsam nahren wollen, lösen Sie einfach die große Schraube kein und schieben Sie den kleinen Stift, der links aus dem Fuß hersausstehen, bis zum Anschlag. jetzt stehen der Buchstabe R an der Schraube.

ROLLSAUM UND VERSÄUBERUNGSNAHT
FürthesebeidenArbeitengehenSiewiefolgtvor:
(1) Lesen Sie auf Seite 23 die Anweisungen zum Verstellen des Nährfußes.
(2) Drehen Sie das Handrad zu sich hin, bis die Nadeln ganz oben stehen.
(3) Öffnen Sie die Frontklappe und entfernen Sie die linke Nadel. Siehe Seite 20.
(4) Stellen Sie die Stichlänge auf 1,0 - 2,0mm ein. Siehe Seite 18.itte achten Sie darauf, daß das Differential auf "N" gestellt ist.
(5) Stellen Sie die Stichlänge, wie auf Seite 19.
(6) Wenn kein Garn eingefädelt ist, fadeln Sie jetzt neu ein.
(7) Legen Sie ihren Stoff unter den Nährfuß und beginnen Sie zu nahren.
Prufen Sie die Einstellungen von Stichlänge und Fadenspannung zunachst immer an einem Stück Probestoff, ehe Sie beginnen,das eigentliche Kleidungsstück zu nahlen. Denken Sie IMMER daran, nach dem Nahlen von Säumen den speziellen Nährfuß zum normalen Nahlen (Kettelbetrieb) wieder zugruck zustellen; also von R auf N.
[ROLLSAUM NÄHEN]
Beim Nahlen von Rollsäumen sollen die Schlingen des oberen Greiferfadens zur Unterseite des Stoffs gezogen werden. Dies erreicht man durch Einstellen der Fadenspannung, wie auf Seite 25 beschreiben.
![AEG-ELECTROLUX 90S - [ROLLSAUM NÄHEN] - 1](/content/2019/10/4120/images/0f611b9a28a0c5e50a8f0e245e233f3e4e95d925f2ad35f8a7d47d607e76a3f1.jpg)
[VERSÄUBERUNGSNAHT NÄHEN]
Wenn Sie sehr dūnnen oder leichten Stoff nahren wollen, wahren Sie eine angemessene Fadenspannung, wie auf Seite 25 beschrieben.
![AEG-ELECTROLUX 90S - [VERSÄUBERUNGSNAHT NÄHEN] - 1](/content/2019/10/4120/images/0f3fd4c973edec835943e12b757e54f41b2b698a9322a36d7ea9e7fc7965b8ab.jpg)
| Stoffe | Garn | ||
| Hohlsäumen | Einfassen | ||
| Georgette | Nadelführung | Gesponnenes Polyester Nr. 50 - 80 | Gesponnenes Polyester Nr. 50 - 80 |
| Batist | Endlospolyester Nr. 50 - 80 | Endlospolyester No. 50 - 80 | |
| Crepe-de-Chine | |||
| Seide | Oberer Greiferfaden | Gesponnenes Polyester | Wirrnylon |
| Barchent | Wirrnylon | Gesponnenes Polyester Nr. 50 - 80 | |
| Kunstseide | Kunstseidengarn | Endlospolyester Nr. 50 - 80 | |
| Dünner Kleiderstoff | |||
| usw. | Unterer Greiferfaden | Gesponnenes Polyester Nr. 50 - 80 | Gesponnenes Polyester Nr. 50 - 80 |
| Endlospolyester Nr. 50 - 80 | Endlospolyester Nr. 50 - 80 | ||
![AEG-ELECTROLUX 90S - [VERSÄUBERUNGSNAHT NÄHEN] - 2](/content/2019/10/4120/images/5c811dd4e5accf5561f7bf66f1e1c12e125308a88242b935da1d2472e20cd989.jpg)
[ROLLSÄUMEN]
![AEG-ELECTROLUX 90S - [VERSÄUBERUNGSNAHT NÄHEN] - 3](/content/2019/10/4120/images/0c720fa022a404516939298d345d1aaaa0ead4da883ded0d6d1c33879bb8947b.jpg)
[ VERSÄUBERUNGSNAHT ]
Durch den Differentialtransport werden wichtige Nähte in gestrickten Stoffen vermieden,ebinso das Verrutschen der Stofflagen. Auch werfen die Nähte in sehr leichtem Stoff keine Falten; auch zum Krauseln fur dehnbare Stoffe.
[FUNKTIONSWEISE]
Die Maschine hat zwei Sätze von Transporteuren, einen vorne und einen hinten. Diese beiden bewegen sich unabhängig voneinander. Durch den Differentialvorschub konnen die beiden Transporteure sich mit verschiedenen Geschwindigkeiten bewegen. Differenziales Verhältnis 0.7-2.0.
![AEG-ELECTROLUX 90S - [FUNKTIONSWEISE] - 1](/content/2019/10/4120/images/201617d97b22eb381e374175cc52a6dfe14f4b5d38595192ea923ff9fc0ca014.jpg)
[EINSTELLEN DES DIFFERENTIALVORSCHUBS]
Der Differentialtransport wird einfach durch Drehen des Differentialeinstellknopfes in die gewünschte Richtung eingestellt. Der Differentialtransport kann auch während des Nähens eingestellt warden.
Wichtig:
Beim Nahlen ohne Differentialtransport solte der Differentialeinstellknopf auf „N“ gestellt werden.

Einstellknopf für
Differentialtransport(außen)
[GERAFFTE OVERLOCKNAHT]
Um prazise flache Kanten beim Nahlen von elastischen Strickwaren zu erhalten, muß der vordere Zahnstangensatz schneller vorschiben als der hintere, damit das Strickgut nicht gestreckt wird. Auch zum Glätten muß der vordere Transporteur schneller als der hintere arbeiten. Durch größere Stichänge (Einstellung siehe Seite 26) bleibt der Strickstoff möglich glatt. Stellen Sie den Differentialtransport auf “G” ein.
![AEG-ELECTROLUX 90S - [GERAFFTE OVERLOCKNAHT] - 1](/content/2019/10/4120/images/ea64fcda98db69082601e041e6fbfd38489875781393b289455b0b89ee91cb3b.jpg)
[GEDEHNTE OVERLOCKNAHT]
Um zu vermeiden, daß die Nähte bei sehr leichtem Stoff oder keinem Nylon Falten werfen, müssen die hinteren Transporteure Schneller als die vorderen arbeiten. Dadurch halten die vorderen Transporteure den Stoff straff, damit er sich nicht kräuselt.Stellen Sie den Differentialvorschub auf "S" ein.
![AEG-ELECTROLUX 90S - [GEDEHNTE OVERLOCKNAHT] - 1](/content/2019/10/4120/images/8edf630147ee0405cec12dba55999ab88721212dc2681b1aad6c917a99b08e33.jpg)
NAHSTÖRUNGEN UND IHRE BEHEBUNG
Bitte lessen Sie hier nach, ehe Sie den Service anrufen.
| Problem | Ursache | Behebung | Seite |
| Nadeln brechen | 1. Nadeln sind verbogen, stumpf oder an den Spitzen beschädigt2. Nadeln nicht richtig eingesetzt3. Sie haben zu heftig am Stoff gezogen | Setzen Sie neue Nadeln ein.Setzen Sie die Nadeln richtig in die Halterung ein.Führten Sie den Stoff behutsam mit beiden Händen. | 2020 |
| Faden reißt ab | 1. Garn ist nicht richtig eingefädelt2. Fadenspannung ist zu hoch3. Nadeln sind nicht richtig eingesetzt | Fädeln Sie das Garn richtig ein.Stellen Sie die Fadenspannung nach.Setzen Sie die Nadeln richtig in die Halterung ein. | 10 · 1113 · 1420 |
| Stiche werden ausgelassen | 1. Nadeln sind verbogen, stumpf oder an den Spitzen beschädigt2. Nadeln sind nicht richtig eingesädelt3. Garn ist nicht richtig eingelegt4. Falsche Nadeln eingelegt | Setzen Sie neue Nadeln ein.Setzen Sie die Nadeln richtig in die Halterung ein.Stellen Sie die Fadenspannung nach.Verwenden Sie die richtigigen Nadeln (HA x 1 oder 130/705H) | 202010 · 1120 |
| Stiche sind unregelmäßig | 1. Fadenspannung ist nicht korrekt2. Faden reißt | Stellen Sie die Fadenspannung nach.Prüfen sie den Verlauf der einzelnen Fäden. | 13 · 1410 · 11 |
| Nächte werfen Falten | 1. Fadenspannung ist zu hoch2. Garn ist nicht richtig eingefädelt3. Garn reißt4. Differentialtransport nicht eingestellt | Stellen sie die Fadenspannung nach.Fädeln Sie das Garn richtig ein.Prüfen Sie den Verlauf der einzelnen Fäden.Setzen Sie den Differentialtransport auf “S”. | 13 · 1410 · 1110 · 1127 |
| Stoff wird nicht sauber abgeschritten | 1. Oberes Messer ist stumpf oder falsch eingesetzt | Wechseln Sie das Messer aus oder setzen Sie es richtig ein. | 21 |
| Stoffkanten kräuseln sich | 1. Zuviel Stoff auf einen Stich | Ändern Sie die Nahtbreite. | 19 |
REINIGEN UND ÖLEN
Achtung: Ziehen Sie den Netzstecker aus der Steckdose bevor sie die Maschine reinigen oder ölen.
Damit ihre Maschine einwandfrei arbeitet, müssen Sie sie gelegentlich mit der Bürste aus der Zubehörbox reinigen.
These Maschine benöttigt nur sehr weniger Öl, da die Hauptkomponenten aus einem speziellen Material bestehen.
Ölen Sie nur gelegentlich an den bezeichneten Stellen.

TECHNISCHE DATEN
| Beschreibung | Einstellung |
| Anzahl der Fäden | 4 oder 3 |
| Anzahl der Nadeln | 2 oder 1 |
| Nähgeschwindigkeit | 1300 ± 200 UpM |
| Stichbreite | 6 mm bei 4 faden |
| 6 mm oder 4 mm bei drei faden | |
| Stichlänge | 1 – 5.0 mm |
| Nähfußhöhe | 4,0 mm |
| Nadeln | HA x 1 Nr. 11-14 oder |
| 130/705 Nr. 75-90 | |
| Abmessungen | 285 mm (B) x 285 mm (T) x 291 mm (H) |
| Gewicht | ca. 6 kg |
Garantie 36 Monate
Als Nachweis für die Garantie gilt der Kaufbeleg mit Kaufdatum.
Bitte bewahren Sie den Beleg dazu sorgfältig auf.
Bei Fragen oder Problemen wenden Sie sichitte an unsere
SERVICE HOTLINE TEL. +49 (0)6071 3902 - 926
A.S.M. Distribution ApS, Klokkestøbervej 4, 9490 Pandrup - Denmark
EinfachAnleitung