NGD4655EW - Tumble drier AMANA - Free user manual and instructions
Find the device manual for free NGD4655EW AMANA in PDF.
| Features | Details |
|---|---|
| Product type | Gas dryer |
| Capacity | 7.0 cubic feet |
| Dimensions | Width: 68.6 cm, Depth: 76.2 cm, Height: 101.6 cm |
| Weight | 45.4 kg |
| Energy consumption | Energy class B |
| Gas type | Natural gas or propane |
| Drying programs | Multiple drying options, including delicate and normal |
| Additional features | Moisture detection, anti-wrinkle cycle |
| Maintenance | Regular cleaning of the lint filter |
| Safety | Safety system to prevent overheating |
| Warranty | 1 year on parts and labor |
| Included accessories | User manual |
Frequently Asked Questions - NGD4655EW AMANA
User questions about NGD4655EW AMANA
0 question about this device. Answer the ones you know or ask your own.
Ask a new question about this device
Download the instructions for your Tumble drier in PDF format for free! Find your manual NGD4655EW - AMANA and take your electronic device back in hand. On this page are published all the documents necessary for the use of your device. NGD4655EW by AMANA.
USER MANUAL NGD4655EW AMANA
Dryer Maintenance and Care ....5
CleaningtheDryerLocation 5
CleaningtheDryerInterior 5
RemovingAccumulatedLint 5
CleaningtheLintScreen 5
ChangingtheDrumLight(onsomemodels) ......6
CheckYourVentSystemforGoodAirflow......6
MaintainGoodAirflow....6
Nonuse, Storage, and Moving Care ....7
SpecialInstructionsforSteamModels......7
Installation Instructions....7
Requirements......7
ToolsandParts 7
LocationRequirements....9
GasDryerPowerHookup-U.S.A.and
Canada 10
GasSupplyRequirements....10
Installation 11
InstallLevelingLegs 11
MakeGasConnection-U.S.A.and
Canada 12
VentingRequirements....13
PlanVentSystem 13
InstallVentSystem....15
ConnectInletHoses....15
ConnectVent 16
LevelDryer....16
CompleteInstallationChecklist....17
Table des matières
Exigencesconcernantl'évacuation ....30
Planificationdescircuitsdeconduits....31
Installationduconduitd'évacuation....32
Raccordementdestuyauxd'alimentation......32
Raccordementduconduitd'évacuation .....34
Your safety and the safety of others are very important.
We have provided many important safety messages in this manual and on your appliance. Always read and obey all safety messages.

This is the safety alert symbol.
This symbol alerts you to potential hazards that can kill or hurt you and others.
All safety messages will follow the safety alert symbol and either the word "DANGER" or "WARNING." These words mean:
DANGER
WARNING
You can be killed or seriously injured if you don't immediately follow instructions.
You can be killed or seriously injured if you don't follow instructions.
All safety messages will tell you what the potential hazard is, tell you how to reduce the chance of injury, and tell you what can happen if the instructions are not followed.
IMPORTANT SAFETY INSTRUCTIONS
WARNING: To reduce the risk of fire, electric shock, or injury to persons when using your appliance, follow basic precautions, including the following:
- Read all instructions before using the appliance.
■ Do not dry articles that have been previously cleaned in, washed in, soaked in, or spotted with gasoline, dry-cleaning solvents, or other flammable or explosive substances, as they give off vapors that could ignite or explode.
■ Do not allow children to play on or in the appliance. Close supervision of children is necessary when the appliance is used near children.
■ Before the appliance is removed from service or discarded, remove the door to the drying compartment.
■ Do not reach into the appliance if the drum is moving.
■ Do not install or store this appliance where it will be exposed to the weather.
■ Do not tamper with controls.
■ Do not repair or replace any part of the appliance or attempt any servicing unless specifically recommended in the user-maintenance instructions or in published user-repair instructions that you understand and have the skills to carry out.
■ Do not use fabric softeners or products to eliminate static unless recommended by the manufacturer of the fabric softener or product.
■ Do not use heat to dry articles containing foam rubber or similarly textured rubber-like materials.
■ Clean lint screen before or after each load.
- Keep area around the exhaust opening and adjacent surrounding areas free from the accumulation of lint, dust and dirt.
■ The interior of the appliance and exhaust duct should be cleaned periodically by qualified service personnel.
■ Do not place items exposed to cooking oils in your dryer. Items contaminated with cooking oils may contribute to a chemical reaction that could cause a load to catch fire. To reduce the risk of fire due to contaminated loads, the final part of a tumble dryer cycle occurs without heat (cool down period). Avoid stopping a tumble dryer before the end of the drying cycle unless all items are quickly removed and spread out so that the heat is dissipated.
■ Do not use replacement parts that have not been recommended by the manufacturer (e.g. parts made at home using a 3D printer).
■ See the Installation Instructions for grounding requirements and installation.
SAVE THESE INSTRUCTIONS

WARNING — “Risk of Fire”
- Clothes dryer installation must be performed by a qualified installer.
- Install the clothes dryer according to the manufacturer's instructions and local codes.
- Do not install a clothes dryer with flexible plastic venting materials or flexible metal (foil type) duct. If flexible metal duct is installed, it must be of a specific type identified the appliance manufacturer as suitable for use with clothes dryers. Flexible venting materials are known to collapse, be easily crushed, and trap lint. These conditions v obstruct clothes dryer airflow and increase the risk of fire.
- To reduce the risk of severe injury or death, follow all installation instructions.
- Save these instructions.
WARNING
FIRE HAZARD
Failure to follow safety warnings exactly could result in serious injury, death, or proper damage.
Do not install a booster fan in the exhaust duct.
Install all clothes dryers in accordance with the installation instructions of the manufacture of the dryer.
WARNING:
FIRE OR EXPLOSION HAZARD
Failure to follow safety warnings exactly could result in serious injury, death, or proper damage.
- Do not store or use gasoline or other flammable vapors and liquids in the vicinity of or any other appliance.
-
WHAT TO DO IF YOU SMELL GAS:
-
Do not try to light any appliance.
- Do not touch any electrical switch; do not use any phone in your building.
- Clear the room, building, or area of all occupants.
- Immediately call your gas supplier from a neighbor's phone. Follow the gas supplier' instructions.
- If you cannot reach your gas supplier, call the fire department.
- Installation and service must be performed by a qualified installer, service agency, or gas supplier.
WARNING: Gas leaks cannot always be detected by smell.
Gas suppliers recommend that you use a gas detector approved by UL or CSA.
For more information, contact your gas supplier.
If a gas leak is detected, follow the "What to do if you smell gas" instructions.
IMPORTANT: The gas installation must conform with local codes, or in the absence of local codes, with the National Fuel Gas Code, ANSI Z223.1/NFPA 54, or the National Gas and Propane Installation Code, CSA B149.1.
The dryer must be electrically grounded in accordance with local codes, or in the absence of local codes, with the National Electrical Code, ANSI/NFPA 70, or the Canadian Electrical Code, Part 1, CSA C22.1.
In the State of Massachusetts, the following installation instructions apply:
■ Installation and repairs must be performed by a qualified or licensed contractor, plumber, or gas fitter qualified or licensed by the State of Massachusetts.
■ Acceptable Shut-off Devices: Gas Cocks and Ball Valves installed for use shall be listed.
■ A flexible gas connector, when used, must not exceed 4 feet (121.9 cm).
IMPORTANT SAFETY INSTRUCTIONS
WHEN DISCARDING OR STORING YOUR OLD CLOTHES DRYER, REMOVE THE DOOR.
SAVE THESE INSTRUCTIONS
DRYER MAINTENANCE AND CARE
Cleaning the Dryer Location
WARNING

Explosion Hazard
Keep flammable materials and vapors, such as gasoline, away from dryer.
Do not dry anything that has ever had anything flammable on it (even after washing).
Place dryer at least 18 inches (460 mm) above the for a garage installation.
Failure to do so can result in death, explosion, or
floor
Keep dryer area clear and free from items that would block the airflow for proper dryer operation. This includes clearing piles of laundry in front of the dryer.
Cleaning the Dryer Interior
To clean dryer drum:
- Use a mild hand dish detergent mixed at a low concentration with nonflammable cleaner or very warm water, and rub with soft cloth.
■ Rinse well with a wet sponge or towel.
■ Tumble a load of clean clothes or towels to dry drum.
- Use a microfiber cloth and hot water in a spray bottle to clear the drum and a second microfiber towel to dry.
NOTE: Garments that contain unstable dyes, such as denim blue dry. The screen is probably clogged if lint falls off while the screen jeans or brightly colored cotton items, may discolor the rear of the in the dryer. Clean the lint screen with a nylon brush every 6 dryer interior. These stains are not harmful to your dryer and will months, or more frequently, if it becomes clogged due to a residue not stain future loads of clothes. Dry unstable dye items inside out buildup.
to avoid transfer of dye.
Removing Accumulated Lint
From inside the dryer cabinet:
Lint should be removed every 2 years, or more often, depending on dryer usage. Cleaning should be done by a qualified appliance service or ventilation system cleaner.
From the exhaust vent:
Lint should be removed every 2 years, or more often, depending on dryer usage.
Cleaning the Lint Screen
Every load cleaning:
The lint screen may be located either in the door opening or the top of the dryer depending on model. A screen blocked by lint can increase drying time.
To clean:
- Remove the lint screen. If necessary, press the tab to release and open the lint screen. Roll lint off the screen with your fingers. Do not rinse or wash screen to remove lint. Wet lint is hard to remove.

- Push the lint screen firmly back into place.
IMPORTANT:
■ Do not run the dryer with the lint screen loose, damaged, blocked, or missing. Doing so can cause overheating and damage to both the dryer and fabrics.
If lint falls off the screen into the dryer during removal, check the exhaust hood and remove the lint. See "Venting Requirements" in the Installation Instructions.
■ Clean space where lint screen is located, as needed. Using a vacuum, gently remove any lint that has accumulated outside of the lint screen.
As-needed cleaning:
Laundry detergent and fabric softener residue can build up on the tint screen. This buildup can cause longer drying times for your clothes, or cause the dryer to stop before your load is completely
dry. The screen is probably clogged if lint falls off while the screen is in the dryer. Clean the lint screen with a nylon brush every 6 months, or more frequently, if it becomes clogged due to a residue buildup.
To wash:
- Roll lint off the screen with your fingers.
-
Wet both sides of lint screen with hot water.
-
Wet a nylon brush with hot water and liquid detergent. Scrub lint screen with the brush to remove residue buildup.

- Rinse screen with hot water.
- Thoroughly dry lint screen with a clean towel. Reinstall screen in dryer.
Changing the Drum Light (on some Maintain Good Airflow models) ■ Cleaning your lint screen before each
- Unplug dryer or disconnect power.
- Open the dryer door. Locate the light bulb cover on the back wall of the dryer. Using a Phillips-head screwdriver or 1/4" (6.35 mm) nut driver or socket wrench, remove the screw located in the lower right-hand corner of the cover. Remove the cover.

natural_image
Hand using a power tool to switch an electrical outlet (no text or symbols visible)
natural_image
Hand holding a wrench to switch an electrical outlet (no text or symbols visible)- Turn bulb counterclockwise. Replace the bulb with a 10 W appliance bulb only. Replace the cover and secure with the screw.
- Plug in dryer or reconnect power.
Accessories and replacement parts are available for your model. For ordering and contact information, please reference your Quick Start Guide.
Check Your Vent System for Good Airflow
WARNING

Fire Hazard
Use a heavy metal vent.
Do not use a plastic vent.
Do not use a metal foil vent.
Failure to follow these instructions can result in death or fire.
Good Airflow
Along with heat, dryers require good airflow to efficiently dry laundry. Proper venting will reduce your drying times and improve your energy savings. See Installation Instructions.
The venting system attached to the dryer plays a big role in good airflow. Blocked or crushed vents as well as improper venting installation will reduce air flow and dryer performance.
Service calls caused by improper venting are not covered by the warranty and will be paid by the customer, regardless of who installed the dryer. To clean or repair venting, contact a venting specialist.
Maintain Good Airflow
■ Cleaning your lint screen before each load.
■ Replace plastic or foil vent material with 4" (102 mm) diameter heavy, rigid vent material.
■ Use the shortest length of vent possible.
■ Use no more than four 90° elbows in a vent system; each bend and curve reduces airflow.

text_image
Good Better■ Remove lint and debris from the exhaust hood.
■ Remove lint from the entire length of the vent system at least every 2 years. When cleaning is complete, be sure to follow the Installation Instructions for final product check.
■ Clear away items from the front of the dryer.
Nonuse, Storage, and Moving Care To use the dryer again:
Install and store your dryer where it will not freeze. Because some water may stay in the hose, freezing can damage your dryer. If storing or moving your dryer during freezing weather, winterize it.
Nonuse or Storage Care
If you will be on vacation or not using your dryer for an extended period of time, you should:
- Unplug dryer or disconnect power.
- Clean lint screen. See "Cleaning the Lint Screen."
- Close shutoff valve in gas supply line.
- Turn off the water supply to the dryer. This helps to avoid unintended flooding (due to a water pressure surge) while you are away.
Moving Care
- Unplug the power supply cord.
- Gas models only: Close shutoff valve in gas supply line.
- Gas models only: Disconnect gas supply line pipe and remove fittings attached to dryer pipe.
- Gas models only: Cap the open gas supply line.
- Steam models only: Shut off water faucet. Disconnect the water inlet hose from faucet; then drain the hose. Transport hose separately.
- Make sure leveling legs are secure in dryer base.
- Use tape to secure dryer door.
- On models with base trim, remove base trim before moving dryer. See "Install and remove base trim (on some models)" for details.
Special Instructions for Steam Models
Water Inlet Hose
Replace inlet hose and hose screen after 5 years of use to reduce the risk of hose failure. Periodically inspect and replace inlet hose if bulges, kinks, cuts, wear, or leaks are found.
When replacing your inlet hose, record the date of replacement.
To winterize the dryer:
- Unplug dryer or disconnect power.
- Shut off water faucet.
- Disconnect water inlet hose from faucet and drain.
WARNING

Electrical Shock Hazard
Plug into a grounded 3 prong outlet.
Do not remove ground prong.
Do not use an adapter.
Do not use an extension cord.
Failure to follow these instructions can result in death, fire, or electrical shock.
- Flush water pipes. Reconnect water inlet hose to faucet. Turn on water faucet.
- Plug in dryer or reconnect power as described in the Installation Instructions.
Reinstalling the Dryer
Follow the Installation Instructions to locate, level, and connect the dryer.
INSTALLATION INSTRUCTIONS REQUIREMENTS
Tools and Parts
NOTE: Install the clothes dryer according to the manufacturer's instructions and local codes.
Gather required tools and parts before starting installation. Read and follow the instructions provided with any tools listed here.
Tools Needed for All Installations:

natural_image
Simple line drawing of a screwdriver (no text or symbols)Flat-blade screwdriver

natural_image
Simple line drawing of a screwdriver with a magnified inset showing a finger pointing to the handle (no text or symbols)2 Phillips screwdriver

natural_image
Simple line drawing of a screwdriver with a handle and shaft (no text or symbols)1/4" and 5 /16" nut driver

natural_image
Simple diagram with three circular symbols inside a rectangular box (no text or labels)Level

natural_image
Line drawing of a pair of pliers (no text or symbols)Pliers or slip-joint pliers

natural_image
Simple line drawing of a measuring tape (no text or symbols)Tape measure

natural_image
Simple line drawing of a flat tool with a handle and central slot (no text or symbols)Utility knife

natural_image
Line drawing of a pair of pliers (no text or symbols)Tin snips (new vent installations)

natural_image
Two line drawings of mechanical tools or components, one cylindrical and one sawer tool (no text or symbols)Caulking gun and compound (new vent installations)

natural_image
Line drawing of an adjustable wrench (no text or symbols)Adjustable wrench that opens to 1" (25 mm) or hex-head socket wrench

natural_image
Two interlocked metal rings with black connectors (no text or symbols)Vent clamps

natural_image
Simple line drawing of a tool or grip (no text or symbols)Putty knife

natural_image
Line drawing of a adjustable wrench (no text or symbols)8" (203 mm) or 10" (254 mm) pipe wrench

natural_image
Line drawing of a pair of wire crimping tools (no text or symbols)Wire stripper (direct-wire installations)

natural_image
Simple line drawing of a jar with a lid and spout (no text or symbols)Pipe-joint compound resistant to propane gas
Parts Supplied (all models):

natural_image
Illustration of two types of threaded fasteners with no text or symbolsLeveling legs (4) (Length and appearance of legs may vary according to model)
Parts package is located in dryer drum. Check that all parts are included.
NOTE: Do not use leveling legs supplied with dryer if installing with a pedestal or a stack kit.
Parts Needed (steam models):

natural_image
Simple line drawing of a T-shaped pipe fitting with two flanged ends (no text or symbols)"Y" connector

natural_image
Simple black curved line with two flanged ends, no text or symbols present2' (0.6 m) inlet hose

natural_image
Simple line drawing of a ring-shaped object (no text or symbols)Rubber washer

natural_image
Coiled black cable or hose with two connectors, no text or symbols visible5' (1.52 m) inlet hose
Parts Needed (not supplied with dryer):
Additional parts may be required, depending on your installation. Check local codes. Check existing electrical supply and venting. See "Electrical Requirements" and "Venting Requirements" before purchasing parts.
Mobile home installations require metal exhaust system hardware available for purchase from the dealer from whom you purchased your dryer. For further information, please refer to the Quick Start Guide for service contact information.
Available Accessories:
Refer to your Quick Start Guide for contact and ordering information.
Location Requirements
WARNING

Explosion Hazard
Keep flammable materials and vapors, such as gasoline, away from dryer.
Do not dry anything that has ever had anything flammable on it (even after washing).
Place dryer at least 18 inches (460 mm) above the for a garage installation.
Failure to do so can result in death, explosion, or
floor
Check code requirements. Some codes limit, or do not permit, installation of the dryer in garages, closets, mobile homes, or sleeping quarters. Contact your local building inspector.
You will need:
■ A location allowing for proper exhaust installation. See "Venting Requirements."
■ A separate 15 A or 20 A circuit for gas dryers.
A grounded electrical outlet located within 2 ft. (610 mm) of either side of the dryer. See "Electrical Requirements" in the "Gas Dryer Power Hookup" section.
■ A sturdy floor to support dryer and a total weight (dryer and load) of 200 lbs. (90.7 kg). The combined weight of a companion appliance should also be considered.
■ Level floor with maximum slope of 1" (25 mm) under entire dryer. If slope is greater than 1" (25 mm), install Extended Dryer Feet Kit. If not level, clothes may not tumble properly and automatic sensor cycles may not operate correctly. Installing on carpet is not recommended.
■ For garage installation, place dryer at least 18" (460 mm) above floor. If using a pedestal, you will need 18" (460 mm) to bottom of dryer.
■ Steam models only: Cold water faucets located within 4 ft. (1.2 m) of the water fill valves, and water pressure of 20–100 psi (137.9–689.6 kPa). You may use your washer's water supply by utilizing the necessary parts noted in "Parts needed
■ The dryer must not be installed or stored in an area where it will be exposed to water and/or weather.
IMPORTANT: Do not operate your dryer at temperatures below 45°F (7°C). Lower temperatures may cause dryer not to shut off at end of automatic sensor cycles, resulting in longer drying time
Installation clearances:
For each arrangement, consider allowing more space for ease of installation and servicing, spacing for companion appliances, and clearances for walls, doors, and floor moldings. Space must be large enough to allow the door to fully open. Add spacing on all sides of dryer to reduce noise transfer. If a closet door or louver door is installed, top and bottom air openings in door are required NOTE: No other fuel-burning appliance can be installed in the same closet as a dryer.
Spacing for recessed area or closet

text_image
14" max. (356 mm) 19" (482 mm) 5" (126 mm) 1" (25 mm) 1" (25 mm) 3" (76 mm) 48 in.² (310 cm²) 24 in.² (155 cm²) 3" (76 mm)The dimensions shown are for the minimum spacing allowed.
■ Additional spacing should be considered for ease of installation and servicing.
■ Additional clearances might be required for wall, door, and floor moldings.
■ Additional spacing of 1" (25 mm) on all sides of the dryer is recommended to reduce noise transfer.
■ For closet installation with a door, minimum ventilation openings in the top and bottom of the door are required. Louvered doors with equivalent ventilation openings are acceptable.
■ Companion appliance spacing should also be considered.
Minimum installation clearances (dryer only):
| Front Sides Rear Top | ||||
| Recessed NA | 0" (0 mm) | 0" (0 mm) | 0" (0 mm) | |
| Closet NA 0" | (0 mm) | 0" (0 mm) | 0" (0 mm) | |
| Under Counter | NA 1" (25 mm) | 0" (0 mm) | 0" (0 mm) | |
"0" (0 mm) rear spacing is allowed for straight-back venting only.
For steam models only, inlet hose must not be kinked.
Mobile Home – Additional installation requirements
This dryer is suitable for mobile home installations. The installation must conform to the Manufactured Home Construction and Safety Standard, Title 24 CFR, Part 3280 (formerly the Federal Standard for Mobile Home Construction and Safety, Title 24, HUD Part 280) or the Standard for Mobile Homes, CAN/CSA-Z240 MH.
Mobile home installations require:
d. Metal exhaust system hardware, which is available for purchase from your dealer.
■ Mobile Home Installation Hold-Down Kit. See your Quick Start Guide for more information.
■ Special provisions must be made in mobile homes to introduce outside air into the dryer. The opening (such as a nearby window) should be at least twice as large as the dryer exhaust opening.
Gas Dryer Power Hookup – U.S.A. Gas Supply Requirements and Canada
Electrical Requirements
WARNING

Electrical Shock Hazard
Plug into a grounded 3 prong outlet.
Do not remove ground prong.
Do not use an adapter.
Do not use an extension cord.
Failure to follow these instructions can result in death, fire, or electrical shock.
120 V, 60 Hz, AC-only, 15 A or 20 A fused electrical supply is required. A time-delay fuse or circuit breaker is recommended. It is also recommended that a separate circuit serving only this dry be provided. Do not use an extension cord.
GROUNDING INSTRUCTIONS
For a grounded, cord-connected appliance:
This appliance must be grounded. In the event of a malfunction or breakdown, grounding will reduce the risk of electric shock by providing a path of least resistance for electric current. This appliance is equipped with a cord having an equipment-grounding conductor and a grounding plug. The plug must be plugged into an appropriate outlet that is properly installed and grounded in accordance with all local codes and ordinances.
WARNING: Improper connection of the equipment-grounding conductor can result in a risk of electric shock. Check with a qualified electrician or serviceman if you are in doubt as to whether the appliance is properly grounded. Do not modify the plug provided with the appliance: if it will not the outlet, have a proper outlet installed by a qualified electrician.
SAVE THESE INSTRUCTIONS
WARNING

Explosion Hazard
Use a new CSA International approved gas supply line.
Install a shut-off valve.
Securely tighten all gas connections.
If connected to propane, have a qualified person make sure gas pressure does not exceed 13" (33 cm) water column.
Examples of a qualified person include: licensed heating personnel, authorized gas company personnel, and authorized service personnel.
Failure to do so can result in death, explosion, or fire.
Gas Type
Natural Gas:
This dryer is equipped for use with natural gas. It is certified by UL for use with propane gas with appropriate conversion.
- Your dryer must have the correct burner for the type of gas in your home. Burner information is located on the rating plate in the door well of your dryer. If this information does not agree with the type of gas available, contact your dealer or reference the contact information listed on your Quick Start Guide.
Propane Gas Conversion:
IMPORTANT: Conversion must be made by a qualified technician.
No attempt shall be made to convert the appliance from the gas specified on the model/serial rating plate for use with a different gas without consulting your gas company.
Gas Supply Line
Option 1 (Recommended Method)
Flexible stainless steel gas connector:
If local codes permit, use a new flexible stainless steel gas connector (Design-Certified by the American Gas Association or CSA International) to connect your dryer to the rigid gas supply line. Use an elbow and a 3/8" flare x 3/8" NPT adapter fitting between the stainless steel gas connector and the dryer gas pipe, as needed, to prevent kinking.
Option 2 (Alternate Method)
Approved aluminum or copper tubing:
■ Must include 1/8" NPT minimum plugged tapping accessible for test gauge connection, immediately upstream of the gas connection to the dryer.
■ 1/2" IPS pipe is recommended.
■ 3/8" approved aluminum or copper tubing is acceptable for lengths under 20 ft. (6.1 m) if local codes and gas supplier permit.
■ If you are using natural gas, do not use copper tubing.
■ Lengths over 20 ft. (6.1 m) should use larger tubing and a different size adapter fitting.
INSTALLATION
Install Leveling Legs
If your dryer has been converted to use propane gas, 3/8" propane-compatible copper tubing can be used. If the total length of the supply line is more than 20 ft. (6.1 m), use large pipe.
NOTE: Pipe-joint compounds that resist the action of propane gas must be used. Do not use PTFE plumber's tape.
■ Must include shutoff valve.
In the U.S.A.:
An individual manual shutoff valve must be installed within six (6) ft. (1.8 m) of the dryer in accordance with the National Fuel Gas Code, ANSI Z223.1. The location should be easy to reach fo opening and closing.
In Canada:
An individual manual shutoff valve must be installed in accordance with the B149.1, Natural Gas and Propane Installation Code. It is recommended that an individual manual shutoff valve be installed within six (6) ft. (1.8 m) of the dryer. The location should be easy to reach for opening and closing.

text_image
Technical diagram of a mechanical assembly with labeled components A, B, C, D, and EA. 3/8" flexible gas connector
B. 3/8" pipe-to-flare adapter fitting
C. 1/8" NPT minimum plugged tapping
D. 1/2" NPT gas supply line
E. Gas shutoff valve
Gas Supply Connection Requirements
■ Use an elbow and a 3/8" flare x 3/8" NPT adapter fitting between the flexible gas connector and the dryer gas pipe, as needed to avoid kinking.
■ Use only pipe-joint compound. Do not use PTFE plumber's tape.
■ This dryer must be connected to the gas supply line with a listed flexible gas connector that complies with the standard for connectors for gas appliances, ANSI Z21.24 or CSA 6.10.
Burner Input Requirements
Elevations above 2,000 ft. (610 m)
■ When installed above 2,000 ft. (610 m), a 4% reduction of the burner Btu rating shown on the model/serial number plate is required for each 1,000 ft. (305 m) increase in elevation.
Gas supply pressure testing
■ The dryer must be disconnected from the gas supply piping system during pressure testing at pressures greater than 1/2 psi (3.45 kPa).
Dryer gas pipe
■ The gas pipe that comes out through the rear of your dryer has a 3/8" male pipe thread.
WARNING
Excessive Weight Hazard
Use two or more people to move and install or uninstall appliance.
Failure to do so can result in back or other injury
1. Prepare dryer for leveling legs

natural_image
Technical line drawing of a device casing with mounting holes and alignment lines (no text or symbols)To avoid damaging floor, use a large flat piece of cardboard from dryer carton; place under entire back edge of dryer. Firmly grasp dryer body (not console panel) and gently lay dryer down on cardboard.
2. Screw in leveling legs

Leveling leg with diamond marking

Leveling leg without diamond marking
Using a wrench and tape measure, screw leveling leg into leg holes until bottom of foot is approximately 1/2" (13 mm) to 1 1/2" (38 mm) from bottom of the dryer.
For leveling legs with the diamond marking: Screw legs into leg holes by hand. Use a wrench to finish turning legs until diamond marking is no longer visible.
Place a carton corner post from dryer packaging under each of the two dryer back corners. Stand the dryer up. Slide the dryer on the corner posts until it is close to its final location. Leave enough room to connect the exhaust vent.
For mobile home use:
Gas dryers must be securely fastened to the floor.
Mobile home installations require a Mobile Home Installation Hold-Down Kit. For ordering information, please reference the Quick Start Guide.

Make Gas Connection – U.S.A. and Canada
WARNING

Explosion Hazard
Use a new CSA International approved gas supply line.
Install a shut-off valve.
Securely tighten all gas connections.
If connected to propane, have a qualified person make sure gas pressure does not exceed 13" (33 cm) water column.
Examples of a qualified person include: licensed heating personnel, authorized gas company personnel, and authorized service personnel.
Failure to do so can result in death, explosion, or fire.
2. Plan pipe fitting connection

text_image
Technical diagram showing a mechanical assembly with labeled parts A, B, C, D and a circular inset detail of a pipe fitting.A. 3/8" (9.5 mm) flexible gas connector
C. 3/8" to 3/8" pipe elbow D. 3/8" pipe-to-flare adapter fitting
B. 3/8" (9.5 mm) dryer pipe
A combination of pipe fittings must be used to connect dryer to existing gas line. Recommended connection is shown. Your connection may be different, according to supply line type, size, and location.
3. Open shutoff valve

natural_image
Two identical mechanical components labeled A and B connected to parallel lines (no text or symbols beyond labels)A. Closed valve B. Open valve
Open shutoff valve in supply line; valve is open when handle is parallel to gas pipe. Then, test all connections by brushing on an approved noncorrosive leak-detection solution. Bubbles will show a leak. Correct any leaks found.
1. Connect gas supply to dryer

text_image
Flared male fitting Non-flared male fittingRemove red cap from gas pipe. Using a wrench to tighten, connect gas supply to dryer. Use pipe-joint compound on threads of all non-flared male fittings. If flexible metal tubing is used, be sure there are no kinks.
NOTE: For propane gas connections, you must use pipe-joint compound resistant to action of propane gas. Do not use PTFE plumber's tape.
Venting Requirements
WARNING

Fire Hazard
Use a heavy metal vent.
Do not use a plastic vent.
Do not use a metal foil vent.
Failure to follow these instructions can result in death or fire.
WARNING: To reduce the risk of fire, this dryer MUST BE EXHAUSTED OUTDOORS.
IMPORTANT: Observe all governing codes and ordinances. Dryer exhaust must not be connected into any gas vent, chimney, wall, ceiling, attic, crawlspace, or a concealed space of a building. Only rigid or flexible metal vent shall be used for exhausting.

text_image
4" (102 mm)■ Only a 4" (102 mm) heavy metal exhaust vent and clamps may be used.
■ Do not use plastic or metal foil vent.
Rigid metal vent:
■ Recommended for best drying performance and to avoid crushing and kinking.
Flexible metal vent (acceptable only if accessible to clean):
■ Must be fully extended and supported in final dryer location.
■ Remove excess to avoid sagging and kinking that may result in reduced airflow and poor performance.
■ Do not install in enclosed walls, ceilings, or floors.
■ The total length should not exceed 7 3/4 ft. (2.4 m).
■ The length of flexible metal vent used must be included in the overall vent system design as shown in the "Vent System Chart."
NOTE: If using an existing vent system, clean lint from entire length of the system and make sure exhaust hood is not plugged with lint. Replace plastic or metal foil vents with rigid metal or flexible metal vents. Review "Vent System Chart" and, if necessary, modify existing vent system to achieve best drying performance.
Exhaust hoods:
■ An exhaust hood should cap the vent to keep rodents and insects from entering the home.
■ Must be at least 12" (305 mm) from ground or any object that may obstruct exhaust (such as flowers, rocks, bushes, or snow).
■ Do not use an exhaust hood with a magnetic latch.
Recommended Styles: Acceptable Style:

Louvered Hood

Box Hood

Angled Hood
Elbows:
■ 45° elbows provide better airflow than 90° elbows.

text_image
Good BetterClamps:
■ Use clamps to seal all joints.
Exhaust vent must not be connected or secured with screws or other fastening devices that extend into interior of duct and catch lint. Do not use duct tape.


Vent products can be purchased from your dealer. For contact and ordering information, refer to your Quick Start Guide.
Plan Vent System
Recommended exhaust installations:
Typical installations vent the dryer from the rear of the dryer. Other installations are possible.

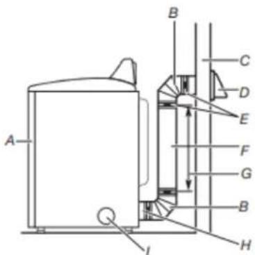
text_image
A B C D E F G B H IA. Dryer
B. Elbow
C. Wall
D. Exhaust hood
E. Clamps
F. Rigid metal or flexible metal vent
G. Vent length necessary to connect elbows
H. Exhaust outlet
1. Optional side exhaust outlet
Optional exhaust installations:
WARNING

Fire Hazard
Cover unused exhaust holes with a manufacturer's exhaust cover kit.
Contact your local dealer.
Failure to follow these instructions can result in death, fire, electrical shock, or serious injury.
Some models can be converted to exhaust out the right side, left side, or through the bottom. If you prefer, you may contact your local dealer to have the dryer converted.

A

B

C
A. Standard rear offset exhaust installation
B. Left- or right-side exhaust installation (available only on select 27"-wide models).
C. Bottom exhaust installation (available only on select 27"-wide models).
Special provisions for mobile home installations:
Exhaust vent must be securely fastened to a noncombustible portion of the mobile home and must not terminate beneath the mobile home. Terminate exhaust vent outside.

natural_image
Pure technical line drawing of a door or cabinet assembly without any text, numbers, or symbolsDetermine vent path:
■ Select route that will provide straightest and most direct path outdoors.
■ Plan installation to use fewest number of elbows and turns.
■ When using elbows or making turns, allow as much room as possible.
■ Bend vent gradually to avoid kinking.
■ Use as few 90° turns as possible.
Determine vent length and elbows needed for best drying performance:
■ Use the following "Vent System Chart" to determine the type of vent material and hood combinations acceptable to use.
NOTE: Do not use vent that runs longer than those specified in the "Vent System Chart." Exhaust systems longer than those specified will:
■ Shorten life of dryer.
■ Reduce performance, resulting in longer drying times and increased energy usage.
The "Vent System Charts" provide venting requirements that will help achieve best drying performance.
| Vent System Chart | ||
| Number of 90° elbows | Type of vent Box/louvered or Angled hoods | |
| 0 Rigid metal 64 ft. (20 m) | ||
| 1 Rigid metal 54 ft. (16.5 m) | ||
| 2 Rigid metal 44 ft. (13.4 m) | ||
| 3 Rigid metal 35 ft. (10.7 m) | ||
| 4 Rigid metal 27 ft. (8.2 m) | ||
NOTE: Side and bottom exhaust installations have a 90° turn inside the dryer. To determine maximum exhaust length, add one 90° turn to the chart.
| Vent System Chart (Long Vent Models) | ||
| Number of 90° elbows | Type of vent Box | x/louvered or angled hoods |
| 0 Rigid metal 160 ft. | (48.8 m) | |
| 1 Rigid metal 150 ft. | (45.7 m) | |
| 2 Rigid metal 140 ft. | (42.7 m) | |
| 3 Rigid metal 130 ft. | (39.6 m) | |
| 4 Rigid metal 120 ft. | (36.6 m) | |
| 5 Rigid metal 110 ft. | (33.5 m) | |
To determine if your model has a long vent system, refer to the type code located on the serial number plate in the inner door well. Example: A Long Vent Model would be BJAV-NAT-XXXXXXX-XXX or BWFB-NAT-XXXXXXX-XXX.
NOTE: For long vent systems, use of box/louvered hoods will improve venting regardless of length.
Install Vent System
1. Install exhaust hood

text_image
12" min. (305 mm) 12" min. (305 mm)Install exhaust hood and use caulking compound to seal exterior wall opening around exhaust hood.
2. Connect vent to exhaust hood

natural_image
Technical line drawing of a curved structural component with a vertical support and hatched fill (no text or symbols)Vent must fit over the exhaust hood. Secure vent to exhaust hood with 4" (102 mm) clamp. Run vent to dryer location using straightest path possible. Avoid 90° turns. Use clamps to seal all joints. Do not use duct tape, screws, or other fastening devices that extend into interior of vent to secure vent, because they can catch lint.
Connect Inlet Hoses
For vented, non-steam models, skip to "Connect Vent."
The dryer must be connected to the cold water faucet using the new inlet hoses. Do not use old hoses.
NOTE: Replace inlet hoses after 5 years of use to reduce the risk of hose failure. Record hose installation or replacement dates on the hoses for future reference.
Periodically inspect and replace hoses if bulges, kinks, cuts, wear, or leaks are found.
1. Turn cold water off, remove and replace rubber washer

natural_image
Diagram showing pipe fittings and valve connections (no text or symbols)Turn cold water faucet off and remove washer inlet hose. Remove old rubber washer from inlet hose and replace with new rubber washer.
2. Attach short hose and "Y" connector

natural_image
Diagram of a pipe connection with fittings and valves (no text or labels)Attach 2 ft. (0.6 m) inlet hose to cold water faucet. Screw on coupling by hand until it is seated on faucet. Then attach "Y" connector to male end of the 2 ft. (0.6 m) inlet hose. Screw on coupling by hand until it is seated on connector.
3. Tighten couplings

natural_image
Mechanical assembly diagram showing a hand operating a valve with hoses and a directional arrow (no text or symbols)Using pliers, tighten the couplings with additional two-thirds turn.
NOTE: Do not overtighten. Damage to the coupling can result.
4. Attach long hose to "Y" connector and tighten couplings

natural_image
Diagram showing two mechanical pipe installation steps with a hand adjusting a valve (no text or symbols present)Attach one of the 5 ft. (1.5 m) inlet hose ends to the "Y" connector. Attach washer cold inlet hose to other side of "Y" connector. Screw on coupling by hand until it is seated on connector. Using pliers, tighten the couplings an additional two-thirds turn.
NOTE: Do not overtighten. Damage to the coupling can result.
- Attach long hose to dryer fill valve and tighten coupling Connect Vent
- Connect vent to

natural_image
Technical line drawing of a mechanical assembly with two views: one showing a close-up of a cable being inserted, the other showing a hand holding a clamp or clip (no text or symbols present)If applicable, remove protective cap from water inlet valve. Attach other end of long hose to fill valve on dryer back panel. Screw on coupling by hand until it is seated on fill valve connector. Using pliers, tighten the couplings an additional two-thirds turn.
NOTE: Do not overtighten. Damage to the coupling can result.
- Turn on cold water faucet

natural_image
Pure diagram of a pipe connection with valves and fittings, no text or symbols presentCheck that the water faucet is turned on.
- Check for leaks

natural_image
Three-step diagram showing pipe fittings and water droplets in a container (no text or symbols)Check for leaks around "Y" connector, faucets, and hoses.
- Connect vent to exhaust outlet

natural_image
Diagram of a car air duct system with hoses and ventilation ducts (no text or labels)Using a 4" (102 mm) clamp, connect the vent to exhaust outlet in the dryer. If connecting to existing vent, make sure vent is clean. Dryer vent must fit over dryer exhaust outlet and inside exhaust hood. Check that vent is secured to exhaust hood with a 4" (102 mm) clamp.
- Move dryer to final location

natural_image
Line drawing of a front-loading washing machine with a circular vent and side buttons (no text or symbols)Move dryer to final location. Avoid crushing or kinking vent. After dryer is in place, remove corner posts and cardboard from under dryer.
Level Dryer
- Level Dryer

text_image
Place level here Place level hereCheck levelness of dryer from side to side. Repeat from front to back.
NOTE: The dryer must be level for the moisture-sensing system to operate correctly.

Not Level

LEVEL

Not Level
2. Tighten and adjust leveling legs

natural_image
Line drawing of a hand holding a wrench near a pipe (no text or symbols)If dryer is not level, prop up using a wood block. Use wrench to adjust legs up or down, and check again for levelness.
Once dryer is level, make sure all four legs are snug against the floor and the dryer does not rock.
Gas Models:
☐ Plug into a grounded 3 prong outlet.
☐ Check that gas supply is on.
□ Check for leaks.
☐ Check that the flexible gas line is not crushed or kinked.
Steam Models Only:
☐ Be sure the water faucets are on.
☐ Check for leaks around "Y" connector, faucet, and hoses.
☐ If you live in a hard water area, use of a water softener is recommended to control the buildup of scale through the water system in the dryer. Over time, the buildup of lime scale may clog different parts of the water system, which will reduce product performance. Excessive scale buildup may lead to the need for certain part replacement or repair.
3. Install and remove base trim (on some models) Models:

text_image
Locating Pins Locking FeaturesTo Install: Place the skirt to bottom of dryer and match the locating pins with the holes. Press the skirt firmly upwards until it snaps into place.
To Remove: On each corner, push down on top of base trim. Rotate away from dryer and remove.
Complete Installation Checklist
☐ Check that all parts are now installed. If there is an extra part, go back through steps to see what was skipped.
☐ Check that you have all of your tools.
☐ Dispose of/recycle all packaging materials.
☐ Check dryer's final location. Be sure vent is not crushed or kinked.
☐ Check that dryer is level. See "Level Dryer."
☐ Remove film on console and any tape remaining on dryer.
☐ Wipe dryer drum interior thoroughly with a damp cloth to remove any dust.
☐ Refer to the user instructions in your Quick Start Guide.
☐ Set the heat cycle for 20 minutes and start dryer. Do not select Air Only temperature setting.
If dryer will not start, check the following:
■ Controls are set in a running or "ON" position.
■ Start button has been pressed firmly.
■ Dryer is plugged into an outlet and/or electrical supply is connected.
■ Household fuse is intact and tight, or circuit breaker has not tripped.
■ Dryer door is closed.
☐ When the dryer has been running for 5 minutes, open the dryer door and feel for heat. If you feel heat, cancel cycle and close the door.
If you do not feel heat, turn the dryer off and check to see whether gas supply shutoff valve is open.
☐ If the gas supply shutoff valve is closed, open it and then repeat the 5-minute test as outlined above.
☐ If the gas supply line shutoff valve is open, contact a qualified technician.
■ To change the door swing from a right-side opening to a left-side opening, see online "Dryer Door Reversal Instructions" for details.
If your Airflow screen reads "Check Vent," your dryer vent may be crushed or blocked.
NOTE: You may notice an odor when dryer is first heated. This odor is common when heating element is first used. The odor will go away.
WARNING

Electrical Shock Hazard
Plug into a grounded 3 prong outlet.
Do not remove ground prong.
Do not use an adapter.
Do not use an extension cord.
Failure to follow these instructions can result in death, fire, or electrical shock.
SÉCURITÉ DE LA SÉCHEUSE
natural_image
Four-step diagram showing hand positioning and cleaning steps in a container (no text or symbols)
natural_image
Four-step diagram showing hand positioning and cleaning process of a container (no text or symbols)
natural_image
Illustration of hands performing a manual task with a circular component being handled (no text or symbols present)natural_image
Illustration of a hand using a tool to press down a surface, with no visible text or symbols.
natural_image
Illustration of a hand pressing down on a dark material sample using a tool (no text or symbols)
natural_image
Illustration of hands holding a mop net with a handle (no text or symbols)

natural_image
Hand using a tool to adjust or install an electrical socket (no text or symbols visible)
natural_image
Hand holding a wrench to switch a button into a socket (no text or symbols visible)natural_image
Simple line drawing of a screwdriver (no text or symbols)natural_image
Simple line drawing of a screwdriver with a magnified inset showing a finger pointing to the handle (no text or symbols)natural_image
Simple line drawing of a screwdriver with a handle and shaft (no text or symbols)natural_image
Simple diagram with three circular symbols inside a rectangular box (no text or labels)Niveau

natural_image
Line drawing of a pair of pliers (no text or symbols)natural_image
Simple line drawing of a measuring tape (no text or symbols)Ruban à mesurer

natural_image
Simple line drawing of a flat tool with a handle and central button (no text or symbols)Couteau tout usage

natural_image
Line drawing of a pair of pliers (no text or symbols)natural_image
Two line drawings of hairpins, one cylindrical and one manual (no text or symbols)natural_image
Line drawing of an adjustable wrench (no text or symbols)natural_image
Two interlocked circular hoses with black connectors (no text or symbols)Brides de conduit

natural_image
Simple line drawing of a tool or grip (no text or symbols)Couteau à mastic

natural_image
Line drawing of a adjustable wrench (no text or symbols)natural_image
Line drawing of a pair of wire crimping tools (no text or symbols)natural_image
Simple line drawing of a jar with a lid (no text or symbols)natural_image
Illustration of two types of threaded fasteners, one with hexagonal end caps and the other with coiled bolts (no text or symbols)natural_image
Simple line drawing of a T-shaped pipe fitting (no text or symbols)Connecteur en "Y"

EasyManual