S72 - Fireplace Jøtul - Free user manual and instructions
Find the device manual for free S72 Jøtul in PDF.
User questions about S72 Jøtul
0 question about this device. Answer the ones you know or ask your own.
Ask a new question about this device
Download the instructions for your Fireplace in PDF format for free! Find your manual S72 - Jøtul and take your electronic device back in hand. On this page are published all the documents necessary for the use of your device. S72 by Jøtul.
USER MANUAL S72 Jøtul
Eklstrautstyr - S 71 & S 72
X 1 stk (Art.nr 10047361)
(Bunnplate)

1stk
(Art.nr 51047337 NO/SE/Fl)
(Art.nr 51046304 DE)
(Gulvplate, stal, front)

1 stk
(Art.nr 50047339 NO/SE/Fl)
(Art.nr 50047517 DE)
(Gulvplate, glass, side)

Uteuftstikobling
(Art.nr 51012164)

Varmelagrende stein system
(Art.nr 10026701)

Eklstrautstyr - S 71 & S 72
X 1 stk (Art.nr 10047361)
(Bunnplate)

1stk
(Art.nr 51047337 NO/SE/FI)
(Art.nr 51046304 DE)
(Gulvplate, stal, front)

1 stk
(Art.nr 50047339 NO/SE/FI)
(Art.nr 50047517 DE)
(Gulvplate, glass, side)

Uteluftstilkobling
(Art.nr 51012164)

Varmelagrende stein system
(Art.nr 10026701)

Eklstrautstyr - S 71 & S 72
X 1 stk (Art.nr 10047361)
(Bunnplate)

1stk
(Art.nr 51047337 NO/SE/Fl)
(Art.nr 51046304 DE)
(Gulvplate, stal, front)

1stk
(Art.nr 50047339 NO/SE/Fl)
(Art.nr 50047517 DE)
(Gulvplate, glass, side)

Uteuftstilkobling
(Art.nr 51012164)

Varmelagrende stein system
(Art.nr 10026701)

5.0 After monitoring
Eklstrautstyr - S 71 & S 72
X 1 stk (Art.nr 10047361)
(Bunnplate)

1stk
(Art.nr 51047337 NO/SE/Fl)
(Art.nr 51046304 DE)
(Gulvplate, stal, front)

1stk
(Art.nr 50047339 NO/SE/Fl)
(Art.nr 50047517 DE)
(Gulvplate, glass, side)

Eklstrautstyr - S 71 & S 72
X 1 stk (Art.nr 10047361)
(Bunnplate)

1stk
(Art.nr 51047337 NO/SE/Fl)
(Art.nr 51046304 DE)
(Gulvplate, stal, front)

1stk
(Art.nr 50047339 NO/SE/Fl)
(Art.nr 50047517 DE)
(Gulvplate, glass, side)

Uteuftstilkobling
(Art.nr 51012164)

Varmelagrende stein system
(Art.nr 10026701)

Ref. cat. 51047337 (NO/SE)
Ref. cat. 51046304 (DE)
Eklstrautstyr - S 71 & S 72
X 1stk (Art.nr 10047361)
(Bunnplate)

1stk
(Art.nr 51047337 NO/SE/Fl)
(Art.nr 51046304 DE)
(Gulvplate, stal, front)

1stk
(Art.nr 50047339 NO/SE/Fl)
(Art.nr 50047517 DE)
(Gulvplate, glass, side)

Uteuftstilkobling
(Art.nr 51012164)

Varmelagrende stein system
(Art.nr 10026701)

1.0 Relationship to the Authorities 97
2.0 Technical Data 97
3.0 Safety 97
4.0 Installation 98
5.0 Installation Completed 108
6.0 Optional extras 108
7.0 Recycling 109
8.0 Warranty 109
1.0 Relationship to the Authorities
The surround is designed for use with the Jotul I 520 FR/FL
- Surrounds S71 and S71 are designed for insert Jotul I 520FR and insert Jotul I 520FL and are subject to the same setup conditions as applicable to the respective inserts. Before the fi replace can be used, it must be inspected by a qualified inspector. A qualified inspector may be a centrally-approved company or an approved local authority inspection agency. It is always advisable to seek information from your local planning and building offi ce and professional help before starting installation work.
The insert comes with installation and operating instructions. The product may not be used until it has been inspected and a certifi cate of completion has been issued. For day-to-day use, maintenance, service work, etc. see the Installation and Operating Instructions for Jotul I 520 (cat. no. 10044945).
2.0 Technical Data
See dimensions, Fig. 2
Weight, surround, approx.: 292 kg
Weight, insert: 110 kg
Height:
Width: 1,065 mm
Depth:
Minimum distance, hot-air vent
to ceiling:
1,700 mm
685mm
700~mm
Optional extras: Floor plates
Outside air connection
Bottom plate
Heat-storage stone system
Technical data for l520 are available in the insert's manual
3.0 Safety
NB: To guarantee optimal performance and safety, Jotul recommends that its stoves are fitted by a qualified installer (see www.jotul.com for a complete list of dealers).
Any modifications to the product by the distributor, installer or consumer may result in the product and safety features not functioning as intended. The same applies to the installation of accessories or optional extras not supplied by Jotul. This may also be the case if parts that are essential to the functioning and safety of the fi replace have been disassembled or removed.
In all these cases, the manufacturer is not responsible or liable for the product and the right to make a complaint becomes null and void.
ENGLISH
3.1 Fire Prevention Measures
There is a certain element of danger every time you use your fi replace. The following instructions must therefore be followed:
- The minimum safety distances when installing and using the fireplace are given in fig. 2 in the installation manuals for the products.
- Ensure that furniture and other combustible materials are not too close to the fi replace. Combustible materials must not be placed within 1,000mm of the fi replace opening.
- Allow the fire to burn out. Never extinguish the flames with water.
The fi replace becomes hot when lit and may cause burns if touched. - Only remove ash when the fi replace is cold. Ash can contain hot embers and should therefore be placed in a non-fi ammable container.
- Ash should be placed outdoors or be emptied in a place where it will not present a potential fire hazard
In the event of fire in the chimney.
- Close all doors and valves.
- Keep the firebox door closed.
- Check the loft and the basement for smoke.
Call the fire brigade. - Before a fireplace can be used after a fire or an attempted fire, the fireplace and the chimney must be inspected and found to be in order by competent personnel.
3.2 Floor
Foundation
You must make sure that the foundation is suitable for the fireplace. See "2.0 Technical Data" for specified weight. We recommend the removal of any flooring that is not attached to the foundation ("floating floors") beneath the installation.
Requirements for protection of wooden flooring beneath the fi replace
If you intend to place the product directly on a wooden floor, you must use a bottom plate (item no. 10047361, optional extra.
Requirements for protection of combustible fl oors in front of the fi replace
The front plate must comply with national laws and regulations. Contact your local building authorities regarding restrictions and installation requirements.
For Norway: Minimum 300mm in front of the door and width at least the same as the door.
3.3 Walls
Distance to walls made of combustible material - see fig. 2.
The fireplace may be used with a semi-insulated flue pipe provided the distances between the fi replace and walls made of combustible materials are as shown in Fig. 2.
NB: Ensure that furniture and other combustible materials are not too close to the fireplace. Combustible materials must not be placed within 1,000mm of the fi replace opening.
3.4 Ceiling
If the ceiling above the fi replace is made of combustible material, the minimum distance between the fireplace and ceiling must be 700mm i.e. a minimum ceiling height of 2,400 mm.
4.0 Installation
NB: Before installing the fireplace, check it carefully for any signs of damage.
NB: The product is heavy! Ask someone to help you when positioning and installing it.
NB: Read the installation and operating instructions for Jotul I 520 (cat. no. 10044945 and Jotul S 71/S 72 (cat. no. 10047331) carefully before installing the fit replace! Use the provided acrylic sealant for all joints.
Then fi t the steel chimney in accordance with the operating instructions.
- The insert must be connected to a chimney and flue pipe approved for solid fuel fireplaces with a flue gas temperature of 305^ .
- The cross-section of the chimney must be at least that of the flue pipe. 150mm cross section.
- Several solid fuel products can be connected to the same chimney system if the chimney cross-section is adequate. See "2.0 Technical data".
For recommended chimney draught, see "2.0 Technical Data". If the draught is too strong, a smoke damper can be installed and used to reduce the draught.
4.1 Prior to installation
The basic product comes in a package with concrete elements. An insert (Jotul 1520) and a leg rack are also included.
NB: Check the product for signs of damage when you unpack it.
NB: Check that the right insert is used for the selected surround.
Preparations
Before installation, it is necessary to decide:
- Where the smoke outlet is to be located.
Possible use and location of external air supply.
Refer to manuals for installation of the parts.
Smoke outlet
S71/S72 is designed for installation with top or wall outlet.
- Follow the instructions from the Installation and Operating Instructions for Jotul I 520 FR (cat. no. 30044745 for S71) or Jotul I 520 FL (cat. no. 30044744 for S72).
Pipe with balanced chimney
IMPORTANT:
Use a flex hose from the start module and into the insert when you install a pipe with balanced flue. It is important to place the fl ex hose on the side of the burn chamber.
Do not install it behind the burn chamber so that it shuts down air flow.
ENGLISH
S71
G 1 stk (Art.nr 50047222)
S71FR

Fig.1a
D 1 stk (Art.nr 50047219)
(S71FR)

Q 1stk (Art.nr 30044744
(1520 FL for S72)

Sementsparkel

Akrylasse


Fig.2

111

ENGLISH
Fig.3

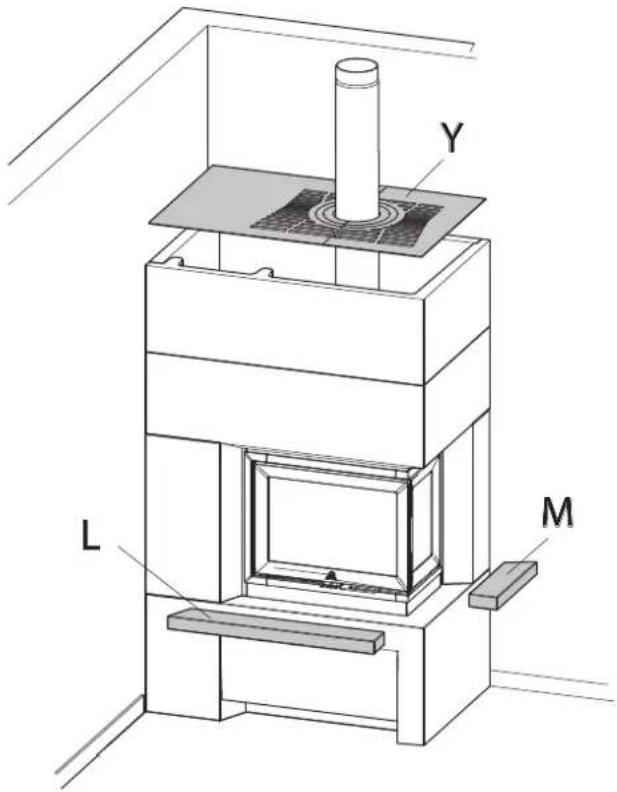
- Use a bottom plate (item no. 10047361, optional extra) if you intend to install the product on a combustible floor.
Fig.4

NB: Reverse the Plates (T) if it is Jotul S72 (for Jotul I520FL) that will be installed.

Fig.5

Fig 6

Fig.7

Fig.9

Fig.8

Fig.10
ENGLISH

Fig.11


Fig.14

Fig.12

Fig.14-b
Fig.13

Fig.15

Fig.16-b

Fig.16

Fig.17
ENGLISH
Fig.18

The insert can be adjusted vertically with levelling screws. See Fig. 26 in the Installation and Operating Instructions for Jotul I 520.
5.0 Installation Completed
Refer to the "Installation manual with technical data" for Jotul I 520 (cat. no. 10044945) for the use and maintenance of the product!
NB: On delivery, the surround may have certain small visible scratches running across the prime coat. These are only cosmetic and do not impair the characteristics of the product. The scratches will be closed once the surround is painted after installation.
5.1 Painting
The product can be painted on the day after installation. Use water-based paint. If you want to create some surface texture, mix some tile cement into the paint.
5.2 Minor Damage
Once the insert has been installed, any nicks or irregularities in the concrete should be filled using the cement filler included in the kit.
- To achieve the best result, the surround should be rubbed down with fine sandpaper, smoothing any unevenness or sharp edges prior to painting.
- Then apply one coat.
- Mix the powder (cement filler) with water to form a smooth paste (like toothpaste).
- Smooth away any unevenness, allow to dry and then rub down with fine sandpaper.
If the hole is deep, we recommend applying the filler in two stages to prevent it from sinking. - Apply a second coat of the desired colour.
6.0 Optional extras
Steel floor plate in front of the product
Cat. no. 51047337 (NO/SE)
Cat. no. 51046304 (DE)
Glass floor plate in front of the product
Cat. no. 50047338 (NO/SE)
Cat. no. 50047517 (DE)
Outside air connection
Cat.no.51047509
Bottom plate
Cat. no. 10047361
Heat-storage stone system
Cat. no. 10026701
7.0 Recycling
7.1 Recycling Packaging
Your fi replace is delivered with the following packaging:
- A wooden pallet that can be cut up and burned in the fire replace.
- Cardboard packaging that should be taken to a local recycling facility.
- Plastic bags that should be taken to a local recycling facility.
7.2 Recycling the Workplace
The fi replace is made of:
Metal that should be taken to a local recycling facility.
Glass that should be disposed of as hazardous waste. The glass in the fireplace may not be placed in a regular source segregation container.
- Vermiculite burn plates that can be disposed of in regular waste containers
8.0 Warranty
Jotul AS provides its customers with a ten-year warranty with the right to return external cast-iron items if they show defects as a result of faulty materials and/or manufacturing after the initial purchase/installation of the fireplace. The buyer is entitled to return the goods provided that the fireplace has been installed in compliance with current laws and regulations and in compliance with Jotul's installation and operating instructions.
The warranty does not cover:
The installation of optional extras, for example, to rectify local draught conditions, air supply or other circumstances beyond Jotul's control. The warranty does not cover consumables, such as burn plates, smoke baffles, fire grates, bottom grates, brick refractories, dampers and gaskets as they deteriorate over time due to normal wear and tear. The warranty does not cover damage caused as a result of using unsuitable fuel when lighting the fire, such as driftwood, impregnated and painted wood, plank offcuts, chipboard, etc. Overheating may easily occur if unsuitable fuel is used, i.e. the fireplace becomes red hot, which causes the paint to discolour and castings to crack.
The warranty does not apply to damage caused while the product is in transit from the distributor to the delivery address. Nor does it cover damage caused by the use of non-original parts..
Checked
Utfort Kontrollpunkt Controlled item
Jotul pursue a policy of constant product development. Products supplied may therefore differ in specification, colour and type of accessories from those illustrated and described in the brochure.
Jotul AS has a quality system that conforms to NS-EN ISO 9001 for product development, manufacturing, and distribution of stoves and fireplaces. This policy gives our customers quality and safety piece of mind as a result of Jotul's vast experience dating back to when the company first started in 1853.
EasyManual