Santo SK 78803 I - Fridge AEG-ELECTROLUX - Free user manual and instructions
Find the device manual for free Santo SK 78803 I AEG-ELECTROLUX in PDF.
Questions des utilisateurs sur Santo SK 78803 I AEG-ELECTROLUX
0 question sur cet appareil. Repondez a celles que vous connaissez ou posez la votre.
Poser une nouvelle question sur cet appareil
Download the instructions for your Fridge in PDF format for free! Find your manual Santo SK 78803 I - AEG-ELECTROLUX and take your electronic device back in hand. On this page are published all the documents necessary for the use of your device. Santo SK 78803 I by AEG-ELECTROLUX.
USER MANUAL Santo SK 78803 I AEG-ELECTROLUX
Thank you for choosing one of our high-quality products.
To ensure optimal and regular performance of your appliance please read this instruction manual carefully. It will enable you to navigate all processes perfectly and most efficiently. To refer to this manual any time you need to, we recommend you to keep it in a safe place. And please pass it to any future owner of the appliance.
We wish you much joy with your new appliance.
Contents
Safety information
Children and vulnerable people safety 22
General safety 22
Daily use 23
Care and cleaning 23
Installation 23
Service 23
Operation
Switching on 24
Switching off 24
Temperature regulation 24
First use
Cleaning the interior 24
Daily use
Freezing fresh food 25
Storage of frozen food 25
Thawing 25
Freezing Calendar 25
Movable shelves 26
Positioning the door shelves 26
Helpful hints and tips 26
Hints for energy saving 26
Hints for fresh food refrigeration 26
Hints for refrigeration 26
Hints for freezing 27
Hints for storage of frozen food 27
Care and cleaning 27
Periodic cleaning 27
Defrosting of the refrigerator 28
Defrosting the freezer 24 28
Periods of non-operation 29
What to do if... 29
Replacing the lamp 30
Closing the door 24 31
Technical data 31
Installation 25 31
Positioning 31
Removing the shelf holders 32
Electrical connection 32
Ventilation requirements 33
Installing the appliance 33
Environmental concerns 38
Subject to change without notice

Safety information
In the interest of your safety and to ensure the correct use, before installing and first using the appliance, read this user manual carefully, including its hints and warnings. To avoid unnecessary mistakes and accidents, it is important to ensure that all people using the appliance are thoroughly familiar with its operation and safety features. Save these instructions and make sure that they remain with the appliance if it is moved or sold, so that everyone using it through its life will be properly informed on appliance use and safety. For the safety of life and property keep the precautions of these user's instructions as the manufacturer is not responsible for damages caused by omission.
Children and vulnerable people safety
- This appliance is not intended for use by persons (including children) with reduced physical, sensory or mental capabilities, or lack of experience and knowledge, unless they have been given supervision or instruction concerning use of the appliance by a person responsible for their safety.
Children should be supervised to ensure that they do not play with the appliance.
- Keep all packaging well away from children. There is risk of suffocation.
- If you are discarding the appliance pull the plug out of the socket, cut the connection cable (as close to the appliance as you can) and remove the door to prevent playing children to suffer electric shock or to close themselves into it.
- If this appliance featuring magnetic door seals is to replace an older appliance having a spring lock (latch) on the door or lid, be sure to make that spring lock unusable before you discard the old appliance. This will prevent it from becoming a death trap for a child.
General safety

CAUTION!
Keep ventilation openings clear of obstruction.
- The appliance is intended for keeping foodstuff and/or beverages in a normal household as explained in this instruction booklet.
- Do not use a mechanical device or any artificial means to speed up the thawing process.
- Do not use other electrical appliances (such as ice cream makers) inside of refrigerating appliances, unless they are approved for this purpose by the manufacturer.
- Do not damage the refrigerant circuit.
- The refrigerant isobutane (R600a) is contained within the refrigerant circuit of the appliance, a natural gas with a high level of environmental compatibility, which is nevertheless flammable.
During transportation and installation of the appliance, be certain that none of the components of the refrigerant circuit become damaged.
If the refrigerant circuit should become damaged:
- avoid open flames and sources of ignition
-
thoroughly ventilate the room in which the appliance is situated
-
It is dangerous to alter the specifications or modify this product in any way. Any damage to the cord may cause a short-circuit, fire and/or electric shock.

WARNING!
Any electrical component (power cord, plug, compressor) must be replaced by a certified service agent or qualified service personnel.
- Power cord must not be lengthened.
- Make sure that the power plug is not squashed or damaged by the back of the appliance. A squashed or damaged power plug may overheat and cause a fire.
- Make sure that you can come to the mains plug of the appliance.
- Do not pull the mains cable.
- If the power plug socket is loose, do not insert the power plug. There is a risk of electric shock or fire.
-
You must not operate the appliance without the lamp cover4) of interior lighting.
-
This appliance is heavy. Care should be taken when moving it.
- Do not remove nor touch items from the freezer compartment if your hands are damp/wet, as this could cause skin abrasions or frost/freezer burns.
- Avoid prolonged exposure of the appliance to direct sunlight.
Daily use
- Do not put hot pot on the plastic parts in the appliance.
- Do not store flammable gas and liquid in the appliance, because they may explode.
- Appliance's manufacturers storage recommendations should be strictly adhered to. Refer to relevant instructions.
Care and cleaning
- Before maintenance, switch off the appliance and disconnect the mains plug from the mains socket.
- Do not clean the appliance with metal objects.
- Regularly examine the drain in the refrigerator for defrosted water. If necessary, clean the drain. If the drain is blocked, water will collect in the bottom of the appliance.
Installation

For electrical connection carefully follow the instructions given in specific paragraphs.
- Unpack the appliance and check if there are damages on it. Do not connect the appliance if it is damaged. Report possible damages immediately to the place you bought it. In that case retain packing.
- It is advisable to wait at least four hours before connecting the appliance to allow the oil to flow back in the compressor.
- Adequate air circulation should be around the appliance, lacking this leads to overheating. To achieve sufficient ventilation follow the instructions relevant to installation.
- Wherever possible the back of the product should be against a wall to avoid touching or catching warm parts (compressor, condenser) to prevent possible burn.
- The appliance must not be located close to radiators or cookers.
- Make sure that the mains plug is accessible after the installation of the appliance.
- Connect to potable water supply only.5)
Service
- Any electrical work required to do the servicing of the appliance should be carried out by a qualified electrician or competent person.
- This product must be serviced by an authorized Service Centre, and only genuine spare parts must be used.
Environment Protection

This appliance does not contain gasses which could damage the ozone layer, in either its refrigerant circuit or insulation materials. The appliance shall not be discarded together with the urban refuse and rubbish. The insulation foam contains flammable gases: the appliance shall be disposed according to the applicable regulations to obtain from your local authorities. Avoid damaging the cooling unit, especially at the rear near the heat exchanger. The materials used on this appliance marked by the symbol 品 are recyclable.
Operation
Switching on
Insert the plug into the wall socket.
Turn the Temperature regulator clockwise to a medium setting.
Switching off
To turn off the appliance, turn the Temperature regulator to the "0" position.
Temperature regulation
The temperature is automatically regulated.
To operate the appliance, proceed as follows:
- turn the Temperature regulator toward lower settings to obtain the minimum coldness.
- turn the Temperature regulator toward higher settings to obtain the maximum coldness.

A medium setting is generally the most suitable.
However, the exact setting should be chosen keeping in mind that the temperature inside the appliance depends on:
- room temperature
- how often the door is opened
- the quantity of food stored
the location of the appliance.

If the ambient temperature is high or the appliance is fully loaded, and the appliance is set to the lowest temperatures, it may run continuously causing frost to form on the rear wall. In this case the dial must be set to a higher temperature to allow automatic defrosting and therefore reduced energy consumption.
First use
Cleaning the interior
Before using the appliance for the first time, wash the interior and all internal accessories with lukewarm water and some neutral soap so as to remove the typical smell of a brand-new product, then dry thoroughly.

Do not use detergents or abrasive powders, as these will damage the finish.
Daily use
Freezing fresh food
The freezer compartment is suitable for freezing fresh food and storing frozen and deep-frozen food for a long time.
To freeze fresh foods it is not necessary to change the medium setting.
However, for a faster freezing operation, turn the temperature regulator toward higher settings to obtain the maximum coldness.

In this condition, the refrigerator compartment temperature might drop below 0^ . If this occurs reset the temperature regulator to a warmer setting.
Storage of frozen food
When first starting-up or after a period out of use, before putting the products in the compartment let the appliance run at least 2 hours on the higher settings.

In the event of accidental defrosting, for example due to a power failure, if the power has been off for longer than the value shown in the technical characteristics chart under "rising time", the defrosted food must be consumed quickly or cooked immediately and then refrozen (after cooling).
Thawing
Deep-frozen or frozen food, prior to being used, can be thawed in the refrigerator compartment or at room temperature, depending on the time available for this operation.
Small pieces may even be cooked still frozen, directly from the freezer: in this case, cooking will take longer.
Freezing Calendar

The symbols show different types of frozen goods.
The numbers indicate storage times in months for the appropriate types of frozen goods.
Whether the upper or lower value of the indicated storage time is valid depends on the quality of the foods and treating before freezing.
Movable shelves
The walls of the refrigerator are equipped with a series of runners so that the shelves can be positioned as desired.
For better use of space, the front half-shelves can lie over the rear ones.

Positioning the door shelves
To permit storage of food packages of various sizes, the door shelves can be placed at different heights.
Helpful hints and tips
Hints for energy saving
- Do not open the door frequently or leave it open longer than absolutely necessary.
- If the ambient temperature is high and the Temperature Regulator is set to low temperature and the appliance is fully loaded, the compressor may run continuously, causing frost or ice on the evaporator. If this happens, set the Temperature Regulator toward warmer settings to allow automatic defrosting and so a saving in electricity consumption.
Hints for fresh food refrigeration
To obtain the best performance:
- do not store warm food or evaporating liquids in the refrigerator
- do cover or wrap the food, particularly if it has a strong flavour
- position food so that air can circulate freely around it
Hints for refrigeration
Useful hints:
Meat (all types): wrap in polythene bags and place on the glass shelf above the vegetable drawer.
For safety, store in this way only one or two days at the most.
Cooked foods, cold dishes, etc.: these should be covered and may be placed on any shelf. Fruit and vegetables: these should be thoroughly cleaned and placed in the special drawer(s) provided.
Butter and cheese: these should be placed in special airtight containers or wrapped in aluminium foil or polythene bags to exclude as much air as possible.
Milk bottles: these should have a cap and should be stored in the bottle rack on the door.
Bananas, potatoes, onions and garlic, if not packed, must not be kept in the refrigerator.
Hints for freezing
To help you make the most of the freezing process, here are some important hints:
- the maximum quantity of food which can be frozen in 24 hrs. is shown on the rating plate;
- the freezing process takes 24 hours. No further food to be frozen should be added during this period;
- only freeze top quality, fresh and thoroughly cleaned, foodstuffs;
- prepare food in small portions to enable it to be rapidly and completely frozen and to make it possible subsequently to thaw only the quantity required;
- wrap up the food in aluminium foil or polythene and make sure that the packages are airtight;
- do not allow fresh, unfrozen food to touch food which is already frozen, thus avoiding a rise in temperature of the latter;
- lean foods store better and longer than fatty ones; salt reduces the storage life of food;
- water ices, if consumed immediately after removal from the freezer compartment, can possibly cause the skin to be freeze burnt;
- it is advisable to show the freezing in date on each individual pack to enable you to keep tab of the storage time.
Hints for storage of frozen food
To obtain the best performance from this appliance, you should:
- make sure that the commercially frozen foodstuffs were adequately stored by the retailer;
- be sure that frozen foodstuffs are transferred from the foodstore to the freezer in the shortest possible time;
not open the door frequently or leave it open longer than absolutely necessary. - Once defrosted, food deteriorates rapidly and cannot be refrozen.
- Do not exceed the storage period indicated by the food manufacturer.
Care and cleaning

CAUTION!
Unplug the appliance before carrying out any maintenance operation.

This appliance contains hydrocarbons in its cooling unit; maintenance and recharging must therefore only be carried out by authorized technicians.
Periodic cleaning
The equipment has to be cleaned regularly:
- clean the inside and accessories with lukewarm water and some neutral soap.
- regularly check the door seals and wipe clean to ensure they are clean and free from debris.
- rinse and dry thoroughly.

Do not pull, move or damage any pipes and/or cables inside the cabinet.
Never use detergents, abrasive powders, highly perfumed cleaning products or wax polishes to clean the interior as this will damage the surface and leave a strong odour.
Clean the condenser (black grill) and the compressor at the back of the appliance with a brush or a vacuum cleaner. This operation will improve the performance of the appliance and save electricity consumption.

Take care of not to damage the cooling system.
Many proprietary kitchen surface cleaners contain chemicals that can attack/damage the plastics used in this appliance. For this reason it is recommended that the outer casing of this appliance is only cleaned with warm water with a little washing-up liquid added. After cleaning, reconnect the equipment to the mains supply.
Defrosting of the refrigerator
Frost is automatically eliminated from the evaporator of the refrigerator compartment every time the motor compressor stops, during normal use. The defrost water drains out through a trough into a special container at the back of the appliance, over the motor compressor, where it evaporates.
It is important to periodically clean the defrost water drain hole in the middle of the refrigerator compartment channel to prevent the water overflowing and dripping onto the food inside. Use the special cleaner provided, which you will find already inserted into the drain hole.

Defrosting the freezer

A certain amount of frost will always form on the freezer shelves and around the top compartment.

Defrost the freezer when the frost layer reaches a thickness of about 3 - 5mm
To remove the frost, do these steps:
-
Switch off the appliance.
-
Remove any stored food, wrap it in several layers of newspaper and put it in a cool place.
-
While the door is open, place a basin on the top shelf of the refrigerator compartment under the drain hole and remove the plug.
- When defrosting is completed, dry the interior thoroughly and refit the plug.
- Switch on the appliance.
- Set the temperature regulator to obtain the maximum coldness and run the appliance for two or three hours using this setting.
- Reload the previously removed food into the compartment.


Never use sharp metal tools to scrape off frost from the evaporator as you could damage it.
Do not use a mechanical device or any artificial means to speed up the thawing process other than those recommended by the manufacturer. A temperature rise of the frozen food packs, during defrosting, may shorten their safe storage life.
Periods of non-operation
When the appliance is not in use for long periods, take the following precautions:
- disconnect the appliance from electricity supply
- remove all food
- defrost ^6) and clean the appliance and all accessories
- leave the door/doors ajar to prevent unpleasant smells.
If the cabinet will be kept on, ask somebody to check it once in a while to prevent the food inside from spoiling in case of a power failure.
What to do if...

WARNING!
Before troubleshooting, disconnect the mains plug from the mains socket.
Only a qualified electrician or competent person must do the troubleshooting that is not in this manual.

There are some sounds during normal use (compressor, refrigerant circulation).
| Problem Possible cause Solution | ||
| The appliance does not operate. The lamp does not operate. | The appliance is switched off. Switch on the appliance. | |
| The mains plug is not connected to the mains socket correctly. | Connect the mains plug to the mains socket correctly. | |
6) If foreseen.
| Problem Possible | Cause Solution | |
| The appliance has no power. There is no voltage in the mains socket. | Connect a different electrical appliance to the mains socket. Contact a qualified electrician. | |
| The lamp does not work. The lamp is in stand-by. | Close and open the door. | |
| The lamp is defective. Refer to "Replacing the lamp". | ||
| The compressor operates continually. The temperature is not set correctly. | Set a higher temperature. | |
| Refer to "Closing the door". | ||
| The door has been opened too frequently. | Do not keep the door open longer than necessary. | |
| The product temperature is too high. | Let the product temperature decrease to room temperature before storage. | |
| The room temperature is too high. | Decrease the room temperature. | |
| Water flows on the rear plate of the refrigerator. During the automatic defrosting process, frost defrosts on the rear plate. | This is correct. | |
| Water flows into the refrigerator. The water outlet is clogged. Clean | the water outlet. | |
| Products prevent that water flows into the water collector. | Make sure that products do not touch the rear plate. | |
| Water flows on the ground. The melting water outlet does not flow in the evaporative tray above the compressor. | Attach the melting water outlet to the evaporative tray. | |
| The temperature in the appliance is too low. The temperature regulator is not set correctly. | Set a higher temperature. | |
| The temperature in the appliance is too high. The temperature regulator is not set correctly. | Set a lower temperature. | |
| Refer to "Closing the door". | ||
| The product temperature is too high. | Let the product temperature decrease to room temperature before storage. | |
| Many products are stored at the same time. | Store less products at the same time. | |
| There is no cold air circulation in the appliance. | Make sure that there is cold air circulation in the appliance. |
Replacing the lamp
- Disconnect the mains plug from the mains socket.
-
Remove the screw from the lamp cover.
-
Remove the lamp cover (refer to the il-lustration).
- Replace the used lamp with a new lamp of the same power (the maximum power is shown on the lamp cover).
- Install the lamp cover.
- Tighten the screw to the lamp cover.
- Connect the mains plug to the mains socket.
- Open the door. Make sure that the lamp comes on.

Closing the door
- Clean the door gaskets.
- If necessary, adjust the door. Refer to "Installation".
- If necessary, replace the defective door gaskets. Contact the Service Center.
Technical data
| Dimension of the recess | ||
| Height 1030 mm | ||
| Width 560 mm | ||
| Depth 550 mm | ||
| Rising Time 12 h |
The technical information are situated in the rating plate on the internal left side of the appliance and in the energy label.
Installation
Positioning

WARNING!
If you are discarding an old appliance that has a lock or catch on the door, you must ensure that it is made unusable to prevent young children being trapped inside.

The appliance shall have the plug accessible after installation.
Install this appliance at a location where the ambient temperature corresponds to the climate class indicated on the rating plate of the appliance:
| Climate class Ambient temperature | |
| SN +10°C to + 32°C | |
| Climate class Ambient temperature | |
| N +16°C to + 32°C | |
| ST +16°C to + 38°C | |
| T +16°C to + 43°C | |
Removing the shelf holders
Your appliance is equipped with shelf retainers that make it possible to secure the shelves during transportation.
To remove them proceed as follows:
- rise the shelf from the back (A)
- push it in the direction of the arrow until it is free (B)
- remove the retainers.

Electrical connection
Before plugging in, ensure that the voltage and frequency shown on the rating plate correspond to your domestic power supply.
The appliance must be earthed. The power supply cable plug is provided with a contact for this purpose. If the domestic power supply socket is not earthed, connect the appliance to a separate earth in compliance with current regulations, consulting a qualified electrician.
The manufacturer declines all responsibility if the above safety precautions are not observed.
This appliance complies with the E.E.C. Directives.
Door reversibility
The door of the appliance opens to the right. If you want to open the door to the left, follow these steps before you install the appliance:
- Loosen and remove the upper pin.
- Remove the door.
- Remove the spacer.

- With a key, loosen the lower pin.
On the opposite side:
- Tighten the lower pin.
- Install the spacer.
- Install the door.
- Tighten the upper pin.

Ventilation requirements
The airflow behind the appliance must be sufficient.

Installing the appliance

CAUTION!
Make sure that the mains cable can move freely.
Do the following steps:
- Apply the adhesive sealing strip to the appliance as shown in figure.

- Install the appliance in the niche.
Push the appliance in the direction of the arrow (1) until the upper gap covers stops against the kitchen furniture.
Push the appliance in the direction of the arrow (2) against the cupboard on the opposite side of the hinge.

- Adjust the appliance in the niche.
The lower hinge cover (in the accessories bag) makes sure that the distance between the appliance and the kitchen furniture is correct.
Make sure that the distance between the appliance and the cupboard front-edge is 44mm
Make sure that the clearance between the appliance and the cupboard is 4mm
Open the door. Put lower hinge cover in position.

- Attach the appliance to the niche with 4 screws.

- Remove the correct part from the hinge cover (E). Make sure to remove the part DX, in the case of right hinge, SX in opposite case.

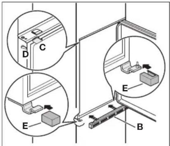
- Attach the covers (C, D) to the lugs and the hinge holes. Install the vent grille (B). Attach the hinge covers (E) to the hinge.

- Disconnect the parts (Ha), (Hb), (Hc) and (Hd).

- Install the part (Ha) on the inner side of the kitchen furniture.

- Push the part (Hc) on the part (Ha).

- Open the appliance door and the kitchen furniture door at an angle of 90^ .
Insert the small square (Hb) into guide (Ha).
Put together the appliance door and the furniture door and mark the holes.

- Remove the brackets and mark a distance of 8mm from the outer edge of the door where the nail must be fitted (K).

- Place the small square on the guide again and fix it with the screws supplied. Align the kitchen furniture door and the appliance door by adjusting the part Hb.

-
Press the part (Hd) on the part (Hb). Do a final check to make sure that:
-
All screws are tightened.
- The sealing strip is attached tightly to the cabinet.
The door opens and closes correctly.

Reversibility of the freezer door

Environmental concerns
The symbol on the product or on its packaging indicates that this product may not be treated as household waste. Instead it should be taken to the appropriate collection point for the recycling of electrical and electronic equipment. By ensuring this product is disposed of correctly, you will help prevent potential negative consequences for the environment and human health, which could otherwise be caused by inappropriate waste handling of this product. For more detailed information about recycling of this product, please contact your local council, your household waste disposal service or the shop where you purchased the product.
EasyManual