U2 - Earphones CAD Audio - Free user manual and instructions
Find the device manual for free U2 CAD Audio in PDF.
Download the instructions for your Earphones in PDF format for free! Find your manual U2 - CAD Audio and take your electronic device back in hand. On this page are published all the documents necessary for the use of your device. U2 by CAD Audio.
USER MANUAL U2 CAD Audio
Operating instruction GI
Mode d'emploi F
- AM/FM 2 bands radio receiver
- FM-stereo via earphones ( not included )
- Rugged and water-resistant
- Soft and bendable spring antenna
- Two heavy-magnet 3 inches speakers create excellent sound
- Precision tuning
- Tuning LED indicator
- Low battery indicator
- Stereo earphones jack
- DC jack for connecting AC power adaptor


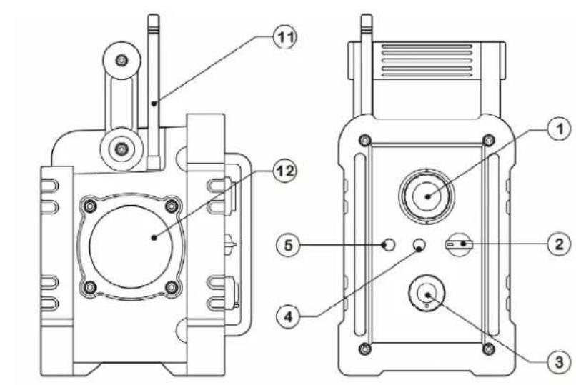
Controls
① Tuning Control
② Power and AM/FM band selector
③ Volume Control
④ Low battery LED indicator
⑤ Tuning LED indicator
⑥ Earphones jack
⑦ DC input socket
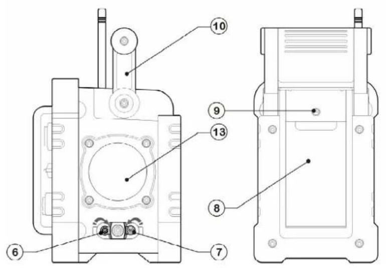
⑧ Battery Compartment Cover
Compartment fixture
⑩ Carry Handle
⑪ Soft spring antenna for FM band
Speaker
⑬ Speaker
GB
Installing Batteries
- Unscrew the compartment fixture with a tool, lift up the battery compartment cover located on the rear of your Utility Radio.
- Insert four C sizes (UM-2) battery into the compartment. Ensure that battery is inserted in accordance with the diagram shown.
- Close the battery cover and screw the compartment fixture.
- Reduced power, distortion, stuttering sound or while low battery LED is lighted on are all signs that the batteries may need replacing.
- If the radio is not to be used for any extended period of time, it is recommended that the battery is removed from the radio.
AC adaptor (included)
The AC adaptor for use with the Utility Radio provides 6V DC output at 1 ampere center pin positive.
Remove the rubber sheet which covers both the DC socket and earphones jack, insert the adaptor plug into the DC socket of the radio. Whenever the adaptor is used, the batteries are automatically disconnected.
The AC adaptor should be disconnected from the mains supply and the radio when not in use.
Operating your radio FM
- Turn on your radio by switching the Power knob to FM position.
- Rotate the Tuning Control to select the desired station. On FM, the tuning scale is marked in MHz (Megahertz). The tuning LED will be lighted on, if the radio station has been correctly tuned.
- Adjust the Volume Control for comfortable listening.
- To switch off the radio, turn the Power knob to Off position.
- The soft spring antenna is used for FM band reception.
Operating your radio AM (MW)
- Turn on your radio by switching the Power knob to AM position.
- Rotate the Tuning Control to select the desired station. On AM, the tuning scale is marked in kHz (Kilohertz). The tuning LED will be lighted on, if the radio station has been correctly tuned.
- For AM operation, rotate your radio for best reception.
- Adjust the Volume Control for comfortable listening.
- To switch off your radio, turn the Power knob to off position.
Low Battery LED indicator
The low battery LED indicator is lighted on when the batteries are in need of replacement.
Earphones Jack / FM stereo reception
To operate your radio via earphones ( not included ), plug the earphones into the earphones jack and adjust Volume Control for comfortable listening.
Stereo is available on FM via earphones.
Rugged and water-resistant device
Your Utility Radio is particularly designed and capable for outdoors use. It meets JIS 4 ( Japanese Industry Standard ) water-resistant standard. Its ultra rugged device prevents possible damages from accidental drop.
Specifications
Frequency range:AM 522 - 1710 kHz
FM87.5-108MHz
Battery: 4 × C sizes (UM-2)
Battery life: Approx. 35 hrs using alkaline battery
Semiconductors: 6 x ICs, 2 transistors, 1 FET
Output power: 5mW× 2 via earphones
1.8 W via loudspeaker
Earphones jack: 3.5mm diameter ( stereo )
DC Input Voltage: 6Vdc 1A
GB




8
EasyManual