DS600C - To scan AVISION - Free user manual and instructions
Find the device manual for free DS600C AVISION in PDF.
User questions about DS600C AVISION
0 question about this device. Answer the ones you know or ask your own.
Ask a new question about this device
Download the instructions for your To scan in PDF format for free! Find your manual DS600C - AVISION and take your electronic device back in hand. On this page are published all the documents necessary for the use of your device. DS600C by AVISION.
USER MANUAL DS600C AVISION
Avision Digital Color Scan Copier
DS600C
User's Manual
(D/N: 250-0242-E Rev. 1.0)
Avision, Inc
Trademarks
Microsoft is a U.S. registered trademark of Microsoft Corporation.
Windows and MS-DOS are trademarks of Microsoft Corporation.
IBM, PC, AT, XT are registered trademarks of International Business Machines Corp.
Other brands and product names herein are trademarks or registered trademarks of their respective holders.
Copyright
All rights reserved. No part of this publication may be reproduced, transmitted, transcribed, stored in a retrieval system, or translated into any language or computer language, in any form or by any means, electronic, mechanical, magnetic, optical, chemical, manual, or otherwise, without the prior written permission of the manufacturer.
Material scanned by this product may be protected by governmental laws and other regulations, such as copyright laws, the customer is solely responsible for complying with all such laws and regulations.
Warranty
The information contained in this document is subject to change without notice.
The manufacturer makes no warranty of any kind with regard to this material, including, but not limited to, the implied warranties of fitness for a particular purpose.
The manufacturer shall not be liable for errors contained herein or for incidental or consequential damages in connection with the furnishing, performance, or use of this material.
FCC Radio Frequency Interference Statement
This equipment has been tested and found to comply with the limits for a Class A digital device, pursuant to Part 15 of the FCC rules. These limits are designed to provide reasonable protection against harmful interference in a residential installation. This equipment generates, uses, and can radiate radio frequency energy and, if not installed and used in accordance with the instructions, may cause harmful interference to radio communication. However, there is no guarantee that interference will not occur in a particular installation. If this equipment does cause harmful interference to radio or television reception, which can be determined by turning the equipment off and on, the user is encouraged to try to correct the interference by one or more of the following measures:
- Reorient or relocate the receiving antenna.
- Increase the separation between the equipment and receiver.
- Connect the equipment into an outlet on a circuit different from that to which the receiver is connected.
- Consult the dealer or an experienced radio/TV technician for help.
FCC CAUTION: To assure continued compliance, (example- use only shielded interface cables when connecting to computer or peripheral devices). Any changes or modifications not expressly approved by the party responsible for compliance could void the user's authority to operate the equipment.
This device complies with Part 15 of the FCC Rules. Operation is subject to the following two conditions: (1) This device may not cause harmful interference, and (2) this device must accept any interference received, including interference that may cause undesired operation.
Responsible Party: AVISION LABS INC.
6815 Mowry Ave. Newark CA 94560, USA
Telephone No.: +1 (510) 739-2369
Table of Contents
1. INTRODUCTION. 1-1
7. TROUBLESHOOTING 7-1
7.1 QUESTIONS AND ANSWERS 7-1
7.2 TECHNICAL SERVICE 7-5
8. SPECIFICATIONS 8-1
1. INTRODUCTION
Congratulations on your purchase of DS600C.
The DS600C produces better printing quality and is free from maintenance, compared with traditional copy machines. Its high printing quality, maintenance-free operation and affordability make DS600C the best convenience copier solution for office.
The following sections introduce the unpacking, hardware and software installation, the operation, and maintenance information to you. Please spend a few minutes reading through them to keep quality scanning result possible.
Figure 1-1 shows how the DS600C is packed. Please check all the items against Figure 1-1. If there is any missing or damaged, please contact your nearest dealer immediately for the replacement.
- Keep the DS600C out of direct sunlight. Direct exposure to the sun or excessive heat may cause damage to the unit.
- Do not install the DS600C in a humid or dusty place.
- Be sure to use the proper AC power source.
- Place the DS600C securely on an even, flat surface. Tilted or uneven surfaces may cause mechanical or paper-feeding problems.
- Retain the DS600C box and packing materials for shipping purposes.
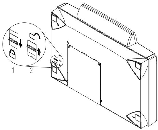
2.2 UNLOCKING THE DS600C
To protect the scanning head from damage during shipment, the DS600C is designed with a lock switch beneath the main unit. Therefore, before using the DS600C, it is required to unlock DS600C by moving the lock switch to the Use position.(See Figure 2-1)
Figure 2-1 Unlocking the DS600C

1. "Shipping" Position 2. "Use" Position
2.3 CONNECTING THE CABLE
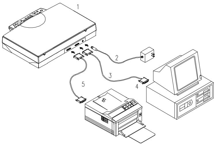
2.3.1 CONNECTING DS600C TO WORK AS A COPIER
Connect the power cable and signal cable as shown below.

Figure 2-2 Connect DS600C to a printer
- DS600C main unit
- "To Printer" port
- Printer Cable
- Power Jack
- Power Adapter
- Printer
2.3.2 CONNECTING DS600C TO WORK AS A SCANNER

- DS600C main unit
- Power Adapter
- DS600C Cable
- PC Parallel Port
- Printer Cable
As shown in Figure 2-4, place the document on the glass face (text) down.

Figure 2.4 Document Placement
- Document Cover
- Home Position Mark
- Document
- Document Glass
- Control Panel
- Copy(Color): Press to start a color copy.
- Copy(B/W): Press to start a black-and-white copy
- Power/Copy LED: The LED indicator turns green when power is on and turns flashing during copying.
- All Clear: Clear your current settings and return to the default settings.
- Document Type: Press to respectively concentrate on photo, text, or auto copying.
- Copy Quality: Select your Copy quality: Normal (300 dpi), or Quality (600 dpi).
- Copy Count: Choose the number of copies from 1 to 99. Increase the value of the numeric entries by the () button or decrease the value by the () button.
- Select: Press to select your desired setting. (A star sign, "*", appearing in the right-hand side indicates the latest selection you make.)
- ▲: Go to the previous item displayed in the Message Display window or increase the value of the numeric entries.
- : Go to the next item displayed in the Message Display window or decrease the value of the numeric entries.
- Menu: Select a paper size, a printer type, a printer language, an image pattern, or the Mirror function.

- Message Display window: Display current settings.
- Light/Dark: Lighten or darken your image.
Increase level of brightness or darkness by the () button. Decrease level of brightness or darkness by the () button
- Color Intensity: Intensify the image copied or scanned.
Increase level of color intensity by the () button. Decrease level of color intensity by the () button
- Reduce/Enlarge: Reduce, enlarge or auto zoom your original document. Press to select the preset ratios: 100% , 115% , 122% , 141% , 200% , 400% , Auto, 25% , 50% , and 86% .
Choose your desired ratio or adjust the ratio in 1% increment by the () or () button.
Auto: Automatically scale your original document to fit your output paper.
- Paper Type: Press to select one of the preset paper types of your original including Plain paper, Transparency, and Glossy.
- Scan: Press to start the scanning-assistant application - Quick Selector or other applications.
Tips:
To use other settings than the one displayed in the Message Display window, simply repress the button of that setting to select other options.
Note:
(1). An item message in the Message Display Windows ending with a “*” means the last setting.
(2). The default settings are: A4, Normal Print Quality, 100% ratio, 1 copy.
IMPORTANT!
PRINTER MEMORY
To make good use of DS600C, it is recommended to install at least 4 MB of memory in your printer. If you want to print your document using Quality mode - 600 dpi as your Copy Quality mode, you need to add more RAM for your printer as using this feature requires more processing time and memory. See the following chart for printer memory recommendations.
It is strongly recommended that you refer to the following table to ensure a successful color copy.
| Copy Quality | Document Size | Min. Printer Memory |
| Normal | Letter Size | 4 MB |
| Legal Size | 8 MB | |
| Quality | Letter Size | 16 MB |
| Legal Size | 20 MB |
If there is not enough memory in your printer, you may probably encounter the following results:
- The printer does not print.
- The print quality is bad.
3.2 BEFORE MAKING COPIES
DS600C provides three paper sizes, A4, letter, and legal. Check or select the paper size to match your paper supply to ensure smooth operations.
To check or select paper size,
- Press the Paper Size button. The Message window displays "Size:A4 *" (default). If your current paper supply is A4 size, you can skip the following steps. Otherwise, please do the following steps.
-
Repress _or button. The Message window displays "Letter".
-
If your current paper supply is letter size, please press the Select button. The Message window now displays "Size:Letter *". This means you have successfully changed the default size to letter.
- If legal size is your current paper supply, please repress the or button. The Message window displays "Size: Legal ". Press the Select button to change the default size to Legal.
Note:
Each time when you press the "All Clear" button on the DS600C, the DS600C automatically returns to the factory default setting. As a result, you may have to reconfigure the factory default setting to custom default settings when you clear the settings on the DS600C.
3.3 MAKING SIMPLE COPIES
The Operating Steps:
- Place your original face down on the document glass.
- Press the Copy button. The Message window displays "Copy..." and the Ready LED is flashing.
- Within a few seconds, the copying is done. The Message window then displays "1 Copy @100%" and the Ready LED is now steadily on until next task.
3.4 MAKING COPIES WITH COPY FEATURES
3.4.1 MIRROR FUNCTION
This function allows you to horizontally flip the copied image as if the image were reflected in a mirror.
The Operating Steps
- Place your document face-down on the document glass.
- Keep on pressing Menu button till the message, "Mirror: off", appears.
- Press the or button to get the message, "Mirror: on".
- Press Copy button. The printout shows the original image is flipped horizontally as if it were reflected in a mirror.

Mirror function is off

Mirror function is on
3.4.2 ENLARGING OR REDUCING YOUR ORIGINAL
Like a normal copier, the DS600C also features auto enlargement/reduction function to resize your original.
The Operating Steps:
- Place your document face-down on the document glass.
- Press the "Reduce/Enlarge" button, the Message Window displays "Ratio:100%".
- Repress the button to see more options. For example, if you need 150% enlargement, select “ 141% ” then press the “” button to increase the percentage to 150 in 1% increment.
- Press the Copy button. And then the printout shows enlargement of 150% of your original.

Ratio: 100%

Ratio: 150%
Note:
- Another option to reduce your original is to firstly repeat the enlargement or reduction steps 1 to 3 and then press the “ ” button to decrease the percentage in 1% increment.
- The maximum magnification rate is 400% while the minimum reduction rate is 25% .
3.4.3 AUTO ZOOMING YOUR ORIGINAL
Auto Zoom is a convenient function to resize your original without giving additional thought to whether the magnification or reduction will be larger than the existing paper size set on the SC-200.
The Operating Steps:
- Repeat the above Enlargement Step 1 & 2.
- Repress the "Enlarge/Reduce" button until the Message Window displays "Auto".
- Press the Copy button. The printout shows your original automatically scales to your paper size.

Before Auto Zoom (Ratio:100%)

After Auto Zoom
3.4.4 CHANGING YOUR COPY DENSITY
Copy density refers to the degree of darkness which the DS600C has reproduced. There are times when your original is unsatisfactorily darker or lighter. It is of great advantage to use the density feature to compensate the unsatisfactory original.
The Operating Steps:
- Place your original face down on the document glass.
- Press the "Lighter/Darker" button. The Message Window displays the default degree of darkness.
- Repress the "Lighter/Darker" button to select one of the other levels. Or you may press the " " to increase the level, press the " " button to decrease the level.
- Press the Copy button. Your printout shows the darkness or brightness has been compensated.
3.4.5 CHANGING COLOR INTENSITY
Color intensity refers to the saturation of color reproduced by DS600C. There are times when the saturation of the original image doesn't fit your preference. By making a great use of this function, you could get the most optimal color preference desired.
The Operating Steps:
- Place your original face-down on the document glass.
- Press the "Color Intensity" button. The Message Window displays the default saturation.
- Repress the “Color Intensity” button to select one of the other levels. Or you may press the “” to increase the level, press the “ ” button to decrease the level.
- Press the Copy button.
The Operating Steps:
- Place your original face-down on the document glass.
- The default copy count is 1. If you need to make 3 copies, for example, press the "Copy Count" button and the Message Window displays "2 copy @100%".
- Repress the "Copy Count" button and the Message Window displays "3 copy ..."
- Press the Copy button. After a few seconds, you have 3 copies from your printer.
Note:
- Another option to change your copy quantity is to press the " " button to increase the number or the " " button to decrease the number.
The maximum copy quantity is 99.
3.4.7 ENHANCING YOUR COPY QUALITY
The DS600C provides "Quality mode" option to improve your copy quality particularly when your original comes with a photo in it. Quality mode allows your printout to impressively reveals more image/photo) details.
The Operating Steps:
- Place your document face-down on the document glass.
- Press the "Copy Quality" button. The Message Window displays "Normal mode".
- Repress the "Copy Quality" button and the Message Window displays "Quality mode".
- Press the Copy button. The copying begins processing with the Quality mode.
See following photo/text reproduction between normal copier v.s. DS600C in quality mode.

Make copies with a normal copier



Make copies with a SC-200 in quality mode
Note:
- To proceed copies using quality mode, make sure your printer has at least 4M memory as this requires more processing time.
3.4.8 FOCUS ON PHOTO COPY, TEXT COPY, OR MIXED PHOTO & TEXT COPY
If the content in the original is occupied by photo images only or by photo images with a little text on it, press to select the Photo function to get a photo-concentrated image copy. On the contrary, the Text function helps you get a text-concentrated copy. However, if the proportion of the photo image is almost the same as that of text in the original to be copied, it is recommended to utilize the Auto function from Document Type button in order to get the most optimal printout with photo and text mixed.
The Operating Steps:
- Place your document face-down on the document glass.
- Keep on pressing "Document Type" button to select any one of these 3 document-type functions, called Photo, Text, and Auto.
- Press the Copy button, and the printout shows the best reproduction with the document-type concentration selected.
3.4.9 MAKING COPIES OF A 3D OBJECT
The DS600C solution improves your copy reproduction significantly and even makes a 3D object copies amazingly clear.
The Operating Steps:
- Place your 3D object on the document glass.
- Press the "Copy Quality" button and the Message Window displays "Normal mode".
- Repress the "Copy Quality" and the Message Window displays "Quality mode".
- Press the Copy button. Your 3D object copy is done.

The 3D copy using a normal copier

The amazing 3D copy using the DS600C
3.4.10 AUTOMATIC POWER SAVING
The DS600C features automatic power saving without unplugging the power cable. If you have not used the DS600C over an hour, it automatically turns into power saving status. At this moment, the Message Window displays "Power Saving..." while the Ready LED is flashing.
To resume the ready status, press any one of the button on the Control Panel. The Message Window displays "Warming up..." and then "1 Copy @100%, the ready status. The Ready LED now turns steadily on.
4. USING DS600C AS A SCANNER
To run DS600C at optimum speed, the following minimum requirements are recommended:
- IBM compatible PC 386/486, Pentium or later;
Microsoft Windows 95/98, Windows NT; - One printer port available :ECP or EPP(enhanced parallel port);
20 Megabytes of available hard disk space for installation;
16 Megabytes of RAM (32 Megabytes or higher recommended);
A video graphics array (VGA) monitor; - A Microsoft Windows-compatible pointing device (e.g., mouse);
- A CD ROM drive.
4.1 INSTALLATION PROCEDURE
Installation procedures of DS600C driver are as follows:
- Start Windows 98,Windows 95 ,or NT
-
Insert software CD into your CD ROM drive.
-
Press the Start button, choose RUN, type d:\driver\DS600C.exe (d: the CD-ROM drive in use), and then click O.K. (See Figure 3-1,3-2)
- Follow the on-screen instructions to complete the installation.

Fig. 3.1

Fig. 3.2
You can uninstall the DS600C driver by selecting Start>Programs>DS600C and clicking the Uninstall driver icon from DS600C group.
Scanning Images from within an Application (TWAIN)
-
Open your application and choose Select Source from the File menu. If the Select Source menu options are not available from the File menu, see the user guide of your application to learn how the TWAIN link is used.
-
A dialog box appears containing the different TWAIN sources that you can choose to bring an image into your application.
-
Select DS600C/32 Vx.xx as the source.

-
When you have used the dialog box to select a different source, you will need to select DS600C as the source again before you can reuse the DS600C.
-
Place the image to be scanned face down on the glass.
-
From the File menu, select Acquire.
- The TWAIN user interface will pop up on the screen. Click on the Preview or Scan button to get the image.
The TWAIN user interface:

5.1 IMAGE TYPE
The DS600C provides five image types as explained below:

Scanning Source
Two scanning sources are provided- flatbed as well as transparency.
Line art
Line art presents the image in black and white only and there are no intermediate shades of gray in between.
Halftone
In addition to the black and white display, Halftone can present a somehow gray shade of image by using different size of dots.
Error Diffusion
While taking up but a minimum storage space, error diffusion gives good image texture and excellent image details.
Gray (Internal 4096 levels of gray scale)
12-bit Gray presents a 4096 shades of gray in an image.
Color (Internal 68.7 billion colors)
The 36-bit True Color internally presents 68.7 billion-color levels with much more tonal range and color-image details.
5.2 SCANNING PARAMETERS & IMAGE CONTROL

Resolution: The number of dpi (dots per inch) that the DS600C uses for a scan. Usually the greater the number, the higher the resolution. Yet up to a certain level, the resolution will not be visually increased but the disk space will be increased.
Brightness: Adjusts the lightness or darkness of an image. The higher the value, the brighter the image.
Contrast: Adjusts the range between the darkest and the lightest shades in the image. The higher the contrast, the bigger the different gray scales.

Auto Level: Optimizes the scanned image.
Auto Area: Automatically sets the whole document as the scan area, no matter what its size.
Descreen: Eliminates the Moire patterns commonly found in printed matter.

Before descreen

Afterdescreen
Color Matching:
Adjusts the color quality of the image to make it close to the original. This function uses default parameters to adjust the image.
Reset: Resets the scanning parameters you set.
Invert: The invert command reverses the brightness and the color in the image. For color images, each pixel will be changed into its complementary color at the command of Invert.
Advance Settings:
The Advance Settings provide several functions such as Dynamic Background Removal and Color Drop-out. These functions are briefly explained as below:
1). DBR(Dynamic Background Removal) - Apply exclusively when you need to scan as an Lineart image. The DBR function incorporates a few enhanced options to allow you to remove background color to sharpen your text or drawing.
Original(Color picture)

After applying DBR option system.
Company Listens To steners. 92
l Company Uses To Meet New Rent Regulations ....88
to scan they rare even crooked spilt on Great Code Vision
2). Color drop-out - Apply exclusively when you need to scan as a black and white image
The Color drop-out function allows you to remove one of the R(Red), G(Green), or B(Blue) color or to convert all the color data into Neutral Gray. For example, if you want to remove the text or background in blue color, simply check the Blue Channel then the text or background in blue color will be removed. On the other hand, if your original contains various color data, then check the Neutral Gray to retain all the color data in gray since removing either one of the red, green, or blue color will inadvertently affect the rest color data as every color contains different elements of each of the red, green, and blue channel. See the result below:
Your original with blue color background

Your original with red watermark
After click the B(Blue) channel
"The trees are in their autumn beauty,
The woodland paths are dry,
Under the October twilight the water
Mirrors a still sky;
Upon the brimming water among the stones
Are nine-and-fifty Swans."
W.B.Yeats
After click the R(Red) channel
ABC Inc. distributes and sells its product worldwide through OEMuCOMs, an distributor. As of June 1999, ABC has employed over 21 well-trained marketing, sales, and personnel. To better serve customers, ABC has assigned an account manager for each of its OEMCOM customers. These account managers are responsible for effectively coordinate the outstanding issues in sales, manufacturing, or development and assure the status of each customer's product is properly monitored. Our goal is to achieve and maintain complete customer satisfaction.
ABC h.c. distribute and sales its product worldwide through OEM/ODMs, and distribute. As of June 1000, ABC has employed over 21 staff trained marketing, sales, and support personnel.
To bomer some is customers, ABC has assigned an account manager for each of its OE WO DA customers. These account managers are responsible for effectively coordinating the outstanding issues in sales, manufacturing, or development and assisting the status of each customer's products properly monitored. Our goals to achieve an optimal complete customer satisfaction.
Quality/Speed Mode:
Users can select the mode to perform scanning according to their own need. Select quality mode scanning if your emphasis is on the quality of the scanned image. Or you can select speed mode scanning if you want to speed up the scanning process.
Pixel/Inch/Cm:
Represents the different measuring systems to be used in each scan.
Set Gamma: Adjusts the midtone of the image yet without losing details of the lightest and the darkest areas at the same time.
Image Information:
Givest related information of the scanned image.
5.3 SCANNING

Preview: Previews your image roughly and allocates the area to be scanned.
Scan: Executes the scan action.
Exit: Cancelsthecurrentjob.
Document Size: To designate the size of your document, just click on its icon on the margin of the preview window.
As shown in the figure below, in the Preview window, you can define the area to be scanned by dragging the four cursor auxiliary lines.

5.4 PRINTING
Connect the printer cable as shown below.

Figure 5.1 DS600C Cable Connection
- DS600C main unit
- Power Adapter
- DS600C Cable
- PC Parallel port
- Printer Cable
Caution:
Do not scan and print at the same time.
6. MAINTENANCE
Cleaning:
The DS600C is designed to be maintenance-free. However, it still needs to be cleaned occasionally to ensure optimum image quality and performance.
Procedure
- Open the document cover as shown in Figure 6-1.
- Dip a soft clean cloth with isopropyl alcohol (95%) .
- Gently wipe the document glass and the white sheet beneath the document cover to remove the dust or any toner particles.
- Close the document cover. The DS600C is now ready for use.

Figure 6-1 Cleaning
- Document Cover
- White Sheet
- Document Glass
7. TROUBLESHOOTING
If you have any operational problem, please refer to the following troubleshooting hints.
7.1 QUESTIONS AND ANSWERS
Question: Why does the scanned image always come out to be too dark?
Answer: 1) Modify the Gamma setting to 1.8 for your monitor and, when printing, set Gamma to 2.2 for your printer.
2) Use the Brightness setting of the TWAIN user interface to get a brighter image.
Question: The scanning speed of my DS600C is much slower than that of those installed at other computers. Can I speed it up?
Answer: Set you PC printer port to the ECP or EPP mode from BIOS setting.
Question: Why does my DS600C scan at a very low speed?
Answer: If you have installed Works for Windows, it will install Window Printing System (WPS) in your WIN.INI file. This will take up the printer port time remarkably. You can remove the WPS from your WIN.INI file, as follows:
From:
[MS Text Converters]
MSWorksWin=Works for Windows 2.0,C:\WINDOWS\MSAPPS\TEXTCONV\worksdos.cnwps
Works for Dos 2.0=Works for DOS 2.0 MSAPPS\TEXTCONV\workswin.com
To:
[MS Text Converters]
MSWorksWin=Works for Windows 2.0,C:\WINDOWS\MSAPPS\TEXTCONV\worksdos.cnv
Works for DOS 2.0=Works for DOS 2.0, C:\WINDOWS\MSAPPS\TEXTCONV\workswin.con
Question: The printer does not print the documents. Why?
Answer: Pass-through printing may pose a problem for some printers. It is suggested to add a second printer card for printing purpose, or you may call your authorized local dealer for further support.
Question: Does it take long for the DS600C to initialize itself?
Answer: If your printer port supports SPP mode only, it takes about two minutes for the DS600C to initialize itself. If your printer port supports ECP or EPP mode, the initialization speed is much faster, about 20 seconds.
Question: Why my GDI printer does not work with the DS600C?
Answer: Disable the Auto Scan function in the application, then your printer will function in normal working condition.
Question: Why some parallel port devices and software's keypro do not work with the DS600C?
Answer: The DS600C do pass-through printing all right, but the pass-through printing may not work if you connect the parallel port with devices other than printer. Therefore, if you would like to connect some parallel port devices other than printer, please do not connect them to the same parallel port that the DS600C currently uses. It is suggested to use other parallel ports to connect these devices or keypro. For instance, you can connect the DS600C to LPT1, and connect other parallel port devices to LPT2. Or you can add a data switch to avoid the problem.
7.2 TECHNICAL SERVICE
Technical support for Avision scanner is provided at the Avision Technical Assistance Centers. Before you contact us, please prepare the following information for a quick solution:
- Scanner serial & revision number (located on the bottom of the scanner);
- Hardware configuration (e.g., your host CPU type, RAM size, free disk space, display card, interface card);
- The name and version of your scanning software application;
The version of your scanner driver.
The brand and model name of your printer.
AVISION LABS INC.
6815 Mowry Ave. Newark CA 94560, USA
TEL: +1 (510) 739-2369
FAX: +1 (510) 739-6060
Web Site: http://www.avision.com
E-mail: support@avision-labs.com
AVISION INC.
No. 20 Creation Rd. 1, Science-Based Industrial Park, Hsinchu 300, Taiwan, R.O.C.
TEL: +886 (3) 578-2388
FAX: +886 (3) 577-7017
Web Site: http://www.avision.com.tw
Copier specifications:
Scan Type
Flatbed
Scan Resolution
up to 600 x 600 dpi
Print Resolution
Normal: 300x300dpi/360x360dpi
Quality: 600x600dpi/720x720dpi
Print Area
Max. 8.5''x 14.0'' (Legal size)
Zooming
25% up to 400%(1% increment) with 10 pre-settings (100%, 115%, 122%, 141%, 200%, 400%, 86%, 50% and Auto Zoom)
Density Control
7 levels density control (lighter/darker control)
Color Intensity Control
7 levels intensity control
Background Removal
Yes
Display
16-character LCD
Printer Supported
PCL, PostScript, GDI, Esc/p,
and BJC capable printer
Printer Interface
IEEE 1284 (bi-directional)
ECP/SPP
Power Requirement
Power Source 100 - 240V (International)
Frequency 50 - 60 Hz
Power Supply Switching Adapter
Power Consumption < 15 W
Scan Accuracy :
- Leading Edge <-1 ~ + 2mm
- Side Edge < -1 +2mm
- Skew: <1mm
- Magnification Rate Tolerance
Total -1.5% ~ +1.5%
Physical Dimension w/o ADF:
Width : 457mm (18")
Depth : 356 mm (14")
Height: 91 mm (3.6")
Weight:
3.7 kg (8.1 lbs)
Environment
Operating 10^ to 35^ ( 50^ to 95^ )
20% to 80% R.H.
Storage - 20^ to 60^ (-4°F to 140°F)
10% to 90% R.H.
Random Vibration
Unpacked non-op: 10-200Hz, 0.005 P.S.D.
(G 2 / Hz)
Package:
5-200Hz, 0.015 P.S.D. -6dB/oct
one hour in 3 major axes Bump: Severity: 25g / 6ms , 1000times in each direction
Drop Must meet NSTA specification Drop Point: 1 corner, 3 edges and 6 surfaces Total 10 times
Acoustic Noise Operating : 50 dBA or less
Electrostatic Discharge IEC 1000-4-2 ESD Standard
Safety Regulation CSA, C-UL (UL 1950, 3rd Edition) EN60950 (IEC 950)
EMI regulation FCC Part 15 Subchapter J Class A, CE Marking
Reliability Conditions
- Monthly Scan Volume 1,500 scans
- Power-on Time 8.0 hours/day 20 days/month
- Environment 20 - 30°C 40 - 70% RH (Relative Humidity)
MTBF >5000 hours
Scanner Life 5 years or 90,000 scans
MTTR < 30 minutes
Scanner specifications:
Scanner Type
Flatbed Scanner
Resolution
600 x 1200 dpi
Enhanced Resolution
9600x9600 dpi
Scan Speed
2 PPM (page per minute) at 300dpi, color, Letter size
4 PPM at 300dpi, gray, Letter size
Scan Method (CCD)
Color Charged-Coupled Device
Light Source (CCFL)
Cold Cathode Fluorescent Lamp
CPU
RISC CPU
Scan Area
Max. 8.5''x 14.0'' (Legal size)
Image Types
36-bit color(internal)
12-bit gray(internal)
1-bit Lineart, Dither, Error Diffusion
PC Interface
IEEE 1284 (bi-directional)
ECP/ECP or EPP/SPP
EC Declaration of Conformity
According to EN45014
Manufacturer's Name: Avision Inc.
Manufacturer's Address:
Avision Inc.
No. 20 Creation Rd. 1, Science- Based Industrial Park, Hsinchu 300, Taiwan, R.O.C.
declare that the product
conforms to the following Product Specifications:
Emission: EN 50081-1 (1992) EN 55022 (Class A) (Conducted Radiated) (1994)
Immunity:
EN 60555-2 (Harmonics) (1987)
EN 60555-3 (Flicker) (1987)
EN50082-1 (1992)
IEC 1000-4-2 (ESD) (1995)
IEC 1000-4-3 (RS) (1995)
IEC 1000-4-4 (EFT/Burst)
(1995)
IEC 1000-4-5 (SURGE) (1995)
EasyManual