DS300 - To scan AVISION - Free user manual and instructions
Find the device manual for free DS300 AVISION in PDF.
User questions about DS300 AVISION
0 question about this device. Answer the ones you know or ask your own.
Ask a new question about this device
Download the instructions for your To scan in PDF format for free! Find your manual DS300 - AVISION and take your electronic device back in hand. On this page are published all the documents necessary for the use of your device. DS300 by AVISION.
USER MANUAL DS300 AVISION
(D/N 250-0183-E Rev. B)
Avision Inc.
Trademarks
Microsoft is a U.S. registered trademark of Microsoft Corporation.
Windows and MS-DOS are trademarks of Microsoft Corporation.
IBM, PC, AT, XT are registered trademarks of International Business Machines Corp.
Other brands and product names herein are trademarks or registered trademarks of their respective holders.
Copyright
All rights reserved. No part of this publication may be reproduced, transmitted, transcribed, stored in a retrieval system, or translated into any language or computer language, in any form or by any means, electronic, mechanical, magnetic, optical, chemical, manual, or otherwise, without the prior written permission of the manufacturer.
Material scanned by this product may be protected by governmental laws and other regulations, such as copyright laws, the customer is solely responsible for complying with all such laws and regulations.
Warranty
The information contained in this document is subject to change without notice.
The manufacturer makes no warranty of any kind with regard to this material, including, but not limited to, the implied warranties of fitness for a particular purpose.
The manufacturer shall not be liable for errors contained herein or for incidental or consequential damages in connection with the furnishing, performance, or use of this material.
FCC Radio Frequency Interference Statement
This equipment has been tested and found to comply with the limits for a class A digital device, pursuant to Part 15 of the FCC rules. These limits are designed to provide reasonable protection against harmful interference when the equipment is operated in a commercial environment. This equipment generates, uses, and can radiate radio frequency energy and, if not installed and used in accordance with the instruction manual, may cause harmful interference to radio communication. Operation of this equipment in a residential area is likely to cause harmful interference in which case the user will be required to correct the interference at his own expense.
You are cautioned that changes or modifications not expressly approved by the party responsible for compliance could void your authority to operate the equipment.
Warning
This is a Class A product. In a domestic environment this product may cause radio interference in which case the user may be required to take adequate measures.
Table of Contents
1. INTRODUCTION. 1-1
2. SCANCOPIER INSTALLATION 2-1
2.1 PRECAUTIONS 2-1
2.2 UNLOCKING THE SCANCOPIER 2-2
2.3 CONNECTING THE CABLE 2-3
2.3.1 CONNECTING SCANCOPIER TO WORK AS A COPIER 2-3
2.3.2 CONNECTING SCANCOPIER TO WORK AS A SCANNER 2-4
2.4 DOCUMENT PLACEMENT 2-5
3. SCANCOPIER DRIVER INSTALLATION.... 3-1
3.1 INSTALLATION PROCEDURE 3-1
3.2 UNINSTALL THE SCANCOPIER DRIVER 3-3
4. USING SCANCOPIER AS A COPIER 4-1
4.1 THE CONTROL PANEL 4-1
4.2 BEFROE MAKING COPIES 4-1
4.3 MAKING SIMPLE COPIES 4-2
4.4 MAKING COPIES WITH COPY FEATURES 4-3
7. TROUBLESHOOTING 7-8
7.1 QUESTIONS AND ANSWERS 7-8
7.2 TECHNICAL SERVICE 7-12
8. SPECIFICATIONS. 8-1
1. INTRODUCTION
Congratulations on your purchase of Avision ScanCopier.
Introducing an innovative digital solution, ScanCopier produces better printing quality and is free maintenance compared with a traditional copy machine. Its high printing quality, free maintenance and affordability makes ScanCopier the best copier solution for office.
The following sections introduce the unpacking, hardware and software installation, the operation, and maintenance information to you. Please do take a few minutes to read through them to keep quality scanning result possible.
Figure 1-1 shows how the ScanCopier is packed. Please check all the items against your checklist contained in the box or against Figure 1-1. If there is any missing or damaged, please contact your nearest dealer immediately for the replacement.


Figure 1-1 ScanCopier packing
- Quick Guide, Software CD
- Power Adapter
- Cushion
- ScanCopier main unit
- ScanCopier Cable
- Carton
Package Contents

- Software CD
- Power Adapter
- ScanCopier Cable
- Quick Installation Guide
- ScanCopier main unit
2. SCANCOPIER INSTALLATION
2.1 PRECAUTIONS
- Keep the ScanCopier out of direct sunlight.
Direct exposure to the sun or excessive heat may cause damage to the unit. - Do not install the ScanCopier in a humid or dusty place.
- Be sure to use the proper AC power source.
- Place the ScanCopier securely on an even, flat surface. Tilted or uneven surfaces may cause mechanical or paper-feeding problems.
- Retain the ScanCopier box and packing materials for shipping purposes.
2.2 UNLOCKING THE SCANCOPIER
To protect the scanning head from damage during shipment, the ScanCopier is designed with a lock switch under the main unit. Therefore, before using the ScanCopier, it is required to unlock ScanCopier by moving the lock switch to the Use position.(See Figure 2-1)
Figure 2-1 Unlocking the ScanCopier

1. "Shipping" Position 2. "Use" Position
2.3 CONNECTING THE CABLE
2.3.1 CONNECTING SCANCOPIER TO WORK AS A COPIER
Connect the power cable and signal cable as shown below.

Figure 2-2 Connect ScanCopier to a printer
- ScanCopier main unit
- "To Printer" port
- Printer Cable
- Power Jack
- Power Adapter
- Printer
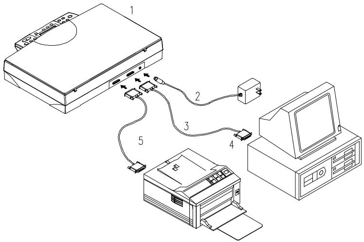
2.3.2 CONNECTING SCANCOPIER TO WORK AS A SCANNER

- ScanCopier main unit
- Power Adapter
- ScanCopier Cable
- PC Parallel Port
- Printer Cable
Figure 2-3 ScanCopier Cable Connection
2.4 DOCUMENT PLACEMENT
As shown in Figure 2-4, place the document on the glass with the text facing away from you.

Figure 2.4 Document Placement
- Document Cover
- Home Position Mark
- Document
- Document Glass
- Control Panel
3. SCANCOPIER DRIVER INSTALLATION
To run ScanCopier at optimum speed, the following minimum requirements are recommended:
- IBM compatible PC 386/486, Pentium or later;
- Microsoft Windows 3.1,Windows 95, Windows NT;
- One printer port available (enhanced parallel port recommended);
- Megabytes of available hard disk space for installation;
- Megabytes of RAM (16 Megabytes or higher recommended);
A video graphics array (VGA) monitor; - A Microsoft Windows-compatible pointing device (e.g., mouse);
- A CD ROM drive.
3.1 INSTALLATION PROCEDURE
Installation procedures of ScanCopier driver are as follows:
- Start Windows 3.1 or Windows 95.
- Insert software CD into your CD ROM drive.
In Windows 3.1 or higher
- From the File Menu, choose RUN, type d:\driver\scancopy.exe (d represents the letter for your current CD-ROM drive). Click O.K.
In Windows 95 or Windows NT
-
Press the Start button, choose RUN, type d:\driver\scancopy.exe (d: the CD-ROM drive in use), and then click O.K. (See Figure 3-1,3-2)
-
Follow the on-screen instructions to complete the installation.

Fig. 3.1

Fig. 3.2
3.2 UNINSTALL THE SCANCOPIER DRIVER
You can uninstall the ScanCopier driver by selecting Start>Programs>ScanCopier and double clicking on the Uninstall command from the ScanCopier.
4. USING SCANCOPIER AS A COPIER
4.1 THE CONTROL PANEL

- Message Display window: Display current settings.
- Background Remove: Set "Background Remove" on to print your document without the background color or off to print your document with the background color.
- Paper Size: Select your output paper size from A4, Letter, or Legal.
- Lighter/Darker: Lighten or darken your image. Increase level of brightness or darkness by the () button. Decrease level of brightness or darkness by the () button.
- Reduce/Enlarge: Reduce, enlarge or auto zoom your original document. Press to select the preset ratio: 100% , 115% , 122% , 141% , 200% , 86% , and 50% . Choose your desired ratio or adjust the ratio in 1% increment by the () or () button. Auto zoom: Automatically scale your original document to fit your output paper.
- Scan: Press to start the scanning-assistant application - Quick Selector and other application software.

- Copy: Press to start copy.
- | Power/Copy LED: The LED indicator turns green when power is on and turns flashing during copying.
- All Clear: Clear your current settings and return to the default settings.
- Copy Quality: Select your Copy quality: Normal (300 dpi), or Quality (600 dpi).
- Copy Count: Choose the number of copies from 1 to 99. Increase the value of the numeric entries by the () button or decrease the value by the () button.
- Select: Select your printer model. (Currently ScanCopier supports only PCL printer, therefore, as long as your printer has PCL emulation, it is not necessary to select printer model.)
- : Go to the previous item displayed in the Message Display window or increase the value of the numeric entries.
- : Go to the next item displayed in the Message Display window or decrease the value of the numeric entries.
- Printer Select: Select your printer model. (Currently ScanCopier supports only PCL printer, therefore, as long as your printer has PCL emulation, it is not necessary to select printer model.)
Tips:
To use other settings than the one displayed in the Message Display window, simply repress the button of that setting to
select other options. (For example, when you choose paper size with the Paper Size button, if the Message Display window shows A4 and you prefer Letter, you can just press the Paper Size button again to select it.)
Note:
(1). An item message in the Message Display Windows ending with a “*” means the last setting.
(2). The default settings are: Letter Size, Normal Print Quality, 100% ratio.
IMPORTANT!
PRINTER MEMORY
To make good use of ScanCopier, it is recommended to install at least 1 MB of memory in your printer. If you want to print your document using Quality mode - 600 dpi as your Copy Quality, you need to add more RAM for your printer as using this feature requires more processing time and memory.
We strongly recommend you to refer to the following table to ensure a successful print out.
| Copy Quality | Document Size | Min. Printer Memory |
| Normal | Letter | 1 MB |
| Legal Size | 2 MB | |
| Quality | Letter Size | 4 MB |
| Legal Size | 5 MB |
If there is not enough memory in your printer, you may probably encounter the following results:
- The printer does not print.
- The Printing quality is bad.
4.2 BEFROE MAKING COPIES
ScanCopier provides three paper sizes, A4, letter, and legal. Check or select the paper size to match your paper supply to ensure smooth operations.
To check or select paper size,
- Press the Paper Size button. The Message window displays .A4 *. (default). If your current paper supply is A4 size, you can skip the following steps. Otherwise, please do the following steps.
-
Repress the Paper Size button. The Message window displays .Letter ..
-
If your current paper supply is letter size, please press the Select button. The Message window now displays .Letter *.. This means you have successfully changed the default size to letter.
- If legal size is your current paper supply, please repress the Paper Size button. The Message window displays .Legal .. Press the Select button to change the default size to Legal.
> Note:
Each time when you unplug ScanCopier to make copies, the ScanCopier automatically returns to the factory default setting. As a result, you may have to change the factory default setting each time when you power on the ScanCopier.
4.3 MAKING SIMPLE COPIES
The Operating Steps:
- Place your original face down on the document glass.
- Press the Copy button. The Message window displays "Copy..." and the Ready LED is flashing.
- Within a few seconds, the copying is done. The Message window then displays "1 Copy @100%" and the Ready LED is now steadily on until next task.
4.4 MAKING COPIES WITH COPY FEATURES
REMOVING ORIGINAL BACKGROUND
If your original comes with color background, you can remove the background to sharpen your text.
The Operating Steps
- Place your document face down on the document glass.
- Press the "Background remove" button. The Message window displays "Background remove on".
- Press the Copy button. The printout shows the background is removed and the text become more clear and sharp.

Before "Background remove on"
How to use Quick Selector
Quick Selector is easy to learn and use. The pretest document to various scanning applications isexamples of how to scan and export your imageMGI PhotoSuite which came with the scanner.)if you want to scan and export your image or docif you want to export in OCR, click OCR button
After "Background remove on"
ENLARGING OR REDUCING YOUR ORIGINAL
Like a normal copier, ScanCopier also features auto enlargement/reduction function to resize your original.
The Operating Steps:
- Place your document face down on the document glass.
- Press the "Reduce/Enlarge" button, the Message window displays "Ratio:100%".
- Repress the button to see more options. For example, if you need 150% enlargement, select "141%" then press the " " button to increase the percentage to 150 in 1% increment.
- Press the Copy button. And then the printout shows enlargement of 150% of your original.

Ratio:100%

Ratio: 150%
Note:
- Another option to reduce your original is to firstly repeat the enlargement or reduction steps 1 to 3 and then press the “ ” button to decrease the percentage in 1 % increment.
- The magnification rate is up to 400% while the reduction rate limits to 25% .
Auto Zoom is a convenient function to resize your original without giving additional thought to whether the magnification or reduction will be larger than the existing paper size.
The Operating Steps:
- Repeat the above Enlargement Step 1 & 2.
- Repress the "Enlarge/Reduce" button until the Message window displays "Auto Zoom".
- Press the Copy button. The printout shows your original automatically scale to your paper size.

Before Auto Zoom (Ratio:100%)

After Auto Zoom
Copy density refers to the degree of darkness which the digital copier has reproduced. There are times when your original is unsatisfactorily darker or lighter. It is a great advantage using the density feature to compensate the unsatisfactorily original.
The Operating Steps:
- Place your original face down on the document glass.
- Press the "Lighter/Darker" button. The Message window displays the default degree of darkness.
- Repress the "Lighter/Darker" button to select other level. Or you may press the " " to increase the level, press the " " button to decrease the level.
- Press the Copy button. Your printout shows the darkness or brightness has been compensated.
CHOOSING YOUR COPY QUANTITY
The Operating Steps:
- Place your original face down on the document glass.
- The default copy count is 1. If you need to make 3 copies, for example, press the "Copy Count" button and the Message window displays "2 copy @100%".
- Repress the "Copy Count" button and the Message Window displays "3 copy ..."
- Press the Copy button. After a few seconds, you have 3 copies from your printer.
> Note:
- Another option to change your copy quantity is to press the “ ” button to increase the number or the “ ” button to decrease the number.
- The maximum copy quantity is 99 at one time.
ENHANCING YOUR COPY QUALITY
ScanCopier provides "Quality mode" option to improve your copy quality particularly when your original comes with a photo in it. Quality mode allows your printout impressively reveals more image照片) details.
The Operating Steps:
- Place your document face down on the document glass.
- Press the "Copy Quality" button. The Message window displays "Normal mode".
- Repress the "Copy Quality" button and the Message window displays "Quality mode".
- Press the Copy button. The copying begins processing with the Quality mode.
See the following photo/text reproduction between normal copier v.s. ScanCopier in quality mode.

Make copies with a normal copier

Make copies with a ScanCopier in quality mode
> Note:
To proceed copies using quality mode, make sure your printer has at least 4M memory as this requires more processing time.
MAKING COPIES OF A 3D OBJECT
The digital copy solution improves your copy reproduction significantly and even makes a 3D object copies amazingly clear.
The Operating Steps:
- Place your 3D object on the document glass.
- Press the "Copy Quality" button and the Message window displays "Normal mode".
- Repress the "Copy Quality" and the Message window displays "Quality mode".
- Press the Copy button. Your 3D object copy is done.

The 3D copy with a normal copier

The amazing 3D copy with ScanCopier
ScanCopier features automatic power saving without unplugging the power cable. If you have not used ScanCopier over an hour, the ScanCopier automatically turns into power saving status to save the power. At this moment, the Message window displays "Power Saving..." while the Ready LED is flashing.
To resume the ready status, press any one of the button on the Control Panel. The Message window displays "Warming up..." and then "1 Copy @100%, the ready status. The Ready LED now turns steadily on.
Tips:
-
About the "Select" button: The major function of the "Select" button is to select the printer model. However, as long as your printer model has PCL emulation, it is not required to select the printer model - to touch the "Select" button.
-
About the default settings: The default settings can be easily recognized by the ending “*” mark when the setting is displayed in the Message display window. It is OK yet not recommended if you want to change the default setting. To change the factory default setting, simply press the “Select” button after your desired setting is shown in the Message display window. After one minute, the setting will be automatically reverted to the factory default setting.
Scanning Images from within an Application (TWAIN)
-
Open your application and choose Select Source from the File menu. If the Select Source menu options are not available from the File menu, see the user guide of your application to learn how the TWAIN link is used.
-
A dialog box appears containing the different TWAIN sources that you can choose from to bring an image into your application.
-
Select ScanCopier /32 Vx.xx as the source.

-
When you have used the dialog box to select a different source, you will need to select ScanCopier as the source again before you can reuse the ScanCopier.
-
Place the image to be scanned face down on the glass.
-
From the File menu, select Acquire.
- The TWAIN user interface will pop up on the screen. Click on the Preview or Scan button to get the image.
The TWAIN user interface:

5.1 IMAGE TYPE
The ScanCopier provides five image types as explain in below:

Scanning Source
Two scanning sources are provided- flatbed as well as transparency.
Line art
Line art presents the image in black and white only and there are no intermediate shades of gray in between.
Halftone
In addition to the black and white display, Halftone can present a somehow gray shade of image by using different size of dots.
Error Diffusion
While taking up but a minimum storage space, error diffusion gives good image texture and excellent image details.
Gray (Internal 1024 levels of gray scale)
10-bit Gray presents a 1024 shades of gray in an image.
Color (Internal one billion colors)
The 30-bit True Color presents give much more tonal range and details in a color image.
5.2 SCANNING PARAMETERS & IMAGE CONTROL

Resolution: The number of dpi (dots per inch) that the ScanCopier uses for a scan. Usually the greater the number, the higher the resolution. Yet up to a certain level, the resolution will not be visually increased but the disk space will be increased.
Brightness: Adjusts the lightness or darkness of an image. The higher the value, the brighter the image.
Contrast: Adjusts the range between the darkest and the lightest shades in the image. The higher the contrast, the bigger the different gray scales.

Auto Level: Optimizes the scanned image.
Auto Area: Automatically sets the whole document as the scan area, no matter what its size.
Descreen: Eliminates the Moire patterns commonly found in printed matter.

Before descreen

Afterdescreen
Color Matching:
Adjusts the color quality of the image to make it close to the original. This function uses default parameters to adjust the image.
Reset: Resets the scanning parameters you set.
Invert: The invert command reverses the brightness and the color in the image. For color images, each pixel will be changed into its complementary color at the command of Invert.
Calibration: Defines Brightness for the ScanCopier. Users are recommended to calibrate the light source if the scanned image looks undesirable or comes out to be too dark.
Quality/Speed Mode:
Users can select the mode to perform scanning according to their own need. Select quality mode scanning if your emphasis is on the quality of the scanned image. Or you can select speed mode scanning if you want to speed up the scanning process.
Pixel/Inch/Cm:
Represents the different measuring systems to be used in each scan.
Set Gamma: Adjusts the midtone of the image yet without losing details of the lightest and the darkest areas at the same time.
Image Information:
Givest related information of the scanned image.
5.3 SCANNING

Preview: Previews your image roughly and allocates the area to be scanned.
Scan: Execute the Scans action.
Exit: Cancelsthecurrentjob.
Document Size: To designate the size of your document, just click on its icon on the margin of the preview window.
As shown in the figure below, in the Preview window, you can define the area to be scanned by dragging the four cursor auxiliary lines.

5.4 PRINTING
Connect the printer cable as shown below.

Figure 5.1 ScanCopier Cable Connection
- ScanCopier main unit
- Power Adapter
- ScanCopier Cable
- PC Parallel port
- Printer Cable
Caution:
- Be sure to power on the ScanCopier if you want to do pass-through printing.
- Do not scan and print at the same time.
- If your PC does not support EPP mode or have pass-through compatibility problem, please contact your authorized local dealer for an EPP card or an additional interface card.
6. MAINTENANCE
Cleaning:
The ScanCopier is designed to be maintenance-free. However, it still needs to be cleaned occasionally to ensure optimum image quality and performance.
Procedure
- Open the document cover as shown in Figure 6-1.
- Dip a soft clean cloth with isopropyl alcohol (95%) .
- Gently wipe the document glass and the white sheet under the document cover to remove the dust or any toner particles.
- Close the document cover. The ScanCopier is now ready for use.

Figure 6-1 Cleaning
- Document Cover
- White Sheet
- Document Glass
7. TROUBLESHOOTING
If you have any operational problem, please check the following troubleshooting hints.
7.1 QUESTIONS AND ANSWERS
Question: Why the scanned image always comes out to be too dark?
Answer: 1) Modify the Gamma setting to 1.8 for your monitor and, when printing, set Gamma to 2.2 for your printer.
2) Use the Brightness setting of the TWAIN user interface to get a brighter image.
Question: The scanning speed of my ScanCopier is much slower than that of those installed at other computers. Can I speed it up?
Answer: Set you PC printer port to the EPP mode from BIOS setting.
Question: Why does my ScanCopier scan at a very low speed?
Answer: If you have installed Works for Windows, it will install Window Printing System (WPS) in your WIN.INI file. This will take up the printer port time remarkably. You can remove the WPS from your WIN.INI file, as follows:
From:
[MS Text Converters]
MSWorksWin=Works for Windows 2.0,C:\WINDOWS\MSAPPS\TEXTCONV\worksdos.cnv.wps
Works for Dos 2.0=Works for DOS 2.0 MSAPPS\TEXTCONV\workswin.con.wps
To:
[MS Text Converters]
MSWorksWin=Works for Windows 2.0,C:\WINDOWS\MSAPPS\TEXTCONV\worksdos.cnv
Works for DOS 2.0=Works for DOS 2.0, C:\WINDOWS\MSAPPS\TEXTCONV\workswin.con
Question: The printer does not print the documents. Why?
Answer: Pass-through printing may pose a problem for some printers. It is suggested to add a second printer card for printing purpose, or you may call your authorized local dealer for further support.
Question: Does it take long for the ScanCopier to initialize?
Answer: If your printer port supports SPP mode only, it takes about two minutes for the ScanCopier to initialize. If your printer port supports EPP mode, the initialization speed is much faster, about 20 seconds.
Question: Why sometimes pass-through printing does not work at all?
Answer: It may be that you fail to power on the ScanCopier. When doing pass-through printing, please be sure to power on the ScanCopier. Else, without power, the ScanCopier can not transfer the printing data/signals to the printer.
Question: Why my GDI printer does not work with the ScanCopier?
Answer: Disable the Auto Scan function in the application, then your printer will function in normal working condition.
Question: Why some parallel port devices and software's keypro do not work with the ScanCopier?
Answer: The ScanCopier do pass-through printing all right, but the pass-through printing may not work if you connect the parallel port with devices other than printer. Therefore, if you would like to connect some parallel port devices other than printer, please do not connect them to the same parallel port that the ScanCopier currently uses. It is suggested to use other parallel ports to connect these devices or keypro. For instance, you can connect the ScanCopier to LPT1, and connect other parallel port devices to LPT2. Or you can add a data switch to avoid the problem.
7.2 TECHNICAL SERVICE
Technical support for Avision scanner is provided at the Avision Technical Assistance Center. Before you contact us, please prepare the following information for a quick solution:
- Scanner serial & revision number (located on the bottom of the scanner);
- Hardware configuration (e.g., your host CPU type, RAM size, free disk space, display card, interface card);
- The name and version of your scanning software application;
The version of your scanner driver.
The brand and model name of your printer.
AVISION LABS INC.
6815 Mowry Ave. Newark CA 94560, USA
TEL: +1 (510) 739-2369
FAX: +1 (510) 739-6060
Web Site: http://www.avision.com
E-mail: avision@avision-labs.com
AVISION INC.
No. 20 Creation Rd. 1, Science-Based Industrial Park, Hsinchu 300, Taiwan, R.O.C.
TEL: +886 (3) 578-2388
FAX: +886 (3) 577-7017
Web Site: http://www.avision.com.tw
All specifications are subject to change without notice.
Scanner Type: Flatbed
Optical Resolution: 300 dpi x 600 dpi (H^*V)
Copy Resolution: 600 dpi x 600 dpi
Maximum Resolution: 9600 dpi
Scanning Modes: Black & White mode
Halftone mode (64-step)
Error diffusion
Grayscale(10 bits)
Color(30 bits)
Document Size A4, B5, A5, business card
Interface: Printer port (supports
SPP/EPP for PC)
Power Source: 100Vac~240Vac,
50 60Hz external
Power Consumption: 18 watts
Dimensions: (WxDxH) 356 x 457 x 91 (mm)
Weight: 3.7kg (8.1 lbs)
EC Declaration of Conformity
According to EN45014
Manufacturer's Name: Avision Inc.
Manufacturer's Address: No. 20 Creation Rd. 1, Science- Based Industrial Park, Hsinchu 300, Taiwan, R.O.C.
declare that the product
Model Number : ScanCopier
conforms to the following Product Specifications:
Emission: EN 50081-1 (1992) EN 55022 (Class A) (Conducted Radiated) (1994)
Immunity:
EN 60555-2 (Harmonics) (1987)
EN 60555-3 (Flicker) (1987)
EN50082-1 (1992)
IEC 1000-4-2 (ESD) (1995)
IEC 1000-4-3 (RS) (1995)
IEC 1000-4-4 (EFT/Burst) (1995)
IEC 1000-4-5 (SURGE) (1995)
Date: December 1995
EasyManual