EX 823 - Coffee machine WHITE & BROWN - Free user manual and instructions
Find the device manual for free EX 823 WHITE & BROWN in PDF.
User questions about EX 823 WHITE & BROWN
0 question about this device. Answer the ones you know or ask your own.
Ask a new question about this device
Download the instructions for your Coffee machine in PDF format for free! Find your manual EX 823 - WHITE & BROWN and take your electronic device back in hand. On this page are published all the documents necessary for the use of your device. EX 823 by WHITE & BROWN.
USER MANUAL EX 823 WHITE & BROWN
Congratulations for having chosen this WHITE AND BROWN
product, and thank you for trusting us. For your comfort and safety, your appliance has been checked at every step of manufacturing and has successfully gone through all our tests of quality.
WHITE AND BROWN creates original products to please you, as far as design and easiness to use are concerned in order to give you complete satisfaction.
CAUTION
PLEASE READ ALL THESE INSTRUCTIONS CAREFULLY BEFORE USING THIS APPLIANCE.
- Make sure that the voltage rating on the type plate corresponds to your main voltage.
- Never leave the appliance unsupervised when in use.
- Keep out of children or incompetent persons and do not allow them to operate this appliance.
- Only use the appliance for domestic purposes and in the way indicated in these instructions.
- Never immerse the product in water or any liquid for any reasons. This appliance must be placed in a dry environment.
- Do not use if you have wet hands.
- Only use attachments supplied with the appliance or recommended by the manufacturer.
- Never use the appliance on or near hot surfaces.
- Never disconnect the appliance by pulling the cord.
- Before storing or cleaning the appliance, make sure that it is unplugged from the power supply and that it is completely cooled.
- Do not clean the appliance with abrasive chemicals.
- Regularly check the cord. Never use the appliance if cord or appliance show any sign of damage.
- All repairs made by a non-qualified person can be dangerous; in this case guarantee conditions would cancel. As all
electrical products, a competent electrician must repair it.
- Use only cool water to fill the tank
- At certain time, and due to the pressure within the coffee maker, there may be some water or steam coming out of the coffee spout.
- Before first use, use several times only with water, this to clean the system out completely.
- At first use, the boiler is empty. Press the button (P) to launch the pump. As soon as water comes out of the filter ring housing, press again the button (P).
- If you wish your first coffee to be hotter, place the filter in the appliance and allow one or two cupfuls of water to flow. This way you shall warm up the components of the coffee maker.
-
Do not use without water inside the appliance. This may damage the pump.
-
A slight noise and some vibrations when the coffee maker is working is absolutely normal.
THE MANUFACTURER WILL NOT ASSUME ANY RESPONSIBILITY IN CASE OF NON ADHERENCE TO THESE RECOMMENDATIONS.
SAVE THESE INSTRUCTIONS CAREFULLY
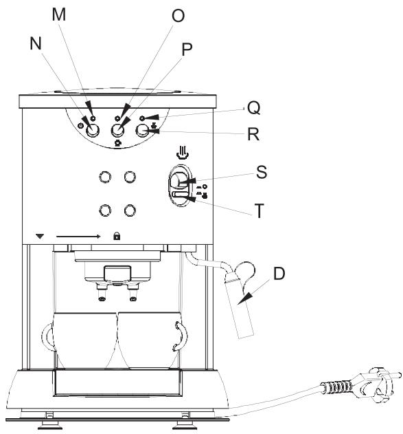
DESCRIPTION OF THE APPLIANCE
A. Housing
B. Water Tank
C. Water Tank Cover
D. Steam duct
E. Anti drip tray
F. Anti plate
G. Base
H. Handle
I. Funnel bracket
J. Bar cream disc
K. Filter
L. Scoop and Presser
M. Power Light
N. Power Button
O. Coffee Light
P. Brewing Button
Q. Steam Light
R. Steam Button
S. Steam switch
T. Stop button
U. Silicon Gasket


HOW TO OPERATE TO BREW COFFEE.
STEP 1: Open the Water Tank Cover (C) and take out the Water Tank (B). Fill Water Tank with appropriate fresh, cold water and replace it, and then close the Water Tank Cover. Alternatively, use the other container to directly fill appropriate water into the Water Tank without taking it out, and then go to the Step2. [NOTE: Always observes Water Tank (B) to make sure adequate water within it during the brewing process.]
STEP 2: Plug Power Cord to the power and press down Power Button (N), then the Power Light (M) and the Coffee Light (O) will come on simultaneously.
USING COFFEE POWDER:
STEP 3: Using coffee powder. Please note that there are two marks in the filter, the below mark is 7g coffee Powder mark, the above one is 14g .Prepare the coffee powder and fit the appropriate amount into the Filter (K). Tamp the coffee powder with Presser(L).

Using 7g coffee powder

Using 14g coffee powder
USING POD:

First place the gasket in the bottom of filter, then put the coffee pod. The coffee light .(O) will go off once temperature reaches certain value, now please insert the Valve cover(J) and Filter(k) into the Funnel Bracket (I) in the order indicated (Fig.1).
NOTE: There are three protrusions in the edge of the filter and three gaps in the edge of Funnel bracket, please let protrusion match gap so to have them fitted well, And then fit the Funnel bracket (I) back to the unit and rotate counter-clockwise for steady fitting (Fig.2).

ATTENTION: Once happen unfavorable fitting, repeat the fitting operation once more. Usually, the position under the mark is the place which the funnel bracket is clocked in, the section is the scope which the Funnel bracket fall in when fitting ready. Put the Espresso Cups (100ml) in the middle of the Anti drip tray (E).
STEP 4: Press down Brewing Button (P) to commence brewing coffee. To stop and continue the brewing, just press down the Brewing Button (P) again. Once the Coffee Light (O) comes on, it alerts the operator the water temperature has become lower and unsuitable for the brewing any longer, now please press down Brewing Button (P) to stop the brewing. [ATTENTION: Commence to brew coffee only after the Coffee Light (O) is out, and stop the brewing once the Coffee Light (O) is on.
STEP 5: Remove the Espresso cup and slowly remove the Funnel bracket (I), which could gradually reduce the pressure of the Filter (K) and avoid spilling coffee everywhere. Finally clean residues in the Filter (K) and the Anti drip tray (E) completely.
HOW TO OPERATE TO FROTH MILK.
STEP1:Repeat the above procedure 1,2
STEP 2: Press the Steam Button (R); the Steam Light (Q) will be flashing. Now slight water will be coming out of the Steam duct (D).
STEP 3: During period of waiting steam generation, prepare the fresh milk. Firstly tip the appropriate fresh milk to a container. When the Coffee Light (O) comes out, the machine is ready for frothing milk.
STEP 4: Press the Steam Switch (S) ON, wait for several seconds to let the water accumulate in the Steam duct (D) run out for cleaning purpose. Then press down the Steam Switch (T) OFF to terminate the cleaning process.


STEP 5: Rotate Steam duct (D) outwards closing to the right
corner. Then move the container to the Steam duct (D) and locate this Steam duct (D) in the middle of this container, and immerse the bottom end of the duct into the fresh milk. (Fig.4).
STEP 6: Press down the Steam Switch (S) ON to commence the frothing.
[ATTENTION: When milk foam starts to create, operator should lower down somewhat the container to attain the favorable
frothing effects and avoid any foam likely from overflowing out of the mouth of the container]. After achieving the expected
frothing, press down the Steam Switch (T) OFF to turn off the steam.
STEP 7: Rotate the Steam duct (D) inwards, and repeat the above procedure 4 for cleaning purpose.
STEP 8: Press Power Button (N) to disconnect the power, empty Anti drip.
HOW TO OPERATE TO HOT WATER
STEP1:Repeat the above procedure 1,2
STEP 2: Put a cup under the steam duct.
STEP 3: Press down the steam Switch (S) ON, and press down Brewing Button (P), the pump will work. Then the steam will come our from the steam duct into the cup at first, then the hot water will come from the steam duct into cup.
STEP 4: The hot water will come out until the water in water tank is out if the steam switch and the Brewing Button are in ON position. If you want terminate the hot water, just put either the Steam Switch or the Brewing Button in OFF position.
ATTENTION: During the operation, the temperature of steam duct and base of boiler is very high; don't touch them with your hand.
To get optimal result, before every usage, please fit the empty funnel bracket into the unit properly, and use only water in the first cycle, then throw away the water in the cup.
PERIODICAL CLEANING
CLEANING THE VALVE COVER. (J). FIG. 5.
- It is necessary to periodically separate the two parts of the disc and wash them under running water. And check the hole, which is in the middle of the disc. If it has been clogged, clear off with a toothpick or the like.
CLEANING THE FILTER (K) CONTAINING THE GROUND COFFEE. FIG. 6.
- Make sure that the tiny holes aren't blocked and if necessary clean them with a small brush.

Fig. 5

Fig. 6
CLEANING THE FILTER RING HOUSING.
- The sediment of coffee grounds may form in the housing where the filter ring is placed. This can be removed with a toothpick or the like.

- Before cleaning, make sure the appliance is unplugged from the mains.
- Clean the tray, the filters and the filter-holder with soap and water.
- The appliance body may be cleaned with a slightly damp cloth.
- Do not use abrasive or chemical products which may damage the surfaces of the appliance.
- It is convenient to descale the appliance at least once a year. To do so, use aScaler apt for coffee machines.
- After treatment, rinse the conducts several times by operate the appliance just with water.
- To clean the steamer, remove the rubber piece by pulling downwards.

Instructions on environment protection
Do not dispose of this product in the usual household garbage at the end of its life cycle; hand it over a collection point for the recycling of electrical and electronic appliances. The symbol on the product, the instructions for use or the packing will inform about the methods of disposal.
The materials are recyclable as mentioned in its marking. By recycling or others forms of re-utilization of old appliances, you are making an important contribution to protect our environment.
Please inquire at the community administration for the authorized disposal location.
EasyManual