JUNGLE GYM - Fitness Equipment CYBEX INTERNATIONAL - Free user manual and instructions
Find the device manual for free JUNGLE GYM CYBEX INTERNATIONAL in PDF.
User questions about JUNGLE GYM CYBEX INTERNATIONAL
0 question about this device. Answer the ones you know or ask your own.
Ask a new question about this device
Download the instructions for your Fitness Equipment in PDF format for free! Find your manual JUNGLE GYM - CYBEX INTERNATIONAL and take your electronic device back in hand. On this page are published all the documents necessary for the use of your device. JUNGLE GYM by CYBEX INTERNATIONAL.
USER MANUAL JUNGLE GYM CYBEX INTERNATIONAL
Product Number 17001

17071 Single Handle Lat Pull and 17081 Dual Handle Lat Pull
Description
Ref

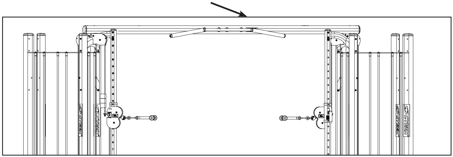
17091 Adjustable Cable with 17100 Crossbar
Description
Ref
PRE-ASSEMBLY (French)
17100 Cable Cross Tube

1


Entretien
REMARQUE: Les inspections
et les réparations
ne doit être
effectues que par
du personnel formé.
- Johnson Paste Wax
- Mirror Glaze #10 Plastic Polish (de Mirror Bright Polish Co.)
- Novus Plastics Polish #1, #2 (de Novus Inc.)
EasyManual