16021 45 DEGREE BACK - Fitness Equipment CYBEX INTERNATIONAL - Free user manual and instructions
Find the device manual for free 16021 45 DEGREE BACK CYBEX INTERNATIONAL in PDF.
User questions about 16021 45 DEGREE BACK CYBEX INTERNATIONAL
0 question about this device. Answer the ones you know or ask your own.
Ask a new question about this device
Download the instructions for your Fitness Equipment in PDF format for free! Find your manual 16021 45 DEGREE BACK - CYBEX INTERNATIONAL and take your electronic device back in hand. On this page are published all the documents necessary for the use of your device. 16021 45 DEGREE BACK by CYBEX INTERNATIONAL.
USER MANUAL 16021 45 DEGREE BACK CYBEX INTERNATIONAL
Cybex® Free Weight 45^ Back Extension Owner’s and Service Manual
Strength Systems
Part Number 16021-999-4 B
CYBEX
Cybex® Free Weight 45^ Back Extension Owner’s and Service Manual
Strength Systems
Part Number 16021-999-4 B
Cybex® and the Cybex logo are registered trademarks of Cybex International, Inc.
DISCLAIMER: Cybex International, Inc., makes no representations or warranties regarding the contents of this manual. We reserve the right to revise this document at any time or to make changes to the product described within it without notice or obligation to notify any person of such revisions or changes.
Copyright 2010, Cybex International, Inc. All rights reserved. Printed in the United States of America.
10 Trotter Drive Medway, MA 02053 • 508-533-4300 • FAX 508-533-5183
www.cybexinternational.com • techhelp@cybexintl.com • 16020-999-4 B • June 2010
Table of Contents
1 Safety
Safety. 1
Warning/Caution Decals 2
Regular Maintenance Activities 3
2 Exercise
Intended Use 3
3 Customer Service
Contacting Service. 4
Ordering parts 4
Return Material Authorization (RMA). . . . 5
Damaged Parts 5
4 Assembly
Tools Required. 6
5 Maintenance
Daily Procedures 7
Weekly Procedures 7
6 Service
Parts Lists 10
Exploded-View Diagram 10
1 - Safety
Safety

Read the Owner's Manual carefully before assembling, servicing or using Cybex equipment.
WARNING: Serious injury could occur if these safety precautions are not observed:
User Safety Precautions
- Obtain a medical exam before beginning any exercise program.
- Stop exercising if feeling faint, dizzy or experiencing pain and consult your physician.
- Obtain instructions before using. Lisez les instructions avant l'utilisation.
- Read and understand the owner's manual and all warnings posted on the machine before using.
- Keep all children (12 and under) away. Teenagers (13 and over) and disabled must be supervised. Garder tous les enfants (de 12 ans et moins) éloignés. Les adolescents (de 13 ans et plus) et les handicapés doivent être surveillés.
Use a spotter. - Keep body and clothing free from and clear of all moving parts.
- Use the machine only for the intended use. DO NOT modify the machine.
- Inspect machine prior to use. DO NOT use if it appears damaged or inoperable.
- DO NOT attempt to fix a broken or jammed machine.
Report any malfunctions, damage or repairs to the facility. - Replace any warning labels if damaged, worn or illegible.
Facility Safety Precautions
- Read the Owner's Manual carefully before assembling, servicing or using this equipment.
- Make sure that each machine is set up and operated on a solid level surface. Do not install equipment on an uneven surface.
- Make sure that all users are properly trained on how to use this equipment.
- Make sure there is enough room for safe access and operation of this equipment.
- Perform regular maintenance checks on this equipment. Also pay close attention to all areas most susceptible to wear.
- Immediately replace worn or damaged components. If unable to immediately replace worn or damaged components then remove from service until the repair is made.
NOTE: It is the sole responsibility of the user/owner or facility operator to ensure that regular maintenance is performed.

Warning/Caution Decals
Warning decals indicate a potentially hazardous situation, which, if not avoided, could result in death or serious injury.
Caution decals indicate a potentially hazardous situation, which, if not avoided, could result in minor or moderate injury.
The caution and warning decals are shown on this page.


45^ Back Extension - 16021
DESCRIPTION
PART NO.
A. Warning Decal............5220-364-4
B. Caution Decal. 8500-025-4

CAUTION
Failure to correctly adjust could result in personal injury.
Always fully engage the detent pin before use to avoid injury.
8500-025-4A
Regular Maintenance Activities
Preventative maintenance activities must be performed to maintain normal operation of this equipment. Keeping a log sheet of all maintenance actions will assist you in staying current with all preventative maintenance activities.

WARNING: Equipment found to have worn or damaged components must be removed from service until repair(s) is made. Failure to do so could result in injury.
Daily
- Clean upholstery.
Weekly
- Inspect all nuts and bolts for looseness. Tighten as required.
- Check for worn handles, and worn warning labeling. Replace all worn parts immediately.
2 - Exercise
Intended Use
The intended use of this equipment is to aid or improve general physical fitness and exercise. For Comercial use.
Before you workout
Prior to starting a training program, get a complete physical exam to make sure your physician agrees that you are ready. Always warm-up your muscles before a workout. A 5 - 10 minute cardio warm-up followed by slow stretching (no bouncing) is recommended. Continue with a lighter set (50% of normal) of intended exercises. Start your program conservatively. Choose weights you can easily lift in the first weeks. Always perform the full range of motion unless you have an injury, then consult a professional trainer. Know the terms. A "repetition" (rep) is defined as one complete movement through an exercise, returning to the start position. A "set" is a continuous series of reps usually between 6-15.
During your workout
The number of reps you perform in a set depends on your goal. To build muscle and strength, do fewer reps (6 - 8) with heavier weight. To build endurance, do more reps (12-15) with lighter weight. Never "cheat" by shortening the range of motion, bouncing the weight, or shifting your posture. This may allow you to lift more weight, but it is dangerous and less effective. Catch your breath between sets, then continue. When "circuit training" move briskly to the next exercise; when doing multiple sets on one exercise, rest 45 - 90 seconds before the next set. Work up to three sets per exercise. When you can perform the desired reps and sets for any exercise, increase the weight by a half or full plate.
Designing your workout
Circuit training is a good way to start. This involves doing one set per exercise, then moving to the next exercise, pausing only briefly between them (to keep your heart and breath rate up) until completing a balanced "circuit" of 8 - 10 exercises for your entire body. Then repeat the circuit. After several weeks, you can move into multiple sets (3 in a row) per exercise if you choose. For both of these, exercise the complete body every other day, up to three times a week. NOTE: A full day's rest, plus proper nutrition and hydration are required for optimum muscle-building or toning. Alternatively, work out half your body one day (e.g., the upper body) and the other half the following day (e.g. the lower body). At the end of your workout, cool down in a similar way to your warm-up.
3 - Customer Service
Contacting Service
Hours of phone service are Monday through Friday from 8:30 to 6:00 p.m Eastern Standard Time.
For Cybex customers living in the USA, contact Cybex Customer Service at 888-462-9239.
For Cybex customers living outside the USA, contact Cybex Customer Service at 508-533-4300 or fax 508-533-5183.
Find information on the web at www.cybexintl.com or e-mail at techhelp@cybexintl.com.
Ordering Parts
Fax orders to 508-533-5183. To speak with a customer service representative, call 888-462-9239 (for customers living within the USA) or 508-533-4300 (for customers outside the USA). You may also contact us through e-mail at techhelp@ cybexintl.com
Having the following information ready when calling will assist our Cybex representatives in serving you.
- Unit Serial Number
Product Name
The unit serial number and product name can be found on the serial number decal. See Chapter 6 for exact location of serial number decal.
Part Description
Part Number
Part descriptions and part numbers are located in Chapter 6 of this manual.
Shipping Address
- Contact Name
In addition to your shipping address and contact name, your account number is helpful but not required.
Return Material Authorization (RMA)
The Return Material Authorization (RMA) system outlines the procedures to follow when returning material for placement, repair or credit. The system assures that returned materials are properly handled and analyzed. Follow the following procedures carefully.
Contact your authorized Cybex dealer on all warranty-related matters. Your local Cybex dealer will request a RMA from Cybex, if applicable. Under no circumstances will defective parts or equipment be accepted by Cybex without proper RMA and an Automated Return Service (ARS) label.
- Call the Customer Service Hot Line listed above for the return of any item that is defective.
- Provide the technician with a detailed description of the problem you are having or the defect in the item you wish to return.
- Provide the model and serial number of your Cybex equipment.
- At Cybex's discretion, the technician may request that you return the problem part(s) to Cybex for evaluation and repair or replacement. The technician will assign you a RMA number and will send you an ARS label. The ARS label and the RMA numbers must be clearly displayed on the outside of the package that contains the item(s) to be returned. Include the description of the problem, the serial number of the equipment and the name and address of the owner in the package along with the part(s).
5. Forward the package through UPS to Cybex.
Attn: Customer Service Department
Cybex International, Inc.
1975 24th Ave SW
Owatonna, MN 55060
NOTE: Merchandise returned without an RMA number on the outside of the package or shipments sent COD will not be accepted by the Cybex receiving department.
Damaged Parts
Materials damaged in shipment should not be returned for credit. Shipping damages are the responsibility of the carrier (UPS, Federal Express, trucking companies, etc.)
Apparent Damage - Upon receipt of your shipment, check all items carefully. Any damage seen with a visual check must be noted on the freight bill and signed by the carrier's agent. Failure to do so will result in the carriers refusal to honor your damage claim. The carrier will provide you with the required forms for filing such claims.
Concealed Damage - Damage not seen with a visual check upon receipt of a shipment but notices later must be reported to the carrier as soon as possible. Upon discovery of the damage, a written or phone request to the carrier asking them to perform an inspection of the materials must be made within ten days of the delivery date. Keep all shipping containers and packing materials as they will be needed in the inspection process. The carrier will provide you with an inspection report and the necessary forms for filing a concealed damage claim. Concealed damage claim is the carrier's responsibility.
4 - Assembly
Tools Required
Rubber mallet
- Flat head screwdriver
Plastic shipping foot glides are used on Cybex Strength Systems machines to protect the bottom of machines during transportation. These foot glides must be removed before a machine is first placed in service as the shipping foot glides may cause the machine to be unstable.

WARNING: Failure to remove shipping foot glides before placing a machine in service may cause the machine to be unstable, therefore, creating potential for personal injury or product damage.
NOTE: Failure to remove shipping foot glides before placing a machine in service may void warranty on the frames.
REMOVING FOOT GLIDES
NOTE: Be careful not to damage frame (such as chipping the paint) when removing foot glides.
NOTE: The foot of the machine will need to be raised slightly off the floor in order to remove foot glide. Do not install weight stack (if applicable) until after removing foot glides.
- Using a rubber mallet, carefully strike foot glide.
- With a flat blade screwdriver, carefully pry off foot glide.
- Carefully place rubber feet (supplied with machine) on each foot of the frame.
- Carefully Install grips (if required) part number 16030-309, see exploded view for location.
45^ Back Extension - Product No.16021
Total Weight and Size
Weight: 106 lbs. Size 30 W'' × 58'' L × 32'' H
Weight: 48 kgcm. Size 76 cm W x 147 cm L x 81 cm H
5 - Maintenance
All preventive maintenance activities must be performed on a regular basis. Performing routine preventive maintenance actions can aid in providing safe, trouble-free operation of all Cybex Strength Systems equipment.
NOTE: Cybex is not responsible for performing regular inspection and maintenance actions for your machines. Instruct all personnel in equipment inspection and maintenance actions and also in accident reporting/recording. Cybex phone representatives are available to answer any questions or concerns that you may have.
Daily Procedures
- Upholstery - Wipe down all upholstery.
- Frames - Wipe down all frames using a mild solution of warm water and car wash soap. Be sure to dry thoroughly. A Void acid or chlorine based cleaners and also cleaners containing abrasives as these could scratch or damage the equipment.
- Chrome - Clean chrome tubes, first using chrome polish and then using a car wax seal. Neutral cleaners with a pH between 5.5 and 8.5 are recommended. Be sure to dry thoroughly. AVOID acid or chlorine based cleaners and also cleaners containing abrasives as these could scratch or damage the equipment.
Weekly Procedures
- Inspect all nuts and bolts for looseness. Tighten as required
- Inspect all labeling for readability. This includes instructional placards, warning and caution decals. Replace all worn labeling immediately.
This page intentionally left blank
6 - Service
Please refer to the next page for parts lists and exploded-view diagrams

CAUTION
Use only Cybex replacement parts when servicing.
Failure to do so could result in personal injury.
NOTE: All inspections and repairs must be performed by trained service personnel only.
Cybex will void warranty if non-Cybex replacement parts are used.
Free Weight 45^ Back Extension
PRODUCT NO. 16021

NOTE: See exploded-view diagram for location of A (warning decal) and E (serial number decal)
DESCRIPTION
PART NO.
A. Warning Decal............5220-364
B. Caution Decal. 8500-025
C. Pad W/Wear cover............4800- 416
D. Wear Cover. 4800-419
E. Serial Number Decal

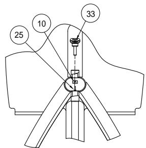
| ITEM | QTY | PART NO. | DESCRIPTION |
| 1 | 1 | 08229 | PIN,DETENT |
| 2 | 1 | 11040-440 | KNOB |
| 3 | 2 | 11090-374 | END CAP |
| 4 | 2 | 11090-376 | RING, HANDLE GRIP |
| 5 | 2 | 12090-322 | FOOT PAD |
| 6 | 2 | 16010-311 | FOOT PAD |
| 7 | 1 | 16021-200 | FRAME |
| 8 | 1 | 16021-201 | HANDLE |
| 9 | 1 | 16020-202 | CUSHION PLATE |
| 10 | 1 | 16020-322 | PUSH PUCK |
| 11 | 1 | 16020-323 | SHAFT, PIVOT |
| 12 | 2 | 16020-325 | NON-SLIP |
| 13 | 1 | 16060-311 | PLASTIC GUIDE |
| 14 | 1 | 16060-315 | PLASTIC GUIDE |
| 15 | 2 | 3900-447 | DECAL, CYBEX BLACK |
| 15 | 2 | 3900-448 | DECAL, CYBEX SILVER |
| 16 | 1 | 4505-331 | BUMPER, 1.50 DIA |
| 17 | 2 | 4605-524 | GRAB GRIP 10.25 |
| 18 | 1 | 51198 | WARRANTY BOOK |
| 19 | 1 | BS070201 | COM SPRING .56 x .66 1.50 LG |
| 20 | CM000211 | DECAL, PATENT PENDING (REMOVED 7/6/09) |
| ITEM | QTY | PART NO. | DESCRIPTION |
| 21 | 2 | FB130211 | BRG FLG 17MM X 19MM X 12MM |
| 22 | 1 | HC622808 | SHCS .250-20 X .250 |
| 23 | 3 | JC700412 | BHSCS .375-16 X .50 |
| 24 | 2 | HF449063 | INSERT 3/4 X 1/4-20 |
| 25 | 1 | HM532812 | SHCS .138-6-32 x .50 GR 8 |
| 26 | 2 | HM583208 | 10-32 X .25 LG |
| 27 | 2 | HP286810 | SPRING PIN .188 X .37 LG |
| 28 | 2 | HS347600 | WASHER, SAE .375 |
| 29 | 2 | JC620422 | BHSCS .250-20 x 1.50 |
| 30 | 4 | JC700420 | BHSCS .375-16 X 1.25 |
| 31 | 4 | JS347400 | LOCKWASHER, INT TOOTH .375 |
| 32 | 1 | PP130003 | INSERT, DOMED PLASTIC |
| 33 | 1 | PP460011 | KNOB, OVAL .375-16 x 1.25 MALE |
| 34 | 2 | PR060003 | BUMPER, RECESS |
| 35 | 2 | 4800-416 | PAD W/WEAR COVER |
| 36 | 2 | 4800-419 | Wear COVER |
| 37 | 1 | 5220-364-X* | DECAL, WARNING |
| 38 | 1 | 8500-025-X* | DECAL, CAUTION |
| 39 | 1 | 11040--790 | DECAL, MADE IN USA |
| 40 | 1 | CM000244 | DECAL, WEIGHT CAPACITY |
*Language Key
1-German, 2-French, 3-Spanish, 4-English, 6-Japanese, 7-Swedish, 8-Russian
16021 Decal Placement Detail

LOCKING KNOB DETAIL

WARNING DECAL DETAIL


FOOT PAD DETAIL

This page intentionally left blank
EasyManual